|
|
(21), (22) Заявка: 2005138409/06, 09.12.2005
(24) Дата начала отсчета срока действия патента:
09.12.2005
(46) Опубликовано: 20.06.2007
(56) Список документов, цитированных в отчете о поиске:
RU 2173431 C1, 10.09.2001. RU 2162571 C1, 27.01.2001. RU 2045715 C1, 10.10.1995. RU 2231003 C1, 20.06.2004. RU 2132517 C1, 27.06.1999. RU 2204770 C1, 20.05.2003. US 5492168 А, 20.02.1996.
Адрес для переписки:
601900, Владимирская обл., г. Ковров, ул. Труда, 4, ОАО “Завод им. В.А. Дегтярева”, ОПЛИР
|
(72) Автор(ы):
Мосалев Сергей Михайлович (RU), Наумов Виктор Иванович (RU), Сыса Виктор Павлович (RU)
(73) Патентообладатель(и):
Открытое акционерное общество “Завод им. В.А. Дегтярева” (RU)
|
(54) ТЕПЛОГЕНЕРАТОР ДЛЯ НАГРЕВА ЖИДКОСТИ
(57) Реферат:
Изобретение относится к теплотехнике и может быть использовано в системах отопления и горячего водоснабжения. Теплогенератор для нагрева жидкости содержит циклон, соединенный с насосом. На противоположных торцах циклона и соосно ему установлены основной и дополнительный цилиндрические корпусы с тормозным устройством каждый, при этом выходные отверстия корпусов соединены между собой гибким перепускным патрубком, а тормозное устройство в основном цилиндрическом корпусе установлено с возможностью осевого перемещения относительно корпуса. Новым является то, что тормозное устройство в дополнительном цилиндрическом корпусе установлено с возможностью осевого перемещения относительно этого корпуса. Основной цилиндрический корпус имеет подвижный участок, выполненный в виде резьбовой втулки, установленной с возможностью осевого перемещения на резьбовой части основного корпуса. Тормозные устройства выполнены конической формы, а на прилежащих к ним внутренних поверхностях резьбовой втулки и корпуса выполнены соответствующие конические ступени. Выходное отверстие дополнительного корпуса соединено с входным патрубком насоса. Использование данного изобретения позволяет при одновременном исключении застойных зон в потоке движущейся жидкости повысить теплопроизводительность и в широком диапазоне производить регулирование и пусконаладочные работы при настройке теплогенератора. 1 з.п. ф-лы, 1 ил.
Изобретение относится к теплотехнике и может быть использовано в качестве источника тепловой энергии в системах отопления и горячего водоснабжения.
Известен теплогенератор для нагрева жидкости (патент RU N 2045715, кл. F25В 29/00, публ. 10.10.95 г.), содержащий соединенный с насосом циклон, на противоположных торцах которого и соосно ему установлены основной и дополнительный цилиндрические корпуса с тормозным устройством каждый, при этом выходные отверстия корпусов соединены между собой перепускным патрубком. Тормозное устройство выполнено в виде втулки с ребрами.
Недостатком данного теплогенератора является отсутствие возможности регулирования параметров теплопроизводительности при оптимизации эксплуатационных свойств теплогенератора.
Известен теплогенератор для нагрева жидкости (патент RU N 2173431, кл. F24D 3/02, публ. 21.01.01 г.), принятый за прототип. Данный теплогенератор содержит соединенный с насосом циклон, на противоположных торцах которого и соосно ему установлены основной и дополнительный цилиндрические корпусы с тормозным устройством каждый, при этом выходные отверстия корпусов соединены между собой перепускным патрубком, а тормозное устройство в основном цилиндрическом корпусе установлено с возможностью осевого перемещения относительно корпуса. Каждое тормозное устройство выполнено в виде втулки с ребрами.
Недостатками прототипа являются отсутствие возможности регулирования за счет перемещения тормозного устройства величины сечения выходных отверстий основного и дополнительного корпусов, наличие застойных зон при данном конструктивном исполнении, прямо влияющих на теплопроизводительность.
Предлагаемым изобретением решается задача повышения теплопроизводительности.
Технический результат заключается в расширении возможности регулирования параметров теплопроизводительности при оптимизации эксплуатационных свойств теплогенератора, в избежании образования застойных зон в потоке движущейся жидкости, в возможности регулирования площади проходных сечений выходных отверстий корпусов.
Указанный технический результат достигается тем, что в теплогенераторе для нагрева жидкости, содержащем соединенный с насосом циклон, на противоположных торцах которого и соосно ему установлены основной и дополнительный цилиндрические корпуса с тормозным устройством каждый, при этом выходные отверстия корпусов соединены между собой перепускным патрубком, а тормозное устройство в основном цилиндрическом корпусе установлено с возможностью осевого перемещения относительно корпуса, новым является то, что тормозное устройство в дополнительном цилиндрическом корпусе установлено с возможностью осевого перемещения относительно корпуса, основной цилиндрический корпус имеет подвижный участок, в котором размещено тормозное устройство, и который вместе с тормозным устройством имеет возможность осевого перемещения относительно основного цилиндрического корпуса, оба тормозных устройства выполнены конической формы, а на прилежащих к ним внутренних поверхностях подвижного участка основного цилиндрического корпуса и дополнительного цилиндрического корпуса выполнены соответствующие конические ступени, при этом выходное отверстие дополнительного цилиндрического корпуса соединено с входным патрубком насоса. Подвижный участок основного цилиндрического корпуса выполнен в виде резьбовой втулки, взаимодействующей с резьбовым участком, выполненным на основном цилиндрическом корпусе.
Установка тормозного устройства на подвижном участке основного цилиндрического корпуса, обеспечение возможности совместного осевого перемещения подвижного участка и тормозного устройства относительно основного цилиндрического корпуса, а также выполнение тормозного устройства конической формы и такой же конической ступени на прилегающей к нему внутренней поверхности подвижного участка основного цилиндрического корпуса позволяет обеспечить как регулировку рабочего объема цилиндрического корпуса за счет совместного осевого перемещения конического тормозного устройства и подвижного участка основного цилиндрического корпуса, так и регулировку площади сечения выходного отверстия за счет возможности перемещения конического тормозного устройства в подвижном участке основного цилиндрического корпуса, что значительно увеличивает возможности регулирования параметров теплогенератора при их оптимизации и позволяет наиболее эффективно добиться наивысшей теплопроизводительности. Кроме того, отсутствие в предлагаемой конструкции дна (обычно располагаемого на выходе цилиндрического корпуса за тормозным устройством) и коническая форма тормозного устройства позволяют избежать образования застойных зон в потоке движущейся жидкости и отрегулировать площадь сечения выходного отверстия.
Выполнение в дополнительном цилиндрическом корпусе тормозного устройства конической формы и конической ступени на внутренней поверхности дополнительного корпуса, а также возможность осевого перемещения тормозного устройства позволяет исключить образование застойных зон в потоке движущейся жидкости в дополнительном корпусе и отрегулировать площадь проходного сечения входного отверстия в циклон из дополнительного цилиндрического корпуса.
Соединение выходного отверстия дополнительного цилиндрического корпуса с входным патрубком насоса обусловлено тем, что наименее нагретые слои жидкости, поступающие в дополнительный цилиндрический корпус, подвергаются в данном случае вторичному прокачиванию через теплогенератор и на выход основного цилиндрического корпуса поступает жидкость с повышенной температурой.
Таким образом, использование вышеперечисленных конструктивных признаков в теплогенераторе позволяет при одновременном исключении застойных зон в потоке движущейся жидкости повысить теплопроизводительность теплогенератора и в широком диапазоне производить регулирование и пусконаладочные работы при настройке теплогенератора с целью получения максимальной теплопроизводительности.
Технические решения с признаками, отличающими заявляемое решение от прототипа, не известны и явным образом из уровня техники не следуют. Это позволяет считать, что заявляемое решение является новым и обладает изобретательским уровнем.
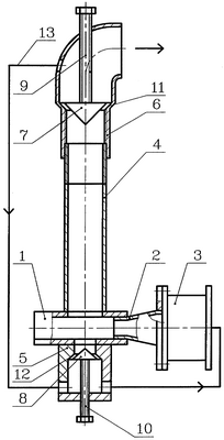
Сущность изобретения поясняется чертежом, на котором показана схема теплогенератора.
Теплогенератор для нагрева жидкости содержит циклон 1, соединенный через инжекционный патрубок 2 с насосом 3. На противоположных торцах циклона 1 и соосно ему установлены основной цилиндрический корпус 4 и дополнительный цилиндрический корпус 5. Корпус 4 имеет подвижный участок, выполненный в виде резьбовой втулки 6, установленной с возможность осевого перемещения на резьбовой части основного цилиндрического корпуса 4. В резьбовой втулке 6 и дополнительном цилиндрическом корпусе 5 установлены тормозные устройства 7 и 8, снабженные соответственно штангами 9 и 10, выходящими за пределы резьбовой втулки 6 и корпуса 5. Тормозные устройства 7 и 8 выполнены конической формы, а на прилежащих к ним внутренних поверхностях резьбовой втулки 6 и корпуса 5 выполнены соответствующие конические ступени 11 и 12. Выходное отверстие корпуса 4, находящееся в резьбовой втулке 6, и выходное отверстие корпуса 5 соединены гибким перепускным патрубком 13. Одновременно выходное отверстие корпуса 5 соединено с входным патрубком насоса 3.
Теплогенератор для нагрева жидкости работает следующим образом.
Жидкость под давлением 0,4-0,6 МПа через инжекционный патрубок 2 подается в циклон 1. При прохождении через выходное отверстие инжекционного патрубка 2 давление жидкости возрастает и за счет сил трения происходит ее частичный нагрев. С максимальным давлением жидкость устремляется в циклон 1, где происходит ускорение и закручивание ее потока. Созданный в циклоне 1 вихревой поток жидкости поступает в основной цилиндрический корпус 4 и в виде винтовой спирали перемещается к тормозному устройству 7, где встречает препятствие в виде конической поверхности и тормозится. Так как наиболее нагретые слои жидкости размещаются ближе к стенкам основного цилиндрического корпуса 4, а наиболее холодные – по его центру, то вследствие такого распределения температурных слоев жидкости происходит закономерное истечение жидкости с повышенной температурой в зазор между поверхностью конической ступени 11 резьбовой втулки 6 и конической поверхностью тормозного устройства 7 и далее в выходное отверстие, а слой наименее разогретой жидкости вытесняется за счет подпора, образовавшегося перед тормозным устройством 7, в зазор между поверхностью конической ступени 12 дополнительного цилиндрического корпуса 5 и конической поверхностью тормозного устройства 8. Далее жидкость с более низкой температурой через выходное отверстие корпуса 5 подается во входной патрубок насоса 3 и далее вновь подается в циклон 1. При возникновении в системе непредвиденных перепадов давления или при ее закупорке часть жидкости из выходного отверстия корпуса 4 через перепускной патрубок 13 и выходное отверстие корпуса 5 перераспределится в входной патрубок насоса.
При проведении работ по оптимизации эксплуатационных свойств теплогенератора, т.е. при регулировке оптимального соотношения параметров давления, расхода, потребляемой мощности, возникают трудности при определении геометрических соотношений объема основного цилиндрического корпуса, т.е. объема теплогенератора, расхода, т.е. площади проходных сечений в области тормозных устройств. Эти проблемы решаются как за счет регулировки местоположения тормозных устройств 7 и 8 с помощью штанг 9 и 10, так и за счет осевого перемещения резьбовой втулки 6 вместе с тормозным устройством 7 относительно корпуса 4. Таким образом, имея возможность изменять объем теплогенератора и площадь его проходных сечений в области тормозных устройств, подбираются оптимальные параметры с наивысшей теплопроизводительностью, получению которой способствует отсутствие застойных зон в корпусах.
Формула изобретения
1. Теплогенератор для нагрева жидкости, содержащий соединенный с насосом циклон, на противоположных торцах которого и соосно ему установлены основной и дополнительный цилиндрические корпусы с тормозным устройством каждый, при этом выходные отверстия корпусов соединены между собой перепускным патрубком, а тормозное устройство в основном цилиндрическом корпусе установлено с возможностью осевого перемещения относительно корпуса, отличающийся тем, что тормозное устройство в дополнительном цилиндрическом корпусе установлено с возможностью осевого перемещения относительно дополнительного цилиндрического корпуса, основной цилиндрический корпус имеет подвижный участок, в котором размещено тормозное устройство и который вместе с тормозным устройством имеет возможность осевого перемещения относительно основного цилиндрического корпуса, оба тормозных устройства выполнены конической формы, а на прилежащих к ним внутренних поверхностях подвижного участка основного цилиндрического корпуса и дополнительного цилиндрического корпуса выполнены соответствующие конические ступени, при этом выходное отверстие дополнительного цилиндрического корпуса соединено с входным патрубком насоса.
2. Теплогенератор по п.1, отличающийся тем, что подвижный участок основного цилиндрического корпуса выполнен в виде резьбовой втулки, взаимодействующей с резьбовым участком, выполненным на основном цилиндрическом корпусе.
РИСУНКИ
|
|