|
|
(21), (22) Заявка: 2005134426/06, 07.11.2005
(24) Дата начала отсчета срока действия патента:
07.11.2005
(46) Опубликовано: 20.06.2007
(56) Список документов, цитированных в отчете о поиске:
SU 1721843 А1, 23.03.1992. RU 2138137 С1, 20.09.1999. RU 2101882 С1, 10.01.1998. RU 2074529 С1, 27.02.1997. US 4602140 А, 22.07.1986.
Адрес для переписки:
153003, г.Иваново, ул. Рабфаковская, 34, Ивановский государственный энергетический университет, начальнику патентно-информационного отдела В.П. Яблокову
|
(72) Автор(ы):
Зверев Юрий Викторинович (RU), Лапин Александр Николаевич (RU), Цыкарев Юрий Борисович (RU)
(73) Патентообладатель(и):
Зверев Юрий Викторинович (RU), Лапин Александр Николаевич (RU), Цыкарев Юрий Борисович (RU)
|
(54) ИНДУКЦИОННЫЙ НАГРЕВАТЕЛЬ ЖИДКОСТИ
(57) Реферат:
Индукционный нагреватель жидкости относится к технике нагрева жидких веществ, преимущественно воды, и может быть использован в различных отраслях при подогреве воды. Технико-экономический результат заключается в снижении массы, габаритов и стоимости за счет отказа от дорогостоящей и занимающей значительный объем шихтованной магнитной системы. При этом обеспечивается высокий КПД и возможна компенсация реактивной мощности с целью повышения коэффициента мощности до единицы. Нагреватель содержит замкнутую планарную магнитную систему со стержнями, ярмами и электрической обмоткой, размещенной на стержнях. Стержни и ярма выполнены из труб и образуют систему для прохождения и нагрева рабочего тела, например жидкости. Внутри труб-стержней установлены цилиндры с наружной винтовой поверхностью, организующей завихрение потока рабочего тела. Внутри труб-ярм установлены перегородки для организации последовательного прохождения рабочего тела по трубам системы. 1 ил.
Индукционный нагреватель жидкости относится к технике нагрева жидких веществ, преимущественно воды, и может быть использован в различных отраслях, например при подогреве воды в системах охлаждения дизельных двигателей во время длительных стоянок локомотивов в депо в холодное время года, а также при нагреве масел и других вязких жидкостей при низких температурах.
Известны нагреватели, использующие электромагнитную энергию для нагрева жидкостей [1, 2, 3, 4], содержащие нагревательные элементы.
Наиболее близкими к заявленному решению являются изобретения [3, 4], описывающие нагревательные элементы трансформаторного типа, которые содержат первичную обмотку, шихтованный магнитопровод и вторичную обмотку в виде короткозамкнутого витка, омываемого водой.
Недостаток подобных установок с потенциально более высоким КПД и коэффициентом мощности заключается в увеличенных массогабаритных показателях и большей стоимости за счет того, что их конструктивная схема полностью совпадает с трансформаторной. В них имеется явно выраженные первичная и вторичная обмотки и шихтованный магнитопровод из электротехнической стали.
Достигаемый предлагаемым техническим решением технико-экономический результат заключается в снижении массы, габаритов и стоимости за счет отказа от дорогостоящей и занимающей значительный объем шихтованной магнитной системы. При этом обеспечивается высокий КПД и возможна компенсация реактивной мощности с целью повышения коэффициента мощности до единицы.
Нагреватель содержит замкнутую планарную магнитную систему со стержнями, ярмами и электрической обмоткой, размещенной на стержнях. Стержни и ярма выполнены из труб и образуют систему для прохождения и нагрева рабочего тела, например жидкости. Внутри труб-стержней установлены цилиндры с наружной винтовой поверхностью, организующей завихрение потока рабочего тела. Внутри труб-ярм установлены перегородки для организации последовательного прохождения рабочего тела по трубам системы. В ярмах на входе и выходе системы имеются патрубки для подачи и вывода рабочего тела соответственно с исходной температурой и нагретого до ее заданного значения.
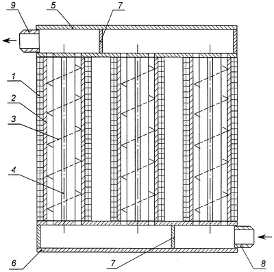
На чертеже изображено устройство нагревателя в трехфазном исполнении. В каждой фазе конструкция имеет электрическую катушку 1, изолированную от трубы-стерженя 2, установленный в ней цилиндр 3 с винтовой поверхностью на стальной шпильке 4, стягивающей ярма 5 и 6, перемычки 7, размещенные в указанных выше ярмах, входной 8 и выходной 9 патрубки. Электрические катушки образуют электрическую обмотку магнитной системы нагревателя.
Нагреватель работает следующим образом. Через входной патрубок 8 поступает рабочее тело. Затем обмотка магнитной системы подключается к источнику переменного напряжения. Создается магнитное поле, которое замыкается по элементам магнитопровода и наводит в них вихревые токи, разогревающие поверхности труб 2, 5, 6, тепло которых передается рабочему телу в процессе его прохождения по указанной выше системе.
Использование предложенного технического решения в нагревательных установках позволит снизить их массогабаритные показатели и стоимость при высоких значениях КПД и коэффициенте мощности.
Источники информации
1. Патент RU 2039327 C1. Электроотопительный прибор /А.И.Елшин, В.М.Казанский. – Опубл. 1995, БИ № 19.
2. Патент RU 2053455 C1. Индукционный электрический нагреватель жидкости /А.И.Елшин, В.М.Казанский. – Опубл. 1996, БИ №3.
3. Патент RU 2074529 C1. Индукционный нагреватель жидкости /А.И.Елшин, В.М.Казанский, Е.Д.Карманов. – Опубл. 1997, БИ №3.
Формула изобретения
Индукционный нагреватель жидкости, содержащий замкнутую магнитную систему со стержнями, ярмами и электрической обмоткой, размещенной на стержнях, отличающийся тем, что стержни и ярма выполнены в виде труб, где внутри стержней установлены цилиндры с винтовой наружной поверхностью для образования завихрения рабочего тела, а в ярмах установлены перегородки таким образом, что организуют систему для прохождения и нагрева рабочего тела.
РИСУНКИ
|
|