|
|
(21), (22) Заявка: 2005122548/06, 15.07.2005
(24) Дата начала отсчета срока действия патента:
15.07.2005
(43) Дата публикации заявки: 20.01.2007
(46) Опубликовано: 20.06.2007
(56) Список документов, цитированных в отчете о поиске:
RU 42629 U1, 10.12.2004. SU 1740895 A1, 15.06.1992. SU 842347 A, 30.06.1981. US 3936698 A, 03.02.1979. DE 4121874 A1, 07.01.1993.
Адрес для переписки:
420080, г.Казань, ул. Волгоградская, 15, кв.67, В.П. Реута
|
(72) Автор(ы):
Реута Виктор Павлович (RU), Туктагулов Айдар Фархатович (RU)
(73) Патентообладатель(и):
Реута Виктор Павлович (RU), Туктагулов Айдар Фархатович (RU)
|
(54) СПОСОБ ИОНИЗАЦИИ ВОЗДУХА И БИПОЛЯРНЫЙ ГЕНЕРАТОР ИОНОВ
(57) Реферат:
Способ и генератор ионов предназначены для обогащения воздуха ионами обоих знаков, нейтрализации всевозможных электростатических полей на различных предметах и одежде людей, а также для очистки воздуха от пыли, бактерий и спор грибков. Способ осуществляют следующим образом, воздух пропускают через установленную в продуваемом воздуховоде систему коронирующих электродов, на которые подают импульсы переменного напряжения, амплитуда которых в оба полупериода выше порога коронирования, систему коронирующих электродов разделяют на две одинаковые рядом расположенные группы электродов, высоковольтные импульсы селектируют по полярности и направляют импульсы разной полярности на разные группы коронирующих электродов, а концентрацию ионов и коэффициент униполярности ионов регулируют путем независимого изменения длительности импульсов положительной и отрицательной полярности. Этот способ реализуется с помощью биполярного генератора ионов, который снабжен второй группой коронирующих электродов, идентичной первой группе и расположенной рядом с ней. Технический результат – повышение эффективности ионизации воздуха и повышение надежности и долговечности работы коронирующих электродов генератора ионов. 2 н. и 2 з.п. ф-лы, 3 ил.
Изобретение относится к способам и технике обработки воздуха и может быть использовано в быту, в лечебных, офисных, учебных помещениях с телевизионной, вычислительной и прочей оргтехникой для обогащения воздуха ионами обоих знаков, нейтрализации всевозможных электростатических полей на различных поверхностях, предметах и одежде людей, а также для очистки воздуха от пыли, бактерий и спор грибков. Возможно применение также в производственных (не загазованных) помещениях для тех же целей и в помещениях для хранения различных продуктов питания.
Известны различные способы ионизации воздуха, при которых воздух пропускают через установленную в продуваемом воздуховоде систему коронирующих электродов, на которые подают:
1. Высоковольтное высокочастотное напряжение, пропущенное через диод, т.е. пульсирующее напряжение отрицательной полярности [см., например, SU 107932 А (П.К.Прюллер и др.), 1957 г.]. При таком способе получают ионы воздуха только отрицательной полярности, а нам нужна биполярная ионизацкя воздуха.
2. Высоковольтное напряжение то отрицательной, то положительной полярности, с интервалом изменения полярности в несколько минут [см., например, US 3936698 A (MEYER), 03.02.1979]. При этом способе в течение нескольких минут воздух ионизируют отрицательными ионами для лечебных целей, затем меняют полярность ионов на такое же время для снятия создавшихся электростатических зарядов отрицательной полярности на одежде, предметах и теле пациента. Способ весьма малоэффективен и неуправляем, кроме интервалов времени ионизации. Да и не совсем разумно создавать электростатические поля, препятствующие дальнейшему прохождению ионов к потребителю, а затем тратить время на их устранение. В естественно ионизированном воздухе в природе ионы того и другого знака, как правило, распределены достаточно равномерно в объеме воздуха.
3. Знакопеременное высокочастотное напряжение в виде знакопеременных пакетов несимметричных высоковольтных импульсов [см., например, RU 42629 U1 (В.П.Реута, А.Ф.Туктагулов), 10.12.2004 г.]. При этом способе биполярной ионизации концентрацией ионов того и другого знака управляют путем изменения длительности и скважности высоковольтных импульсов положительной и отрицательной полярности. Использование этого способа ионизации также не позволяет получить однородного распределения ионов по объему воздуха. К тому же, использование несимметричных высоковольтных импульсов снижает эффективность ионизации за счет того, что обратные выбросы у импульсов создают тормозящие поля, которые поглощают часть образованных ионов, снижая КПД ионизации.
Наиболее близким по виду используемого напряжения для ионизации является способ ионизации воздуха, при котором воздух пропускают через установленную в продуваемом воздуховоде систему коронирующих электродов, на которые подают импульсы переменного напряжения, амплитуда которых в оба полупериода выше порога коронировання [см., например, SU 842347 А (КАЗАНСКИЙ А.И.), 30.06.1981].
Этот способ малоэффективен при низких скоростях потока воздуха через воздуховод, т.к. чем ниже скорость потока воздуха, тем меньшей должна быть частота следования высоковольтных импульсов, чтобы образовавшиеся ионы успевали отлететь на достаточное расстояние от коронирующих электродов, иначе импульс обратной полярности, подаваемый на те же электроды, затормозит их. А в обитаемых помещениях не допустимо применение больших скоростей потока воздуха.
Следует отметить, что способам по пунктам 1) и 2), где на группы коронирующих электродов подают высоковольтное напряжение одного знака, присущ еще один недостаток – быстрое загрязнение коронирующих электродов и их износ за счет однонаправленного излучения или поглощения электронов и ионов с коронирующих или коронирующими электродами.
Задачей является повышение эффективности ионизации воздуха и улучшение равномерности распределения ионов обоих знаков в ионизируемом воздухе. Дополнительной задачей при проектировании биполярного генератора ионов, реализующего предлагаемый способ ионизации воздуха, является повышение надежности и долговечности работы коронирующих электродов генератора.
Для этого в способе ионизации воздуха, при котором воздух пропускают через установленную в продуваемом воздуховоде систему коронирующих электродов, на которые подают импульсы переменного напряжения, амплитуда которых в оба полупериода выше порога коронирования, систему коронирующих электродов выполняют из двух одинаковых и рядом расположенных групп электродов, высоковольтные импульсы селектируют по полярности и направляют импульсы разной полярности на разные группы коронирующих электродов, а концентрацию ионов и коэффициент униполярности ионов регулируют путем независимого изменения длительности импульсов положительной и отрицательной полярности. Дополнительно к этому через равные промежутки времени изменяют полярность подаваемых на разные группы электродов высоковольтных импульсов.
Для реализации этого способа ионизации воздуха необходим специальный биполярный генератор ионов. Хотя и известны различные биполярные генераторы ионов, но они по принципу действия не пригодны для реализации данного способа ионизации воздуха.
Наиболее близким по набору функциональных узлов и их схемному решению является биполярный генератор ионов, содержащий расположенную в продуваемом воздуховоде группу коронирующих электродов, подключенную к выходной обмотке высоковольтного трансформатора, первичная обмотка которого с последовательно соединенным с ней вольтодобавочным конденсатором включена в диагональ мостового переключателя напряжения, соединенного с положительной и общей шинами питания, в котором первая половина переключателя выполнена по схеме комплементарного эмиттерного повторителя, и блок управления концентрацией ионов [см., RU 42629 U1 (B.П.Реута и др.), 10.12.2004].
В прототипе используется способ ионизации воздуха, при котором на одну и ту же группу коронирующих электродов подают знакопеременные пачки высоковольтных импульсов, т.е. генерируют поочередно то положительные, то отрицательные ионы, а коэффициентом униполярности ионов управляют путем изменения соотношения длительности пачек импульсов положительной и отрицательной полярности. Заложенный в прототип принцип работы не позволяет использовать его непосредственно для реализации предлагаемого способа ионизации воздуха.
Задачей изобретения является создание на базе прототипа с минимальным схемным усложнением биполярного генератора ионов, с помощью которого будет возможна реализация предлагаемого способа ионизации воздуха.
Для этого биполярный генератор ионов, содержащий расположенную в продуваемом воздуховоде группу коронирующих электродов, подключенную к выходной обмотке высоковольтного трансформатора, первичная обмотка которого с последовательно соединенным с ней вольтодобавочным конденсатором включена в диагональ мостового переключателя напряжения, соединенного с положительной и общей шинами питания, в котором первая половина переключателя выполнена по схеме комплементарного эмиттерного повторителя, и блок управления концентрацией ионов снабжен соединенным с положительной и общей шинами питания третьим переключателем, второй группой коронирующих электродов, идентичной первой группе и расположенной рядом с ней, двумя диодами и вторым высоковольтным трансформатором, выходная обмотка которого подключена ко второй группе коронирующих электродов, первичная обмотка включена параллельно первичной обмотке первого трансформатора, и обе эти обмотки соединены с выходом второго переключателя через встречно включенные диоды, причем оба трансформатора включены синфазно, а блок управления концентрацией ионов выполнен из последовательно соединенных мультивибратора с регулируемой частотой следования импульсов и формирователя импульсов, выполненного на логическом элементе «ИСКЛЮЧАЮЩЕЕ ИЛИ», первый вход которого соединен с выходом мультивибратора, сюда же подключен через две параллельно соединенные цепи, состоящие из последовательно соединенных потенциометров и диодов со встречным включением, второй вход логического элемента, к которому дополнительно подключен соединенный с общей шиной времязадающий конденсатор, сигнальные входы трех переключателей напряжения подключены либо к одному, либо к разным выходам мультивибратора, а второй и третий переключатели напряжения выполнены по схеме с тремя состояниями на выходе, у которых входы управления «третьим» состоянием объединены и подключены к выходу формирователя импульсов, при этом второй переключатель переводится в «третье» состояние «нулевым» сигналом, а третий переключатель – «единичным» сигналом. Дополнительно к этому биполярный генератор ионов снабжен таймером со скважностью импульсов, равной двум, и электромагнитным реле с двумя группами перекидных контактов, являющегося нагрузкой таймера, а контактные группы реле включены между диодами и первичными обмотками трансформаторов.
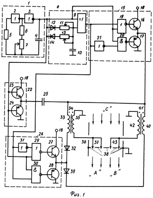
На фиг.1 представлена основная схема биполярного генератора ионов, реализующего предлагаемый способ ионизации воздуха.
На фиг.2 представлены графики импульсов в отдельных точках схемы по фиг.1.
На фиг.3 представлена часть схемы по фиг.1, в которую могут быть включены дополнительные узлы в виде таймера и электромагнитного реле.
На чертежах приняты следующие обозначения:
1 – мультивибратор;
2, 3, 21, 31 – инверторы;
4, 10 – времязадающие конденсаторы;
5 – развязывающий резистор;
6 – токоограничительный резистор;
7, 11, 13 – потенциометры;
8 – формирователь импульсов;
9 – логический элемент «ИСКЛЮЧАЮЩЕЕ ИЛИ»;
12, 14, 32, 39, 45 – диоды;
15 – третий переключатель напряжения с тремя состояниями на выходе и с инверсией сигнала;
16, 23, 27 – n-p-n транзисторы «Дарлингтона»;
17, 24, 28 – p-n-p транзисторы «Дарлингтона»;
18 – шина питания;
19, 29 – логические элементы «2ИЛИ-НЕ»;
20, 30 – логические элементы «2И-НЕ»;
22 – первый переключатель напряжения;
25 – вольтодобавочный конденсатор;
26 – второй переключатель напряжения с тремя состояниями на выходе и с инверсией входного сигнала;
33 – первичная обмотка трансформатора 34 с высоковольтной вторичной обмоткой 35;
36 – воздуховод;
37 – первая группа коронирующих электродов;
38 – ускоряющие электроды;
40 – первичная обмотка трансформатора 41 с высоковольтной вторичной обмоткой 42;
43 – вторая группа коронирующих электродов;
44 – электромагнитное реле с двумя группами 47 и 48 перекидных контактов;
46 – таймер;
«А» и «В» – направления потоков разнополярно ионизированного воздуха;
«С» – направление потока воздуха на входе генератора ионов.
Точками у обмоток 33, 35 трансформатора 34 и у обмоток 40, 42 трансформатора 41 обозначено условное начало обмоток;
И1 – импульсы напряжения на выходе мультивибратора 1;
И18 – уровень напряжения питания на шине 18;
И8 – импульсы напряжения на выходе формирователя импульсов 8;
И25 – напряжение на вольтодобавочном конденсаторе 25;
И33, И40 – импульсы напряжения на обмотках, соответственно, 33 и 40;
t – время;
t1÷t8 – моменты времени.
Мультивибратор 1 (фиг.1) имеет стандартную схему (см., например, Р.Мелен, Г.Гарланд. Интегральные микросхемы с КМОП структурами. М., «Энергия», 1979 г., стр.105-107, рис.6-1) и состоит из последовательно включенных инверторов 2 и 3, времязадающей RC-цепи, состоящей из конденсатора 4 и резисторов 6 и 7, и развязывающего резистора 5. Резистор 6 является токоограничивающим для инвертора 2, а резистором 7 в определенных пределах можно менять частоту следования импульсов И1 (фиг.2) на выходе мультивибратора 1. Выход мультивибратора 1 подключен к сигнальным входам:
формирователя импульсов 8;
первого переключателя 22;
второго переключателя 26;
третьего переключателя 15.
Формирователь 8 импульсов по фронту и спаду импульсов мультивибратора 1 собран на логическом элементе 9 «ИСКЛЮЧАЮЩЕЕ ИЛИ», первый вход которого подключен к выходу мультивибратора 1, а второй вход подключен туда же через две параллельно включенные цепочки, состоящие из последовательно включенных потенциометров 11 или 13 и, соответственно, диодов 12 или 14 со встречным включением. Дополнительно ко второму входу подключен соединенный с общей шиной времязадающий конденсатор 10. Потенциометр 11 служит для управления длительностью импульсов на выходе формирователя 8, формируемых по фронту выходных импульсов мультивибратора 1, а потенциометром 13 управляют длительностью импульсов на выходе формирователя 8, формируемых по спаду выходных импульсов мультивибратора 1. [Подробное описание такого формирователя импульсов представлено в заявке на полезную модель «Формирователь импульсов» №2005109641/09 (011358) от 04.04.2005 г.; авторы: В.П.Реута, А.Ф.Туктагулов].
Выход логического элемента 9, являющийся выходом формирователя импульсов 8, соединен со входами управления третьим состоянием переключателей 15 и 26. Эти переключатели выполнены по почти одинаковой схеме на комплементарной паре транзисторов Дарлингтона n-p-n типа 16 или 27 и p-n-p типа 17 или 28, у которых эмиттера объединены и являются выходами переключателей, а коллектора подключены между шиной питания 18 и общей шиной. Базы p-n-p транзисторов подключены к выходам логических элементов «2ИЛИ-НЕ», соответственно, 19 или 29, а базы р-n-р транзисторов подключены к выходам логических элементов «2И-НЕ», соответственно, 20 или 30. По одному входу логических элементов 19 и 20 объединены и подключены к сигнальному входу переключателя 15, а аналогичные входы логических элементов 29 и 30 подключены к сигнальному входу переключателя 26.
В переключателе 15 вход управления третьим состоянием соединен с первым входом логического элемента 19 и со входом инвертора 21, выход которого соединен со вторым входом логического элемента 20. Во втором переключателе 26 вход управления третьим состоянием подключен к первому входу логического элемента 29 через инвертор 31, а ко второму входу логического элемента 30 – непосредственно. Из-за разного места подключения инверторов 21 и 31 переключатели 15 и 26 переводятся в третье состояние, при котором выход переключателя 15 или 26 изолирован от шин питания большим сопротивлением запертых транзисторов 16, 17 или 27, 28 различными сигналами. Так переключатель 15 переходит в третье состояние при наличии на его входе управления третьим состоянием «единичного» сигнала, а переключатель 26 – «нулевого». Первый переключатель 22 выполнен по простейшей схеме комплементарного эмиттерного повторителя на транзисторах Дарлингтона n-p-n 23 и p-n-p 24, эмиттера которых объединены и являются выходом переключателя, базы объединены и являются сигнальным входом переключателя, а коллектора подключены между шиной питания 18 и общей шиной.
Здесь следует сказать, что транзисторами Дарлингтона принято называть интегральные составные транзисторы (см., например, Клод Галле. Полезные советы по разработке и отладке электронных схем. ДМК, Москва, 2003 г., стр.63, рис.2.27), которые могут иметь в своем составе согласующие резисторы и защитные диоды (см., например, Справочник. Зарубежные микросхемы, транзисторы, диоды. A…Z. «Наука и техника», С.-Петербург, 2003 г., стр.483). В переключателе 26 транзисторы 27, 28 должны иметь в своем составе защитные диоды. Если в используемых транзисторах не будет таких диодов, то их нужно установить дополнительно параллельно переходу эмиттер-коллектор каждого транзистора. А в переключателе 15 подобных диодов не должно быть.
Вернемся вновь к схеме по фиг.1. Здесь первый 22 и второй 26 переключатели образуют мост, в диагональ которого включены последовательно соединенные вольтодобавочный конденсатор 25 и две первичные обмотки: 33 трансформатора 34 и 40 трансформатора 41; вторые концы этих обмоток через встречно включенные диоды, соответственно, 32 и 39 подключены к выходу переключателя 26 либо так, как показано на фиг.1, либо через контактные группы 47 и 48 реле 44 – как это показано на фиг.3. Здесь реле 44 вместе с защитным диодом 45 включено в виде нагрузки таймера 46 между выходом этого таймера и шиной питания 18.
Вторичная обмотка 35 трансформатора 34 соединена с размещенными в продуваемом в направлении стрелок «С» воздуховоде 36 коронирующими электродами 37 и ускоряющими электродами 38, соединенными с общей шиной. Вторичная обмотка 42 трансформатора 41 соединена с коронирующими электродами 43 и теми же ускоряющими электродами 38.
Обычно коронирующие электроды 37 и 43 выполняются в виде игл или заостренных штырей, а ускоряющие электроды 38, как правило, имеют форму колец, устанавливаемых соосно с коронирующими электродами 37 и 43.
Следует отметить, что схема биполярного генератора ионов, представленная на фиг.1, не является единственно возможным вариантом решения поставленной задачи. Например, если сигнальный вход переключателя 22 подключить не так, как показано на фиг.1, а ко второму выходу мультивибратора 1, в качестве которого служит общая точка соединения инверторов 2 и 3, то в этом случае второй 26 и третий 15 переключатели должны быть не инверторами, как показано на фиг.1, а повторителями напряжения, как, например, в прототипе. Для экзотики можно комбинировать места подключения к выходам мультивибратора 1 сигнальных входов всех трех переключателей, что вызовет необходимость в изменении внутренней структуры второго 26 и/или третьего 15 переключателей. Кроме этого, как повторитель, так и инвертор, имеющие три состояния на выходе, при одних и тех же входных и выходных параметрах могут иметь разное внутреннее схемное решение [см. заявки на полезную модель «Электронный переключатель напряжения с тремя состояниями на выходе» №2005109639/09 (011356) от 04.04.2005 г. и №2005109640/09 (011357) от 04.04.2005 г., авторы обеих заявок: В.П.Реута и А.Ф.Туктагулов]. В первой заявке описано восемь вариантов, а во второй заявке – еще два варианта электронных переключателей напряжения с тремя состояниями на выходе. Причем половина из них являются переключателями без инверсии сигнала, а вторая половина – с инверсией сигнала. По другой градации: половина из этих переключателей переводится в третье состояние «нулевым» сигналом на входе управления третьим состоянием, а вторая половина – «единичным» сигналом. И в схеме биполярного генератора ионов могут быть использованы в качестве второго 26 и третьего 15 переключателей любые из описанных в заявках схем. Поэтому в формуле изобретения не конкретизировано внутреннее устройство этих переключателей.
Первый 22 переключатель представляет собой обычный комплементарный эмиттерный повторитель на транзисторах 23 и 24 Дарлингтона и широко используется в цифровой технике (см., например, Клод Галле. Полезные советы по разработке и отладке электронных схем. «ДМК», Москва, 2003 г., стр.106-107, рис.2.67).
В качестве таймера 46 (фиг.3) может быть использован любой из множества известных таймеров, способный генерировать симметричные со скважностью два импульса на сверхнизкой частоте, например, с периодом в десятки минут. Такой таймер может быть реализован, например, на специально созданной микросхеме 4047 (см., например О.Н.Партала. Цифровые КМОП микросхемы. Справочник. «Наука и техника», С.-Петербург, 2001 г., стр.111-113), если добавить к ней ключ на транзисторе для управления работой реле 44. И, наконец, в качестве высоковольтных трансформаторов 34 и 41 могут быть использованы либо строчные трансформаторы от малогабаритных полупроводниковых телевизоров, либо специально изготавливаемые для ионизаторов высоковольтные трасформаторы.
Некоторые пояснения к графикам по фиг.2. Для напряжения И25 на вольтодобавочном конденсаторе 25 за положительное принято такое напряжение И25, когда на левой по фиг.1 обкладке конденсатора 25 напряжение положительно относительно правой обкладки. Для импульсов И33 и И40 на первичных обмотках 33 и 40 трансформаторов, соответственно, 34 и 41 за положительное принято напряжение на этих обмотках, когда ток через обмотки течет от начала обмоток, помеченных точками, к концу обмоток, т.е. когда к началу обмоток приложено положительное напряжение относительно концов обмоток. Это же относится и ко вторичным обмоткам трансформаторов, в которых направление токов совпадает с направлением токов в первичных обмотках. Поэтому при положительном импульсе И33 на первичной 33 обмотке трансформатора 34 на его вторичной обмотке 35 и, соответственно, на коронирующих электродах 37 импульс высокого напряжения будет иметь отрицательную полярность, за счет чего у коронирующих электродов 37 будет происходить образование отрицательных ионов в продуваемом воздухе. Если выключить продув воздуха, то все ионы осядут на ускоряющих электродах 38. При отрицательном импульсе И40 на первичной 40 обмотке трансформатора 41 на его вторичной обмотке 42 сформируется положительный относительно общей шины высоковольтный импульс, за счет которого у коронирующих электродов 43 будет происходить образование положительных ионов в продуваемом воздухе.
Рассматривая графики на фиг.2, можно заметить, что процесс формирования коронирующих импульсов имеет циклический характер. Время одного цикла, в течение которого формируют по одному коронирующему импульсу разной полярности, поступающим на разные коронирующие электроды 37 и 43, равно периоду следования импульсов И1 на выходе мультивибратора 1. В свою очередь, этот цикл состоит из четырех тактов, определяемых комбинациями импульсов И1 на выходе мультивибратора 1 и И8 на выходе формирователя импульсов 8.
Реализуют рассматриваемый способ ионизации воздуха с помощью биполярного генератора ионов по фиг.1 следующим образом.
Перед первым включением генератора ионов регулировочные потенциометры 7, 11 и 13 устанавливают в некоторое среднее положение, из которого потом проще будет менять параметры импульсов в обе стороны. Включают напряжение питания И18, с помощью которого приводят в рабочее состояние все узлы генератора ионов. С помощью мультивибратора 1 формируют последовательность импульсов И1, частоту следования которых устанавливают потенциометром 7. Эти импульсы используют для формирования с помощью формирователя импульсов 8 пар импульсов И8 по переднему фронту импульсов И1 (от t1 до t2 и от t5 до t6) и по заднему фронту импульсов И1 (от t3 до t4 и от t7 до t8). Назовем условно импульсы, формируемые по переднему фронту, нечетными, а импульсы, формируемые по заднему фронту – четными. Длительность нечетных импульсов изменяют с помощью потенциометра 11, а длительность четных импульсов – с помощью потенциометра 13. С помощью этих импульсов (при их наличии) переводят в третье состояние (т.е. выключают) третий переключатель напряжения 15 и приводят в рабочее состояние второй 26 переключатель напряжения. А выходные импульсы И1 с выхода мультивибратора 1 дополнительно подают на сигнальные входы первого 22, второго 26 и третьего 15 переключателей напряжения. В результате комбинации импульсов И1 и И8 на входах переключателей 15 и 26 весь цикл формирования пары разнополярных высоковольтных импульсов разделяют на четыре такта.
В первом такте от t1 до t2 и от t5 до t6 импульсы И1 и И8 имеют «единичное» значение, за счет чего сигнальным импульсом И1 открывают в первом 22 переключателе транзистор 23, закрывают там же транзистор 24, а во втором 26 переключателе открывают транзистор 28 и закрывают транзистор 27. За счет этого к первичной 33 обмотке трансформатора 34 прикладывают суммарное напряжение источника питания И18 и заряженного конденсатора 25 – И25. За счет протекания тока от шины питания 18 через открытый транзистор 23, конденсатор 25, обмотку 33, диод 32 и открытый транзистор 28 к общей шине на обмотке 33 формируют импульс напряжения И33, который трансформатором 34 увеличивают по амплитуде и в обратной полярности за счет соответствующего включения вторичной 35 обмотки трансформатора подают на коронирующие электроды 37 относительно ускоряющих электродов 38, между которыми проводят ионизацию продуваемого мимо этих электродов по стрелкам «А» воздуха, обогащая его отрицательными ионами. Длительность этого процесса задают длительностью нечетного импульса И8, изменяя его длительность потенциометром 11. После окончания нечетного импульса И8 от t2 до t3 и от t6 до t7 формируют второй такт цикла, во время которого «нулевым» сигналом И8 переводят в третье состояние (выключают) второй 26 переключатель, запирая транзистор 28 при запертом транзисторе 27, и переводят в рабочее состояние третий 15 переключатель напряжения, внутри которого «единичным» сигналом И1 транзистор 17 при запертом транзисторе 16. Во время этого такта (смотри график И25 на фиг.2) производят перезаряд вольтодобавочного конденсатора до плюс H18 от шины питания 18 через все еще открытый транзистор 23 и через открывшийся транзистор 17 на общую шину. В это же время производят разряд накопленной в обмотке 33 трансформатора 34 энергии. Поскольку ток в обмотке трансформатора не может мгновенно остановиться или изменить свое направление, то он будет течь с затуханием через диод 32, внутренний диод защиты запертого транзистора Дарлингтона 27 на шину питания 18 до тех пор, пока напряжение И25 на конденсаторе 25 не достигнет нулевого значения. За счет этого процесса импульсы И33, как и импульсы И40, имеют заваленный задний фронт.
В третьем такте от t3 до t4 и от t7 до t8, когда импульс И1 принимает «нулевое» значение, а импульс И8 опять принимает «единичное» значение, длительностью которого управляют с помощью потенциометра 13, импульсом И8 вновь выключают третий 15 переключатель и включают второй 26 переключатель. В это же время «нулевым» с выхода мультивибратора 1 в первом 22 переключателе запирают транзистор 23 и открывают транзистор 24, а во втором 26 переключателе открывают транзистор 27, оставляя закрытым транзистор 28. За счет этой операции к первичной 40 обмотке трансформатора 41 прикладывают суммарное напряжение заряженного почти до И18 конденсатора 25 (минусом к началу обмотки 40) и напряжение И18 от шины питания 18 (плюсом к концу обмотки 40). От шины 18 через открытый транзистор 27, диод 39, обмотку 40 и конденсатор 25 потечет ток на общую шину, с помощью которого формируют отрицательный импульс И40 на первичной 40 обмотке трансформатора 41, который с помощью вторичной обмотки 42 преобразовывают в высоковольтный импульс положительной полярности. Этот импульс подают на коронирующие электроды 43 относительно ускоряющих электродов 38, создавая тем самым коронный разряд между этими электродами, за счет которого воздух, продуваемый мимо названных электродов по направлению стрелок «В», будет ионизироваться положительными ионами.
После окончания импульса И8 от t4 до t5 и от t8 и далее происходит четвертый такт, во время которого «нулевым» значением импульса И8 выключают второй 26 переключатель и включают третий 15 переключатель, в котором «нулевым» сигналом И1 открывают транзистор 16, оставляя запертым транзистор 17. За счет этой операции перезаряжают конденсатор 25 до отрицательного напряжения, равного |И18|, от шины питания 18 через открытый транзистор 16 и открытый транзистор 24 первого переключателя на общую шину. В это же время через защитный диод транзистора Дарлингтона 28 и диод 39 производят разряд от накопленной энергии обмотки 40 трансформатора 41 по тому же принципу, который использовался для разряда обмотки 33 трансформатора 34.
В момент t5 четырехтактный цикл формирования высоковольтных импульсов кончают и начинают следующий аналогичный цикл.
Таким образом, с помощью мультивибратора 1 и формирователя импульсов 8, образующих вместе блок управления концентрацией ионов, формируют пары импульсов с независимым управлением длительностью этих импульсов, что позволяет производить независимое управление концентрацией ионов положительной и отрицательной полярности, которая пропорциональна как длительности, так и частоте следования этих импульсов, которой управляют изменением частоты следования импульсов И1 мультивибратора, который, к тому же, используют для селекции высоковольтных импульсов по полярности. А поскольку коэффициент униполярности ионов определяется отношением концентрации положительных ионов в единице объема воздуха к концентрации отрицательных ионов в том же объеме воздуха, то установив, например, заданную концентрацию ионов отрицательной полярности с помощью потенциометров 7 (предварительно) и 11 (окончательно), с помощью потенциометра 13 устанавливают такое значение концентрации положительных ионов, которое позволяет получить заданный коэффициент униполярности ионов. Действующими Санитарными нормами допускается значение коэффициента униполярности ионов в воздухе обитаемого помещения от k=0,4 до k=1,0.
Схема биполярного генератора ионов по фиг.1 построена таким образом, что, согласно описанного выше, коронирующие электроды 37 всегда участвуют в образовании только отрицательных ионов, а коронирующие электроды 43 – только положительных ионов. Но физические и химические процессы у этих электродов протекают по-разному. При отрицательных высоковольтных импульсах коронирующие электроды 37 излучают в пространство электроны, которые, прилипая к некоторым молекулам и атомам воздуха, например, кислорода или паров воды, образуют отрицательные ионы. Одновременно эти электроды притягивают к себе из продуваемого мимо них воздуха положительные ионы, например, углекислого газа, азотных соединений.
Коронирующие электроды 43 при подаче на них положительных высоковольтных импульсов отрывают от некоторых молекул продуваемого мимо них воздуха электроны, превращая эти молекулы в первичные положительные ионы и поглощая электроны и некоторые отрицательные ионы из продуваемого мимо них воздуха.
В результате этих процессов коронирующие электроды 37 и 43 по-разному изнашиваются и засоряются. Как правило, коронирующие электроды, создающие отрицательные ионы, изнашиваются быстрее, а коронирующие электроды, создающие положительные ионы, быстрее засоряются, как бы «обрастая» каким-то «ворсом».Это, естественно, снижает надежность и долговечность работы таких электродов.
Чтобы снизить отрицательное влияние этих эффектов и продлить срок службы коронирующих электродов, с помощью таймера 46 (фиг.3) через равные промежутки времени то включают, то выключают электромагнитное реле 44, которое своими контактами 47 и 48 переключает точки подключения выходных концов первичных обмоток 33 и 40, соответственно, трансформаторов 34 и 41. Этими переключениями создают одинаковые условия для работы коронирующих электродов 37 и 43, которые попеременно изменяют полярность создаваемых ими ионов. Таким способом продляют время устойчивой работы электродов и генератора ионов в целом.
Поскольку при описании способа ионизации воздуха описан принцип действия отдельных узлов и генератора ионов в целом, то нет смысла давать отдельное описание принципа действия биполярного генератора ионов. И хотя в источниках информации, на которые даны ссылки в тексте, подробно описана работа всех используемых в генераторе ионов узлов, здесь следует для порядка отметить некоторые тонкости работы формирователя импульсов 8 и переключателей напряжения с тремя состояниями на выходе 15 и 26.
В формирователе импульсов 8, собранном на базе логического элемента 9 «ИСКЛЮЧАЮЩЕЕ ИЛИ», используется свойство логического элемента 9 иметь на выходе «нулевой» сигнал, если на обоих его входах сигналы одинаковые, т.е. либо «нули», либо «единицы». Если же сигналы на входах разные, т.е. на одном входе «единица», а на другом – «нуль», то на выходе элемента 9 появится единичный сигнал. Поэтому, когда на вход формирователя импульсов поступает «единичный» сигнал И1 с выхода мультивибратора 1, первый вход элемента 9 оказывается под «единичным» напряжением, а второй вход – под «нулевым» напряжением разряженного времязадающего конденсатора 10, и на выходе элемента 9 сразу же сформируется импульс И8 по переднему фронту импульса И1. Его длительность будет определяться постоянной времени последовательно соединенных внутреннего сопротивления открытого диода 12 плюс сопротивление потенциометра 11 и величиной емкости конденсатора 10, а также порогом срабатывания элемента 9, который от элемента к элементу может принимать значения от 0,4 до 0,7 величины напряжения питания И18. Регулировкой величины сопротивления потенциометра 11 изменяют скорость заряда конденсатора 10 и, тем самым, длительность импульса И8, формируемого по переднему фронту импульса И1. После окончания импульса И1 первый вход элемента 9 окажется под «нулевым» потенциалом, а второй вход – под «единичным» потенциалом заряженного конденсатора 10. На выходе элемента 9 сразу же возникает «единичный» импульс по заднему фронту импульса И1. Этот импульс будет присутствовать до тех пор, пока емкость конденсатора 10 не разрядится до уровня срабатывания элемента 9. Этот разряд будет протекать через потенциометр 13 и внутреннее сопротивление открытого диода 14. Отсюда ясно, что изменением величины сопротивления потенциометра 13 регулируют длительность импульсов И8, формируемых по заднему фронту импульсов И1. Как правило, длительность импульсов И8 бывает на порядок меньше длительности импульсов И1 при максимально устанавливаемой частоте следования импульсов И8 Разделение с помощью диодов 12 и 14 цепей заряда и разряда конденсатора 10 позволяет получить независимое регулирование длительности импульсов И8, формируемых по переднему и заднему фронтам импульсов И1.
Переключатели напряжения 15 и 26 собраны на однотипных элементах, но с разными точками подключения выходов инверторов 21 и 31. Благодаря этому переключатель 15 переводится в третье состояние «единичным» импульсом И8, поступающим с выхода формирователя импульсов 8, который поступает на первый вход элемента «2ИЛИ-НЕ» 19 и переводит его в «нулевое» состояние на выходе, за счет чего транзистор 16 запирается. Тот же импульс И8 через инвертор 21 в виде «нулевого» сигнала поступает на второй вход элемента «2И-НЕ» 20 и переводит его выход в «единичное» состояние, что приводит к запиранию транзистора 17. Таким образом, в третьем состоянии выход переключателя 15 изолирован от шины питания 18 и общей шины большим внутренним сопротивлением запертых транзисторов 16 и 17. При этом переключатель 15 в третьем состоянии не реагирует на изменение сигнала на его сигнальном входе. При переходе импульса И8 в «нулевое» состояние снимается блокировка со входов элементов 19 и 20, и переключатель 15 превращается в инвертор импульсов И1, поступающих на его сигнальный вход.
Переключатель 26 работает аналогично описанному, но он переводится в третье состояние «нулевым» сигналом с выхода формирователя импульсов 8.
И несколько слов о коронирующих электродах 37 и 43. Хотя эти электроды и расположены рядом в общем воздуховоде 36, они не влияют на работу друг друга, поскольку высоковольтные импульсы на них подаются не одновременно. Образованные этими электродами ионы разной полярности почти сразу же перемешиваются потоком воздуха.
Формула изобретения
1. Способ ионизации воздуха, при котором воздух пропускают через установленную в продуваемом воздуховоде систему коронирующих электродов, на которые подают импульсы переменного напряжения, амплитуда которых в оба полупериода выше порога коронирования, отличающийся тем, что систему коронирующих электродов выполняют из двух одинаковых и рядом расположенных групп электродов, высоковольтные импульсы селектируют по полярности и направляют импульсы разной полярности на разные группы коронирующих электродов, а концентрацию ионов и коэффициент униполярности ионов регулируют путем независимого изменения длительности импульсов положительной и отрицательной полярности.
2. Способ ионизации воздуха по п.1, отличающийся тем, что через равные промежутки времени изменяют полярность высоковольтных импульсов, подаваемых на разные группы коронирующих электродов.
3. Биполярный генератор ионов, содержащий расположенную в продуваемом воздуховоде группу коронирующих электродов, подключенную к выходной обмотке высоковольтного трансформатора, первичная обмотка которого с последовательно соединенным с ней вольтодобавочным конденсатором включена в диагональ мостового переключателя напряжения, соединенного с положительной и общей шинами питания, в котором первая половина переключателя выполнена по схеме комплементарного эмиттерного повторителя, и блок управления концентрацией ионов, отличающийся тем, что он снабжен соединенным с положительной и общей шинами питания третьим переключателем, второй группой коронирующих электродов, идентичной первой группе и расположенной рядом с ней, двумя диодами и вторым высоковольтным трансформатором, выходная обмотка которого подключена ко второй группе коронирующих электродов, первичная обмотка включена параллельно первичной обмотке первого трансформатора, и обе эти обмотки соединены с выходом второго переключателя через встречно включенные диоды, причем, оба трансформатора включены синфазно, а блок управления концентрацией ионов выполнен из последовательно соединенных мультивибратора с регулируемой частотой следования импульсов и формирователя импульсов, выполненного на логическом элементе “ИСКЛЮЧАЮЩЕЕ ИЛИ”, первый вход которого соединен с выходом мультивибратора, сюда же подключен через две параллельно соединенные цепи, состоящие из последовательно соединенных потенциометров и диодов со встречным включением, второй вход логического элемента, к которому дополнительно подключен соединенный с общей шиной времязадающий конденсатор, сигнальные входы трех переключателей напряжения подключены либо к одному, либо к разным выходам мультивибратора, а второй и третий переключатели напряжения выполнены по схеме с тремя состояниями на выходе, у которых входы управления «третьим» состоянием объединены и подключены к выходу формирователя импульсов, при этом, второй переключатель переводится в «третье» состояние «нулевым» сигналом, а третий переключатель – “единичным” сигналом.
4. Биполярный генератор ионов по п.3, отличающийся тем, что он снабжен таймером со скважностью импульсов, равной двум, и электромагнитным реле с двумя группами перекидных контактов, являющегося нагрузкой таймера, а контактные группы реле включены между диодами и первичными обмотками трансформаторов.
РИСУНКИ
|
|