|
|
(21), (22) Заявка: 2006101917/06, 12.01.2006
(24) Дата начала отсчета срока действия патента:
12.01.2006
(30) Конвенционный приоритет:
14.01.2005 DE 102005001842.4
(46) Опубликовано: 20.06.2007
(56) Список документов, цитированных в отчете о поиске:
DE 10162608 A1, 17.07.2003. RU 2112270 C1, 27.05.1998. RU 2137048 C1, 10.09.1999. RU 2142081 C1, 27.11.1999.
Адрес для переписки:
191002, Санкт-Петербург, а/я 5, ООО “Ляпунов и партнеры”, пат.пов. Ю.В.Кузнецовой
|
(72) Автор(ы):
Фредериксен Бьярне (DK), Ларсен Арне Боэрге (DK), Грегерсен Нильс (DK), Агерсбаэк Христиан (DK)
(73) Патентообладатель(и):
ДАНФОСС А/С (DK)
|
(54) ТЕРМОРЕГУЛИРУЮЩАЯ НАСАДКА ДЛЯ КЛАПАНОВ ОТОПИТЕЛЬНЫХ ИЛИ ОХЛАДИТЕЛЬНЫХ АГРЕГАТОВ
(57) Реферат:
Терморегулирующая насадка предназначена для клапанов отопительных и охладительных агрегатов. Насадка содержит корпус, чувствительный элемент переменной длины, зависящей от температуры, и приводной элемент, выполненный с возможностью перемещения в направлении воздействия на клапан. Чувствительный элемент размещен в исполнительном узле насадки между корпусом и приводным элементом. В указанном исполнительном узле установлено корректирующее звено переменной длины, выполненное с возможностью изменения своей длины со скоростью, меньшей чем скорость изменения длины чувствительного элемента. Изобретение обеспечивает уменьшение колебаний температуры, происходящих за долгосрочный период времени. 14 з.п. ф-лы, 7 ил.
Изобретение относится к терморегулирующей насадке для клапанов отопительных или охладительных агрегатов, содержащей корпус; чувствительный элемент переменной длины, зависящей от температуры; и приводной элемент, выполненный с возможностью перемещения в направлении воздействия на клапан, причем чувствительный элемент расположен в исполнительном узле насадки между корпусом и приводным элементом.
Подобная терморегулирующая насадка известна, например, из патентного документа DE 10162608. Эта насадка одним концом упирается во внутреннюю торцевую сторону корпуса. Чувствительный элемент клапана имеет растягивающуюся часть в виде внутреннего сильфона, ограничивающего полость, в которую вставлен приводной элемент. В собранном состоянии этот приводной элемент прилегает к толкателю клапана. По мере увеличения температуры, действующей на чувствительный элемент, приводной элемент выдвигается из чувствительного элемента и смещает толкатель клапана, при этом клапан закрывается. По мере снижения температуры объем чувствительного элемента уменьшается и толкатель клапана, подпружиненный в направлении указанной полости, вдвигает приводной элемент обратно в чувствительный элемент.
В соответствии с современными требованиями по экономии энергии большая часть радиаторов отопления оснащена клапанами с термостатическим регулированием, причем для работы большинства этих клапанов необходимо использовать соответствующую терморегулирующую насадку. Посредством этой насадки можно устанавливать требуемое значение температуры, меняя положение чувствительного элемента в корпусе, например, с помощью поворотной ручки.
Указанная насадка в целом удовлетворительно осуществляет регулирование температуры помещения, т.е. температура, устанавливаемая пользователем или задаваемая каким-либо иным способом, на практике обеспечивается с достаточной точностью. Однако, как показывают наблюдения, даже при задании некоторого фиксированного значения температуры реальная температура в помещении колеблется на протяжении года в пределах примерно 1-2°С. Эти колебания часто не заметны для человека, поскольку в большинстве помещений устанавливаемое значение температуры меняют несколько раз в течение года. Тем не менее, такие колебания являются неблагоприятными и их желательно исключить.
Таким образом, задача настоящего изобретения заключается в уменьшении колебаний температуры, происходящих за долгосрочный период времени.
В случае терморегулирующей насадки вышеуказанного типа эта задача решена посредством размещения в ее исполнительном узле корректирующего звена переменной длины, выполненного с возможностью изменения своей длины со скоростью, меньшей чем скорость изменения длины чувствительного элемента.
Чувствительный элемент реагирует на изменение температуры путем изменения своей длины, меняющейся с заданной скоростью. Указанное изменение длины посредством исполнительного узла и приводного элемента преобразуется в соответствующее усилие, воздействующее на толкатель или другой приводной элемент клапана для радиатора отопления. В предложенном изобретении терморегулирующая насадка в целом действует таким же образом, поскольку она реагирует на изменения температуры по существу так же быстро, как и обычная терморегулирующая насадка. Однако согласно настоящему изобретению к указанному действию насадки добавлено воздействие специального корректирующего звена. Это корректирующее звено также выполнено с возможностью изменения своей длины, например, в зависимости от действия внешних сил или температуры, в частности регулируемой температуры. Однако эта длина изменяется относительно медленно. Таким образом, его изменение длины при изменении температуры проявляется не сразу, а на протяжении длительного времени. Поэтому длительное изменение длины обеспечивает надлежащее регулирование температуры в течение продолжительного времени.
Корректирующее звено в предпочтительном случае имеет две напорные камеры, сообщающиеся через дроссель. Камеры выполнены с возможностью изменения своей длины и наполнены текучей средой, способной проходить через дроссель. Камеры имеют разные поперечные сечения.
Описанная выше конструкция соответствует наиболее эффективному варианту корректирующего звена. Если на корректирующее звено действует какая-либо сила, например, возникающая вследствие температурного расширения чувствительного элемента, то напорная камера с большим действующим поперечным сечением (далее эта камера называется большой камерой) уменьшается и находящаяся в ней текучая среда вытесняется в напорную камеру с меньшим сечением (далее эта камера называется малой камерой). Указанное вытеснение обуславливает удлинение корректирующего звена, в результате чего благодаря различным поперечным сечениям напорных камер получается своего рода гидропреобразователь. Однако изменение длины корректирующего звена не происходит мгновенно, так как между двумя камерами размещен дроссель, который за определенный отрезок времени может пропустить через себя только некоторое фиксированное количество текучей среды. Это значит, что для изменения длины необходим более продолжительный период времени. Соответственно, быстрая реакция чувствительного элемента сохраняется, но при этом добавляется медленная реакция корректирующего звена.
На ограничивающую поверхность большей напорной камеры действует пружина, воздействие которой направлено на уменьшение указанной камеры. Такая простая конструкция обеспечивает возврат корректирующего звена в исходное положение.
В предпочтительном случае по меньшей мере одна из указанных напорных камер ограничена сильфоном. Сильфоны часто применяются в чувствительных элементах термостатов. Они ограничивают определенное пространство посредством гибкой, а значит изменяющейся по длине стенки.
В предпочтительном случае дроссель выполнен с возможностью замедления выравнивания давления между двумя напорными камерами на период примерно от 2 до 25 часов. Благодаря этому обеспечивается ситуация, при которой, с одной стороны, изменение длины камер не может оказать немедленного влияния на процесс регулирования температуры чувствительным элементом. Но, с другой стороны, указанная временная задержка обеспечивает требуемую температурную корректировку на долгосрочный период.
Согласно одному из предпочтительных вариантов изобретения напорные камеры граничат друг с другом. Такая конструкция дает следующие преимущества. Во-первых, длина терморегулирующей насадки является регулируемой в направлении воздействия на клапан. Во-вторых, конструктивно упрощается уплотнение зоны перехода от одной напорной камеры к другой, так как в этом случае не нужно выводить наружу какие-либо трубопроводы.
Определенные преимущества возникают также и в случае размещения одной напорной камеры внутри другой. Это позволяет уменьшить длину корректирующего звена.
Согласно одному из предпочтительных вариантов изобретения одна из напорных камер образована внутри чувствительного элемента. Это в еще большей степени уменьшает длину корректирующего звена.
Согласно особо предпочтительному варианту чувствительный элемент образует большую напорную камеру. Таким образом, в качестве большей напорной камеры используется имеющееся внутри чувствительного элемента пространство, заполняемое расширяющейся при нагревании текучей средой.
Чувствительный элемент в предпочтительном случае оснащен внутренним сильфоном, в который проходит приводной шток. Шток упирается в корпус, при этом чувствительный элемент выполнен с возможностью перемещения в корпусе в направлении воздействия на клапан. Согласно этому варианту изобретения чувствительный элемент развернут по сравнению с обычными терморегулирующими насадками, то есть в данном случае приводной шток не выдвигается в направлении клапана. Напротив, в соответствии с этим вариантом в действие посредством подвижного чувствительного элемента приводится клапан, причем между указанным элементом и клапаном можно разместить корректирующее звено или его часть.
Согласно одному из предпочтительных вариантов изобретения две напорные камеры сообщаются друг с другом посредством капиллярной трубки. Чтобы замедлить выравнивание давлений между обеими камерами в течение длительного времени, расположенный между камерами дроссель должен иметь сравнительно большое гидравлическое сопротивление. Гидравлическое сопротивление можно повысить, например, удлинив дроссельную секцию, что можно сделать с помощью капиллярной трубки.
Как вариант, между двумя напорными камерами можно установить мембрану, через которую может диффундировать текучая среда. Мембрана обеспечивает переход текучей среды из одной напорной камеры в другую. Однако этот переход осуществляется медленно – посредством диффузии, а не потока.
Между напорными камерами можно также разместить по меньшей мере одну разделительную пластину, имеющую соединительный канал, длина которого в несколько раз превышает толщину пластины. Канал может представлять собой, например, спиральную канавку, выполненную на поверхности разделительной пластины и закрытую перегородкой или листом. Указанная поверхность является поверхностью, повернутой в противоположную от малой напорной камеры сторону, в одном месте она соединяется с большей камерой. Описанная конструкция также обеспечивает достаточно существенный дросселирующий эффект.
В предпочтительном случае напорная камера с меньшим поперечным сечением ограничена непроницаемой для текучей среды мембраной. Дело в том, что в случае варианта, оснащенного малой напорной камерой, значительного изменения длины этой камеры не требуется, тогда как для осуществления дополнительного расширения этой камеры в диапазоне от 0 до 5 мм, в частности от 0,5 до 2,5 мм, достаточно отклонения, на которое отклоняется мембрана, находящаяся под давлением.
В предпочтительном случае непроницаемая для текучей среды мембрана ограничивает торец цилиндра, в котором размещен поршень, при этом указанная мембрана оказывает на поршень воздействие. Такая конструкция позволяет снизить нагрузку на мембрану.
Далее изобретение описано на примере предпочтительных вариантов его осуществления со ссылкой на приложенные чертежи, на которых:
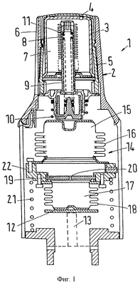
Фиг.1 схематично изображает первый вариант терморегулирующей насадки.
Фиг.2 схематично иллюстрирует принцип действия корректирующего звена.
Фиг.3 изображает второй вариант терморегулирующей насадки.
Фиг.4 изображает третий вариант терморегулирующей насадки.
Фиг.5 изображает четвертый вариант терморегулирующей насадки, а также дает увеличенный вид ее выделенного фрагмента.
Фиг.6 изображает пятый вариант терморегулирующей насадки.
Фиг.7 изображает шестой вариант терморегулирующей насадки, а также дает увеличенный вид ее выделенного фрагмента.
Терморегулирующая насадка 1 имеет корпус 2, в котором размещен чувствительный элемент 3, упирающийся в торцевую стенку 4 корпуса 2. Указанная торцевая стенка выполнена на вставке 5, которую при помощи ручки 6 можно смещать в аксиальном направлении, задавая таким образом требуемое значение регулируемой температуры.
В чувствительном элементе 3 имеется полость 7, наполненная расширяющейся при нагревании текучей средой (жидкостью или газом), объем которой изменяется по мере изменения температуры. С внутренней стороны полость 7 ограничена сильфоном 8, в котором установлен приводной шток 9, взаимодействующий с упором 10. Внутри приводного штока 9 размещена пружина 11.
Конструкция терморегулирующей насадки 1 в пределах описанного выше соответствует конструкции обычной терморегулирующей насадки для клапана. Когда температура в помещении увеличивается, ее рост воспринимается чувствительным элементом 3. Содержимое полости 7 расширяется и приводной шток 9 вытесняется вниз, как показано на фиг.1. Шток 9 посредством упора 10 действует на толкатель 13 (подробно не показан), в результате чего клапан закрывается. Благодаря этому уменьшается подача жидкого теплоносителя, температура падает и наполненность полости 7 уменьшается. Приводной шток 9 может в еще большей степени зайти внутрь чувствительного элемента 3, поскольку на толкатель клапана (подробно не показан) в направлении открытия клапана действует нагрузка, как правило, создаваемая пружиной. В этом случае подача жидкого теплоносителя увеличивается. Описанный процесс повторяется до тех пор, пока не будет достигнуто стабильное состояние. Таким образом, чувствительный элемент 3 осуществляет так называемое пропорциональное регулирование.
Замечено, что даже при задании фиксированного значения температуры посредством терморегулирующей насадки 1 температура помещения в течение года все-таки изменяется на 1-2°С. Это происходит потому, что в теплые летние месяцы клапан, регулируемый посредством терморегулирующей насадки 1, закрывается плотнее и чрезмерное уменьшение расхода потока приводит к росту температуры, например, на 1 или 2°С.
Чтобы уменьшить эти колебания температуры, происходящие за долгосрочный период времени, или даже вовсе исключить их, предложена конструкция, согласно которой упор 10 не действует на толкатель клапана непосредственным образом. Напротив, между терморегулирующей насадкой 3 с ее упором 10 и приводным элементом 12, действующим на толкатель 13 (показан схематично), установлено корректирующее звено 14. Это звено 14 может быть выполнено в виде самостоятельного элемента, размещаемого между насадкой 3 и клапаном (то есть им можно дооснащать существующий клапан). Однако следует иметь ввиду, что это корректирующее звено 14 может быть выполнено не только в виде самостоятельного элемента, но и в виде элемента, встроенного неразъемным образом.
Корректирующее звено 14 имеет первую напорную камеру 15, ограниченную в радиальном направлении первым сильфоном 16, и вторую напорную камеру 17, ограниченную в радиальном направлении вторым сильфоном 18. Камеры 15, 17 отделены друг от друга перегородкой 19, в которой выполнен дроссель 20.
На перегородку 19 через держатель 22 действует прижимная пружина 21, причем направление ее действия соответствует направлению уменьшения первой напорной камеры 15. Толкатель 13 оказывает воздействие на приводной элемент 12, направленное на уменьшение второй напорной камеры 17. На толкатель 13 в направлении открытия клапана обычно действует пружина клапана (подробно не показана). Однако пружина 21 выбрана таким образом, что сила ее упругости превышает силу упругости пружины клапана, например, в несколько раз. Таким образом, если корректирующее звено 14 смещено вниз (см. фиг.1), то пружина 21 создает большее усилие, чем пружина клапана, так что давление в камере 15 превышает давление в камере 17.
Первая напорная камера 15 имеет большее поперечное сечение, чем вторая камера 17. Поэтому камеру 15 называют большой напорной камерой, в то время как камеру 17 называют малой напорной камерой. Тем не менее, объемы двух камер 15, 17 могут быть одинаковыми. Разница в поперечных сечениях приводит к тому, что при перемещении текучей среды из камеры 15 во вторую камеру 17 длина камеры 17 увеличивается, причем это увеличение превышает соответствующее уменьшение длины камеры 15, возникшее вследствие перемещения текучей среды.
Поясним это подробнее со ссылкой на фиг.2, схематически изображающую корректирующее звено 14 во время различных стадий регулировки, элементы, соответствующие элементам, показанным на фиг.1, обозначены теми же номерами позиций. Однако в отличие от фиг.1 здесь обе напорные камеры 15, 17 ограничены не сильфонами 16, 18, а поршнями 16а, 18а.
Согласно проиллюстрированному примеру большая камера 15 имеет поперечное сечение А, превышающее поперечное сечение В второй камеры 17, например, в 2,5 раза.
В обеих камерах 15, 17 может находиться какое-либо несжимаемое вещество, например такая жидкость, как вода, масло и т.п.
Фиг.2а иллюстрирует исходное положение. Для удобства сравнения этого положения с последующими положениями на чертеже изображены верхняя линия 23 и нижняя линия 24. Расстояние между линиями равно С. Верхняя линия 23 соответствует положению верхнего конца поршня 16а, а нижняя линия 24 – положению нижнего конца поршня 18а.
При повышении температуры приводной шток 9 выдвигается из чувствительного элемента 3 (фиг.1) и смещает вниз верхний поршень 16а. Поскольку из-за наличия дросселя 20 жидкость не может перетечь из первой напорной камеры 15 во вторую напорную камеру 17, то держатель 22 сдвигается вниз, преодолевая действие пружины 21. Соответственно нижний поршень 18а тоже сдвигается, поэтому толкатель 13 (фиг.1) клапана вдавливается, вследствие чего начинается перекрытие клапана. Если в дальнейшем температура падает, то держатель 22 под действием силы пружины 21 смещается вверх и восстанавливается состояние, показанное на фиг.2а. Таким образом, изображенное на фиг.2а и 2b корректирующее звено 14 действует в диапазоне коррекции как сплошной блок, длина которого в направлении воздействия на клапан (т.е. в направлении действия приводного штока 9) не меняется.
Однако, если повышенная температура сохраняется в течение более длительного времени и приводной шток 9, соответственно, продолжает действовать на поршень 16а, то жидкость из первой напорной камеры 15 вытесняется во вторую напорную камеру 17. Переход жидкости происходит медленно, так как жидкость дросселируется мембраной 20. При этом увеличение протяженности второй напорной камеры 17 в направлении воздействия на клапан превышает уменьшение протяженности первой камеры 15 в аксиальном направлении. Указанное различие определяется соотношением между поперечными сечениями камер 15, 17. Таким образом, если повышенная температура будет сохраняться в течение длительного времени, то корректирующее звено 14 увеличится до большей длины D. При этом корректирующее звено 14 будет немного смещаться обратно вверх до тех пор, пока не наступит равновесие между силами, действующими со стороны чувствительного элемента на верхний поршень 16а, силами, действующими на поршень 16а со стороны давления в первой напорной камере 15, силами, действующими на второй поршень 18а со стороны давления во второй напорной камере 17, и силой пружины 21.
Итак, если повышенная средняя температура сохраняется в течение длительного времени, то корректирующее звено 14 увеличивает свою длину в направлении воздействия на клапан. При этом характеристика терморегулирующей насадки 1 изменяется таким образом, что перекрытие клапана начинает происходить уже при более низкой температуре. Это видно из сравнения фиг.2а и 2с. В обоих случаях воздействие со стороны чувствительного элемента 3 одинаковое, это значит, что температура также одинакова. Однако показанный на фиг.2с клапан перекрыт более плотно.
Таким образом, терморегулирующая насадка 1 с корректирующим звеном 14 образует не только пропорциональный, но и пропорционально-интегральный регулятор, причем пропорциональная часть по существу обеспечена чувствительным элементом 3, тогда как интегральная часть – корректирующим звеном 14.
При этом интегральная часть регулятора реализуется без использования внешней энергии, например без подачи электрической энергии или перемещения толкателя с помощью двигателя. Напротив, интегральная часть реализована благодаря наличию двух напорных камер 15, 17, сообщающихся друг с другом через дроссель 20.
Возможна также такая конструкция, при которой сильфон 18 своим торцом действует непосредственно на толкатель 13. В этом случае приводной элемент 12 выполнен за одно целое с сильфоном 18 и необходимость в отдельном элементе отпадает.
Однако изображенному на фиг.1 и 2 корректирующему звену 14 присущ недостаток, заключающийся в том, что он в значительной степени увеличивает конструктивный размер терморегулирующей насадки 1.
Этот недостаток преодолен в другом варианте выполнения изобретения, изображенном на фиг.3. Здесь элементы, соответствующие элементам, показанным на фиг.1, обозначены такими же номерами позиций.
В отличие от фиг.1 показанное на фиг.3 корректирующее звено 14 образовано двумя сильфонами, один из которых помещен в другой. Сильфон 16 ограничивает первую напорную камеру 15, в которой находится перегородка 19 с дросселем 20. В этом случае перегородка 19 выполнена в виде чаши, отверстие которой обращено вниз. Внутри перегородки 19 расположен второй сильфон 18 так, что вторая напорная камера 17 ограничена между перегородкой 19 и сильфоном 18. В этом случае дно второго сильфона 18 оказывает воздействие на приводной элемент 12.
Согласно данному варианту значение температуры также задается путем поворота ручки 6.
На фиг.4 изображен другой, несколько измененный вариант изобретения. На этом чертеже элементы, соответствующие элементам, показанным на фиг.1 и 3, обозначены такими же номерами позиций.
Согласно этому варианту первая напорная камера 15 образована полостью 7 чувствительного элемента 3. В качестве вещества, находящегося в обеих напорных камерах 15, 17, здесь используется термочувствительное вещество, объем которого изменяется в зависимости от температуры. Чувствительный элемент 3 в данном случае вставлен в корпус 2 в перевернутом положении, то есть его открытая часть, охватывающая сильфон 8, обращена к торцевой стенке 4 корпуса 2. В сильфон 8 вставлен шток 25, упирающийся в торцевую стенку 4. Чувствительный элемент 3 установлен в корпусе 2 с возможностью смещения в аксиальном направлении, то есть в направлении воздействия на клапан, при этом он подпружинен пружиной 21, действующей против направления закрытия клапана.
С закрытой торцевой стороны чувствительного элемента 3, то есть со стороны, которая направлена в противоположную сильфону 8 сторону, находится вторая напорная камера 17, ограниченная сильфоном 18. Первая напорная камера 15 и вторая напорная камера 17 сообщаются друг с другом через дроссель 20.
Второй сильфон 18 через обойму 26 действует на приводной элемент 12.
Принцип действия этого варианта изобретения аналогичен принципу действия вариантов, показанных на фиг.1-3. Однако в данном случае удлинение корректирующего звена 14 при повышении температуры происходит непосредственным образом.
При повышении температуры шток 25 за короткий промежуток времени выдвигается из чувствительного элемента 3. Чувствительный элемент 3 отжимается вниз (все направления соответствуют фиг.4) и приводной элемент 12 также отжимается вниз, приводя тем самым в движение толкатель 13 (на фиг.4 не показан) и плотнее перекрывая клапан. Здесь малый сильфон 18 также может непосредственно приводить в действие стержень клапана (не показан). Малый сильфон 18 может быть образован гофрировкой, выполненной на торцевой стороне. Это делает конструкцию еще более компактной.
С повышением температуры связано увеличение давления в первой напорной камере 15, то есть в полости 7 чувствительного элемента 3.
Это увеличение давления приводит к тому, что жидкость или газ из полости 7 через дроссель 20 перемещается во вторую напорную камеру 17. Так как вторая напорная камера 17 имеет значительно меньшее поперечное сечение, чем первая камера 15, то второй сильфон 18 удлиняется в большей степени, чем укорачивается сильфон 8 чувствительного элемента 3. В результате с повышением температуры происходит более сильное удлинение корректирующего звена 14, состоящего из чувствительного элемента 3 и сильфона 18. Это удлинение превышает соответствующее удлинение одного сильфона 3.
На практике в отношении показанной на фиг.4 конструкции можно использовать обычную насадку для терморегулирующего клапана со стандартными деталями. К ним необходимо добавить только дополнительный сильфон. Сильфоны могут быть выполнены из металла, пластмассы или комбинации этих материалов. В последнем случае пластмасса (резина в этом случае также рассматривается как пластмасса) обеспечивает эластичность, а металл – герметичность.
Теоретически в качестве чувствительного элемента можно также использовать элемент, выполненный из воска.
Для того чтобы характер работы терморегулирующей насадки в течение кратковременного периода достаточно сильно отличался от характера работы в течение длительного периода, дроссель 20 необходимо рассчитать таким образом, чтобы для выравнивания давления между напорными камерами 15 и 17 требовался длительный промежуток времени. Это период должен составлять по меньшей мере один час. Однако он может и существенно превышать эту величину и составлять, например, 8 часов, 25 часов, неделю и даже больше.
Долгосрочные влияния температуры окружающей среды, то есть переход зима-весна-лето и лето-осень-зима, учитываются лучше, в частности, при временной задержке, которая соответствует примерно одним суткам.
Чтобы дроссель 20 мог обеспечить соответствующую временную задержку, он должен быть точно рассчитан. Это требует значительных расходов при производстве. Вариант изобретения, проиллюстрированный со ссылкой на фиг.5, позволяет уменьшить эти расходы. Данный вариант в целом соответствует варианту, показанному на фиг.4, поэтому на этих чертежах одинаковые элементы обозначены одинаковыми номерами позиций.
Согласно этому варианту напорная камера 17 ограничена не сильфоном, а эластичной мембраной 27, соединенной с цилиндрическим корпусом 28, который приварен к кожуху чувствительного элемента 3. Сварное соединение 29 показано схематично. Цилиндрический корпус 28 может быть также приклеенным к кожуху 30 чувствительного элемента 3. В любом случае соединение должно быть непроницаемым для жидкости, находящейся в полости 7 чувствительного элемента 3. Естественно, непроницаемой для этой жидкости должна быть и мембрана 27. Поэтому мембрана 27 упоминается также как “непроницаемая мембрана”.
Обойма 26 имеет поршневой выступ 31, проходящий в цилиндрическую полость 32 цилиндрического корпуса 28. Непроницаемая мембрана 27 оказывает воздействие на поршневой выступ 31. Таким образом, при увеличении давления во второй напорной камере 17 поршневой выступ 31 выдвигается из цилиндрического корпуса 28 и обойма 26 с приводным элементом 12 смещается вниз.
В торце кожуха 30 выполнено отверстие 33, через которое жидкость из первой напорной камеры 15 может попасть в промежуточную зону 34. Промежуточная зона 34 отделена от второй напорной камеры 17 жесткой мембраной 35. Мембрана 35 имеет жесткость, которая не позволяет ей прогибаться сколько-нибудь значительно под давлением жидкости. Однако эта мембрана является проницаемой для жидкости. Правда, эта проницаемость весьма ограничена. В ее основе лежит, например, явление диффузии. Как вариант, в жесткой мембране могут быть выполнены микроотверстия, например, способом травления. Давление между промежуточной зоной 34 и второй напорной камерой 17 выравнивается через мембрану 35 лишь с течением времени, причем возникающее во второй напорной камере 17 более высокое или более низкое давление приводит к тому, что поршневой выступ 31 в большей или меньшей степени выдвигается из цилиндрического корпуса 28.
Таким образом, постоянная времени интегрального звена регулятора определяется проницаемостью мембраны 35.
На фиг.6 показан еще один вариант выполнения изобретения, причем обозначения элементов здесь такие же, как и ранее.
Отделить друг от друга две напорные камеры 15, 17 можно также посредством гибкой перегородки, в результате чего их можно заполнять различными веществами. Такая перегородка может быть выполнена, например, в виде колпака, закрывающего отверстие 33. Если вследствие повышения давления в первой напорной камере этот колпак (на чертеже не показан) сжимается, то с другой стороны перегородки вытесняется используемое вещество.
Согласно данному варианту изобретения напорные камеры 15, 17 сообщаются друг с другом через капиллярную трубку 36. Эта трубка 36 может иметь несколько витков 37, с помощью которых ей можно придавать определенную длину. Эта длина обуславливает необходимое дросселирование жидкости при переходе между двумя напорными камерами 15, 17. Кроме того, капиллярная трубка 36 может иметь сужение (подробно не показано). В любом случае на капиллярной трубке 36 выполнен по меньшей мере один виток 37, позволяющий учитывать изменение длины, возникающее из-за перемещения напорной камеры 17 или окружающего ее кожуха.
Напорная камера 17 оканчивается мембраной 27, воздействующей на поршневой выступ 31. В этом отношении данный вариант изобретения соответствует варианту, изображенному на фиг.5. Мембрана может быть выполнена из разных материалов, например металла, резины, пластмассы и т.д. Чтобы предотвратить диффузию через мембрану 27, ее можно снабдить покрытием, например, металлическим. Мембрану также можно покрыть слоем антифрикционного материала.
На фиг.7 показан еще один вариант терморегулирующей насадки, в целом соответствующий варианту, представленному на фиг.5. Здесь элементы, совпадающие с элементами, показанными на фиг.5, обозначены такими же номерами позиций.
Между мембраной 27 и кожухом 30 установлена разделительная пластина 38. В этой пластине со стороны, обращенной к кожуху 30, выполнена спиральная канавка 39, которая оканчивается отверстием 40, проходящим сквозь разделительную пластину 38. Поэтому жидкость может через отверстие 40 попасть из первой напорной камеры 15, то есть из чувствительного элемента 3, в напорную камеру 17 (на фиг.7b не показана). Однако, прежде чем пройти через отверстие 40, жидкость должна пройти через канал, образованный канавкой 39, и кожух 30. Это позволяет осуществлять достаточную временную задержку при выравнивании давлений между двумя напорными камерами 15, 17.
Разделительную пластину 38 целесообразно приклеить к кожуху 30, чтобы она от него не отходила. Это препятствует возникновению байпаса между соседними участками спиральной канавки 39.
Если необходимо обеспечить более интенсивное дросселирование потока в канале, канал можно сделать более длинным, применив для этого несколько разделительных пластин. Для дросселирования потока в канале иным способом можно использовать несколько спиральных канавок 39.
Кроме того, сопротивление при переходе от одной напорной камеры к другой можно сделать регулируемым снаружи. Это можно реализовать, например, с помощью дросселя 20.
Несмотря на то, что данное изобретение описано на примере терморегулирующей насадки для отопительного агрегата, его можно использовать аналогичным образом в клапане для охладительного агрегата и других подобных теплообменных устройств. В этом случае между терморегулирующей насадкой 3 и приводным элементом 12 обычно устанавливают реверсивное устройство (в данной заявке это устройство не показано).
Формула изобретения
1. Терморегулирующая насадка для клапанов отопительных и охладительных агрегатов, содержащая корпус, чувствительный элемент переменной длины, зависящей от температуры, и приводной элемент, выполненный с возможностью перемещения в направлении воздействия на клапан, причем чувствительный элемент размещен в исполнительном узле насадки между корпусом и приводным элементом, отличающаяся тем, что в указанном исполнительном узле установлено корректирующее звено (14) переменной длины, выполненное с возможностью изменения своей длины со скоростью меньшей, чем скорость изменения длины чувствительного элемента (3).
2. Насадка по п.1, отличающаяся тем, что в корректирующем звене (14) имеются две напорные камеры (15, 17), которые сообщаются друг с другом через дроссель (20), выполнены с возможностью изменения своей длины и наполнены текучей средой, способной проходить через дроссель, при этом указанные напорные камеры (15, 17) имеют разные поперечные сечения.
3. Насадка по п.1 или 2, отличающаяся тем, что на ограничивающую поверхность (19, 30) большей напорной камеры (15) действует пружина (21), воздействие которой направлено на уменьшение этой камеры (15).
4. Насадка по п.3, отличающаяся тем, что, по меньшей мере, одна напорная камера (15) ограничена сильфоном (8, 16, 18).
5. Насадка по п.4, отличающаяся тем, что дроссель (20) выполнен с возможностью замедления выравнивания давлений между двумя напорными камерами (15, 17) на период от 2 до 25 ч.
6. Насадка по п.5, отличающаяся тем, что две напорные камеры (15, 17) граничат друг с другом.
7. Насадка по п.6, отличающаяся тем, что одна из напорных камер (15, 17) размещена внутри другой.
8. Насадка по п.7, отличающаяся тем, что одна из указанных напорных камер образована внутри чувствительного элемента (3).
9. Насадка по п.8, отличающаяся тем, что большая напорная камера (15) образована чувствительным элементом (3).
10. Насадка по п.9, отличающаяся тем, что чувствительный элемент (3) оснащен внутренним сильфоном (8), в который проходит приводной шток (25), упирающийся в корпус (2, 4), при этом чувствительный элемент (3) выполнен с возможностью перемещения в корпусе (2, 4) в направлении воздействия на клапан.
11. Насадка по п.10, отличающаяся тем, что напорные камеры (15, 17) сообщаются посредством капиллярной трубки (36).
12. Насадка по п.10, отличающаяся тем, что между двумя напорными камерами (15, 17) установлена мембрана (35), через которую может диффундировать текучая среда.
13. Насадка по п.10, отличающаяся тем, что между напорными камерами (15, 17) размещена, по меньшей мере, одна разделительная пластина (38), имеющая соединительный канал (39), длина которого в несколько раз превышает толщину пластины (38).
14. Насадка по п.13, отличающаяся тем, что напорная камера (17) с меньшим поперечным сечением ограничена непроницаемой для текучей среды мембраной (27).
15. Насадка по п.14, отличающаяся тем, что непроницаемая для текучей среды мембрана (27) ограничивает торец цилиндра (32), в котором размещен поршень (31), при этом указанная мембрана (27) оказывает на поршень (31) воздействие.
РИСУНКИ
|
|