|
|
(21), (22) Заявка: 2005133534/06, 31.10.2005
(24) Дата начала отсчета срока действия патента:
31.10.2005
(46) Опубликовано: 20.06.2007
(56) Список документов, цитированных в отчете о поиске:
RU 2099623 С1, 20.12.1997. SU 996784 А, 15.02.1983. GB 2261051 А, 05.05.1993. US 6053204 A, 25.04.2000. DE 3124611 A, 27.05.1982.
Адрес для переписки:
347382, Ростовская обл., г. Волгодонск, 22 о/с, а/я 1126, Д.Н. Веремееву
|
(72) Автор(ы):
Веремеев Дмитрий Николаевич (RU), Бокач Евгений Николаевич (RU), Линник Юрий Петрович (RU), Нефедцев Валерий Петрович (RU)
(73) Патентообладатель(и):
Веремеев Дмитрий Николаевич (RU), Бокач Евгений Николаевич (RU), Линник Юрий Петрович (RU), Нефедцев Валерий Петрович (RU)
|
(54) РЕГУЛИРУЮЩИЙ ДИСКОВЫЙ КЛАПАН С РАЗГРУЗОЧНЫМ УСТРОЙСТВОМ
(57) Реферат:
Изобретение относится к регулирующей трубопроводной арматуре и предназначено для использования в различных технологических линиях для регулирования расхода и перекрытия потока жидкой или газообразной среды, находящейся как при низком, так и при высоком давлении. Регулирующий дисковый клапан с разгрузочным устройством снабжен напорной и сливной полостями и содержит установленные в корпусе неподвижное седло с пропускными профилированными периферийными окнами и центральным каналом в нем, и золотник выполнен с вырезами и соединен с устройством для передачи крутящего момента от привода. Седло контактирует с золотником. Секторные пазы на уплотняющей поверхности золотника образуют вместе с поверхностью седла промежуточную камеру. Клапан снабжен разгрузочным устройством. Это устройство установлено в центральном канале седла со стороны золотника и взаимодействует с ним. Устройство состоит из набора поочередно установленных друг на друга тарелок и плунжеров с возможностью их взаимодействия и осевого перемещения. Меньший диаметр каждого плунжера входит в центральное отверстие соседней с ним тарелки. Между поверхностями плунжеров и тарелок образованы полости. Расположенные под плунжерами полости соединены с напорной полостью клапана посредством каналов. Эти каналы выполнены в седле. Расположенные над плунжерами полости соединены со сливной полостью клапана посредством центральных каналов. Эти каналы выполнены в плунжерах. Изобретение направлено на снижение габаритов и массы клапана при сохранении создания усилия разгрузки за счет перепада давления рабочей среды в полостях разгрузочного устройства клапана. 3 з.п. ф-лы, 7 ил.
Изобретение относится к регулирующей трубопроводной арматуре, а именно к устройствам, регулирующим расход и перекрытие потока жидкой или газообразной среды, находящейся как при низком, так и при высоком давлении, и может быть использовано в различных технологических линиях.
Известен разгруженный дисковый клапан, содержащий корпус с седлом, шпиндель, соединенный с плоским поворотным регулирующим элементом, расположенным во входной полости корпуса, и разгрузочное средство, выполненное за одно целое со шпинделем, при этом площадь в поперечном сечении конца шпинделя, воспринимающего входное давление, больше или равна площади регулирующего элемента в поперечном сечении (патент RU, №2079028 С1, МПК F16K 39/04, от 03.03.92 г., оп. 10.05.97 г.).
Недостатком известного дискового клапана является то, что пропускная способность его напрямую зависит от размеров регулирующего элемента. Это связано с тем, что разгрузочное средство выполнено за одно целое со шпинделем и для обеспечения усилия разгрузки клапана площадь поперечного сечения шпинделя в зоне сальника выбирается не меньше площади поперечного сечения регулирующего элемента, что приводит к увеличению одновременно размеров шпинделя и регулирующего элемента, а следовательно, размеров и массы клапана.
Известен регулирующий дисковый клапан с разгрузочным устройством, снабженный напорной и сливной полостями и содержащий установленное в корпусе неподвижное седло с пропускными профилированными периферийными окнами и центральным каналом в нем, контактирующее с золотником, выполненным с вырезами и соединенным с устройством для передачи крутящего момента от привода, при этом на корпусе закреплены крышка и цилиндр, в котором установлен поршень, неразъемно соединенный с золотником и образующий с цилиндром разгрузочную камеру, сообщенную со сливной полостью при помощи сквозного центрального продольного отверстия, а на уплотняющей поверхности золотника – секторные пазы, образующие вместе с поверхностью седла промежуточную камеру, сообщенную с разгрузочной камерой и центральным каналом (патент RU, №2099623 С1, МПК F16K 39/04, от 05.04.95 г., оп. 20.12.97 г.).
Однако жесткое соединение цилиндра в крышке и расположение в нем поршня, неразъемно соединенного с золотником, расположенным перпендикулярно к поверхности седла, связано с увеличением габаритов и, как следствие, массы клапана за счет необходимости расположения цилиндра и поршня между крышкой и золотником. Кроме того, для обеспечения усилия разгрузки клапана площадь поперечного сечения поршня выбирается не меньше площади поперечного сечения регулирующего элемента, что также приводит к увеличению массы клапана.
Задачей, на решение которой направлено данное изобретение, является снижение габаритов и массы клапана при сохранении усилия разгрузки за счет перепада давления рабочей среды в полостях разгрузочного устройства, размещенного в центральном канале седла.
Для достижения указанного технического результата в регулирующем дисковом клапане с разгрузочным устройством, снабженным напорной и сливной полостями и содержащем установленные в корпусе неподвижное седло с пропускными профилированными периферийными окнами и центральным каналом в нем, контактирующее с золотником, выполненным с вырезами, соединенным с устройством для передачи крутящего момента от привода, секторные пазы на уплотняющей поверхности золотника, образующие вместе с поверхностью седла промежуточную камеру, сообщенную с центральным каналом седла, согласно изобретению, клапан снабжен разгрузочным устройством, установленным в центральном канале седла со стороны золотника и взаимодействующим с ним, и состоящим из набора поочередно установленных друг на друга тарелок и плунжеров с возможностью их взаимодействия и осевого перемещения, при этом меньший диаметр каждого плунжера входит в центральное отверстие соседней с ним тарелки, между поверхностями плунжеров и тарелок образованы полости, причем полости, расположенные под плунжерами, соединены с напорной полостью клапана посредством каналов, выполненных в седле, а полости, расположенные над плунжерами, соединены со сливной полостью клапана посредством центральных каналов, выполненных в плунжерах.
При этом каждая тарелка взаимодействует с соседней тарелкой, а каждый плунжер взаимодействует с соседним плунжером своими торцевыми поверхностями, соответственно.
Кроме того, предварительное поджатие набора тарелок и плунжеров осуществляется посредством пружин, размещенных по обе стороны набора.
При этом нижняя тарелка взаимодействует с поверхностью седла, а верхний плунжер взаимодействует с поверхностью золотника.
Снабжение клапана разгрузочным устройством, установленным в центральном канале седла со стороны золотника и взаимодействующим с ним, позволяет обеспечить разгрузку золотника от давления прижатия среды за счет разности площадей поверхностей секторных пазов золотника и суммарной поверхности плунжеров при одинаковой величине давления на эти поверхности и перепада давления между напорной и сливной полостями, что позволяет разместить разгрузочное устройство не в напорной, а в сливной полости клапана. При этом значительно снижаются габариты и масса клапана за счет исключения цилиндра и поршня из конструкции клапана, расположенных между крышкой и золотником, имеющих значительные размеры.
Выполнение разгрузочного устройства из набора поочередно установленных друг на друга тарелок и плунжеров с возможностью их взаимодействия и осевого перемещения между собой обеспечивает необходимое усилие разгрузки при незначительном диаметре разгрузочных поверхностей.
Выполнение полостей между поверхностями плунжеров и тарелок под плунжерами разгрузочного устройства и соединение их с напорной полостью клапана посредством каналов, выполненных в седле, и выполнение полостей между поверхностями плунжеров и тарелок над плунжерами и соединение их со сливной полостью клапана посредством центральных каналов, выполненных в плунжерах обеспечивает создание усилия разгрузки на каждом плунжере за счет перепада давления рабочей среды в полостях под плунжером и над плунжером.
Размещение каждого плунжера меньшим диаметром в центральном отверстии соседней с ним тарелки и взаимодействие каждой тарелки с соседней тарелкой, а каждого плунжера с соседним плунжером своими торцевыми поверхностями соответственно обеспечивает передачу усилия разгрузки каждого плунжера на золотник путем их последовательного взаимодействия.
Предварительное поджатие набора тарелок и плунжеров посредством пружин, размещенных по обе стороны набора, обеспечивает предварительную герметизацию полостей над плунжерами и полостей под плунжерами друг с другом.
Сущность изобретения поясняется чертежами, где:
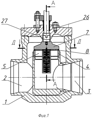
на фиг.1 изображен описываемый регулирующий клапан, продольный разрез;
на фиг.2 – разрез А-А на фиг.1, показано разгрузочное устройство, расположение тарелок и плунжеров, каналы, соединяющие полости под и над плунжерами с напорной и сливной полостями;
на фиг.3 – вид Б на фиг.2, показаны разгрузочные кольцевые полости между плунжерами и тарелками и соединение их с напорной и сливной полостями;
на фиг.4 – разрез В-В на фиг.3, показаны канавки на торцевых поверхностях тарелок, соединяющие полости под плунжерами с напорной полостью клапана;
на фиг.5 – разрез Г-Г на фиг.3, показаны канавки на торцевых поверхностях плунжеров, соединяющие полости над плунжерами со сливной полостью клапана;
на фиг.6 – разрез Д-Д на фиг.1, вид золотника с седлом в закрытом положении;
на фиг.7 – разрез Д-Д на фиг.1, вид золотника с седлом в открытом положении.
Регулирующий дисковый клапан с разгрузочным устройством содержит корпус 1 (фиг.1), снабженный патрубками напорной 2 и сливной 3 полости. В корпусе 1 установлено неподвижно седло 4 с выполненными в нем профилированными окнами 5 и центральным каналом 6 (фиг.2). Седло 4 контактирует с поворотным золотником 7 (фиг.1). Золотник 7 выполнен с вырезами (фиг.6, 7), на уплотняющей поверхности золотника 7 выполнены секторные пазы, образующие вместе с поверхностью седла 4 промежуточную камеру 8 (фиг.1). В центральном канале 6 седла 4 со стороны золотника 7 установлено разгрузочное устройство, состоящее из набора поочередно установленных друг на друга тарелок 9 и плунжеров 10 (фиг.2), причем каждая тарелка 9 взаимодействует с соседней тарелкой своими торцевыми поверхностями. Плунжеры 10 размещены в центральном отверстии 11 каждой тарелки 9 и взаимодействуют также с соседними плунжерами 10 своими торцевыми поверхностями. В каждом плунжере 10 выполнен центральный канал 12, сообщенный со сливной полостью 3 клапана. Между торцевыми поверхностями плунжеров 10 и тарелок 9, расположенных под плунжерами 10, образованы полости 13 (фиг.3, 4), сообщенные с полостью центрального канала 6 седла 4 посредством канавок 14 (фиг.4), выполненных на нижних торцах тарелок 9. Между поверхностями тарелок 9 и плунжеров 10 над плунжерами 10 образованы полости 15 (фиг.3, 5), сообщенные с центральными каналами 12 плунжеров 10 посредством канавок 16 (фиг.5), выполненных на торцевых поверхностях плунжеров 10. Предварительное прижатие золотника 7 к седлу 4 при отсутствии давления среды в корпусе 1 осуществляется при помощи установленной в нем пружины 17 (фиг.2). Верхний плунжер 18 (фиг.3) взаимодействует с торцевой поверхностью золотника 7 посредством установленной между ними пяты 19. В седле 4 выполнены каналы 20 (фиг.2), соединяющие центральный канал 6 седла 4 с напорной полостью 2 клапана. Предварительное поджатие пакета тарелок 9 и плунжеров 10 осуществляется посредством пружин 21 (фиг.3) и 22 (фиг.2), размещенных между пятой 19 и верхней тарелкой 23 и между нижней тарелкой 24 и поверхностью центрального канала 6 седла 4, соответственно. Центрирование золотника 7 относительно седла 4 осуществляется посредством втулки 25 (фиг.3), размещенной в соосных отверстиях золотника 7 и пяты 19. Передача крутящего момента от привода (не показан) к золотнику 7 осуществляется при помощи шпинделя 26 через муфту 27 (фиг.1).
Клапан работает следующим образом:
В положении «закрыто» (фиг.6) золотником 7 перекрыты окна 5 (фиг.7) седла 4. Золотник 7 прижат к седлу 4 давлением Р1 рабочей среды напорной полости 2. Давление рабочей среды в полостях 13, образованных поверхностями плунжеров 10 и тарелок 9, расположенных под плунжерами, равно давлению Р1 в напорной полости 2, а давление в полостях 15, образованных поверхностями плунжеров 10 и тарелок 9 с верхней стороны плунжеров, равно давлению Р2 в сливной полости 3. Рабочая среда не поступает в сливную полость. Клапан закрыт. Разность давлений (Р1-Р2) в напорной полости 2 и сливной полости 3, умноженная на разность активной площади золотника 7, создает усилие прижатия золотника к седлу, а суммарная площадь полостей 13 и 15 создает силу, прижимающую каждый плунжер 10 и пяту 19 к золотнику 7, которая направлена в противоположную сторону и обеспечивает разгрузку золотника 7.
Для приведения клапана в положение «открыто» привод вращает шпиндель 26 и соединенный с ним посредством муфты 27 золотник 7, таким образом, что вырезы золотника 7 смещаются относительно окон 5 седла 4, образуя сквозной проход. Напорная полость 2 соединяется со сливной полостью 3. Рабочая среда под давлением Р1 из напорной полости 2 корпуса 1 поступает через образовавшиеся окна в сливную полость 3. Вращением шпинделя 26 изменяют угол поворота золотника 7. Золотник 7, вращаясь, постепенно открывает окна 5 седла 4. Полное открытие клапана достигается при полном совмещении вырезов золотника 7 с окнами 5 седла 4. Таким образом, поворотом золотника 7 регулируют площадь проходного сечения перекрываемых окон.
Для закрытия клапана перекрытие окон 5 седла 4 происходит в обратной последовательности. Вращением шпинделя 26 поворачивают золотник 7 до тех пор, пока он не перекроет окна 5 седла 4.
Таким образом, благодаря особенностям исполнения и расположения разгрузочного устройства изобретение позволяет обеспечить снижение габаритов и массы клапана при неизменной пропускной способности и одновременно обеспечить сохранение усилия разгрузки за счет перепада давления рабочей среды в полостях разгрузочного устройства.
Формула изобретения
1. Регулирующий дисковый клапан с разгрузочным устройством, снабженный напорной и сливной полостями и содержащий установленные в корпусе неподвижное седло с пропускными профилированными периферийными окнами и центральным каналом в нем, контактирующее с золотником, выполненным с вырезами и соединенным с устройством для передачи крутящего момента от привода, секторные пазы на уплотняющей поверхности золотника, образующие вместе с поверхностью седла промежуточную камеру, отличающийся тем, что клапан снабжен разгрузочным устройством, установленным в центральном канале седла со стороны золотника и взаимодействующим с ним, и состоящим из набора поочередно установленных друг на друга тарелок и плунжеров с возможностью их взаимодействия и осевого перемещения, при этом меньший диаметр каждого плунжера входит в центральное отверстие соседней с ним тарелки, между поверхностями плунжеров и тарелок образованы полости, причем полости, расположенные под плунжерами, соединены с напорной полостью клапана посредством каналов, выполненных в седле, а полости, расположенные над плунжерами, соединены со сливной полостью клапана посредством центральных каналов, выполненных в плунжерах.
2. Регулирующий дисковый клапан с разгрузочным устройством по п.1, отличающийся тем, что каждая тарелка взаимодействует с соседней тарелкой, а каждый плунжер взаимодействует с соседним плунжером своими торцевыми поверхностями, соответственно.
3. Регулирующий дисковый клапан с разгрузочным устройством по п.1, отличающийся тем, что предварительное поджатие набора тарелок и плунжеров осуществляется посредством пружин, размещенных по обе стороны набора.
4. Регулирующий дисковый клапан с разгрузочным устройством по п.3, отличающийся тем, что нижняя тарелка взаимодействует с поверхностью седла, а верхний плунжер взаимодействует с поверхностью золотника.
РИСУНКИ
|
|