|
|
(21), (22) Заявка: 2005138644/11, 12.12.2005
(24) Дата начала отсчета срока действия патента:
12.12.2005
(46) Опубликовано: 20.06.2007
(56) Список документов, цитированных в отчете о поиске:
RU 2230241 С2, 10.06.2004. SU 1084508 A, 07.04.1984. RU 5006 U1, 14.09.1997. US 3494606 А, 10.07.1970.
Адрес для переписки:
399770, Липецкая обл., г. Елец, ул. Коммунаров, 28, Елецкий государственный университет им. И.А. Бунина
|
(72) Автор(ы):
Сливинский Евгений Васильевич (RU), Климов Дмитрий Николаевич (RU)
(73) Патентообладатель(и):
Государственное образовательное учреждение высшего профессионального образования “Елецкий государственный университет им. И.А. Бунина” (RU)
|
(54) ГИДРАВЛИЧЕСКИЙ ДЕМПФЕР
(57) Реферат:
Изобретение относится к области машиностроения. Гидравлический демпфер содержит цилиндр с полым штоком и поршнем, снабженным каналами Г-образной формы. Поршень жестко закреплен на полом штоке. В надпоршневой зоне, внутри полого штока установлены две диафрагмы полусферической формы, одна из которых сплошная, а другая имеет осевое сквозное отверстие. В пространстве между ними подвижно размещено сферическое тело качения, снабженное в своей горизонтальной экваториальной области круговой лыской и вертикальным осевым сквозным каналом. В стенках полого штока, в пространстве между диафрагмами выполнены наклонные к продольной оси его симметрии каналы. Достигается упрощение конструкции и повышение эффективности работы демпфера. 1 з.п. ф-лы, 4 ил.
Предлагаемое изобретение относится к области машиностроения и может быть использовано в конструкциях различной транспортной техники.
Известен гидравлический демпфер по А.с. СССР №1084508 от 08.12.1983 г. Такой демпфер состоит из цилиндра, в котором размещен подвижно поршень со штоком. В поршне выполнены вертикальные каналы, переходящие на его поверхности в горизонтальные и примыкающие к радиально расположенным ребрам, жестко закрепленным на поверхности поршня. Такая конструкция демпфера позволяет создавать крутящий момент на штоке, возникающий от потока движущейся жидкости при его рабочем ходе, что обеспечивает поглощение части механической энергии и тем самым использовать его в эксплуатации более эффективно. Существенным недостатком такого демпфера является то, что закрутка штока происходит только при рабочем ходе, а при отдаче достичь этого невозможно. Поэтому конструкция такого демпфера не позволяет подобрать рациональные параметры усилий при прямом и обратном ходе штока.
Известна также конструкция гидравлического демпфера, описанного в патенте RU 2230241 от 10.06.04 г., у которого второй торец поршня, также как и первый, снабжен радиальными ребрами и выступами с изогнутыми под прямым углом к оси поршня каналами, но направленными в противоположную сторону к имеющимся на первом торце поршня, а сам поршень состоит из двух частей, каждая из которых закреплена на раздельных штоках, установленных подвижно друг в друге, и один из них пустотелый. Несмотря на свою эффективность работы такой демпфер также обладает существенным недостатком, характеризующим его сложность конструкции.
Поэтому целью предлагаемого изобретения является упрощение конструкции и повышение эффективности работы демпфера.
Поставленная цель достигается тем, что обе части поршня жестко закреплены на полом штоке, а в его надпоршневой зоне внутри установлены две полусферической формы диафрагмы, одна из которых сплошная, а другая имеет осевое сквозное отверстие, и в пространстве между ними подвижно размещено сферическое тело качения, снабженное в своей горизонтальной экваториальной области круговой лыской и вертикальным осевым сквозным каналом, причем в стенках упомянутого пустотелого штока, также в пространстве между диафрагмами, выполнены наклонные к продольной оси его симметрии каналы, одни продольные, оси которых направлены в сторону верхней части цилиндра, а другие нижней. Наклонные каналы штока выполнены конусными и у нижних меньшие их диаметры расположены на внешней его образующей, а у верхних – на внутренней.
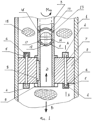
На фиг.1 показана часть гидравлического демпфера с продольным разрезом, на фиг.2 – его сечение по А-А, на фиг.3 и 4 показано укрупненное сечение полого штока с расположенными в нем деталями.
Гидравлический демпфер состоит из цилиндра 1 с установленным в нем поршнем 2 и полым штоком 3. Поршень 2 снабжен радиальными ребрами 4 и примыкающими к ним с зазором выступами 5. Выступы 5 снабжены горизонтальными каналами 6, переходящими в вертикальные каналы 7. Полый шток 3 связан с поршнем 2 шпонкой 8 и фиксирован гайкой 9. В полом штоке 3 жестко закреплены диафрагмы 10 и 11, а последняя снабжена сквозным отверстием 12. В пространстве между диафрагмами 10 и 11 подвижно в вертикальной плоскости полого штока 3 размещено сферическое тело качения 13, снабженное круговой лыской 14 и вертикальным осевым сквозным каналом 15, а в стенках полого штока 3 выполнены верхние конусные каналы 16 и нижние конусные каналы 17. Цилиндр 1 заполнен рабочей жидкостью 18.
Работает гидравлический демпфер следующим образом. В статике, когда, например, транспортное средство, в котором используются гидравлические демпферы, их детали находятся в таком положении, как это показано на фиг.1. При движении транспортного средства (на чертежах оно не показано) поршень 2 совместно с полым штоком 3 совершает рабочий ход по стрелке В (см. фиг.1), при этом находящаяся в подпоршневой полости рабочая жидкость 18 поступает по стрелке С в горизонтальные каналы 6 выступов 5, проходит через вертикальные каналы 7 и контактирует с радиальными ребрами 4, создавая крутящий момент Мкр на полом штоке, который закручивается на определенный угол, поглощая поступательную энергию хода поршня 2. Обратный ход поршня 2 происходит так же с сопротивлением, но при этом рабочая жидкость протекает по каналам 6 и 7 в противоположном направлении стрелке С. В случае же резкого возникновения динамической нагрузки при рабочем ходе поршня 2 (см. фиг.4), когда его скорость VPX мгновенно возрастает, рабочая жидкость 18 получает движение по стрелке D в полой полости штока 3, проходит через сквозное отверстие 12, выполненное в диафрагме 11, и перемещает с некоторым сопротивлением сферическое тело качения 13 в направлении стрелки Е (за счет наличия круговой лыски 14, выполненной на сферическом теле качения 13, например, по 4-му квалитету образующей с внутренней поверхностью полого штока 3 поступательную кинематическую пару высокой точности сопряжения) до тех пор, пока оно не упрется в диафрагму 10. После этого рабочая жидкость 18 уже не сможет протекать по вертикальному осевому сквозному каналу 15 и поэтому поступит по стрелкам F в нижние конусные каналы 17, истекая из них с значительной скоростью и создавая сопротивление движению поршня 2 по стрелке В (следует отметить, что скорость истекания рабочей жидкости 18 из каналов 17 возрастает за счет того, что на выходе каналы 17 имеют диаметр отверстия меньший, чем на входе. Более того, на чертежах это не показано, но количество каналов 17 может быть различным, исходя из габаритов и области применения гидравлического демпфера). Чем выше скорость VPX движения поршня 2 при рабочем ходе, тем выше будет демпфирующая способность гидравлического демпфера. В то же время в верхние конусные каналы 16 рабочая жидкость попасть не может, так как они прикрыты сферическим телом качения 13. При обратном ходе поршня 2, то есть отдаче демпфера, последний вместе с полым штоком 3 будет перемещаться в направлении, обратном стрелке В со скоростью движения VOX (см. фиг.3), и тогда под действием тока рабочей жидкости 18 по стрелке К сферическое тело качения 13 переместится по стрелке L и последняя поступит в его вертикальный осевой сквозной канал 15 так же по стрелке К и будет транспортироваться в дальнейшем по полому штоку 3 в подпоршневую полость демпфера, так же демпфируя этот вид динамического нагружения. В дальнейшем описанные процессы могут повторяться неоднократно.
Технико-экономическое преимущество предложенного технического решения в сравнении с известными очевидно, так оно более просто по конструкции и в то же время позволяет эффективно демпфировать динамические составляющие нагрузок, возникающие в условиях эксплуатации различных транспортных средств.
Формула изобретения
1. Гидравлический демпфер, содержащий цилиндр с полым штоком и поршнем, снабженным каналами Г-образной формы, отличающийся тем, что поршень жестко закреплен на полом штоке, причем в надпоршневой зоне, внутри полого штока установлены две диафрагмы полусферической формы, одна из которых сплошная, а другая имеет осевое сквозное отверстие, а в пространстве между ними подвижно размещено сферическое тело качения, снабженное в своей горизонтальной экваториальной области круговой лыской и вертикальным осевым сквозным каналом, причем в стенках полого штока, в пространстве между диафрагмами выполнены наклонные к продольной оси его симметрии каналы.
2. Гидравлический демпфер по п.1, отличающийся тем, что наклонные каналы в стенках полого штока выполнены конусными и у нижних меньшие их диаметры расположены на внешней его образующей, а у верхних – на внутренней.
РИСУНКИ
|
|