|
(21), (22) Заявка: 2005128014/06, 07.09.2005
(24) Дата начала отсчета срока действия патента:
07.09.2005
(46) Опубликовано: 20.06.2007
(56) Список документов, цитированных в отчете о поиске:
ПЕШКИН М.А. Кавитационная трубка для определения давления насыщенного пара жидкости. Приборы для исследования физических свойств газов, жидкостей и контроля теплоэнергетических параметров. Сборник ЦИТЭИН. Передовой научно-технический и производственный опыт. Вып.10. – М., 1961, с.14-18. SU 973929 А, 15.11.1982. SU 1054572 А, 15.11.1983. SU 1435816 A1, 07.11.1988. SU 1216431 А, 07.03.1986.
Адрес для переписки:
450055, г.Уфа, пр-т Октября, 144/3, ГУП “ИПТЭР”, патентный отдел
|
(72) Автор(ы):
Гумеров Асгат Галимьянович (RU), Рахматуллин Шамиль Исмагилович (RU), Карамышев Виктор Григорьевич (RU), Садуева Гульмира Худайбергеновна (RU)
(73) Патентообладатель(и):
Государственное унитарное предприятие “Институт проблем транспорта энергоресурсов” ГУП “ИПТЭР” (RU)
|
(54) СПОСОБ ИЗМЕРЕНИЯ КАВИТАЦИОННОГО ЗАПАСА НАСОСА
(57) Реферат:
Изобретение относится к насосостроению, в частности к измерению кавитационного запаса насоса (Н). Способ заключается в измерении разности давлений на входе в Н и пара в кавитационной зоне перекачиваемой жидкости (Ж), инициируемого с помощью кавитационной трубки (КТ) типа Вентури с пережатым сечением, размещенной на байпасной линии. На байпасной линии обеспечивают с помощью запорных кранов, вспомогательного В и расходомера перепуск части Ж. Экспериментально устанавливают зависимость предельного расхода Ж через КТ от давления на входе. Предварительно определяют давление насыщенных паров Ж при температуре перекачки и, пользуясь соответствующими формулами, определяют время нахождения Ж в метастабильном состоянии в КТ от расхода. По времени нахождения Ж в метастабильном состоянии в Н, вычисляемого по соответствующей формуле, определяют предельный расход через КТ, обеспечивающий адекватность неравновесных (метастабильных) условий кавитации в Н и КТ, который с помощью кранов устанавливают на КТ. Измеряют дифференциальный перепад давления – разность давления на входе И и давления в горловине (каверне) КТ, определяющий искомый кавитационный запас Н. Изобретение направлено на повышение эффективности способа путем учета условий неравновесности кавитирования в Н и повышения достоверности измерения кавитационного запаса Н. 2 ил.
Изобретение относится к насосостроению, в частности к измерению кавитационного запаса насоса, перекачивающего углеводородную смесь.
Известно техническое решение для измерения кавитационного запаса насоса (см. Букринский A.M., Модникова В.В. Прибор для измерения кавитационного запаса циркуляционных насосов. Энергомашиностроение, 1968, №8, с.36-43), включающее баллончик, трубопровод, дифференциальный манометр и импульсные трубки.
Недостаток – известное техническое решение при измерении кавитационного запаса насоса не учитывает теплофизические свойства перекачиваемой углеводородной смеси.
Наиболее близким техническим решением является способ измерения кавитационного запаса насоса, включающий измерение разности давлений на входе в насос и пара в кавитационной зоне перекачиваемой жидкости, инициируемого вне проточной части насоса с помощью кавитационной трубки типа Вентури с пережатым сечением, размещенной на байпасной линии (см. Пешкин М.А. Кавитационная трубка для определения давления насыщенного пара жидкости. Приборы для исследования физических свойств газов, жидкостей и контроля теплоэнергетических параметров. Сборник ЦИТЭИН. Передовой научно-технический и производственный опыт. Вып.10. Москва, 1961, с.14-18).
Недостаток – известное техническое решение не учитывает условий адекватности неравновесности кавитирования в кавитационной трубке и в насосе, что вносит неточность в измерение кавитационного запаса насоса.
Задача изобретения – повышение эффективности способа путем учета условий неравновесности кавитирования в насосе и повышения достоверности измерения кавитационного запаса насоса.
Технический результат достигается тем, что в способе измерения кавитационного запаса насоса, включающем измерение разности давлений на входе в насос и пара в кавитационной зоне перекачиваемой жидкости, инициируемого вне проточной части насоса с помощью кавитационной трубки типа Вентури с пережатым сечением, размещенной на байпасной линии, согласно изобретению на байпасной линии с размещенной на ней кавитационной трубкой с пережатым сечением обеспечивают с помощью запорных кранов, вспомогательного насоса и расходомера перепуск части жидкости, экспериментально устанавливают зависимость предельного расхода жидкости через трубку от давления на входе qпр=qпр(Pвх), предварительно определяют давление насыщенных паров жидкости Ps при температуре перекачки и, пользуясь формулами


определяют время нахождения жидкости в метастабильном состоянии в кавитационной трубке от расхода. тр= тр(qпр) и по времени нахождения жидкости в метастабильном состоянии в насосе, вычисляемого по формуле

определяют предельный расход qпр, обеспечивающий адекватность неравновесных (метастабильных) условий кавитации в насосе и кавитационной трубке, который с помощью кранов устанавливают на кавитационной трубке, после чего измеряют дифференциальный перепад давления – разность давления на входе насоса и давления в горловине (каверне) трубки, определяющий искомый кавитационный запас насоса,
где ds – диаметр сечения кавитационной трубки, в котором давление равно давлению насыщенных паров;
Dвх – диаметр входного сечения кавитационной трубки;
Pвх – давление на входе кавитационной трубки;
Ps – давление насыщенных паров перекачиваемой жидкости;
– плотность жидкости;
qпр – предельный объемный расход при заданном давлении на входе Рвх;
тр – время нахождения жидкости в метастабильном состоянии в кавитационной трубке;
dгор – диаметр горловины кавитационной трубки;
L – длина конфузорной части кавитационной трубки (от входа до горловины);
нас – время нахождения жидкости в метастабильном состоянии в насосе;
lлоп – длина лопасти насоса;
Qнас – расход жидкости через насос;
D1 – диаметр входа в рабочее колесо насоса;
dвт – диаметр втулки рабочего колеса;
n – число оборотов насоса.
Операции, позволяющие определить зависимость qпр=qпр(Рвх) и соответственно предельный расход жидкости при заданном давлении Ps, выполняются аналогично процедуре, описанной в книге Аразумова Э.С. Кавитация в местных гидравлических сопротивлениях. Москва, Энергия, 1978, с.124-126.
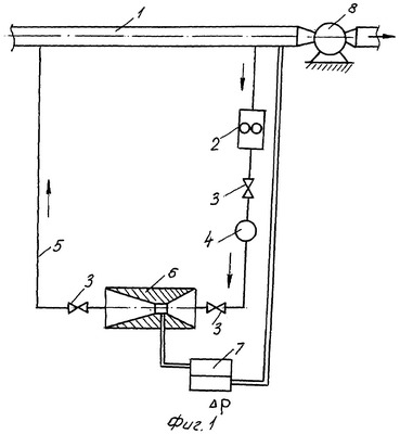
На фиг.1 приведена схема для измерения кавитационного запаса насоса.
На фиг.2 – кавитационная трубка.
Схема измерения включает магистральный трубопровод 1, вспомогательный насос 2, задвижки (краны) 3, расходомер 4, байпасную линию 5, кавитационную трубку 6, дифференциальный манометр 7 и насос 8.
Способ реализуется следующим образом.
Кавитационную трубку 6 размещают на байпасной линии 5 и вспомогательным насосом 2 через расходомер 4 с помощью запорных кранов 3 устанавливают экспериментально зависимость предельного расхода подаваемой жидкости через кавитационную трубку от давления на входе qпр=qпр(Рвх), предварительно определяют давление насыщенных паров жидкости Ps при температуре перекачки и, пользуясь формулами (1) и (2), определяют время нахождения жидкости в метастабильном состоянии в кавитационной трубке от расхода тр= тр(qпр) и по времени нахождения жидкости в метастабильном состоянии в насосе, вычисляемому по формуле (3), определяют предельный расход через трубку qпр, обеспечивающий адекватность неравновесных (метастабильных) условий кавитации в насосе и кавитационной трубке, после чего измеряют с помощью дифманометра 7 дифференциальный перепад давления – перепад давления на входе насоса и давления в каверне (горловине) трубки, определяющий искомый кавитационный запас насоса.
Выполненные сравнительные расчеты по вышеприведенным формулам показывают, что учет условий неравновесности позволяет повысить достоверность измерения величины кавитационного запаса насоса.
Формула изобретения
Способ измерения кавитационного запаса насоса, включающий измерение разности давлений на входе в насос и пара в кавитационной зоне перекачиваемой жидкости, инициируемого вне проточной части насоса с помощью кавитационной трубки типа Вентури с пережатым сечением, размещенной на байпасной линии, отличающийся тем, что на байпасной линии с размещенной на ней кавитационной трубкой с пережатым сечением обеспечивают с помощью запорных кранов, вспомогательного насоса и расходомера перепуск части жидкости, экспериментально устанавливают зависимость предельного расхода жидкости через трубку от давления на входе qпр=qпр(Рвх), предварительно определяют давление насыщенных паров жидкости Ps при температуре перекачки и пользуясь формулами


определяют время нахождения жидкости в метастабильном состоянии в кавитационной трубке от расхода тр= тр(qпр) и по времени нахождения жидкости в метастабильном состоянии в насосе, вычисляемого по формуле

определяют предельный расход через трубку qпр, обеспечивающий адекватность неравновесных (метастабильных) условий кавитации в насосе и кавитационной трубке, который с помощью кранов устанавливают на кавитационной трубке, после чего измеряют дифференциальный перепад давления – разность давления на входе насоса и давления в горловине (каверне) трубки, определяющий искомый кавитационный запас насоса,
где ds – диаметр сечения кавитационной трубки, в котором давление равно давлению насыщенных паров;
Dвх – диаметр входного сечения кавитационной трубки;
Pвх – давление на входе кавитационной трубки;
Ps – давление насыщенных паров перекачиваемой жидкости;
– плотность жидкости;
qпр – предельный объемный расход при заданном давлении на входе Рвх;
тр – время нахождения жидкости в метастабильном состоянии в кавитационной трубке;
dгор – диаметр горловины кавитационной трубки;
L – длина конфузорной части кавитационной трубки (от входа до горловины);
нас – время нахождения жидкости в метастабильном состоянии в насосе;
lлоп – длина лопасти насоса;
Qнас – расход жидкости через насос;
D1 – диаметр входа в рабочее колесо насоса;
dвт – диаметр втулки рабочего колеса;
n – число оборотов насоса.
РИСУНКИ
MM4A – Досрочное прекращение действия патента СССР или патента Российской Федерации на изобретение из-за неуплаты в установленный срок пошлины за поддержание патента в силе
Дата прекращения действия патента: 08.09.2007
Извещение опубликовано: 10.03.2009 БИ: 07/2009
|