|
|
(21), (22) Заявка: 2005133729/06, 02.11.2005
(24) Дата начала отсчета срока действия патента:
02.11.2005
(46) Опубликовано: 20.06.2007
(56) Список документов, цитированных в отчете о поиске:
RU 2253735 С2, 10.06.2005. SU 1267048 A1, 30.10.1986. RU 2138650 C1, 21.01.1998. US 4022553 A, 10.05.1977. JP 3130593 A, 04.06.1991.
Адрес для переписки:
105118, Москва, пр-т Буденного, 16, ФГУП “Московское машиностроительное производственное предприятие “Салют”, правовое управление, Т.Е. Гордеевой
|
(72) Автор(ы):
Беляев Вячеслав Евгеньевич (RU), Вдовин Петр Иванович (UA), Косой Александр Семенович (RU)
(73) Патентообладатель(и):
Федеральное государственное унитарное предприятие “Московское машиностроительное производственное предприятие “Салют” (RU)
|
(54) РОЛИКОЛОПАСТНОЙ КОМПРЕССОР С УСТРОЙСТВОМ ТОРЦЕВОГО УПЛОТНЕНИЯ ВАЛА И СПОСОБ ЕГО РАЗГРУЗКИ ОТ ОСЕВЫХ СИЛ
(57) Реферат:
Изобретение относится к области роторных машин, в частности к компрессорам. Ролико-лопастной компрессор содержит корпус с выполненными в нем каналами для подвода и отвода рабочей среды, ротор и ролики-разделители, размещенные в корпусе с образованием между ротором, роликами-разделителями и корпусом полостей, опоры и узлы уплотнения. Каждый из узлов уплотнения содержит ступени высокого давления, низкого давления и бесконтактного уплотнения, причем ступень низкого давления связана с атмосферой, ступень высокого давления посредством дополнительно выполненного в корпусе канала – с одной из полостей, образованных ротором, роликами-разделителями и корпусом, а ступень бесконтактного уплотнения снабжена кольцом-гребнем с выполненными в нем канавками. Способ разгрузки от осевых сил ротора ролико-лопастного компрессора заключается в том, что из полости высокого давления к ступени высокого давление узла уплотнения подают газ, который через бесконтактное уплотнение направляют в полость низкого давления, из которой его выводят таким образом, чтобы обеспечить давление в полости низкого давления в диапазоне от 0,02 до 0,05 ати. Обеспечивается надежная герметичность корпуса компрессора по выходному валу, а также эффективная разгрузка ротора от воздействия осевых сил. 2 н. и 10 з.п. ф-лы, 8 ил.
Изобретение относится к области роторных машин, в частности к компрессорам.
Известна ролико-лопастная гидромашина, содержащая ротор с лопастями и вращающиеся с ним синхронно ролики-разделители, расположенные в корпусе (Авторское свидетельство №1267048, МПК F04C 2/04, БИ №40 за 1986 г.) – аналог.
В данном устройстве имеются разгрузочные каналы и двойное контактное уплотнение вала с дренажным каналом.
Недостатком данной конструкции уплотнения вала является то, что она не обеспечивает надежную и долговечную работу конструкции, а существующая система подпора не обеспечивает разгрузку ротора от воздействия осевых сил.
Известна ролико-лопастная машина, содержащая корпус с выполненными в нем каналами для подвода и отвода рабочей среды, ротор и ролики-разделители, размещенные в корпусе с образованием между ротором, роликами-разделителями и корпусом полостей, опоры и узлы уплотнения (патент РФ №2253735, МПК F01C 1/14, опубл.27.12.05 г.) – аналог.
Недостатком данной конструкции является то, что она не обеспечивает надежную герметизацию и разгрузку ротора от осевых сил.
Известно также многоступенчатое торцевое уплотнение, содержащее основную и вспомогательную ступени, последняя из которых выполнена в виде гидрозатвора из двух уплотнений, между которыми подается запирающая жидкость (патент РФ №2116536, МПК F01J 15/34, опубл. 27.07.98 г.) – аналог.
Известное устройство не обеспечивает герметичность корпуса на выходе вала по уплотняющей жидкости.
Техническим результатом, на достижение которого направлено заявляемое изобретение, является обеспечение надежной герметичности корпуса компрессора по выходному валу, а также эффективная разгрузка ротора от воздействия осевых сил.
Указанный технический результат достигается тем, что ролико-лопастной компрессор, содержащий корпус с выполненными в нем каналами для подвода и отвода рабочей среды, ротор и ролики-разделители, размещенные в корпусе с образованием между ротором, роликами-разделителями и корпусом полостей, опоры и узлы уплотнения, каждый из узлов уплотнения содержит ступени низкого давления, высокого давления и бесконтактного уплотнения, причем ступень низкого давления связана с атмосферой, ступень высокого давления посредством дополнительно выполненного в корпусе канала – с одной из полостей, образованных ротором, роликами-разделителями и корпусом, а ступень бесконтактного уплотнения снабжена кольцом-гребнем с выполненными в нем канавками.
В ролико-лопастном компрессоре ступень низкого давления может быть соединена с атмосферой посредством эжектирующего устройства.
В ролико-лопастном компрессоре эжектирующее устройство может содержать сопло Вентури с выполненными в нем отверстиями, например радиальными.
В ролико-лопастном компрессоре ступень уплотнения высокого давления может содержать, по меньшей мере, одно подпружиненное антифрикционное кольцо, а также соединенное с корпусом и выполненное с возможностью осевого перемещения кольцо, причем в указанном кольце герметично закреплено дополнительное антифрикционное кольцо, выполненное с возможностью стыковки с кольцом-гребнем бесконтактной ступени уплотнения.
В ролико-лопастном компрессоре на кольце ступени бесконтактного уплотнения выполнены канавки глубиной L, определяемой из соотношения L (Rконт.-Rвн.), где Rвн. – внутренний радиус кольца ступени бесконтактного уплотнения, Rконт. – радиус соединения кольца ступени высокого давления, выполненного с возможностью осевого перемещения, с корпусом. Канавки могут быть выполнены спиральными.
В ролико-лопастном компрессоре ступень низкого давления узла уплотнения со стороны выходного вала может содержать антифрикционное уплотнительное кольцо, связанное с отверстиями, например радиальными соплами Вентури.
В ролико-лопастном компрессоре ступень высокого давления может быть соединена с полостью, например с пазом, выполненным в корпусе компрессора, соединенной с рабочей полостью между корпусом, роликом-разделителем и ротором в полости высокого давления ступени высокого давления, т.е. в зоне отводящего канала.
Известен способ разгрузки от осевых сил ролико-лопастной гидромашины, содержащей ротор с лопастями и вращающимися с ним синхронно роликами-разделителями, расположенными в корпусе (Авторское свидетельство №1267048, МПК F04C 2/04, БИ №40 за 1986 г.) – аналог.
Недостатком известного способа является то, что существующая система подпора не обеспечивает разгрузку ротора от осевых сил.
Известен способ разгрузки от осевых сил гидромашины, содержащей ротор с лопастями и вращающиеся синхронно с ним ролики-разделители, расположенные в корпусе, имеющем подвижные уплотняющие элементы торцов ротора (патент РФ №2069798, МПК F04C 2/344, опубл.27.11.96 г.) – аналог.
Недостатком данной конструкции является то, что в известном решении не обеспечивается надежная герметизация и разгрузка ротора от осевых сил.
Техническим результатом, на достижение которого направлено заявляемое изобретение, является обеспечение надежной герметичности корпуса компрессора по выходному валу, а также эффективная разгрузка ротора от воздействия осевых сил.
Заявляемый технический результат достигается тем, что в способе разгрузки от осевых сил ротора ролико-лопастного компрессора с узлом уплотнения, содержащим ступени высокого давления, низкого давления и бесконтактного уплотнения, заключающемся в том, что из полости высокого давления к ступени высокого давление узла уплотнения подают газ, который через бесконтактное уплотнение направляют в полость низкого давления, из которой его выводят таким образом, чтобы обеспечить давление в полости низкого давления в диапазоне от 0,02 до 0,05 ати.
В способе могут использовать бесконтактное уплотнение, содержащее кольцо-гребень с выполненными в нем канавками.
В способе заданный диапазон давления могут поддерживать выполнением в ролико-лопастном компрессоре на кольце ступени бесконтактного уплотнения канавок глубиной L, определяемой из соотношения L (Rконт.-Rвн.), где Rвн. – внутренний радиус кольца ступени бесконтактного уплотнения, Rконт. – радиус соединения элемента ступени высокого давления, выполненного с возможностью осевого перемещения, с корпусом.
В способе для поддержания заданного диапазона давления используют сопло Вентури с выполненными в нем каналами, например радиальными.
Для предотвращения выброса масла в полость многоступенчатого торцевого уплотнения полость многоступенчатого торцевого уплотнения, примыкающая к масляной полости, наддувается газом высокого давления посредством соединения с полостью высокого давления ролико-лопастного компрессора.
Сопоставительный анализ с известными решениями показывает, что заявляемое решение отличается способом разгрузки ротора от осевых сил, выполнением торцевого уплотнения с полостью высокого давления, наддутой рабочим телом из полости высокого давления компрессора, а также дренажированием с помощью сопла Вентури уплотнения выходного вала и выполнения канавок.
Предлагаемый ролико-лопастной компрессор с торцевым уплотнением иллюстрируется чертежами, представленными на фиг.1-8.
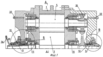
На фиг.1 представлен поперечный разрез ролико-лопастного компрессора,
на фиг.2 – элемент сечения А-А фиг.1 со схемой движения рабочего тела,
на фиг.3 – элемент Б фиг.1,
на фиг.4 – элемент Б фиг.1 в сечении, провернутом в окружном направлении,
на фиг.5 – элемент В фиг.1,
на фиг.6 – элемент сечения Г-Г фиг.2,
на фиг.7 – элемент Г фиг.3,
на фиг.8 – элемент сечения Ж-Ж фиг.7.
На чертежах показан двухступенчатый ролико-лопастной компрессор, который содержит корпус 1 с подводящими каналами 2 и 41, отводящими каналами 3 и 42 и отверстиями 4 с размещенными в них роликами-разделителями 5 с пазами 6 и ротором 7 с лопастями 8 и валом 9. Ролико-лопастной компрессор содержит также синхронизирующий механизм 10, опоры 11 и многоступенчатые торцевые уплотнения 12, каждое из которых содержит ступени бесконтактного уплотнения, ступени низкого давления 13 и ступени высокого давления 14. В ступенях имеются выполненные с возможностью движения кольца 15, 16 и 17, пружины 18, кольцо-гребень 19 с канавками 20, антифрикционные кольца 21, 22, 23 и 24, каналы разгрузки 25, каналы высокого давления 26 и 27, полость низкого давления 28, сопло Вентури 29 с радиальными отверстиями 30, прижимная гайка 31 с контактными уплотнением 32, крышка 33, паз 34, канал сброса в “свечу” 35, приводной фланец 36 и каналы подвода масла 37, ступени низкого давления компрессора 38 и ступень высокого давления 39 с отводящим каналом высокого давления 40.
Показаны соответственно: на фиг.7 и 8 – диаметры телескопического соединения подвижного кольца с корпусом и конца спиральной канавки на кольце-гребне, на фиг.5 – канал сброса в “свечу”, 35, на фиг.1 – приводной фланец 36 и каналы подвода масла 37.
Ролико-лопастной компрессор работает следующим образом. Сжимаемый газ извне через подводящий канал 2 подают в рабочую камеру ступени низкого давления 38 компрессора, где при вращении ротора 7 с лопастями 8 он сжимается и перепускается через отводящий канал 3 и подводящий канал 41 в рабочую камеру ступени высокого давления 39, где тем же образом дожимается до требуемого давления и поступает к потребителю через отводящий канал 42 ступени высокого давления 39. Ротор 7 приводится во вращение через фланец 36 от внешнего источника механической энергии. При вращении ротора 7 синхронно с ним вращаются ролики-разделители 5, при этом поочередно одни из роликов-разделителей 5 пропускают лопасти 8 ротора 7, а вторые ролики-разделители 5 в этот момент перекатываются по ротору 7 и, таким образом, разделяют ролико-лопастной компрессор на две ступени – низкого давления 38 и высокого давления 39.
В ступенях низкого давления 38 и высокого давления 39 ролико-лопастного компрессора в рабочем объеме образованы соответственно полости высокого и низкого давления, разделенные лопастью 8. Полость высокого давления ступени низкого давления 38 через отводящий канал 3 и подводящий канал 41 соединена с полостью низкого давления ступени высокого давления 39. Полость высокого давления ступени высокого давления 39 через отводящие каналы 42 и 40 соединена с потребителем газа и каналами высокого давления 26 и 27 многоступенчатых торцевых уплотнений 12. Через отводящий канал высокого давления 40 газ отводят из полости высокого давления ступени высокого давления 39, например, через паз 34, выполненный в корпусе 1 с возможностью такого отвода. Паз 34 выходит в рабочую полость ступени высокого давления 39 с размещенным в нем роликом-разделителем 5 и, следовательно, в отводящем канале высокого давления 40 постоянно поддерживается максимальное давление газа, создаваемое компрессором.
Сихронизирующий механизм 10 обеспечивает взаимное вращение роликов-разделителей 5 и ротора 7 таким образом, что при перекатывании роликов-разделителей 5 по ротору 7 имеющиеся в роликах-разделителях 5 пазы 6 в заданный момент перепускают лопасти 8. Через каналы 37 к опорам 11 и синхронизирующему механизму 10 подается масло, причем его вытеканию наружу за корпус 1 препятствует многоступенчатое торцевое уплотнение 12. Это же многоступенчатое торцевое уплотнение 12 обеспечивает герметичность компрессора в отношении сжимаемого в нем газа.
Работает многоступенчатое торцевое уплотнение 12 следующим образом. Газ высокого давления по отводящему каналу высокого давления 40 поступает в каналы высокого давления 26 и 27 ступени высокого давления 14 многоступенчатого торцевого уплотнения 12. Под действием высокого давления газа и пружины 18 кольца, выполненные с возможностью перемещения, расходятся, герметично прижимая по торцу антифрикционные кольца 22 и 23 к корпусу 1 и к выполненному с возможностью перемещения кольцу 17. Одновременно с этим выполненное с возможностью перемещения кольцо 17 с закрепленным в нем антифрикционным кольцом 24 под воздействием тех же сил от пружины 18 и газа высокого давления в каналы высокого давления 26 перемещается в направлении кольца-гребня 19. В полости между кольцом 17 и внутренним диаметром кольца-гребня 19 собирается газ, прорвавшийся сюда через торцевое уплотнение ступени высокого давления 14. Поступая в канавки 20 кольца-гребня 19, газ сжимается и отодвигает кольцо 17 в сторону, противоположную действию сил от ступени высокого давления 14, причем канавки выполняют глубиной L, определяемой из соотношения L (Rконт.-Rвн.), где Rвн. – внутренний радиус кольца ступени бесконтактного уплотнения, Rконт. – радиус соединения кольца ступени высокого давления, выполненного с возможностью осевого перемещения, с корпусом. Глубину канавок L в каждом конкретном случае выбирают в рамках заявленного диапазона из условия, что при вращении ротора 7 результирующая сила от действия всех перечисленных выше сил раскрывала стык газового бесконтактного уплотнения по кольцу-гребню 19 и антифрикционному кольцу, закрепленному в кольце 17. Поступающий из газового уплотнения в канал 35 газ отводится в “свечу”. При этом избыточное давление в канале 35, находящемся непосредственно за газовым уплотнением, поддерживают на уровне 0,02-0,05 ати. Это давление является рабочим для эжектора, отсасывающего из разгрузочного канала 25 прорвавшийся из канала низкого давления сброса в свечу 35 через антифрикционное кольцо 21 газ. Сам эжектор состоит, например, из сопла Вентури 29 с радиальными отверстиями 30, соединенными с каналом 25. Антифрикционное кольцо 21 по торцу прижато к корпусу 1 гайкой 31. В гайке 31 закреплено подпружиненное контактное уплотнение 32, препятствующее вытеканию масла, например, на стоянке. В случае отсутствия необходимости выхода вала за пределы корпуса с одной из сторон вала 9 ступень низкого давления 14 многоступенчатого торцевого уплотнения 12 выполняется в виде крышки 33. При этом поддерживаемая разность давления на стенке крышки в пределах указанной величины 0,02-0,05 ати обеспечивает разгрузку ротора от осевых сил, а подача через отводящий канал высокого давления 40 в многоступенчатое торцевое уплотнение 12 газа высокого давления препятствует потере масла через многоступенчатое торцевое уплотнение 12.
Формула изобретения
1. Роликолопастной компрессор, содержащий корпус с выполненными в нем каналами для подвода и отвода рабочей среды, ротор и ролики разделители, размещенные в корпусе с образованием между ротором, роликами-разделителями и корпусом полостей, опоры и узлы уплотнения, каждый из узлов уплотнения содержит ступени высокого давления, низкого давления и бесконтактного уплотнения, причем ступень низкого давления связана с атмосферой, ступень высокого давления дополнительно выполненным в корпусе каналом – с одной из полостей, образованных ротором, роликами-разделителями и корпусом, а ступень бесконтактного уплотнения снабжена кольцом-гребнем с выполненными в нем канавками.
2. Роликолопастной компрессор по п.1, отличающийся тем, что ступень низкого давления соединена с атмосферой посредством эжектирующего устройства.
3. Роликолопастной компрессор по п.2, отличающийся тем, что эжектирующее устройство содержит сопло Вентури с выполненными в нем отверстиями.
4. Роликолопастной компрессор по п.1, отличающийся тем, что ступень уплотнения высокого давления содержит подпружиненные антифрикционные кольца, соединенное с корпусом и выполненное с возможностью осевого перемещения кольцо, причем в указанном кольце герметично закреплено дополнительное антифрикционное кольцо, выполненное с возможностью стыковки с кольцом-гребнем бесконтактной ступени уплотнения.
5. Роликолопастной компрессор по п.1, отличающийся тем, что на кольце ступени бесконтактного уплотнения выполнены канавки глубиной L, определяемой из соотношения L (Rконт.-Rвн.), где Rвн. – внутренний радиус кольца, Rконт. – радиус соединения элемента ступени высокого давления, выполненного с возможностью осевого перемещения, с корпусом.
6. Роликолопастной компрессор по п.1, отличающийся тем, что ступень низкого давления узла уплотнения со стороны выходного вала содержит антифрикционное уплотнительное кольцо с каналом соединенным с отверстиями сопла Вентури.
7. Роликолопастной компрессор по п.1, отличающийся тем, что ступень высокого давления связана с полостью, в корпусе компрессора, соединенной с рабочей полостью между корпусом, роликом-разделителем и ротором в полости высокого давления ступени высокого давления, т.е. в зоне отводящего канала.
8. Способ разгрузки от осевых сил ротора роликолопастного компрессора с узлом уплотнения, содержащим ступени высокого давления, низкого давления и бесконтактного уплотнения, заключающийся в том, что к ступени высокого давления узла уплотнения подают газ из полости высокого давления и через бесконтактное уплотнение направляют его в полость низкого давления, из которой его выводят таким образом, чтобы обеспечить давление в полости низкого давления в диапазоне от 0,02 до 0,05 ати.
9. Способ разгрузки ротора по п.8, отличающийся тем, что используют бесконтактное уплотнение, содержащее кольцо-гребень с выполненными в нем спиральными канавками.
10. Способ разгрузки ротора по п.8, отличающийся тем, что заданный диапазон давления поддерживают выполнением в роликолопастном компрессоре на кольце ступени бесконтактного уплотнения канавок глубиной L, определяемой из соотношения L (Rконт.-Rвн.), где Rвн. – внутренний радиус кольца ступени бесконтактного уплотнения, Rконт. – радиус соединения элемента ступени высокого давления, выполненного с возможностью осевого перемещения, с корпусом.
11. Способ разгрузки ротора по п.8, отличающийся тем, что для эжектирования используют сопло Вентури с выполненными в нем каналами.
12. Способ разгрузки ротора по п.8, отличающийся тем, что на ступень высокого давления узла уплотнения подают максимальное давление газа, создаваемое в роликолопастном компрессоре.
РИСУНКИ
|
|