|
|
(21), (22) Заявка: 2005113098/06, 26.04.2005
(24) Дата начала отсчета срока действия патента:
26.04.2005
(43) Дата публикации заявки: 20.11.2006
(46) Опубликовано: 20.06.2007
(56) Список документов, цитированных в отчете о поиске:
RU 2175731 C1, 10.11.2001. RU 2123602 C1, 20.12.1998. EP 0269474 A, 01.06.1988. EP 0265333 A, 24.07.1988. US 3348494 A, 24.10.1967.
Адрес для переписки:
190005, Санкт-Петербург, Московский пр-т, 19, ЛЮМЭКС, А.А. Строганову
|
(72) Автор(ы):
Волков Юрий Михайлович (RU), Строганов Александр Анатольевич (RU)
(73) Патентообладатель(и):
Волков Юрий Михайлович (RU), Строганов Александр Анатольевич (RU)
|
(54) РОТОРНАЯ ШИБЕРНАЯ МАШИНА
(57) Реферат:
Изобретение относится к машиностроению и может быть использовано в качестве шиберной роторной машины высокого давления с равномерной объемной подачей, которая способна работать как в режиме насоса, так и в режиме гидромотора. Машина содержит ротор, включающий рабочую и опорную части, соединенные посредством силовых камер изменяемой длины таким образом, чтобы синхронно вращаться с возможностью взаимных осевых перемещений и наклонов, необходимых для обеспечения скользящего изолирующего контакта торцевых поверхностей рабочей и опорной частей ротора с поверхностями рабочей и опорной крышек корпуса соответственно. Шиберы расположены в шиберных камерах рабочей части ротора и при вращении ротора циклически изменяют степень своего выдвижения в кольцевой паз, выполненный на торцевой поверхности рабочей части ротора. Между опорной крышкой корпуса и опорной частью ротора выполнены опорные полости, гидравлически сообщающиеся через средства выравнивания локальных давлений с силовыми камерами изменяемой длины и полостями рабочей камеры в кольцевом пазу рабочей части ротора. Опорные полости и силовые камеры изменяемой длины выполнены таким образом, что силы давления рабочей жидкости, заключенной в указанных силовых камерах, существенно уравновешивают силы давления рабочей жидкости, отжимающие рабочую и опорную части ротора от рабочей и опорной крышек корпуса, обеспечивая поджим, необходимый для изоляции. Уменьшаются потери на трение и на кавитацию, а также повышается надежность роторных шиберных машин. 23 з.п. ф-лы, 34 ил.
Изобретение относится к машиностроению и может быть использовано в качестве роторной шиберной машины высокого давления с равномерной объемной подачей, которая способна работать как в режиме насоса, так и в режиме гидромотора с повышенной эффективностью и надежностью.
Уровень техники
Для достижения равномерной объемной подачи и высокой эффективности шиберный насос должен обладать постоянным сечением рабочей камеры в зоне переноса, низкими потерями на утечки и на трение, а также отсутствием кавитации. Указанные характеристики должны сохраняться во всем эксплуатационном диапазоне изменения производительности, давления нагнетания и частоты вращения ротора, а также должны мало зависеть от загрязнения рабочей жидкости и износа элементов насоса.
Расположение рабочей камеры с торцевой стороны ротора, как, например, в насосе US570584, обеспечивает искомое постоянство сечения рабочей камеры, хорошо сочетающееся в US2581160, RU2123602, US6547546 с регулированием производительности насоса.
Расположение рабочей камеры в кольцевом пазу в торце ротора насосов US1096804, US3348494, US894391, US2341710 обеспечивает радиальную разгрузку ротора и жесткую фиксацию шиберов в рабочей камере. Основные уплотнения между взаимно вращающимися частями в таком насосе переносятся на торцевые поверхности той части ротора, в которой выполнен кольцевой паз и которую в дальнейшем мы будем называть рабочей частью ротора, и на соответствующие торцевые поверхности крышки корпуса, прилегающей к указанному кольцевому пазу и которую мы в дальнейшем будем называть рабочей крышкой корпуса. Указанные уплотняющие торцевые поверхности ротора и корпуса могут выполняться плоскими. Поэтому технологические, тепловые и прочие зазоры между плоскими уплотняющими поверхностями легко выбираются поступательным встречным перемещением одной уплотняющей плоскости к другой за счет поджима рабочей части ротора к рабочей крышке корпуса.
Для обеспечения указанного уплотнения нужно преодолеть огромные силы давления рабочей жидкости, заключенной в рабочей камере между торцом ротора и рабочей крышкой корпуса в зонах нагнетания и переноса, стремящиеся деформировать рабочую часть ротора и рабочую крышку корпуса и отжать их друг от друга.
Использование в насосах, предназначенных для создания высокого давления в тракте нагнетания, механических средств прижима без гидростатического уравновешивания неэффективно вследствие гигантских потерь на трение.
В патенте ЕР0269474 описан гидростатический компонент (без конкретизации вариантов установки его в насос), в котором снижено влияние аксиальных деформаций ротора на качество уплотнений, а для взаимного поджима уплотняющих поверхностей ротора и корпуса используется давление рабочей жидкости. Ротор гидростатического компонента состоит из двух частей, называемых авторами “держателем пластин” и “опорным фланцем”. На торце держателя пластин, с обратной стороны от кольцевого паза, в силовых камерах, сообщающихся с рабочей камерой, установлены подвижные в осевом направлении поршневые элементы, которые упираются в опорный фланец. Таким образом, зазоры между держателем пластин и корпусом, называемым авторами “носителем дорожки”, выбираются осевым выдвижением указанных поршневых элементов из силовых камер держателя пластин. Силы давления рабочей жидкости, действующие на держатель пластин со стороны рабочей камеры, передаются через указанные силовые камеры и поршневые элементы на указанный опорный фланец. Однако с обратной стороны опорного фланца описанный гидростатический компонент не предусматривает средств гидростатического уравновешивания. Авторы указывают, что в соответствии с сущностью изобретения указанные силы давления жидкости компенсируются упругой деформацией указанного опорного фланца, избавляя от осевых деформаций держатель пластин, но ротор в целом остается гидравлически неуравновешенным.
В соответствии с указанной авторами ЕР0269474 сущностью изобретения, предусматривающей разгрузку уплотняющей пары трения держателя пластин с носителем дорожки и передачу усилий на статический контакт поршневого элемента с деформируемым опорным фланцем, указанный статический контакт герметизирует силовую камеру и связанную с ней шиберную камеру. При осевом выдвижении шибера из ротора жидкость поступает в шиберную камеру через каналы в самом шибере. При увеличении скорости вращения ротора и осевой скорости выдвижения шибера увеличивается падение давления на указанных шиберных каналах. Если насос работает в режиме самовсасывания, т.е. входное давление равно атмосферному, то при определенной скорости вращения ротора, которую мы будем называть предельной скоростью самовсасывания, возникает кавитация в шиберных камерах. Кавитация приводит, помимо роста шума и пульсаций, к существенным потерям полезной мощности и КПД насоса. Поэтому кавитационные эффекты рассматриваются нами здесь в одном ряду с потерями на трение в торцевых уплотнениях ротора и шиберов, как факторы диссипативных потерь, снижающих эффективность насоса. Повышенная склонность к кавитации и связанное с этим низкое значение предельной скорости самовсасывания является значительным недостатком указанного гидростатического компонента.
В патенте ЕР0265333 описан вариант гидростатического дифференциала с гидростатическим поворотным упором, установленным между задним торцом держателя лопастей и опорным фланцем, которые вращаются с разными скоростями. Указанный гидростатический поворотный упор представляет собой простой тонкий обод, жестко связанный при вращении с держателем лопастей и снабженный расположенными напротив опорного фланца камерами. Каждая из указанных камер гидравлически связана с расположенной напротив нее силовой камерой через калиброванное отверстие по принципу гидростатического подшипника, называемого авторами “масляной подушкой”. Благодаря этому силы давления передаются на опорный фланец, деформация которого меньше влияет на утечки, чем аналогичная деформация держателя лопастей. Деформации же указанного поворотного упора, как указано авторами, повторяют деформации опорного фланца. Это означает, что силы давления жидкости на поворотный упор со стороны держателя пластин превышают сумму сил давления жидкости со стороны фланца и сил упругости поворотного упора и вызывают увеличение деформации поворотного упора до тех пор, пока деформация поворотного упора не станет достаточной для прилегания к опорному фланцу. Действительно, принцип работы масляной подушки как гидростатического подшипника предусматривает, что давление в камерах поворотного упора зависит от соотношения падения давления на калиброванном отверстии и падения давления в зазорах между опорным фланцем и поворотным упором. Поэтому пока указанные зазоры велики, давление в камерах поворотного упора существенно меньше, чем в силовых камерах, и за счет разницы сил давления поворотный упор придвигается к опорному фланцу. По мере уменьшения зазоров давление в камере поворотного упора растет и уравнивается с давлением в силовой камере, с которой камера поворотного упора соединена калиброванным отверстием, только при полном отсутствии утечек из масляных подушек, т.е. при полном прилегании поворотного упора к опорному фланцу. Для достижения указанного прилегания необходимо соответственно деформации фланца деформировать поворотный упор, для чего, в свою очередь, необходимо обеспечить существенную гидростатическую неуравновешенность поворотного упора.
Указанная упругая деформация поворотного упора, необходимая для плотного прилегания к опорному фланцу, вызывает увеличение потерь на трение. Когда фланец деформирован силами давления жидкости, при прижиме упора к фланцу сначала возникает частичное взаимное касание деформированного фланца и недеформированного упора, а затем деформирование упора. При этом силы упругости упора, преодолеваемые для его деформации, вызывают в зонах частичного касания пропорциональные потери на трение между поворотным упором и опорным фланцем. Указанный упор отталкивается от фланца силами давления жидкости, непрерывно распределенными в изолирующих зазорах, а прижимается к фланцу со стороны силовых камер силами давления, распределенными дискретно, т.е. падающими до нуля в промежутках между силовыми камерами. Для обеспечения хорошей изоляции при таком способе поджима со стороны силовых камер указанный поворотный упор должен быть достаточно жестким. Поэтому при больших давлениях указанные силы упругости деформируемого упора велики и связанные с ними потери на трение значительны.
Для обеспечения малых утечек при нулевых или при малых, порядка единиц микрометров, зазорах гидравлическое сопротивление указанных калиброванных отверстий должно быть соизмеримо с сопротивлением таких микроскопических зазоров. Это не позволяет использовать обратный торец ротора для всасывания жидкости в шиберные камеры через полости в гидростатическом упоре и полости в корпусе. Это, в свою очередь, не позволяет избавиться от описанного выше недостатка подобных машин, заключающегося в повышенной склонности к кавитации.
Кроме того, такое использование для снижения сил трения гидростатического подшипника с калиброванными отверстиями снижает надежность гидромашин. Во-первых, при попадании в жидкость взвешенных частиц указанные микроскопические калиброванные отверстия могут засоряться, следствием чего будут многократно возросшие силы прижима упора и потери на трение и ускорение износа. Во-вторых, при возникновении на уплотняющих поверхностях локальных дефектов утечки из указанных камер поворотного упора растут, а давление в камерах поворотного упора падает. Увеличение прижима за счет увеличивающейся разности давлений в этом случае не приводит к уменьшению утечек и уравновешиванию, а вызывает лишь увеличение потерь на трение и ускорение износа уплотняющих поверхностей. Изменение объемного КПД за счет такой дополнительной утечки из камеры масляной подушки может быть несущественным, а рост потерь на трение – значительным.
Для гидравлического уравновешивания ротора гидростатического дифференциала, описанного в патентах ЕР0269474 и ЕР0265333, авторами предусмотрена возможность использования пары гидростатических компонентов описанного типа в двух вариантах.
В первом варианте два носителя дорожки устанавливаются по обе стороны от одного центрального держателя лопастей. При этом указанные силовые камеры выполняются в задней части носителя дорожки, который выполняет функцию подвижного уплотнения, закрепленного на корпусе. В этом случае образуется один цельный ротор с двумя рабочими камерами в двух кольцевых пазах на противолежащих торцах ротора, аналогичный тому, что был ранее более подробно описан в патенте US3348494.
Во втором варианте два держателя лопастей устанавливаются по обе стороны от одного центрального носителя дорожки. Опорные фланцы, на которые через силовые камеры опираются держатели пластин, жестко связаны друг с другом полым цилиндрическим телом, образуя единый жесткий элемент, называемый авторами патента ЕР0265333 “герметичный картер”.
В обоих вариантах двойной машины узел, образованный двумя носителями дорожки, мы в дальнейшем для краткости будем называть статорным узлом или корпусом, т.к. положение портов всасывания и нагнетания относительно него не изменяется при вращении ротора. Первый из описанных вариантов двойной симметричной машины мы в дальнейшем будем называть машиной с внутренним ротором или с силовым замыканием на корпус, а второй вариант – машиной с внутренним статором или с силовым замыканием на ротор.
В обоих упомянутых вариантах, если обе рабочие камеры выполнены зеркально симметричными относительно плоскости, перпендикулярной оси вращения ротора, то силы давления рабочей жидкости, действующие между ротором и корпусом в зоне нагнетания в одной рабочей камере, уравновешиваются во второй рабочей камере зеркально симметричными силами.
В зонах переноса аксиальное уравновешивание сил давления жидкости, действующих на ротор, зависит не только от симметрии рабочих камер и требует особого рассмотрения.
В зоне прямого переноса при вращении ротора в рабочей камере возникают и перемещаются замкнутые переносимые объемы, отделенные от зон всасывания и нагнетания скользящим изолирующим контактом шиберов с ограничителем прямого переноса, шиберов с шиберными камерами, изолирующих поверхностей ротора с соответствующими поверхностями корпуса, а также другими зазорами между ротором, шиберами и корпусом. Локальное давление в каждом из переносимых объемов при прочих определенных условиях зависит от соотношения утечек, втекающих в этот переносимый объем и вытекающих из него, которые, в свою очередь, определяются характером прилегания поверхностей всех скользящих контактов, изолирующих указанный переносимый объем, для разных углов поворота ротора при его вращении. Под характером прилегания поверхностей скользящего изолирующего контакта здесь и далее мы подразумеваем формы и гидравлические сопротивления зазоров между этими поверхностями как функции двух параметров: угла поворота ротора и угловой координаты точки контакта относительно выбранной точки корпуса. Индивидуальность характера прилегания каждой пары поверхностей в каждой машине обусловлена технологическими неточностями при изготовлении и локальными дефектами, возникающими на указанных поверхностях вследствие износа, которые приводят к разбросу в сопротивлениях изолирующих зазоров в разных участках корпуса и для разных углов поворота ротора. Разброс сопротивлений зазоров может приводить к значительному разбросу локальных давлений, возникающих в разных переносимых объемах. Аналогичные аргументы справедливы и для зоны обратного переноса.
В описанной выше двойной симметричной машине с внутренним статором какие-либо средства выравнивания локальных давлений в зонах переноса отсутствуют, и переносимые объемы в зонах переноса обеих симметричных рабочих камер не сообщаются друг с другом. В двойной симметричной машине с внутренним ротором US3348494 введены каналы в роторе, соединяющие симметричные шиберные камеры. Однако симметричные полости, образуемые в обоих кольцевых пазах в зонах переноса между шиберами, не сообщаются друг с другом. Поэтому в силу индивидуальности характера прилегания поверхностей изолирующих контактов, в каждой рабочей камере возникают разные локальные давления в зонах переноса, и уравновешенность ротора не достигается. Указанная переменная разница сил давления, действующих на ротор в двух симметричных камерах, порождает пропорциональные потери на трение в торцевых уплотнениях. Возникновение локальных дефектов на уплотняющих поверхностях шиберов, ротора или корпуса, например, вследствие износа приводит к увеличению разброса гидравлических сопротивлений, определяющих локальные давления в переносимых объемах. Даже при малом, несущественном для объемного КПД, изменении суммарных утечек это приводит к увеличению амплитуды указанной переменной разницы сил давления, увеличению трения со стороны меньшего локального давления, т.е. со стороны большего износа, и ускорению дальнейшего износа.
В насосе по патенту US3348494 осевое движение шиберов в роторе обеспечивается не пружинами, а специальным механизмом привода шиберов. Он состоит из кулачковой канавки, установленной на корпусе, по которой скользят боковые выступы шиберов, проходящие через специальные приводные окна в роторе. Специалисту понятно, что такой механизм привода шиберов должен быть гидравлически изолирован от рабочих камер.
Подобное исполнение механизма привода шиберов вне рабочей камеры снижает потери на трение шиберов о поверхности корпуса, но увеличивает зависимость локальных давлений от характера прилегания поверхностей скользящего изолирующего контакта шиберов со стенками шиберных камер, обеспечивающего гидравлическую изоляцию механизма привода шиберов. Изменение указанного характера прилегания вследствие износа приводит к росту утечек между полостями рабочей камеры и полостью, в которой установлен указанный механизм привода, что также приводит к разбросу локальных давлений.
В обоих вариантах двойных симметричных машин замещение жидкостью шибера, выдвигаемого в осевом направлении из шиберной камеры, происходит через каналы в самом шибере. Поэтому кавитационные потери остаются существенным недостатком таких конструкций.
Вариант насоса, предусматривающего гидравлические средства уравновешивания ротора и не подверженного кавитации в шиберных камерах, приведен в патенте RU2215903. В нем описана реверсивная роторная машина, содержащая два кольцевых паза, образующих рабочие камеры на обоих торцах ротора. Сквозные отверстия для шиберов проходят через оба кольцевых паза. На каждой из крышек корпуса установлены аксиально-подвижные ограничители прямого переноса, называемые авторами “регулировочные элементы” и ограничители обратного переноса, называемые авторами “разделительные перемычки”. Особенность реверсивной машины состоит во взаимной антисимметричности указанных двух рабочих камер, а именно в том, что напротив разделительной перемычки первой рабочей камеры установлен регулировочный элемент второй рабочей камеры, а напротив регулировочного элемента первой рабочей камеры установлена разделительная перемычка второй рабочей камеры. “Рабочие полости”, под которыми авторы подразумевают полости всасывания и нагнетания обеих камер, расположенные в осевом направлении друг напротив друга, соединены между собой каналами. Таким образом, полость всасывания первой рабочей камеры сообщается с расположенной напротив нее полостью нагнетания второй рабочей камеры, а полость нагнетания первой рабочей камеры сообщается соответственно с полостью всасывания второй рабочей камеры.
При выдвижении шибера из ротора в полость всасывания одной рабочей камеры жидкость из противолежащей полости нагнетания другой рабочей камеры заполняет освобождаемый им объем в шиберной камере через саму шиберную камеру большого сечения. Поэтому для данной конструкции не характерна склонность к кавитации в шиберных камерах.
При работе такой машины в одной из сообщающихся пар рабочих полостей устанавливается высокое давление, а во второй соответственно низкое. Возможность гидростатического уравновешивания ротора в зонах расположения полостей всасывания и нагнетания в такой машине очевидна.
В зонах же переноса в силу антисимметрии рабочих камер различаются средства изоляции и конфигурации переносимых объемов для противоположных торцов ротора. Между ротором и регулировочным элементом образуются замкнутые в кольцевом пазу переносимые объемы, изолируемые торцами шиберов, скользящими по регулировочному элементу. Между ротором и разделительной перемычкой, лежащей напротив указанного регулировочного элемента, образуются замкнутые переносимые объемы в шиберных камерах, изолируемые участками дна кольцевого паза, скользящими по указанной разделительной перемычке. Соотношение давлений между переносимыми объемами и распределение давлений в зазорах указанных скользящих изолирующих контактов зависят от формы и величины указанных зазоров, т.е. от характера прилегания поверхностей указанных скользящих изолирующих контактов участков дна паза с разделительной перемычкой и шиберов с регулировочным элементом. Неидентичность распределений давления на противоположных торцах ротора порождает переменные разностные силы, действующие на ротор в каждой из зон переноса даже при идеальной плоскости указанных контактирующих поверхностей.
Появление, например, вследствие износа локальных отклонений от плоской формы, царапин и других локальных дефектов на уплотняющих поверхностях регулировочных элементов, разделительных перемычек, дна паза и торцов шиберов изменяет характер прилегания поверхностей указанных скользящих изолирующих контактов и поэтому изменяет указанные распределения давлений и соотношения локальных давлений. Это, в свою очередь, даже при незначительном изменении суммарных утечек, приводит к значительному увеличению амплитуды указанных переменных разностных сил давления, увеличению трения и ускорению износа.
Обеспечение торцевых уплотнений между ротором и крышками корпуса для обоих торцов ротора только за счет точности изготовления, как, например в US3348494, нецелесообразно, так как изменения зазоров вследствие теплового расширения, деформаций и износа, как правило, превышают допустимые зазоры в уплотнениях, работающих при высоком давлении. Поэтому в конструкцию роторной машины должны быть включены также уплотнительные элементы, подвижные в осевом направлении, например в виде описанного в ЕР0269474 носителя дорожки с силовыми камерами на обратной от дорожки стороне. Их неуравновешенность также приводит к соответствующим потерям на трение. Подробнее такое подвижное уплотнение будет рассмотрено далее.
Средства, снижающие влияние характера прилегания поверхностей скользящих изолирующих контактов в рабочей камере на уравновешенность ротора, решение для преодоления описанной склонности подобных насосов к кавитации в шиберных камерах, а также подвижные в осевом направлении уплотнительные элементы описаны в RU 2175731, который принят нами за ближайший аналог.
Указанный патент описывает насос, корпус которого включает в себя рабочую и опорную крышки, названные в патенте “корпусными крышками”. В торце ротора, находящегося напротив рабочей крышки корпуса, выполнен кольцевой цилиндрический паз, который проходит через шиберные камеры, названные в патенте “отверстиями в роторе”, в которых размещены шиберы, названные в патенте “вытеснителями”. Поверхности торца ротора, в котором выполнен кольцевой цилиндрический паз, расположенные по разные стороны от этого паза, контактируют с возможностью скольжения с находящимися напротив них торцами уплотнительных элементов, установленных в пазах на рабочей крышке корпуса. Насос содержит ограничитель обратного переноса, названный в патенте “перегородкой”, отделяющий полость всасывания от полости нагнетания. Полость всасывания соединяется с входным портом, названным в патенте “впускным отверстием”, а полость нагнетания – с выходным портом, названным в патенте “выпускным отверстием”. Поверхности ограничителя обратного переноса находятся в скользящем контакте с роторными средствами изоляции обратного переноса, названными в патенте “внутренними поверхностями кольцевого цилиндрического паза”. Ограничитель обратного переноса закреплен на рабочей крышке корпуса и может составлять с ней единое целое, однако предусмотрено, что в некоторых вариантах исполнения насоса ограничитель обратного переноса может быть закреплен с возможностью движения в осевом направлении и взаимодействовать со средствами его прижима к ротору. Насос содержит механизм привода шиберов, названный в патенте “механизмом, задающим осевое взаиморасположение вытеснителей”. Ограничитель прямого переноса образован частью внутренней поверхности рабочей крышки. Для регулируемого варианта исполнения машины ограничитель прямого переноса назван в патенте “подвижным в осевом направлении изолирующим элементом”. Второй торец ротора контактирует с опорной крышкой корпуса. На опорной крышке корпуса насоса предусматривается возможность установки опорно-распределительного элемента, названного в изобретении “опорно-распределительным диском”. Опорно-распределительный элемент может быть установлен с возможностью движения вдоль оси ротора.
Указанный опорно-распределительный элемент содержит опорные полости, которые выполняют также распределительные функции и названы в патенте “опорно-распределительными полостями”. Опорно-распределительные полости расположены напротив полостей всасывания и нагнетания рабочей камеры, а их средства изоляции (изолирующие перемычки) – напротив зон переноса, обеспечивая изоляцию этих опорных полостей за счет скользящего контакта с прилегающей задней торцевой поверхностью ротора. Каждая опорно-распределительная полость соединена каналами, выполненными в корпусе или в роторе, в том числе в шиберах, с противолежащей ей зоной нагнетания или всасывания соответственно. Опорно-распределительные полости имеют размеры и форму, схожие с полостями нагнетания и всасывания в рабочей камере соответственно. Шиберные камеры в роторе выполнены в виде сквозных каналов, сообщающихся в зонах всасывания и нагнетания с указанными опорно-распределительными полостями.
Указанные сквозные каналы в шиберах или в роторе, одновременно сообщающиеся с полостью всасывания рабочей камеры, соединены в этом случае параллельно друг с другом и с каналом в корпусе посредством указанной опорно-распределительной полости. Таким образом, значительно уменьшается склонность насоса к кавитации и обеспечивается значительное повышение предельной скорости самовсасывания.
Введение опорно-распределительного элемента способствует и определенному гидравлическому уравновешиванию ротора. Возможность уравновешивания в зонах нагнетания и всасывания очевидна.
В зонах переноса подобие распределений давления на обоих торцах ротора, обусловленное наличием указанных сквозных каналов в роторе или в шиберах, позволяет снизить влияние разброса изолирующих зазоров в рабочей камере и связанных с ними локальных давлений на разность встречных сил давления, действующих на оба торца ротора. Однако полное уравновешивание ротора не достигается в силу разной конфигурации торцов ротора. Следствием неполного уравновешивания ротора является переменная разница сил давления, действующих на противоположные торцы ротора, порождающая пропорциональные потери на трение в торцевых уплотнениях.
Распределение давления с обратной стороны ротора в зонах переноса определяется характером прилегания поверхностей скользящего изолирующего контакта между изолирующими перемычками опорно-распределительного элемента и ротором. Поэтому изменение указанного характера прилегания за счет появления на уплотняющих поверхностях любых отклонений от плоской формы или царапин, например, вследствие износа приводит к значительному нарушению указанного подобия распределения давления. Это, в свою очередь, даже при незначительном изменении суммарных утечек приводит к значительному увеличению амплитуды указанной переменной разницы сил давления, увеличению трения и ускорению износа.
Рассмотрим другие составляющие потерь на трение в торцевых уплотнениях.
Во внутренней поверхности опорной корпусной крышки выполнен паз, в котором установлен с возможностью движения вдоль оси вращения ротора, как минимум, один уплотнительный элемент. Авторами указано, что таким элементом может быть опорно-распределительный элемент, называемый в патенте опорно-распределительным диском. Во внутренней поверхности рабочей корпусной крышки выполнены пазы, в которых установлены с возможностью движения вдоль оси вращения ротора два уплотнительных элемента.
Указанные уплотнительные элементы реализованы в виде полых цилиндров, которые размещены в кольцевых пазах на внутренних поверхностях корпусных крышек с возможностью движения вдоль оси вращения ротора. Для обеспечения необходимого поджима подвижных уплотнительных элементов к поверхности ротора указанные элементы опираются на специально выполненные силовые камеры внутри корпуса, в которых создается повышенное давление. В описываемой машине роль этих силовых камер выполняют указанные кольцевые пазы. Для создания в таких кольцевых силовых камерах повышенного давления в указанных полых цилиндрах выполнены сквозные каналы, соединяющие силовую кольцевую камеру с зоной утечек в зазоре торцевого уплотнения. Величина повышенного давления в кольцевой силовой камере определяется формой, размерами и расположением указанных каналов.
Указанный подвижный уплотнительный элемент, установленный на корпусе в одном цилиндрическом пазу с одинаковым давлением во всем объеме, подвержен значительному избыточному прижиму к ротору в зоне всасывания и, частично, в зонах переноса, что порождает избыточные потери на трение.
В патенте ЕР0269474 указано на возможность исполнения в корпусе нескольких изолированных друг от друга силовых камер. В этих камерах создается разное давление, поэтому подвижный уплотнительный элемент в виде носителя дорожки, опирающийся на эти камеры, может быть хорошо гидростатически уравновешен в зонах нагнетания и всасывания. В зонах же прямого и обратного переноса со стороны ротора на подвижный уплотнительный элемент действуют переменные силы, обусловленные двумя причинами. Во-первых, на краях зон переноса циклически меняются площади участков, сообщающихся с зонами нагнетания или всасывания. Во-вторых, в переносимых объемах рабочей жидкости в процессе их прямого или обратного переноса между зонами всасывания и нагнетания непрерывно меняется давление, а также непрерывно меняется их положение относительно корпуса. В результате в зонах переноса формируется сложное, непрерывно изменяющееся распределение давления, воздействующего со стороны ротора на подвижный уплотнительный элемент. Для создания симметричного, непрерывно изменяющегося, распределения давления между подвижным уплотнительным элементом и корпусом потребовалось бы разместить бесконечное количество изолированных друг от друга бесконечно малых силовых камер, каждая из которых сообщалась бы с соответствующей точкой в зоне переноса и была изолированной от соседней силовой камеры. Так как реально исполнимое число силовых камер в корпусе в зоне переноса ограничено, причем весьма малыми числами, полная компенсация переменных сил, действующих на подвижное уплотнение, не достигается. Это приводит к переменной силе прижима поверхностей скользящих изолирующих контактов ротора с указанными уплотнительными элементами корпуса.
Изменение характера прилегания поверхностей скользящего изолирующего контакта подвижного уплотнительного элемента с ротором за счет возникновения локальных дефектов на уплотняющих поверхностях, например, вследствие износа приводит к увеличению разброса гидравлических сопротивлений, определяющих локальные давления в переносимых объемах. Это, в свою очередь, даже при малом изменении суммарных утечек, приводит к увеличению амплитуды указанной переменной силы прижима, увеличению трения и ускорению дальнейшего износа.
Амплитуда этой переменной составляющей, достигающая значительных величин, определяет уровень потерь на трение, присущих вышеописанным насосам с подвижным уплотнением, закрепленным на корпусе.
Таким образом, во всех рассмотренных выше решениях по гидростатическому уравновешиванию ротора и подвижного уплотнения полное уравновешивание ротора и подвижного уплотнения не достигается. При неидеальном характере прилегания поверхностей скользящих изолирующих контактов, например при возникновении локальных дефектов уплотняющих поверхностей вследствие износа, возникают большие силы прижима в парах трения между уплотняющими элементами ротора и корпуса. Необходимость предусмотреть подобные большие силы прижима определяет относительно большую ширину скользящего изолирующего контакта уплотняющих поясков торцевых уплотнений между ротором и корпусом. Увеличение ширины торцевых уплотнений, в свою очередь, еще более увеличивает воздействие локальных дефектов уплотняющих поверхностей на дисбаланс сил давления.
Все описанные выше конструкции характеризуются повышенными диссипативными потерями, снижающими их КПД. Описанные средства для снижения трения путем гидравлического уравновешивания ротора и подвижного уплотнения не приводят к полному уравновешиванию и неустойчивы к изменению характера прилегания уплотняющих поверхностей скользящих изолирующих контактов вследствие возникновения на них локальных дефектов, а также к загрязнению рабочей жидкости. Даже несущественные с точки зрения влияния на объемный КПД изменения утечек могут вызывать значительное уменьшение механического и общего КПД.
Сущность изобретения
Задачей настоящего изобретения является повышение КПД и надежности роторных машин с шиберами в пазу путем создания средств гидростатического уравновешивания ротора и подвижного уплотнения, устойчивых к износу элементов машины и загрязнению рабочей жидкости, а также совместимых со средствами преодоления кавитации в шиберных камерах.
Для решения поставленной задачи роторная шиберная машина, включающая корпус с входным и выходным портами, опорной крышкой корпуса и рабочей крышкой корпуса, на которой выполнены ограничитель прямого переноса и ограничитель обратного переноса; ротор, включающий рабочую часть ротора, в которой выполнены шиберные камеры, и на рабочей торцевой поверхности которой выполнен кольцевой паз, соединяющийся с шиберными камерами, в которых расположены шиберы, кинематически связанные с установленным на корпусе механизмом привода шиберов; причем рабочая крышка корпуса, находящаяся в скользящем изолирующем контакте с рабочей торцевой поверхностью рабочей части ротора, формирует в кольцевом пазу рабочую камеру, которая разделена ограничителем обратного переноса, находящимся в скользящем изолирующем контакте с роторными средствами изоляции обратного переноса, и ограничителем прямого переноса, находящимся в скользящем изолирующем контакте с шиберами, на полость всасывания рабочей камеры, гидравлически связанную с входным портом, и полость нагнетания рабочей камеры, гидравлически связанную с выходным портом, а ограничитель прямого переноса и механизм привода шиберов выполнены с возможностью отделения шиберами по меньшей мере одной междушиберной полости рабочей камеры от полостей всасывания и нагнетания, выполнена таким образом, что ротор включает опорную часть ротора, которая находится в скользящем изолирующем контакте с опорной крышкой корпуса и кинематически связана с рабочей частью ротора совокупностью роторных элементов, включающих силовые камеры изменяемой длины, так, чтобы вращаться синхронно с рабочей частью ротора с возможностью совершать относительно нее осевые перемещения и наклоны, по меньшей мере, достаточные для обеспечения скользящего изолирующего контакта обеих указанных частей ротора с соответствующими крышками корпуса, причем изменение длины указанных силовых камер приводит к указанным взаимным движениям рабочей и опорной частей ротора, а между опорной крышкой корпуса и опорной частью ротора выполнены опорные полости, снабженные средствами изоляции, причем каждая из указанных полостей рабочей камеры гидравлически сообщается, по меньшей мере, с одной силовой камерой изменяемой длины и, по меньшей мере, с одной опорной полостью через средства выравнивания локальных давлений.
В предлагаемом изобретении предусмотрено большое количество вариантов исполнения роторной шиберной машины, пригодной к использованию в качестве насоса или гидромотора, как реверсивных, так и с постоянным направлением вращения, а также в качестве насосно-моторного звена гидромеханической трансмиссии. В одних вариантах исполнения изобретения корпус закреплен на шасси агрегата, а ротор вращается относительно корпуса и шасси агрегата. В других вариантах реализации настоящего изобретения ротор может быть закреплен на шасси агрегата, а корпус вращаться относительно него. Возможно также такое исполнение, при котором и ротор, и корпус вращаются относительно шасси агрегата, например, если роторная машина является звеном гидромеханической трансмиссии. В дальнейшем мы будем рассматривать относительное вращение ротора и корпуса независимо от способа установки роторной машины в агрегате. В любом случае ротором будет называться узел, в торцевом элементе которого выполнен кольцевой паз, и в котором размещены шиберы, совершающие циклические движения относительно ротора при каждом обороте ротора, изменяя степень своего выдвижения в кольцевой паз. Корпусом будет называться узел, по отношению к которому расположение входного и выходного порта не меняется при взаимном вращении ротора и корпуса.
Изобретение предполагает два основных типа исполнения роторных шиберных машин: с силовым замыканием на корпус и с силовым замыканием на ротор.
В исполнениях с силовым замыканием на ротор корпус включает гидростатические средства предотвращения деформаций изолирующих поверхностей крышек корпуса, выполненные в виде операционного узла корпуса, объединяющего рабочую и опорную крышки корпуса и расположенного между рабочей и опорной частями ротора. Растягивающие силы давления жидкости в таких машинах приложены к ротору. Рабочая и опорная части ротора могут быть связаны непосредственно силовыми камерами изменяемой длины. В предпочтительном исполнении ротор включает связующий элемент ротора, причем, по меньшей мере, одна из указанных частей ротора выполнена с возможностью осевых перемещений и наклонов относительно указанного связующего элемента, а силовые камеры изменяемой длины расположены между указанной частью ротора и указанным связующим элементом и кинематически связывают указанную часть ротора с указанным связующим элементом.
В исполнениях с силовым замыканием на корпус ротор заключен между рабочей и опорной торцевыми крышками корпуса, связанными связующим элементом корпуса, а растягивающие силы давления жидкости в таких машинах приложены к корпусу. Для работы с большими давлениями изобретение предусматривает, что корпус включает гидростатические средства предотвращения деформаций изолирующих поверхностей крышек корпуса, которые включают: находящийся в скользящем изолирующем контакте с соответствующей частью ротора функциональный элемент, по меньшей мере, одной из крышек корпуса, силовой элемент указанной крышки корпуса и, по меньшей мере, одну антидеформационную камеру, расположенную между функциональным и силовым элементами, гидравлически связанную с рабочей камерой, и выполненную так, что силы давления рабочей жидкости, действующие на функциональный элемент указанной крышки корпуса со стороны антидеформационной камеры и со стороны ротора, существенно уравнивали друг друга.
Изобретение предусматривает два типа исполнения средств выравнивания локальных давлений. В первом средства выравнивания локальных давлений сформированы совокупностью гидравлических трактов в роторе, обеспечивающих соединение указанных полостей, например каналов в опорной части ротора, соединяющих силовые камеры изменяемой длины и опорные полости, а также шиберных камер и каналов в шиберах, соединяющих силовые камеры изменяемой длины и указанные полости рабочей камеры. В исполнениях второго типа средства выравнивания локальных давлений сформированы совокупностью гидравлических трактов в роторе и совокупностью гидравлических трактов в корпусе, причем каждый из указанных трактов в роторе сообщается, по меньшей мере, с одним из указанных трактов в корпусе при любом угле поворота ротора, обеспечивая указанное соединение указанных полостей. Такая совокупность гидравлических трактов в корпусе включает, например, каналы в корпусе, соединяющие опорные полости с кольцевым пазом в рабочей части ротора.
Для повышения надежности роторной шиберной машины гидравлическое сопротивление каждого из указанных трактов выбрано таким, чтобы падение давления в нем было существенно меньше номинального рабочего давления машины при утечках через указанный тракт, существенно меньших, чем максимально допустимые утечки из рабочей камеры, преимущественно указанное падение давление менее 1% от номинального рабочего давления.
Указанные силовые камеры изменяемой длины могут исполняться различными способами, например с применением сильфонов или эластичных боковых стенок. В предпочтительном исполнении силовые камеры изменяемой длины сформированы вмещающими элементами и вложенными элементам, выполненными с возможностью взаимных движений, причем внешние стенки вложенных элементов находятся в скользящем изолирующем контакте с внутренними стенками вмещающих элементов, обеспечивая уплотнение силовых камер изменяемой длины при указанных взаимных осевых перемещениях и наклонах указанных частей ротора.
Формы, размеры и расположения опорных полостей и средств изоляции выбраны таким образом, что силы давления рабочей жидкости, отжимающие рабочую часть ротора от рабочей крышки корпуса, существенно равны и противоположны по направлению силам давления рабочей жидкости, отжимающим опорную часть ротора от опорной крышки корпуса. Формы, размеры и расположение силовых камер изменяемой длины выбраны так, чтобы при любом угле поворота ротора превышение сил давления рабочей жидкости, замкнутой в силовых камерах изменяемой длины, действующих на указанные части ротора, над силами давления рабочей жидкости, отжимающими указанные части ротора от соответствующих крышек корпуса было, по меньшей мере, достаточным для обеспечения поджима, необходимого для изоляции.
Указанный гидростатический поджим частей ротора к крышкам корпуса обеспечивает изоляцию при наличии давления нагнетания. Для обеспечения изоляции также и в отсутствие давления нагнетания указанная совокупность роторных элементов включает упругие элементы, например, в виде пружин в силовых камерах изменяемой длины, обеспечивающие необходимый для изоляции поджим указанных частей ротора к соответствующим крышкам корпуса при отсутствии давления, причем формы, размеры и расположение силовых камер изменяемой длины выбраны так, чтобы при любом угле поворота ротора превышение суммы сил упругости упругих элементов и сил давления рабочей жидкости, замкнутой в силовых камерах изменяемой длины, действующих на указанные части ротора, над суммой сил давления рабочей жидкости, отжимающих указанные части ротора от соответствующих крышек корпуса, и сил трения в указанной совокупности роторных элементов было, по меньшей мере, достаточным для обеспечения поджима, необходимого для изоляции.
Силовые камеры изменяемой длины выполнены таким образом, что при любом угле поворота ротора силы давления рабочей жидкости, заключенной в силовых камерах изменяемой длины, существенно уравновешивают указанные силы давления рабочей жидкости, отжимающие, то есть отталкивающие, указанные части ротора от соответствующих крышек корпуса, обеспечивая лишь небольшой, необходимый для изоляции, поджим. В предпочтительном исполнении указанный поджим обеспечивается тем, что формы и размеры силовых камер изменяемой длины выбраны так, чтобы превышение суммы поперечного сечения всех силовых камер изменяемой длины над площадью проекции кольцевого паза на плоскость, перпендикулярную оси вращения рабочей части ротора, было не менее 50% от площади скользящего изолирующего контакта рабочей части ротора с рабочей крышкой корпуса.
В предпочтительном исполнении опорные полости расположены напротив кольцевого паза, а средства изоляции опорных полостей включают периферийные торцевые уплотнения и изолирующие перемычки между опорными полостями, причем сумма площадей опорных полостей и изолирующих перемычек равна площади дна кольцевого паза, а площади скользящего изолирующего контакта периферийных торцевых уплотнений с изолирующими поверхностями опорной крышки корпуса равны соответствующим площадям скользящих изолирующих контактов рабочей части ротора с рабочей крышкой корпуса.
Изобретение предусматривает два типа исполнений роторных средств изоляции обратного переноса. В исполнениях первого типа указанные средства включают шиберы, находящиеся в скользящем изолирующем контакте с поверхностью ограничителя обратного переноса. В исполнениях второго типа роторные средства изоляции обратного переноса включают части поверхности дна кольцевого паза между шиберами. Для улучшения вышеуказанного уравнивания сил, отжимающих рабочую и опорную части ротора от соответствующих крышек корпуса, на этих частях дна выполнены донные разгрузочные полости и донные уплотнительные выступы. Донные разгрузочные полости отделяются, по меньшей мере, от одной из двух соседних шиберных камер донными уплотнительными выступами, находящимися в скользящем изолирующем контакте с ограничителем обратного переноса. При этом изолирующие перемычки между опорными полостями расположены напротив донных уплотнительных выступов, а площади скользящих поверхностей изолирующих перемычек равны площадям скользящих поверхностей донных уплотняющих выступов.
Для снижения склонности к кавитации роторных шиберных машин с силовым замыканием на корпус изобретение предусматривает исполнение, в котором опорные полости выполнены в опорной части ротора, а средства выравнивания локальных давлений включают каналы в опорной части ротора, соединяющие опорные полости с силовыми камерами изменяемой длины, соединенные с шиберными камерами, причем опорная крышка корпуса содержит, по меньшей мере, одну распределительную полость всасывания, гидравлически связанную с входным портом и расположенную напротив полости всасывания рабочей камеры так, чтобы сообщаться с опорными полостями опорной части ротора. Для уменьшения гидравлических потерь при нагнетании опорная крышка корпуса содержит, по меньшей мере, одну распределительную полость нагнетания, гидравлически связанную с выходным портом и расположенную напротив полости нагнетания рабочей камеры так, чтобы сообщаться с опорными полостями опорной части ротора.
Изобретение предусматривает исполнения с более чем одной рабочей камерой. В исполнении с дополнительной рабочей камерой, формируемой опорной крышкой корпуса в пазу в опорной части ротора, поверхность опорной крышки корпуса, находящаяся в скользящем контакте с опорной частью ротора, содержит ограничители прямого и обратного переноса опорной крышки корпуса, расположенные напротив ограничителей прямого и обратного переноса рабочей крышки корпуса, а торец опорной части ротора, находящийся в скользящем контакте с опорной крышкой корпуса, содержит кольцевой паз, соединяющийся с шиберными камерами опорной части ротора. При этом средства изоляции опорных полостей включают шиберы, расположенные в шиберных камерах и кинематически связанные с механизмом привода шиберов так, чтобы шиберы находились в скользящем изолирующем контакте с указанным ограничителем прямого переноса опорной крышки корпуса. Кроме того, средства изоляции опорных полостей либо включают части поверхности дна кольцевого паза опорной части ротора, находящиеся в скользящем изолирующем контакте с указанным ограничителем обратного переноса опорной крышки корпуса, либо включают шиберы, расположенные в шиберных камерах опорной части ротора и кинематически связанные с механизмом привода шиберов так, чтобы указанные шиберы были в скользящем контакте с указанным ограничителем обратного переноса опорной крышки корпуса.
Перечень чертежей
Сущность предлагаемого изобретения поясняется чертежами, на которых представлены:
Фиг.1 – роторная шиберная машина с адаптивным ротором и силовым замыканием на корпус – вырез четверти ротора – вид со стороны рабочей части ротора, (рабочая крышка корпуса, механизм привода шиберов и связующий элемент корпуса не показаны);
Фиг.2 – роторная шиберная машина с адаптивным ротором и силовым замыканием на корпус – вырез четверти ротора – вид со стороны опорной части ротора, (опорная крышка корпуса, механизм привода шиберов и связующий элемент корпуса не показаны);
Фиг.3 – роторная шиберная машина с адаптивным ротором и силовым замыканием на корпус, крышки которого соединены посредством связующего элемента, расположенного снаружи ротора (корпус в форме полого цилиндра) – осевое сечение плоскостью, проходящей через ограничители прямого и обратного переноса;
Фиг.4 – роторная шиберная машина с адаптивным ротором и силовым замыканием на корпус, крышки которого соединены посредством связующего элемента, расположенного снаружи ротора (корпус в форме полого цилиндра) – осевое сечение плоскостью, проходящей через входной и выходной порты;
Фиг.5 – роторная шиберная машина с адаптивным ротором и силовым замыканием на корпус, крышки которого соединены посредством связующего элемента, расположенного внутри ротора (корпус в форме “катушки”) – осевое сечение плоскостью, проходящей через входной и выходной порты;
Фиг.6 – роторная шиберная машина с адаптивным ротором, силовым замыканием на ротор и опорной частью ротора, объединенной со связующим элементом ротора, выполненным в форме “катушки” – осевое сечение плоскостью, проходящей через входной и выходной порты;
Фиг.7 – роторная шиберная машина с адаптивным ротором, силовым замыканием на ротор, рабочей частью ротора, объединенной со связующим элементом ротора, выполненным в форме “катушки”, с двумя рабочими камерами в обеих частях ротора и двумя комплектами шиберов – осевое сечение плоскостью, проходящей через ограничители прямого и обратного переноса;
Фиг.8 – роторная шиберная машина с адаптивным ротором, силовым замыканием на ротор и со связующим элементом ротора, выполненным в форме “катушки” – осевое сечение плоскостью, проходящей через ограничители прямого и обратного переноса;
Фиг.9 – роторная шиберная машина с адаптивным ротором, силовым замыканием на ротор и со связующим элементом ротора, выполненным в форме “катушки” – осевое сечение плоскостью, проходящей через входной и выходной порты.
Фиг.10 – роторная шиберная машина с адаптивным ротором, силовым замыканием на ротор, поворотным характером движения шиберов и рабочей частью ротора, объединенной со связующим элементом ротора, выполненным в форме “катушки” – осевое сечение плоскостью, проходящей через ограничители прямого и обратного переноса и сечение плоскостью, перпендикулярной оси вращения ротора и проходящей через кольцевой паз;
Фиг.11 – роторная шиберная машина с адаптивным ротором, силовым замыканием на ротор и рабочей частью ротора, объединенной со связующим элементом ротора, выполненным в форме полого цилиндра – осевое сечение плоскостью, проходящей через входной и выходной порты;
Фиг.12 – роторная шиберная машина с адаптивным ротором, силовым замыканием на ротор без связующего элемента ротора и соединением рабочей и опорной частей ротора силовыми камерами изменяемой длины, работающими на притяжение частей ротора друг к другу – осевое сечение плоскостью, проходящей через входной и выходной порты;
Фиг.13 – роторная шиберная машина с адаптивным ротором и силовым замыканием на корпус, радиальным движением шиберов и силовыми камерами изменяемой длины, сообщающимися непосредственно с кольцевым пазом и непосредственно с опорными полостями – фрагмент осевого сечения плоскостью, проходящей через входной и выходной порты; сечение плоскостью, перпендикулярной оси вращения ротора и проходящей через кольцевой паз; осевое сечение плоскостью, проходящей через ограничители прямого и обратного переноса; фрагменты опорной и рабочей частей ротора;
Фиг.14 – вариант исполнения силовой камеры изменяемой длины: одна силовая полость и один вложенный элемент в виде поршня со сферическим торцом;
Фиг.15 – вариант исполнения силовой камеры изменяемой длины: один силовой выступ и один вмещающий элемент в виде цилиндра со сферическим торцом и сквозным каналом, опирающийся на опорную часть ротора, содержащую опорную полость и сквозной канал;
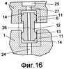
Фиг.16 – вариант исполнения силовой камеры изменяемой длины: две силовые полости и один трубчатый соединитель;
Фиг.17 – вариант исполнения силовой камеры изменяемой длины: два силовых выступа и один трубчатый соединитель;
Фиг.18 – вариант исполнения силовой камеры изменяемой длины: вмещающий элемент в опорной части ротора, силовой выступ в рабочей части ротора и соединитель, состоящий из вмещающего элемента и вложенного элемента;
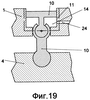
Фиг.19 – вариант исполнения силовой камеры изменяемой длины, работающей на притяжение частей ротора друг к другу;
Фиг.20 – вариант исполнения силовой камеры изменяемой длины: один вмещающий элемент выполнен в рабочей части ротора, второй вмещающий элемент, содержащий опорную полость и сквозной канал, плоско скользит по опорной части ротора, соединитель в виде цилиндра со сферическим торцом и сквозным каналом, опирается на второй вмещающий элемент;
Фиг.21 – зона прямого переноса – фрагмент круговой развертки кольцевого паза;
Фиг.22 – зона обратного переноса – фрагмент круговой развертки кольцевого паза;
Фиг.23 – вариант исполнения средств выравнивания локальных давлений: кольцевой паз – канал в рабочей части ротора – шиберная камера – канал в силовой камере – канал в опорной части ротора – опорная полость;
Фиг.24 – вариант исполнения средств выравнивания локальных давлений: кольцевой паз – канал в шибере – шиберная камера – канал в силовой камере – канал в опорной части ротора – опорная полость;
Фиг.25 – вариант исполнения средств выравнивания локальных давлений: силовая камера – шиберная камера – канал в шибере – кольцевой паз – канал в операционном узле корпуса – опорная полость в операционном узле корпуса;
Фиг.26 – вариант исполнения средств выравнивания локальных давлений: шиберная камера – канал в шибере – кольцевой паз – канал в операционном узле корпуса – опорная полость в опорной части ротора – канал в опорной части ротора – силовая камера изменяемой длины;
Фиг.27 – фрагмент средств выравнивания локальных давлений: опорные полости в виде поперечных щелей в корпусе, сообщающихся с каналами в виде продольных дуговых щелей в опорной части ротора;
Фиг.28 – вариант исполнения средств выравнивания локальных давлений: силовая камера изменяемой длины – кольцевой паз – канал в операционном узле – опорная полость в операционном узле корпуса;
Фиг.29 – вариант исполнения гидроподжима шиберов: шиберная камера, соединяемая с обеими соседними междушиберными полостями посредством каналов с клапанами;
Фиг.30 – вариант исполнения донных разгрузочных полостей и донных уплотняющих выступов: донная полость, отделяемая двумя донными выступами от обеих соседних шиберных камер и сообщающаяся каналом с силовой камерой изменяемой длины – фрагмент круговой развертки кольцевого паза;
Фиг.31 – вариант исполнения опорных полостей: опорные полости в роторе сообщаются с каналами в роторе – фрагмент круговой развертки кольцевого паза;
Фиг.32 – вариант исполнения опорных полостей: опорные полости в роторе сообщаются с каналами в корпусе – фрагмент круговой развертки кольцевого паза;
Фиг.33 – роторная шиберная машина с адаптивным ротором и силовым замыканием на корпус – переносимый объем в зонах всасывания, прямого переноса, нагнетания и обратного переноса – круговая развертка кольцевого паза;
Фиг.34 – крышки корпуса, содержащие антидеформационные камеры, выполненные между функциональными элементами и силовыми элементами крышек;
Ниже описаны предпочтительные варианты исполнения существенных элементов роторной машины, и подробно описано устройство и функционирование предпочтительного варианта исполнения машины в качестве насоса широкого применения.
Изображенная на фиг.1 и фиг.2 роторная шиберная машина содержит адаптивный ротор, включающий две части: рабочую 1 с шиберными камерами, в рабочем торце которой выполнен торцевой кольцевой паз 2, формирующий рабочую камеру, и находящуюся в скользящем контакте с изолирующими поверхностями рабочей крышки 3 корпуса фиг.3, фиг.4, и опорную часть 4, опорный торец которой находится в скользящем контакте с изолирующими поверхностями опорной крышки 5 корпуса. Эти две части ротора соединяются между собой совокупностью роторных элементов таким образом, чтобы вращаться синхронно, но иметь при этом возможность совершать друг относительно друга небольшие осевые перемещения и наклоны для сохранения скользящего изолирующего контакта с обеими крышками корпуса при вращении ротора. Указанная совокупность роторных элементов включает известные из уровня техники средства синхронизации вращения, выполненные, например, в виде шарнира равных угловых скоростей, а также включает силовые камеры изменяемой длины 6 (фиг.14-19), выполненные таким образом, чтобы силы давления на рабочую часть 1 ротора со стороны рабочей камеры в кольцевом пазу 2 и со стороны силовых камер 6 менялись синхронно в зонах переноса. Для этого число силовых камер 6 выбирается равным или кратным числу шиберных камер 7, а каждая силовая камера изменяемой длины 6 гидравлически сообщается с кольцевым пазом 2 рабочей части 1 ротора таким образом, что каждая полость, образующаяся при вращении ротора в кольцевом пазу 2 рабочей части 1 ротора в зоне прямого переноса между двумя соседними шиберами 8 и характеризующаяся своим индивидуальным характером изменения локального давления, оказывается гидравлически сообщенной со своей силовой камерой изменяемой длины 6 так, что локальные давления в указанной полости и в сообщающейся с ней силовой камере 6 существенно равны. В предпочтительном варианте изобретения каждая силовая камера изменяемой длины сообщается с ближайшей полостью в кольцевом пазу.
Силовые камеры изменяемой длины исполняются таким образом, чтобы изменение их длины приводило к указанным, необходимым для изоляции, взаимным движениям рабочей и опорной частей ротора. В соответствии с сущностью изобретения силы давления рабочей жидкости в указанных силовых камерах, прилагаемые к рабочей и опорной частям ротора, не зависят при данном давлении от изменения длины силовой камеры.
Указанные силовые камеры изменяемой длины могут исполняться различными способами, например, с применением сильфонов или эластичных боковых стенок. В предпочтительном варианте изобретения силовая камера изменяемой длины образована вмещающими элементами и вложенными элементами, установленными с возможностью взаимного перемещения, причем внешние стенки вложенных элементов находятся в скользящем изолирующем контакте с внутренними стенками вмещающих элементов таким образом, что герметизируют силовую камеру при упомянутых, необходимых для изоляции, взаимных движениях рабочей и опорной части ротора.
Вложенный и вмещающий элементы могут исполняться в виде элементов, отдельных от частей ротора, но кинематически связанных с ними. Предпочтительные варианты изобретения предусматривают, что указанные вмещающие или вложенные элементы выполняются непосредственно на частях ротора. В первом варианте вмещающий элемент может исполняться как силовая полость 14 (фиг.14), наподобие цилиндра, в рабочей 1 или в опорной 4 частях ротора, а если ротор содержит связующий элемент, как, например, описано ниже для машин с силовым замыканием на ротор, то указанные силовые полости 14 могут выполняться в связующем элементе ротора. Во втором варианте вложенный элемент 10 (фиг.15) может исполняться как силовой выступ, наподобие поршня, на рабочей 1 или опорной 4 частях ротора, а также на связующем элементе ротора.
Если амплитуды указанных взаимных движений рабочей и опорной частей ротора невелики, силовая камера 6 может выполняться из одной пары вмещающего 11 и вложенного элемента 10, например в виде гидроцилиндра (фиг.14, фиг.15).
Если предполагаются большие амплитуды указанных взаимных движений частей ротора, особенно взаимных наклонов, настоящее изобретение предусматривает исполнение силовой камеры изменяемой длины из двух пар вмещающих и вложенных элементов, например, когда силовая камера изменяемой длины образована двумя вмещающими элементами 11 (фиг.16), установленными с возможностью взаимного перемещения, и одним вложенным элементом в виде соединителя 12, внешние стенки которого находятся в скользящем изолирующем контакте с внутренними стенками обоих вмещающих элементов.
На фиг.20 один вмещающий элемент 11 выполнен как цилиндрическая полость в рабочей части 1 ротора, а второй вмещающий элемент 11, имеющий внутреннюю сферическую изолирующую поверхность и внешнюю плоскую изолирующую поверхность, установлен своей плоской поверхностью с возможностью скольжения на плоской поверхности опорной части 4 ротора. Вложенный элемент в виде соединителя 12 имеет внешние цилиндрическую и сферическую изолирующие поверхности, находящиеся в скользящем изолирующем контакте соответственно с внутренними цилиндрической и сферической поверхностями вмещающих элементов.
В других вариантах силовая камера 6 образована двумя вложенными элементами 10 (фиг.17), установленными с возможностью взаимного перемещения, и одним вмещающим элементом в виде соединителя 12, внутренние стенки которого находятся в скользящем изолирующем контакте с внешними стенками обоих вложенных элементов, или же силовая камера образована первым вмещающим элементом 11 (фиг.18) и первым вложенным элементом 10, установленными с возможностью взаимного перемещения, и вторым вмещающим элементом, объединенным с первым вложенным элементом в один соединитель 12, внешние стенки которого находятся в скользящем изолирующем контакте с внутренними стенками первого вмещающего элемента, а внутренние стенки находятся в скользящем изолирующем контакте с внешними стенками второго вложенного элемента.
Указанная герметизация скользящего контакта при осевых перемещениях и наклонах может быть исполнена в соответствии с существующим уровнем техники, например, с использованием уплотнительных поясков сферической формы 13 (фиг.14, фиг.15, фиг.16, фиг.17, фиг.18) на внешней поверхности вложенных элементов.
В предпочтительном варианте изобретения предусматривается, что силовые камеры изменяемой длины выполнены таким образом, что взаимное движение указанных вмещающих и вложенных элементов силовой камеры при изменении ее длины осуществляется в направлении, существенно параллельном оси вращения ротора. Предусматривается такое исполнение силовых камер, что силы давления рабочей жидкости, заключенной в силовой камере, стремятся увеличить суммарную длину между концами ее элементов, например, вытесняя вложенный элемент из вмещающего элемента или раздвигая пару элементов, связанных скользящим контактом с соединителем, и тем самым приблизить рабочую и опорную части ротора к соответствующим крышкам корпуса. Для описанных ниже исполнений машин с силовым замыканием на ротор изобретение предусматривает также такое исполнение силовых камер изменяемой длины, что силы давления рабочей жидкости, заключенной в силовой камере, стремятся уменьшить суммарную длину между концами ее элементов, например, вдвигая вложенный элемент 10 внутрь вмещающего элемента 11 (фиг.19), и тем самым приблизить рабочую и опорную части ротора друг к другу и к соответствующим крышкам корпуса, объединенным в операционный узел корпуса, расположенный между рабочей и опорной частями ротора.
При необходимости силовые камеры могут быть выполнены таким образом, чтобы указанное взаимное движение элементов, составляющих эти камеры, осуществлялось в направлении, существенно непараллельном оси вращения ротора. В таком случае предусматривается, что упомянутая совокупность роторных элементов, обеспечивающая кинематическую связь рабочей и опорной частей ротора, включает средства преобразования направления усилий для передачи движения элементов силовых камер на рабочую и опорную части ротора. Указанные средства преобразования направления усилий могут включать рычажные, кулачковые, или иные, известные из уровня техники элементы, применяемые в аналогичных целях.
На фиг.1, фиг.2, фиг.16 показаны силовые камеры 6, включающие силовые полости 14 в опорной и рабочей частях ротора, соединяющиеся с шиберными камерами 7, и трубчатые соединители 12 с уплотнительными поясками 13, установленные своими концами в указанных силовых полостях таким образом, что герметизируют силовые камеры при взаимных осевых перемещениях и наклонах рабочей и опорной части ротора.
Согласно изобретению силовые камеры изменяемой длины снабжены упругими элементами, например пружинами 59 фиг.14, фиг.15, фиг.20, для обеспечения уплотняющего поджима частей ротора к крышкам корпуса при нулевом или низком давлении нагнетания.
В общем случае, междушиберные полости рабочей камеры, образуемые в зоне переноса в кольцевом пазу 2, могут не сообщаться с полостями, образуемыми в зоне переноса в шиберных камерах 7 и внутри шиберов 8. В этом случае давление в этих полостях будет меняться по-разному и для полного уравновешивания потребуется каждой такой полости сопоставить соответствующую силовую камеру изменяемой длины 6. Их число при этом будет кратно числу шиберных камер. Однако для обеспечения самоуплотнения торцевых поверхностей шиберов 8, скользящих по ограничителю прямого переноса 15 (фиг.21), удобно соединять полость, расположенную в шиберной камере 7 со стороны торца шибера, обратного уплотняющему, с той полостью в кольцевом пазу 2 между указанным шибером и соседним, жидкость из которой указанный шибер вытесняет в полость нагнетания. В случае гидромотора, наоборот, жидкость выталкивает шибер. Поэтому в общем случае для обеспечения гидростатического поджима шибера 8 к поверхности ограничителя прямого переноса 15 соединение указанной полости в шиберной камере 7 следует производить с той из двух полостей в кольцевом пазу между указанным и соседними шиберами, давление в которой больше. В этом случае на противолежащий торец шибера будет действовать сила, большая чем на уплотняющий торец, и шибер 8 будет прижиматься к ограничителю прямого переноса 15 с силой, пропорциональной перепаду давления между входом и выходом. Для того чтобы избежать повышенных потерь на трение между поверхностью шибера 8 и ограничителем прямого переноса 15, на указанной поверхности шибера выполняются шиберная разгрузочная полость 16, гидравлически сообщающаяся с полостью в шиберной камере, примыкающей к противолежащей поверхности шибера, а также шиберный уплотняющий выступ 17. Форма и площадь шиберной разгрузочной полости и шиберного уплотняющего выступа определяются путем оптимизации соотношения между величиной утечек в зазоре скользящего изолирующего контакта поверхности шибера с ограничителем переноса и величиной потерь на трение торца шибера по ограничителю прямого переноса.
В одном из предпочтительных вариантов изобретения (фиг.1) предусматривается, что аксиально-подвижный шибер 8 содержит сквозной канал 18, соединяющий указанную полость в шиберной камере с шиберной разгрузочной полостью 16 на поверхности шибера, скользящей по ограничителю прямого переноса, а шиберный уплотняющий выступ 17 выполнен таким образом, что указанная шиберная разгрузочная полость 16 сообщается с вышеописанной междушиберной полостью. В другом варианте изобретения предусматривается исполнение каналов 19 (фиг.23) в рабочей части ротора, соединяющих упомянутые полости в шиберных камерах с соответствующими междушиберными полостями в кольцевом пазу 2.
При таком соединении полостей число изолированных переносимых объемов равно числу шиберных камер рабочей части ротора. Соответственно и число силовых камер может быть таким же.
Если машина выполнена обратимой, т.е. предназначенной для использования в качестве насоса или мотора, а также, если машина выполнена реверсивной, т.е. способной менять направление подачи рабочей жидкости без изменения направления вращения ротора, расположение полостей повышенного давления относительно выбранной шиберной камеры в зоне прямого переноса изменяется при изменении режима работы машины. В этом случае для обеспечения описанного гидроподжима шиберов предусматривается использование в каналах указанного гидравлического соединения шиберных камер с кольцевым пазом 2 клапанных элементов 69 таким образом, что шиберная камера соединяется с той из двух полостей в кольцевом пазу между указанным и соседними шиберами, давление в которой больше (фиг.29). В таком варианте целесообразно выполнять одни силовые камеры изменяемой длины, сообщающиеся каналами непосредственно с полостями в кольцевом пазу между шиберами, и другие силовые камеры изменяемой длины, сообщающиеся с шиберными камерами. При таком соединении число силовых камер изменяемой длины целесообразно выбирать равным удвоенному количеству шиберных камер рабочей части ротора. При этом шиберные уплотнительные выступы 17, скользящие по ограничителю прямого переноса 15, отделяют шиберные разгрузочные полости 16 от обеих соседних междушиберных полостей в кольцевом пазу 2. Предусматривается также такое исполнение сквозных каналов в шибере, что шиберные разгрузочные полости ограничены стенками указанных каналов.
Давление в указанных силовых камерах изменяемой длины всегда равно давлению в соответствующих полостях в кольцевом пазу. Для уравновешивания сил давления жидкости на рабочую часть ротора со стороны рабочей крышки корпуса силами давления жидкости со стороны силовых камер, размеры, форма и расположение силовых камер выбираются, исходя из конфигурации распределения сил давления между рабочей частью ротора и рабочей крышкой корпуса. В формировании указанных сил давления принимает участие как жидкость, расположенная в полостях рабочей камеры, так и жидкость, перетекающая между соседними полостями рабочей камеры с разными давлениями, а также жидкость, вытекающая из полостей рабочей камеры через зазоры торцевых уплотнений.
Изобретение предусматривает два варианта роторных средств изоляции обратного переноса.
В одном варианте в зоне обратного переноса так же, как и в зоне прямого переноса, изоляция обеспечивается скользящим контактом участков торцевых поверхностей шиберов с поверхностью соответствующего ограничителя переноса. В этом случае конфигурации полостей и соответствующих уплотнений между рабочей частью ротора и рабочей крышкой корпуса, определяющие геометрическое распределение сил давления рабочей жидкости, отталкивающих рабочую часть ротора от рабочей крышки корпуса, одинаковы в обеих зонах переноса и позволяют легко определить требуемые параметры силовых камер. Однако следует учитывать, что в этом случае расположение ближайшей междушиберной полости с повышенным давлением относительно выбранной шиберной камеры будет различным для зоны прямого переноса и зоны обратного переноса, аналогично тому, как было описано выше для зоны прямого переноса обратимых или реверсивных машин. Поэтому выполнение гидравлической связи шиберных камер с кольцевым пазом для гидроподжима шиберов и исполнение силовых камер должны быть аналогичными вышеописанным для таких машин.
Во втором варианте конструкций в зоне прямого переноса Б (фиг.21) изоляция в рабочей камере обеспечивается скользящим контактом шибера 8 с поверхностью ограничителя прямого переноса 15, а в зоне обратного переноса Г (фиг.22) изоляция в рабочей камере обеспечивается скользящим контактом участка поверхности дна кольцевого паза в торце ротора с поверхностью ограничителя обратного переноса 21. В этом случае конфигурации полостей в кольцевом пазу, соединенных с соответствующими силовыми камерами, и соответствующих уплотнений в общем случае нетождественны для зоны прямого и обратного переноса. Вследствие этого силы давления жидкости на рабочую часть ротора со стороны рабочей крышки корпуса могут отличаться по величине при одном и том же давлении в переносимых объемах в зонах прямого и обратного переноса. Кроме того, центры приложения этих сил к рабочей части ротора сдвинуты, если наложить их на один и тот же фрагмент ротора. Величина смещения центра приложения сил давления жидкости к рабочей части ротора зависит от размеров и взаимного положения уплотняющих поверхностей торца шибера и участка дна кольцевого паза.
Для того чтобы неизменная по конфигурации силовая камера обеспечивала уравновешивание воздействий на рабочую часть ротора со стороны рабочей камеры в обеих этих зонах, предлагается способ минимизации изменений геометрических параметров полостей в кольцевом пазу путем минимизации площадей уплотняющих участков на поверхности дна паза ротора и максимального приближения этих участков к уплотняющим участкам торцевых поверхностей шиберов. Для этого на поверхности дна кольцевого паза между шиберами выполняются донные разгрузочные полости 22 и донные уплотняющие выступы 23 (фиг.22). Указанные донные уплотняющие выступы находятся в скользящем изолирующем контакте с ограничителем обратного переноса и разделяют соседние переносимые объемы в зоне обратного переноса Г.
Для обратимых или реверсивных машин предпочтительный вариант изобретения (фиг.30) предусматривает такое исполнение донных разгрузочных полостей и донных уплотняющих выступов, при котором на каждом участке дна кольцевого паза между двумя соседними шиберными камерами 7 выполнены, по меньшей мере, два уплотняющих выступа 23 и одна разгрузочная полость 22 между ними так, что в зоне обратного переноса указанная донная разгрузочная полость отделяется скользящим изолирующим контактом двух указанных донных уплотняющих выступов с ограничителем обратного переноса 21 от обеих ближайших шиберных камер 7. При этом средства выравнивания локальных давлений включают каналы 24 в рабочей части ротора, посредством которых каждая донная разгрузочная полость 22 сообщается со своей, ближайшей по угловому расстоянию, силовой камерой изменяемой длины 6. Предусматривается также такое исполнение указанных каналов 24, при котором их поперечные размеры близки или даже равны размерам донных разгрузочных полостей. В последнем случае указанные донные разгрузочные полости ограничены стенками указанных каналов.
Для машин с фиксированным расположением полостей повышенного давления относительно входного и выходного порта предусматривается, что на каждом участке дна кольцевого паза между двумя соседними шиберными камерами выполнены одна разгрузочная полость и один уплотняющий выступ, прилегающий к первой из двух указанных шиберных камер, шибер в которой отделяет указанную донную разгрузочную полость в зоне прямого переноса от полости повышенного давления, а разгрузочная полость сообщается со второй из двух указанных шиберных камер. На фиг.21, 22 показаны шиберный уплотняющий выступ 17 и соседний донный уплотняющий выступ 23, которые располагаются максимально близко друг к другу, т.е. на прилегающих участках соответствующих поверхностей.
При описанных вариантах исполнения донных разгрузочных полостей и уплотняющих выступов выбор размеров силовых камер позволяет осуществить аксиальное уравновешивание рабочей части ротора в обеих зонах переноса. Смещение центров приложения сил давления на рабочую часть ротора со стороны рабочей крышки корпуса будет приводить к возникновению переменных моментов сил, стремящихся развернуть рабочую часть ротора вокруг оси, перпендикулярной оси вращения ротора. Поэтому силовые камеры располагаются с некоторым смещением, таким образом, чтобы моменты сил, возникающие в зонах прямого и обратного переноса, компенсировали друг друга.
Для того чтобы обеспечить уплотнение между торцевыми поверхностями рабочей части ротора и соответствующими поверхностями рабочей крышки корпуса, целесообразно выбирать форму и размеры силовых камер внутри ротора таким образом, чтобы обеспечивать небольшой поджим рабочей части ротора к уплотняющим элементам рабочей крышки корпуса. Для обеспечения указанного необходимого поджима сумма площадей поперечных сечений всех силовых камер изменяемой длины превышает площадь проекции кольцевого паза на плоскость, перпендикулярную оси вращения рабочей части ротора, на величину, которая зависит от площади и характера прилегания поверхностей скользящего изолирующего контакта рабочей части ротора с рабочей крышкой корпуса.
Например, при плоских зазорах между поверхностями указанного скользящего изолирующего контакта для расчета баланса сил давления нужно добавлять к указанной площади проекции кольцевого паза, по меньшей мере, 50% площади указанного скользящего изолирующего контакта. При неплоских изолирующих поверхностях и зазорах между ними соответствующий коэффициент, на который должна умножаться площадь скользящего изолирующего контакта рабочей части ротора с рабочей крышкой корпуса при суммировании с площадью указанной проекцией кольцевого паза, может определяться эмпирически.
Минимально необходимая величина указанного превышения площади определяется с учетом упругости упругих элементов силовых камер изменяемой длины и сил трения, которые необходимо преодолеть для обеспечения необходимых взаимных движений рабочей и опорной частей ротора. Указанные силы трения включают силы трения в скользящих изолирующих контактах между вложенными и вмещающими элементами силовых камер и силы трения между частями ротора и роторными элементами, передающими момент вращения, например шарнирами равных угловых скоростей.
Уравновешивание опорной части ротора: опорные полости и средства выравнивания локальных давлений.
Опорная часть 4 ротора (фиг.2) испытывает воздействие симметричных сил со стороны силовых камер изменяемой длины 6 в направлении соответствующей поверхности опорной крышки 5 корпуса. Таким образом, рабочая и опорная части ротора раздвигаются, упираясь в соответствующие уплотнительные поверхности корпуса.
Каждая из силовых камер изменяемой длины 6, в том числе и находящихся напротив ограничителя прямого 15 или обратного 21 переноса, гидравлически связана средствами выравнивания локальных давлений с ближайшей полостью в рабочей камере рабочей части 1 ротора и с ближайшей опорной полостью 25, ограниченной поверхностями опорного торца опорной части 4 ротора и поверхностями опорной крышки 5 корпуса.
Под средствами выравнивания локальных давлений здесь и далее мы будем понимать совокупность каналов и полостей, которые сообщаются друг с другом, образуя совокупность гидравлических трактов, через которые каждая из указанных силовых камер изменяемой длины гидравлически сообщается с полостью указанного расположения в рабочей камере и с опорной полостью указанного расположения таким образом, что давления в указанной силовой камере и в указанных гидравлически связанных с ней полостях существенно равны с точки зрения гидравлического уравновешивания рабочей и опорной частей ротора, при любом угле поворота ротора и при любом, допустимом с точки зрения объемной эффективности гидромашины, уровне утечек из любой указанной полости или силовой камеры. Указанные каналы и полости могут быть выполнены как в роторе, так и в корпусе. В последнем случае каналы и полости корпуса сообщаются с каналами и полостями ротора при вращении ротора.
Для описанных ниже вариантов исполнения машины с силовым замыканием на корпус предпочтительный вариант изобретения предусматривает исполнение средств выравнивания локальных давлений каналами и полостями в роторе (фиг.24). В этом случае гидравлический тракт средств выравнивания локальных давлений включает каналы в рабочей части 1 ротора, соединяющие кольцевой паз 2 рабочей части 1 ротора с силовыми камерами изменяемой длины 6, например каналы 18 в шиберах 8, и шиберные камеры 7, непосредственно сообщающиеся с указанными силовыми камерами 6, включает сквозные каналы 26 в силовых камерах 6, а также включает каналы 27 в опорной части 4 ротора, соединяющие указанные силовые камеры 6 с указанными опорными полостями 25.
Для описанных ниже вариантов исполнения машины с силовым замыканием на ротор предпочтительный вариант изобретения предусматривает исполнение средств выравнивания локальных давлений (фиг.25, фиг.26, фиг.27) в виде сочетания каналов и полостей в роторе с каналами 70 в корпусе, которые в этом случае соединяют кольцевой паз рабочей части ротора с опорными полостями 25 между опорной крышкой корпуса и опорной частью 4 ротора.
В предпочтительном варианте изобретения указанные опорные полости 25 выполнены в опорной части 4 ротора. На фиг.24, фиг.31, фиг.32 опорные полости опорной части ротора соединены каналами 27 или 70 с силовыми камерами 6 внутри ротора, которые имеют каналы 26 в соединителях 12. Таким образом, давление в каждой из этих торцевых опорных полостей всегда равно давлению в соответствующей силовой камере изменяемой длины и равно давлению в соответствующей полости рабочей камеры рабочей части ротора, независимо от наличия дефектов уплотняющих поверхностей, величины зазоров в торцевых уплотнениях и соответствующих утечек из опорных полостей и между ними. Указанные утечки определяются характером прилегания поверхностей скользящего изолирующего контакта опорной крышки корпуса со средствами изоляции, которыми снабжены опорные полости опорной части ротора. Указанные средства изоляции опорных полостей включают изолирующие перемычки 57 (фиг.2) между полостями, характер прилегания которых к опорной крышке корпуса определяет утечки между опорными полостями, и периферийные торцевые уплотнения 58, характер прилегания которых к опорной крышке корпуса определяет утечки из опорных полостей в дренаж.
Расположение, форма и площадь этих опорных полостей 25 на внешнем торце опорной части ротора, с учетом площади скользящего изолирующего контакта средств изоляции опорных полостей с опорной крышкой корпуса и распределения давления в нем, выбираются таким образом, чтобы силы давления, действующие на опорную часть ротора со стороны силовых камер изменяемой длины, существенно уравновешивались силами давления со стороны опорных полостей, оставляя лишь небольшой, необходимый для изоляции, поджим опорной части ротора к соответствующим уплотняющим элементам корпуса. Таким образом, опорные полости выполняют, в сущности, функцию разгрузки опорной части ротора. Изобретение предусматривает также вариант исполнения, в котором опорные полости непосредственно сообщаются с силовыми камерами изменяемой длины.
Для обеспечения указанного необходимого для изоляции прижима опорной части ротора к опорной крышке корпуса совокупная площадь поперечных сечений всех силовых камер изменяемой длины превышает сумму совокупной площади проекций опорных полостей на плоскость, перпендикулярную оси вращения опорной части ротора с совокупной площадью средств изоляции опорных полостей, умноженной на соответствующий весовой коэффициент, определяемый усредненными по углам поворота ротора площадью и характером прилегания поверхностей скользящего изолирующего контакта опорной части ротора с опорной крышкой корпуса, например, равный 50% при плоских поверхностях, аналогично вышеописанному для рабочей части ротора. Минимально необходимая величина указанного превышения площади также определяется с учетом упругости упругих элементов силовых камер и вышеописанных сил трения, которые необходимо преодолеть для обеспечения необходимых взаимных движений рабочей и опорной частей ротора. Для вариантов исполнения машины в виде гидромотора или насоса, работающего в диапазоне скоростей вращения и давлений всасывания, не порождающих кавитации в шиберных камерах при выбранном характере движения шиберов, опорная крышка корпуса может не содержать никаких полостей. Исполнение опорной крышки корпуса с распределительными полостями для снижения склонности к кавитации описано ниже.
Количество указанных опорных полостей в опорной части ротора равно или кратно количеству шиберных камер в рабочей части ротора.
В предпочтительном варианте изобретения количество опорных полостей равно количеству силовых камер изменяемой длины и количеству шиберных камер в рабочей части ротора, а сумма площади опорной полости и половины площади скользящего изолирующего контакта относящихся к ней средств изоляции с опорной крышкой корпуса равна сумме площади противолежащей ей полости, образуемой в кольцевом пазу рабочей части ротора в зоне обратного переноса, и половины площади скользящего изолирующего контакта относящихся к ней средств изоляции с рабочей крышкой корпуса.
В частном случае исполнения опорных полостей опорная часть ротора содержит кольцевой паз и шиберы, расположенные в шиберных камерах. Шиберы, перекрывая кольцевой паз, разбивают его на отдельные опорные полости, локальные давления в которых через средства выравнивания локальных давлений уравниваются с локальными давлениями в соответствующих полостях рабочей камеры и силовых камерах изменяемой длины.
При этом на поверхности опорной крышки могут быть выполнены ограничители прямого и обратного переноса. В таком случае между опорной частью ротора и опорной крышкой корпуса в кольцевом пазу образуется вторая рабочая камера. Указанная вторая рабочая камера может выполняться как симметрично первой, аналогично US3348494, так и антисимметрично, аналогично RU2215903. В последнем случае роторная машина приобретает свойство реверсивности, т.е. способности изменять направление подачи жидкости без изменения направления вращения входного вала. Указанную симметричность следует понимать в смысле симметрии сил давления при всех положениях ротора. Размеры второго кольцевого паза могут отличаться от первого при условии обеспечения описанного уравновешивания опорной части ротора. Средства изоляции опорных полостей в таком исполнении включают шиберы, поверхности которых скользят по ограничителю прямого переноса опорной крышки корпуса, а также роторные средства изоляции обратного переноса, скользящие по ограничителю обратного переноса опорной крышки корпуса. Аналогично вышеописанным исполнениям для рабочей части ротора шиберы опорной части ротора могут содержать шиберные разгрузочные полости и шиберные уплотняющие выступы, а указанные роторные средства изоляции обратного переноса могут включать либо шиберы, либо участки дна кольцевого паза опорной части ротора, на которых аналогичным образом могут быть выполнены донные разгрузочные полости и донные уплотняющие выступы.
При описанном исполнении машины с кольцевыми пазами и шиберными камерами в обеих частях ротора и с ограничителями переноса на обеих крышках корпуса определения “рабочая” и “опорная” по отношению частей ротора и крышек корпуса относительны и используются нами для единства терминологии.
Изобретение предусматривает также вариант исполнения машины с более чем одной парой ограничителей прямого и обратного переноса на рабочей крышке корпуса. Каждая пара ограничителей формирует в кольцевом пазу дополнительную пару полостей всасывания и нагнетания, соединенных с входным и выходным портами соответственно. Механизм привода шиберов в такой многоцикловой машине выполняется таким образом, чтобы каждый шибер совершал за один оборот ротора столько циклов перемещения относительно кольцевого паза, сколько пар ограничителей выполнено на рабочей крышке корпуса.
Многоцикловое исполнение применимо и к вышеописанным машинам с двумя кольцевыми пазами (в рабочей и опорной частях ротора). В таких машинах на рабочей и на опорной крышках корпуса выполняется одинаковое число пар ограничителей прямого и обратного переноса. Изобретение предусматривает как симметричное, так и антисимметричное расположение полостей всасывания и нагнетания, сформированных в кольцевых пазах рабочей и опорной частей ротора.
Таким образом, при любом характере прилегания поверхностей перечисленных скользящих изолирующих контактов, каковы бы ни были утечки, определяемые указанным характером прилегания уплотняющих поверхностей, переменные силы давления рабочей жидкости на рабочую и опорную части ротора со стороны соответствующих крышек корпуса оказываются существенно уравновешенными такими же переменными силами давления рабочей жидкости со стороны силовых камер. Небольшой поджим, необходимый для обеспечения торцевого уплотнения, может быть в разумных пределах сделан сколь угодно малым.
Средства выравнивания локальных давлений подразумевают исполнение каналов 27 с большим проходным сечением и малым гидравлическим сопротивлением, что делает практически невозможным их засорение взвешенными частицами и устраняет влияние взвешенных частиц в рабочей жидкости на описанный баланс сил давления. В частном случае изобретения поперечные размеры каналов 27 близки к поперечным размерам опорных полостей 25 или даже совпадают с ними.
В силу указанных свойств средств выравнивания локальных давлений, сколь бы ни был велик разброс локальных давлений в разных переносимых объемах из-за наличия на изолирующих поверхностях локальных дефектов, например, вследствие износа, уравновешивание частей ротора существенно не нарушается.
Специалистам очевидно, что устранение причин возникновения существенной неуравновешенности позволяет значительно уменьшить площадь скользящих изолирующих контактов. В предпочтительном варианте изобретения суммарная площадь проекции скользящего изолирующего контакта средств изоляции опорных полостей опорной части ротора с опорной крышкой корпуса на плоскость, перпендикулярную оси вращения ротора, существенно меньше, чем сумма площадей опорных полостей, а суммарная площадь проекции скользящего изолирующего контакта рабочей части ротора с рабочей крышкой корпуса на плоскость, перпендикулярную оси вращения ротора, существенно меньше, чем площадь проекции кольцевого паза рабочей части ротора на ту же плоскость. Поэтому сколь бы ни изменялось распределение давления в зазорах скользящих уплотнительных контактов частей ротора с крышками корпуса при появлении локальных дефектов, влияние этих изменений на баланс сил давления, действующих на каждую часть ротора, становится несущественным.
Выполнение распределительной полости всасывания в опорной крышке напротив полости всасывания обеспечивает снижение склонности к кавитации, потому что указанная распределительная полость всасывания обеспечивает гидравлическую связь сообщающейся с ней шиберной камеры с полостью всасывания рабочей камеры через другие шиберные камеры или через каналы, выполненные в роторе или в корпусе. В полости всасывания 28 одновременно несколько шиберов 8 находятся на разных стадиях разгона и торможения (фиг.33). Шиберные камеры 7 в полости всасывания соединяются с указанной распределительной полостью всасывания 71 через силовые камеры 6, которые, в свою очередь, соединены каналами 27 с опорными полостями 25 опорной части ротора, составляя сквозной гидравлический тракт. Гидравлическое сопротивление каналов 27 и других составляющих указанного гидравлического тракта мало. Поэтому посредством указанной распределительной полости всасывания 71 каналы 18 в этих шиберах в этом случае соединены параллельно. В шиберную камеру того шибера, аксиальная скорость которого велика, жидкость протекает не только через каналы в самом этом шибере, но и через каналы в шиберах, аксиальная скорость которых мала, уменьшая тем самым падение давления в указанной шиберной камере. Степень повышения предельной скорости самовсасывания в этом случае определяется количеством шиберов, одновременно находящихся в полости всасывания. Если каналы выполнены не в шиберах, а в роторе между шиберами, то эффект перераспределения жидкости, протекающей в шиберные камеры для замещения выдвигаемых шиберов через параллельные каналы и распределительную полость, аналогичен. Повышение предельной скорости самовсасывания в несколько раз является важным преимуществом насосов с распределительной полостью. Соединение указанной распределительной полости 71 с портом всасывания посредством канала в корпусе в еще большей степени повышает указанную предельную скорость вращения ротора без кавитации. Выполнение также и распределительной полости нагнетания 73 напротив полости нагнетания 51 и соединения ее каналом 32 в корпусе с портом нагнетания 50 уменьшает гидравлические потери насоса.
Другим способом преодоления склонности к кавитации и повышения предельной скорости самовсасывания является изменение характера движения шиберов. Замена аксиального перемещения шибера на поворот шибера вокруг некоторой оси, например, параллельной оси вращения ротора устраняет необходимость в шиберных каналах или параллельных каналах, т.к. для замещения жидкостью поворачиваемого шибера жидкость перетекает вокруг него в шиберной камере большого сечения без заметного падения давления. Для реализации такого способа преодоления склонности к кавитации более удобны гидромашины с силовым замыканием не на корпус, а на ротор. Подробное описание различий этих двух типов архитектуры и пример реализации такого движения шиберов приведено ниже.
Силовое замыкание на корпус и антидеформационные камеры.
Вышеприведенное описание относится к исполнениям роторных машин, в которых ротор заключен между рабочей и опорной торцевыми крышками корпуса, а рабочая камера и опорные полости выполнены на внешних торцевых поверхностях ротора. Аксиальные силы давления рабочей жидкости, действующие на ротор и на каждую его часть, рабочую и опорную, уравновешивают друг друга и сжимают каждую из частей ротора. Деформацией сжатия можно пренебречь для стальных конструкций. Аксиальная составляющая растягивающих сил давления жидкости в таких машинах приложена к корпусу. Будем называть такие конструкции роторными машинами с силовым замыканием на корпус.
Силы давления, действующие на каждую из крышек изнутри роторной машины, не уравновешиваются снаружи встречными силами. При больших давлениях нагнетания деформация крышек и связывающих крышки элементов корпуса начинает влиять на качество торцевых уплотнений. Для работы с большими давлениями изобретение предусматривает средства предотвращения деформаций изолирующих поверхностей корпусных крышек.
Изобретение предусматривает вариант исполнения указанных средств в виде принимающего на себя силы давления рабочей жидкости внешнего силового элемента крышки корпуса, на котором установлен внутренний функциональный элемент крышки, находящийся в скользящем изолирующем контакте с соответствующей частью ротора.
В простейшем случае для не слишком больших давлений изобретение предусматривает, что необходимое для изоляции прилегание поверхностей скользящего изолирующего контакта указанной крышки корпуса и соответствующей части ротора обеспечивается жесткостью силового элемента крышки корпуса. При этом крышка корпуса, включающая указанный жесткий силовой элемент и функциональный элемент, может быть выполнена как одна цельная деталь.
Для больших давлений предусматриваются гидравлические средства компенсации деформирующих воздействий жидкости на крышки корпуса. Для этого торцевые крышки корпуса выполняются из двух частей: внешнего силового элемента 29 (фиг.34) и внутреннего функционального элемента 30, между которыми напротив полости нагнетания выполняется антидеформационная камера 31, соединенная с полостью нагнетания каналом 32. Форма, размеры и расположение антидеформационной камеры выбираются таким образом, чтобы компенсировать силы давления жидкости на внутренний функциональный элемент 30 крышки корпуса со стороны ротора силами давления жидкости со стороны антидеформационной камеры 31. В результате силы давления и связанные с ними деформации приходятся на внешний силовой элемент 29 крышки. Внутренний же функциональный элемент, разгруженный от сил давления рабочей жидкости, не подвергается деформациям и сохраняет форму уплотняющих поверхностей и качество уплотнений. Антидеформационная камера 31 уплотнена по периметру таким образом, чтобы деформация силового элемента 29 крышки не приводила к утечкам из этой камеры.
Элементы, связывающие между собой крышки корпуса в роторных машинах с силовым замыканием на корпус, могут быть выполнены в двух вариантах. Первый вариант предусматривает исполнение связующего элемента 33 в виде полого тела наподобие бочки, внутри которого между крышками образуется полость, в которой размещается ротор (фиг.3, фиг.4). Изобретение предусматривает также исполнение корпуса в форме, подобной катушке (фиг.5), когда связующий элемент 33 корпуса проходит внутри ротора, установленного на подшипниках 34 и расположенного между торцевыми крышками корпуса 3, 5, соединенными посредством стяжных гаек 35 со связующим элементом 33 корпуса.
Силовое замыкание на ротор.
Другой вариант исполнения средств предотвращения деформаций корпусных поверхностей указанных скользящих изолирующих контактов предусмотрен для роторных машин с силовым замыканием на ротор. Поскольку ротор принимает на себя радиальные составляющие сил давления рабочей жидкости в кольцевом пазу, он исполняется с достаточной прочностью и жесткостью.
В машинах с силовым замыканием на ротор предусматривается объединение рабочей и опорной крышек корпуса в операционный узел корпуса, расположенный между рабочей и опорной частями ротора таким образом, чтобы рабочая торцевая поверхность рабочей части ротора находилась в скользящем изолирующем контакте с поверхностью рабочей крышки операционного узла корпуса, а поверхность опорного торца опорной части ротора находилась в скользящем изолирующем контакте с поверхностью опорной крышки операционного узла корпуса.
Операционный узел корпуса может быть выполнен в виде единой детали. В таком исполнении функцию рабочей крышки выполняет та торцевая поверхность операционного узла, которая находится в скользящем изолирующем контакте с рабочей торцевой поверхностью рабочей части ротора, а функцию опорной крышки выполняет противоположная торцевая поверхность операционного узла, находящаяся в скользящем изолирующем контакте с поверхностью опорного торца опорной части ротора. Соответствующие части такого операционного узла корпуса мы будем рассматривать в дальнейшем как рабочую и опорную крышки корпуса.
Изобретение предусматривает, что вышеописанная совокупность роторных элементов, обеспечивающая кинематическую связь рабочей и опорной частей ротора в таком исполнении, включает связующий элемент ротора, на который передаются растягивающие силы давления рабочей жидкости, стремящиеся отжать рабочую и опорную части ротора от крышек операционного узла корпуса и друг от друга. Указанный связующий элемент может быть соединен с обеими частями ротора посредством силовых камер изменяемой длины, либо быть связанным посредством указанных силовых камер с одной из частей ротора и жестко соединенным с другой частью ротора.
В одном из вариантов изобретения ротор имеет форму, подобную катушке (фиг.6-10) с двумя разделенными частями большего диаметра 36, соединенными средней частью меньшего диаметра связующего элемента ротора 37. Рабочая камера расположена на внутренней торцевой поверхности одной или обеих частей большего диаметра.
Через каналы в операционном узле 38 корпуса осуществляется всасывание и нагнетание рабочей жидкости. Канал всасывания может отсутствовать для погружных исполнений насосов. Внешние торцевые поверхности операционного узла выполняют те же функции, что и внутренние функциональные элементы рабочей и опорной крышек корпуса насосов с силовым замыканием на корпус. По меньшей мере, одна из них несет на себе ограничитель обратного переноса и ограничитель прямого переноса.
В таком варианте изобретения ротор аналогичным образом исполняют состоящим из двух подвижных друг относительно друга частей: рабочей 1, содержащей шиберные камеры 7 с шиберами 8 и кольцевой паз 2, и опорной 4, содержащей либо опорные полости 25, либо также кольцевой паз и шиберы для варианта исполнения с двумя рабочими камерами. Одна из упомянутых частей ротора жестко соединяется со связующим элементом ротора, например, выполняется в форме жесткой катушки, а вторая исполнятся в виде кольцевого элемента, надетого на среднюю часть связующего элемента ротора, и соединяется посредством силовых камер изменяемой длины с первой. На фиг.6 показана машина с рабочей частью ротора, выполненной в виде кольцевого элемента, а на фиг.10 – опорной частью ротора в виде кольцевого элемента.
На фиг.7 показан вариант исполнения ротора с двумя рабочими камерами в обеих частях ротора и двумя комплектами шиберов, причем одна из частей ротора выполнена в виде кольцевого элемента. На обеих крышках корпуса, то есть на обеих торцевых поверхностях операционного узла 38 корпуса выполнены ограничители прямого 15 и обратного 21 переноса. В данном случае также определения “рабочая” и “опорная” по отношению частей ротора и крышек корпуса относительны и используются нами для единства терминологии.
На фиг.8, фиг.9 показан вариант исполнения ротора с наличием отдельного несущего элемента 39 ротора, выполненного в виде катушки. Рабочая 1 и опорная 4 части ротора устанавливаются на среднюю связующую часть такого несущего элемента. В этом случае силовые камеры изменяемой длины 6 могут быть выполнены между внутренними торцами этого третьего несущего элемента и обеими или одной из частей ротора, рабочей или опорной.
Растягивающие составляющие сил давления рабочей жидкости в таких машинах принимают на себя либо части ротора, обладающие достаточной жесткостью, либо части ротора, деформация которых не оказывает влияния на утечки.
Для машин с силовым замыканием на ротор затруднено использование опорной части ротора для обмена рабочей жидкости между рабочей камерой и шиберной камерой в силу большой длины и сложной формы необходимых для этого внутрироторных каналов. Поэтому для таких машин удобно преодолевать склонность к кавитации также путем изменения характера движения шиберов и их формы.
На фиг.10 показан вариант машины, в котором рабочая часть ротора выполнена в виде катушки. В подобной конструкции для размещения механизма привода шиберов могут использоваться задний торец рабочей части 1 ротора и примыкающая к нему часть корпуса 40. Шиберы 8 размещены в шиберных камерах 7 рабочей части 1 ротора с возможностью поворота вокруг оси 41, параллельной оси вращения ротора 9. Каждый шибер снабжен осевым выступом 42, проходящим через задний торец рабочей части 1 ротора. На осевой выступ 42 установлен поворотный рычаг 43, скользящий при вращении ротора по кулачковой направляющей канавке 44 и поворачивающий шибер таким образом, что в зоне прямого переноса шибер перекрывает кольцевой паз 2, а в зоне обратного переноса шибер убран из кольцевого паза в шиберную камеру 7. Перетекание жидкости при повороте шибера не вызывает заметного падения давления, способного вызвать кавитацию. Глубина рабочей камеры в такой конструкции может быть увеличена, что приведет к увеличению объемной подачи при тех же габаритах. Увеличение отношения глубины рабочей камеры к диаметрам уплотняющих поверхностей ротора и корпуса приводит, в свою очередь, к уменьшению доли потерь на трение в общей мощности, а следовательно, и к увеличению эффективности гидромашины.
В машинах с силовым замыканием на ротор операционный узел корпуса испытывает симметричные сжимающие силы давления жидкости и в целом является уравновешенным, что является эффективным средством предотвращения деформаций его поверхностей скользящих изолирующих контактов. Способ его установки на корпус должен обеспечивать возможность ввода-вывода жидкости из рабочей камеры насоса и предотвращать вращение операционного узла вокруг оси вращения ротора относительно корпуса (сам корпус при этом может вращаться относительно шасси гидромеханической системы в целом).
Для уравнивания давления в полостях между операционным узлом корпуса и частями ротора в машине выполняются каналы, соединяющие между собой опорные полости 25 опорной части 4 ротора, силовые камеры 6 внутри ротора, шиберные камеры 7 и полости в рабочей камере. Эти каналы могут быть выполнены в роторе, проходя через среднюю связующую часть ротора. Предпочтительный вариант исполнения машин с силовым замыканием на ротор предусматривает выполнение каналов 70 в операционном узле корпуса 38, в том числе в ограничителе прямого переноса и в ограничителе обратного переноса (фиг.25-28). В этом случае сквозные каналы 70 в операционном узле 38 корпуса в зонах переноса должны быть исполнены таким образом, чтобы препятствовать перетеканию рабочей жидкости между соседними переносимыми объемами и полостями всасывания и нагнетания. Это означает, что уплотнительные выступы 17 шиберов 8 или донные уплотняющие выступы 23, находящиеся в скользящем контакте с изолирующей поверхностью соответствующего ограничителя переноса, должны полностью перекрывать указанные сквозные каналы 70 операционного узла 38, проходя соответствующий участок, причем канал в ограничителе прямого 15 или обратного 21 переноса, который перекрыт поверхностью шибера 8 или дна кольцевого паза 2 со стороны рабочей части 1 ротора, в то же время перекрывается скользящим изолирующим контактом поверхности опорной части 4 ротора с опорной крышкой 5 операционного узла 38 корпуса.
Изобретение предусматривает также такое исполнение машины с силовым замыканием на ротор, в котором опорные полости 25 выполнены не в опорном торце опорной части 4 ротора, а в опорной крышке операционного узла корпуса 38 фиг.25, фиг.27, фиг.28. Средства изоляции опорных полостей в таком исполнении включают разделительные перемычки между полостями в корпусе, характер прилегания которых к опорной части ротора определяет утечки между опорными полостями, и периферийные изолирующие поверхности, характер прилегания которых к опорной части ротора определяет утечки из опорных полостей в дренаж.
Расположение, форма и площадь этих опорных полостей на опорной крышке операционного узла корпуса с учетом площади скользящего изолирующего контакта средств изоляции опорных полостей с опорной частью ротора и распределения давления в нем выбираются таким образом, чтобы силы давления рабочей жидкости, заключенной в силовых камерах изменяемой длины, стремящиеся прижать опорную часть ротора к опорной крышке операционного узла корпуса, существенно уравновешивались силами давления со стороны опорных полостей, обеспечивая лишь небольшой, необходимый для изоляции, поджим опорной части ротора к соответствующим уплотняющим элементам корпуса.
Радиальные размеры этих полостей выбираются таким образом, чтобы обеспечивать описанное существенное гидравлическое уравновешивание опорной части ротора, а их дуговые размеры выбираются таким образом, чтобы препятствовать перетеканию рабочей жидкости между соседними переносимыми объемами и полостями всасывания и нагнетания. Это означает, что изолирующие поверхности опорной части 4 ротора, включающие перемычки между каналами 27 (фиг.27), находящиеся в скользящем контакте с изолирующей поверхностью операционного узла 38 корпуса, должны полностью перекрывать указанные опорные полости 25 операционного узла 38, проходя соответствующий участок. В таком варианте исполнения, как на фиг.25, фиг.28, поверхность опорного торца опорной части 4 ротора может не содержать никаких полостей. Указанные опорные полости 25 в опорной крышке операционного узла корпуса гидравлически сообщаются указанными каналами 70 с соседними по угловому расстоянию полостями в рабочей камере рабочей части 1 ротора таким образом, что каждый выполненный в ограничителе прямого 15 или обратного 21 переноса канал 70, который перекрыт поверхностью шибера 8 или дна кольцевого паза 2 со стороны рабочей части 1 ротора, сообщается с опорной полостью 25, которая в то же время перекрывается скользящим изолирующим контактом поверхности опорной части 4 ротора с опорной крышкой 5 операционного узла корпуса 38.
В частном случае изобретения поперечные размеры каналов 70 близки к поперечным размерам опорных полостей 25 или даже совпадают с ними (фиг.27).
Возможно также исполнение машин с силовым замыканием на ротор, который выполнен не в виде катушки, а в виде полого тела (бочки) (фиг.11), в котором связующий элемент ротора 37 содержит среднюю часть, выполненную в виде полого цилиндра 45, соединяющего разделенные торцевые части 46 ротора таким образом, что внутри ротора образуется полость, в которой установлен операционный узел 38 корпуса. Операционный узел корпуса в этом случае устанавливается на корпус посредством вала 47, проходящего по оси через одну из раздельных торцевых частей 46 ротора. Предлагаемые решения для таких роторов аналогичны решениям для роторов в виде катушки.
Возможно также соединение опорной и рабочей частей ротора непосредственно совокупностью силовых камер изменяемой длины 6 (фиг.12), выполненных таким образом, чтобы силы давления рабочей жидкости, заключенной в них, стремились сблизить рабочую 1 и опорную 4 части ротора и уравновесить силы давления, отталкивающие их от операционного узла 38 корпуса и друг от друга.
Благодаря описанной способности силовых камер изменяемой длины сохранять герметичность при взаимных движениях частей ротора, включающих наклоны, силовые камеры в роторах таких машин, когда они установлены на рабочей или опорной части с обратной стороны от операционного узла корпуса, помимо своих основных функций выполняют еще и функцию предотвращения деформаций изолирующих поверхностей соответствующей части ротора под действием аксиальных составляющих сил давления рабочей жидкости, аналогично антидеформационным камерам в машинах с силовым замыканием на корпус. Таким образом, под действием сил давления деформируется внешняя часть связующего элемента ротора, на которую опираются силовые камеры и деформации которой несущественны для изоляции.
Конструкции с силовым замыканием на ротор приводят к усложнению ротора, но позволяют значительно упростить и облегчить конструкцию корпуса. Это может быть важно, если такая конструкция используется, например, в качестве насосно-моторного звена в двухпоточной или многопоточной объемной гидромеханической трансмиссии, в которой и ротор, и корпус должны вращаться относительно шасси агрегата. Использование внешнего торца ротора для размещения механизма привода шиберов и изменение характера их движения в роторе позволяет увеличить за счет этого относительную глубину рабочей камеры и КПД машины, а также устранить причины кавитации в шиберных камерах.
В описанных вариантах изобретения средства выравнивания локальных давлений включают совокупность каналов в роторе, а также в некоторых исполнениях включают каналы в корпусе, в частности в операционном узле корпуса. В зависимости от компоновки конкретного исполнения изобретения указанная совокупность каналов в роторе включает либо каналы, соединяющие силовые камеры изменяемой длины с кольцевым пазом рабочей части ротора, либо каналы, соединяющие силовые камеры изменяемой длины с опорными полостями, либо каналы, соединяющие опорные полости с кольцевым пазом рабочей части ротора, либо комбинацию перечисленных каналов. Указанные каналы в роторе могут включать шиберные камеры, каналы в шиберах, а также каналы в силовых камерах.
Изобретение предусматривает также исполнения, в которых силовые камеры изменяемой длины непосредственно сообщаются с кольцевым пазом (фиг.28) или с опорными полостями (фиг.13). В последнем случае предусматривается исполнение машины, в котором силовые камеры изменяемой длины 6 состоят из вмещающих элементов в виде силовых полостей 14 рабочей части 1 ротора, непосредственно сообщающихся с кольцевым пазом 2 рабочей части 1 ротора, силовых полостей 14 опорной части 4 ротора, непосредственно сообщающихся с опорными полостями 25 между опорной частью 4 ротора и опорной крышкой 5 и вложенных элементов в виде соединителей 12, помещенных в указанные силовые полости. В таком исполнении средства выравнивания локальных давлений включают отверстия 48 (фиг.13) в роторе, образуемые при указанном непосредственном соединении силовых камер 6 с кольцевым пазом 2, каналы 26 в соединителях 12 и отверстия 72, образуемые при непосредственном соединении силовых камер 6 с опорными полостями 25. В варианте исполнения подобной машины с силовым замыканием на ротор средства выравнивания локальных давлений включают отверстия 48 в роторе, образуемые при указанном непосредственном соединении силовых камер 6 с кольцевым пазом 2 и каналы 70 в операционном узле корпуса 38, соединяющие кольцевой паз 2 с опорными полостями 25.
Резюме предлагаемого решения.
Таким образом, суть описанных решений, устраняющих причины диссипативных потерь энергии на трение в торцевых уплотнениях и кавитацию, а также повышающих надежность насосов, заключается в том, что:
Ротор выполняется из двух частей: рабочей и опорной, соединенных посредством силовых камер изменяемой длины таким образом, чтобы изменение длины силовых камер приводило к небольшим взаимным осевым перемещениям и наклонам рабочей и опорной частей ротора, необходимым для обеспечения их скользящего изолирующего контакта с соответствующими уплотняющими поверхностями рабочей и опорной крышек корпуса. Между опорной частью ротора и опорной крышкой корпуса выполнены опорные полости.
Средства выравнивания локальных давлений обеспечивают равенство давлений во всех силовых камерах давлениям в соответствующих опорных полостях и полостях рабочей камеры, независимо от характера прилегания поверхностей всех скользящих изолирующих контактов и связанных с ними утечек. За счет выбора форм, размеров и расположения силовых камер и опорных полостей формируется близкое к зеркально-симметричному распределение сил давления, действующих на противоположные торцы обеих частей ротора и уравновешивающих, таким образом, каждую из этих частей по отдельности. Необходимый для обеспечения изоляции в торцевых уплотнениях прижим частей ротора к крышкам корпуса и пропорциональные ему потери на трение могут быть в разумных пределах сколь угодно малыми. Указанное равенство давлений, определяющее этот прижим, не нарушается изменением характера прилегания поверхностей скользящих изолирующих контактов, в частности возникновением локальных дефектов на уплотняющих поверхностях.
При этом один из узлов, роторный или статорный (здесь он чаще называется корпусом), выполняется таким образом, чтобы принимать на себя растягивающие силы давления рабочей жидкости, а второй при этом принимает на себя сжимающие силы давления рабочей жидкости. В узле, принимающем на себя растягивающие силы давления рабочей жидкости, элементы, деформирующиеся под действием аксиальных сил давления, отделяются средствами передачи давления от элементов, плоские поверхности которых обеспечивают скользящий изолирующий контакт.
Опорная часть ротора насосов с силовым замыканием на корпус посредством каналов в ней и распределительной полости в опорной крышке корпуса используется для всасывания жидкости в шиберные камеры и силовые камеры.
Указанные каналы имеют большое проходное сечение, не создают значимых перепадов давления при перетекании жидкости и не подвержены влиянию взвешенных частиц.
Внешний торец ротора насосов с силовым замыканием на ротор может быть использован для размещения механизма привода шиберов с поворотным движением, не создающим значимых перепадов давления в шиберной камере.
Подробное описание устройства одной из реализаций предлагаемого изобретения.
Для подробного описания устройства и функционирования одной из реализаций предлагаемого изобретения рассмотрим вариант роторной шиберной машины с силовым замыканием на корпус в виде полого цилиндра (“бочки”) и с одним рабочим кольцевым пазом.
Роторная шиберная машина в данном варианте реализации изобретения (фиг.1-4, 33, 34) содержит два главных узла: корпус и установленный в корпусе с возможностью вращения ротор.
Ротор содержит рабочую часть 1 с шиберными камерами 7, на рабочей торцевой поверхности которой выполнен кольцевой паз 2 постоянного прямоугольного сечения, соединяющийся с шиберными камерами 7, в которых расположены шиберы 8 со сквозными каналами 18.
Корпус 40 выполнен с входным 49 и выходным 50 портами и с торцевыми рабочей 3 и опорной 5 крышками, каждая из которых состоит из силового элемента 29 и внутреннего функционального элемента 30, причем между указанными силовыми и функциональными элементами выполнены антидеформационные камеры 31, сообщающиеся с выходным портом 50, а на функциональном элементе опорной крышки выполнены распределительные полости всасывания 71 и нагнетания 73, разделенные изолирующими перемычками 64.
Рабочая камера машины ограничена в радиальном направлении внутренними поверхностями кольцевого паза 2, а в осевом направлении – внутренней поверхностью рабочей крышки 3 корпуса и дном кольцевого паза 20. В рабочей камере установлен ограничитель прямого переноса 15, ограничитель обратного переноса 21 и образованы полость всасывания 28, которая соединена с входным портом 49, и полость нагнетания 51, которая соединена с выходным портом 50. Соединение полостей всасывания и нагнетания с входным и выходным портами выполнено соответственно через каналы 52, 53 в рабочей крышке 3 корпуса 40.
Для рассмотрения процессов, происходящих в машине при переносе рабочей жидкости, выделены четыре зоны: зона всасывания А, зона прямого переноса Б, зона нагнетания В и зона обратного переноса Г.
Зона всасывания А соответствует расположению полости всасывания 28, а зона нагнетания В соответствует расположению полости нагнетания 51. Зона прямого переноса Б расположена между зонами всасывания А и нагнетания В. В этой зоне жидкость, заключенная в рабочей камере между шиберами 8 и в полостях ротора, сообщающихся с рабочей камерой, переносится из зоны всасывания А в зону нагнетания В. В зоне обратного переноса Г происходит обратный перенос части жидкости из зоны нагнетания В в зону всасывания А.
Ограничитель прямого переноса 15 установлен на рабочей крышке корпуса, расположен в рабочей камере в зоне прямого переноса Б и контактирует со скольжением с торцевыми поверхностями шиберов 8, выдвигаемых в кольцевой паз 2, обеспечивая, таким образом, возможность отделения шиберами от полости всасывания 28 и от полости нагнетания 51, по меньшей мере, одной междушиберной полости 62.
В других реализациях настоящего изобретения указанный ограничитель может быть сделан подвижным в аксиальном направлении. При его аксиальном перемещении изменяется площадь поперечного сечения рабочей камеры в зоне прямого переноса и, следовательно, производительность машины. Для управления его аксиальным перемещением машина должна быть снабжена механизмом привода ограничителя прямого переноса. В машине фиксированной производительности указанный ограничитель прямого переноса может быть выполнен как плоская изолирующая перемычка на рабочей крышке корпуса.
Ограничитель обратного переноса 21 установлен на рабочей крышке 3 корпуса, расположен в рабочей камере в зоне обратного переноса Г, контактирует со скольжением с роторными средствами изоляции обратного переноса, а именно с внутренними поверхностями кольцевого паза 2, и разделяет таким образом полости всасывания 28 и нагнетания 51 рабочей камеры.
Механизм привода шиберов выполнен в виде кулачкового механизма, включающего в себя установленный на корпусе 40 носитель 55 направляющей канавки 44, в которой скользят боковые выступы 56 шиберов 8. Профиль канавки определяет характер осевого движения шиберов при вращении ротора. Механизм привода шиберов управляет циклическим движением шиберов 8 относительно рабочей части 1 ротора при его вращении таким образом, что шиберы 8 в зоне всасывания А аксиально выдвигаются из шиберных камер 7 в кольцевой паз 2 и в зоне прямого переноса Б перекрывают поперечное сечение рабочей камеры, а в зоне нагнетания В убираются из кольцевого паза 2 в шиберные камеры 7 и открывают поперечное сечение рабочей камеры в зоне обратного переноса Г.
Ограничитель прямого переноса 15 снабжен участком размыкания, на котором выполнена канавка 63 (фиг.2). Размер и расположение канавки выбраны таким образом, чтобы обеспечить выравнивание давления на торцах шибера к моменту начала его осевого движения из кольцевого паза в шиберную камеру.
Характер движения шиберов в других реализациях настоящего изобретения может быть иным. Допустимы любые способы движения шиберов относительно ротора, приводящие к циклическому изменению степени перекрывания шибером поперечного сечения кольцевого паза. Например, кроме конструкций с аксиальным движением возможны конструкции и с радиальным движением шиберов, с поворотным, а также с их комбинацией. В насосах с изменяемой производительностью указанный механизм привода шиберов должен быть кинематически связан с аксиально-подвижным ограничителем прямого переноса для того, чтобы обеспечивать изменение степени выдвижения шиберов из шиберных камер в кольцевой паз, соответствующее изменению площади поперечного сечения рабочей камеры в зоне прямого переноса.
Ротор также содержит опорную часть 4 (фиг.1-4), на внешнем торце которой выполнены опорные полости 25. Указанные опорные полости изолированы плоскими поверхностями средств изоляции опорных полостей, а именно изолирующих перемычек 57 и периферийных торцевых уплотнений 58, за счет скользящего изолирующего контакта указанных плоских поверхностей с плоскими изолирующими поверхностями функционального элемента 30 опорной крышки 5 корпуса 40.
Указанные рабочая и опорная часть ротора установлены на подшипниках 34 на рабочей 3 и опорной 5 крышках корпуса 40 соответственно и соединены с входным валом 60 посредством шарниров 61 таким образом, чтобы вращаться синхронно, но иметь при этом возможность совершать друг относительно друга небольшие осевые перемещения и наклоны, по меньшей мере, достаточные для обеспечения скользящего изолирующего контакта обеих указанных частей ротора с соответствующими крышками корпуса.
Ротор также содержит силовые камеры изменяемой длины 6, расположенные между рабочей частью 1 ротора и опорной частью 4 ротора. В данном варианте машины указанные силовые камеры образованы силовыми полостями 14, выполненными на обращенных друг к другу поверхностях рабочей 1 и опорной 4 частей ротора, а также трубчатыми соединителями 12, установленными с возможностью скольжения в указанных силовых полостях. На трубчатых соединителях выполнены уплотнительные пояски 13, форма, расположение и размеры которых выбраны таким образом, чтобы обеспечивать изоляцию силовых камер во всем диапазоне осевых перемещений и наклонов опорной части ротора относительно рабочей части ротора. В силовых камерах изменяемой длины 6 установлены пружины 59 для обеспечения уплотнения в отсутствие давления. Одинаковое изменение длины всех силовых камер 6 приводит к поступательному взаимному перемещению рабочей 1 и опорной 4 частей ротора, а разное изменение длины разных силовых камер 6 – к взаимным наклонам рабочей 1 и опорной 4 частей ротора.
Средства выравнивания локальных давлений в данном исполнении машины включают шиберные камеры 7 и каналы 18 в шиберах, посредством которых каждая из указанных полостей 28, 51 и 62 рабочей камеры сообщается с силовыми полостями 14 рабочей части 1 ротора, каналы 27, посредством которых силовые полости 14 опорной части 4 ротора соединяются с опорными полостями 25, а также каналы 26 в соединителях 12. Указанные каналы имеют малое гидравлическое сопротивление, чтобы при объемной скорости потока рабочей жидкости через любой из этих каналов, соответствующей максимально допустимой утечке из рабочей камеры, падение давления на этом канале было существенно, т.е. в сотни раз меньше, чем номинальное рабочее давление. Таким образом, с точки зрения баланса сил давления, действующих на обе части ротора, при любом угле поворота ротора локальные давления в опорной полости и в сообщающихся с ней силовой камере и полости в рабочей камере существенно равны при любом допустимом уровне утечек из любой указанной полости.
На торцах шиберов, выдвигаемых в кольцевой паз, выполнены шиберные уплотняющие выступы 17, замыкающие при скользящем контакте с ограничителем прямого переноса 15 междушиберные полости прямого переноса 62.
На дне 20 кольцевого паза 2 выполнены донные уплотняющие выступы 23, замыкающие при скользящем контакте с ограничителем обратного переноса 21 донные разгрузочные полости 22, которые через каналы 18 в шиберах 8 и шиберные камеры 7 сообщаются с силовыми камерами 6. В данном исполнении машины площадь скользящей поверхности донного уплотняющего выступа 23 равна площади скользящей поверхности шиберного уплотняющего выступа 17.
Количество опорных полостей 25 равно количеству шиберных камер 7. Опорные полости 25 имеют форму овалов, их радиальная ширина равна радиальной ширине кольцевого паза 2. Сумма площадей опорных полостей 25 и изолирующих перемычек 57 равна площади дна кольцевого паза 2. При этом площади скользящих поверхностей изолирующих перемычек 57 равны площадям скользящих поверхностей донных уплотняющих выступов 23, а площади скользящих изолирующих контактов периферийных торцевых уплотнений 58 с изолирующими поверхностями опорной крышки 5 корпуса 40 равны соответствующим площадям скользящих изолирующих контактов рабочей части 1 ротора с рабочей крышкой 3 корпуса 40. Опорные полости 25 расположены напротив кольцевого паза 2, а изолирующие перемычки 57 расположены напротив донных уплотняющих выступов 23.
Количество силовых камер изменяемой длины 6 равно количеству шиберных камер 7. Силовые камеры изменяемой длины 6 имеют в поперечном сечении круглую форму. Сумма площадей поперечных сечений силовых камер 6 больше, чем сумма площади дна кольцевого паза 2 и половины площади скользящего изолирующего контакта рабочей части ротора с рабочей крышкой корпуса на величину, по меньшей мере, достаточную для небольшого, необходимого для изоляции поджима рабочей 1 и опорной 4 частей ротора к соответствующим крышкам 3 и 5 корпуса 40.
Функционирование описанной реализации машины.
Рассмотрим работу вышеописанной роторной шиберной машины, функционирующей как насос, и баланс сил давления рабочей жидкости, действующих на рабочую и опорную части ротора. Для гидромотора справедливы такие же рассуждения, с поправкой на вышеописанную разницу в гидроподжиме шиберов. Для рассмотрения полного цикла, состоящего из всасывания, прямого переноса, нагнетания и обратного переноса, будем рассматривать одиночный переносимый объем, сформированный полостями, соединенными при переносе с шиберной камерой одного выбранного шибера. Начальному моменту рассмотрения соответствует положение выбранного шибера в начале зоны всасывания. Рассмотрение баланса сил, действующих на части ротора, будем производить, исходя из локальных давлений, установившихся в полостях выбранного переносимого объема и в уплотнительных зазорах, примыкающих к нему.
Данный насос работает следующим образом.
В начальный момент цикла, равного одному обороту ротора, выбранный шибер находится на границе зоны обратного переноса и зоны всасывания.
При вращении входного вала 60 (фиг.3) вращательный момент передается через шарниры 61 рабочей 1 и опорной 4 частям ротора, вызывая их вращение относительно корпуса 40.
При вращении ротора (фиг.1, фиг.4, фиг.33) боковой выступ 56 шибера 8 скользит по направляющей канавке 44, имеющей такую форму, что шибер выдвигается в зоне всасывания А из шиберной камеры 7 в кольцевой паз 2. При этом через канал 52 и распределительную полость всасывания 71 в опорной крышке 5, опорную полость 25 и канал 27 в опорной части 4 ротора, а также через трубчатый соединитель 12 в силовой камере 6 рабочая жидкость заполняет пространство в шиберной камере 7, высвобождаемое выдвигающимся шибером 8. Кроме того, часть жидкости проходит в указанный высвобождаемый объем в шиберной камере 7 через канал 18 (фиг.33) в самом шибере 8 и аналогичные каналы в других шиберах, которые сообщаются с распределительной полостью всасывания 71. Указанное заполнение жидкостью пространства в шиберной камере 7, высвобождаемого выдвигающимся шибером 8, компенсирует тот объем, который замещается частью шибера 8 в кольцевом пазу 2. Наличие распределительной полости 71 в опорной крышке 5 корпуса 40 и каналов 52 и 27 снижает гидравлическое сопротивление тракта, по которому жидкость заполняет шиберную камеру 7 при выдвижении шибера 8, снижая тем самым склонность насоса к кавитации, и позволяет повысить предельную скорость самовсасывания.
Пока рабочая жидкость в силовой камере 6 находится под низким или нулевым давлением, раздвигание силовых полостей данной силовой камеры осуществляется пружинами 59 (фиг.3). Выдвинутый шибер в зоне прямого переноса Б своим уплотнительным выступом 17 контактирует со скольжением с ограничителем прямого переноса 15 и замыкает сзади междушиберную полость 62 (фиг.33) прямого переноса, которая впереди по направлению вращения замкнута уплотнительным выступом предыдущего шибера. Изолирующая перемычка 57 опорной части 4 ротора в зоне прямого переноса контактирует со скольжением с плоской изолирующей перемычкой 64 опорной крышки корпуса и замыкает сзади опорную полость 25, которая впереди по направлению вращения ротора замкнута предыдущей изолирующей перемычкой. Уплотнительные пояски 13 трубчатого соединителя 12 обеспечивают изоляцию силовой камеры изменяемой длины 6. Таким образом, в зоне прямого переноса оказывается замкнутым очередной переносимый объем 65, включающий в себя объемы междушиберной полости 62, канала 18 в шибере 8, шиберной камеры 7, силовых полостей 14 и канала 26 трубчатого соединителя 12 силовой камеры 6, канала 27 и опорной полости 25 в опорной части 4 ротора.
При вращении ротора этот очередной переносимый объем 65 перемещается в зоне прямого переноса Б от зоны всасывания А к зоне нагнетания В. За счет перетекания рабочей жидкости между соседними переносимыми объемами по мере перемещения указанного переносимого объема в сторону зоны нагнетания давление в нем растет. Характер роста давления зависит от скорости вращения ротора, выходного давления, характера прилегания поверхностей изолирующих контактов, т.е. зазоров между всеми уплотняющими поверхностями в зоне прямого переноса и наличия локальных дефектов на них, и может различаться для разных переносимых объемов. Однако благодаря наличию средств выравнивания локальных давлений в виде совокупности канала 18 в шибере 8, канала 27 в опорной части 4 ротора и канала 26 в трубчатом соединителе 12, во всех указанных полостях 62, 18, 7, 14, 27, 25, образующих выбранный переносимый объем, давление одинаково. По мере роста давления жидкости в силовой камере 6, входящей в рассматриваемый переносимый объем, силы гидростатического давления жидкости начинают играть все большую роль в балансе сил, действующих на рабочую и опорную части ротора, а роль пружин 59 (фиг.3) становится менее существенной. Размеры кольцевого паза 2, площадь скользящего изолирующего контакта рабочей части 1 ротора с рабочей крышкой 3 корпуса 40, определяемая в данном случае шириной уплотнительных поясков 66 (фиг.2) рабочей крышки 3 корпуса, и размеры силовых камер 6 выбраны таким образом, чтобы силы давления жидкости на рабочую часть 1 ротора со стороны междушиберных полостей 62 были на выбранную небольшую величину меньше, чем силы давления со стороны силовых камер 6, для того, чтобы обеспечить минимально необходимый прижим рабочей части 1 ротора к рабочей крышке 3 корпуса. Указанная величина разницы сил давления выбирается с учетом сил трения в силовых камерах 6 и в шарнирных соединениях частей ротора с валом 60. Аналогичным образом, размеры и форма опорных полостей 25 опорной части 4 ротора и размеры уплотнительных поясков 67 (фиг.1) опорной крышки 5 корпуса выбраны таким образом, чтобы силы давления жидкости на опорную часть ротора со стороны опорных полостей 25 были на выбранную небольшую величину меньше, чем силы давления со стороны силовых камер 6, для того, чтобы обеспечить минимально необходимый прижим опорной части 4 ротора к опорной крышке 5 корпуса. Взаимное расположение междушиберных полостей 62, силовых полостей 14 и опорных полостей 25 выбрано таким образом, чтобы минимизировать моменты указанных встречных сил давления рабочей жидкости, действующих на рабочую и опорную части ротора. Поэтому силы давления, действующие на рабочую часть ротора со стороны междушиберных полостей и со стороны силовых камер, существенно уравновешиваются, т.е. взаимно уравновешивают друг друга, за исключением небольшого поджима, необходимого для обеспечения надлежащего торцевого уплотнения, со стороны силовых камер к рабочей крышке корпуса. Аналогичным образом существенно уравновешиваются и силы давления, действующие на опорную часть ротора со стороны опорных полостей и со стороны силовых камер.
В конце прохождения выбранным переносимым объемом зоны прямого переноса уплотнительный выступ 17 предыдущего шибера перемещается на участок размыкания ограничителя прямого переноса 15. Предыдущая изолирующая перемычка опорной полости 25 выбранного переносимого объема при этом смещается с изолирующей перемычки 64 в зону распределительной полости нагнетания 73 опорной крышки 5 корпуса. Выбранный переносимый объем при этом соединяется с зоной нагнетания.
При прохождении зоны нагнетания В все полости выбранного переносимого объема, а также изолирующие перемычки между опорными полостями 25 опорной части 4 ротора находятся под рабочим давлением. В силу вышеописанных свойств силовых камер 6 и опорных полостей 25, а также уплотнительных поясков 67 и 66 (фиг.1, фиг.2) на опорной 5 и рабочей 3 крышках корпуса, силы давления, действующие на рабочую часть ротора со стороны междушиберных полостей 62 и со стороны силовых камер 6, равно как и силы давления, действующие на опорную часть 4 ротора со стороны опорных полостей 25 и со стороны силовых камер 6, в зоне нагнетания В также взаимно уравновешивают друг друга, за исключением указанного минимально необходимого поджима частей ротора к соответствующим крышкам корпуса.
Благодаря такому уравновешиванию рабочая и опорная части ротора не подвержены осевым деформациям и сохраняют плоскую форму уплотняющих поверхностей
Силы давления жидкости передаются через антидеформационные камеры 31 на внешние силовые элементы 29 рабочей и опорной крышек корпуса, деформация которых меньше влияет на утечки, чем деформация соответствующих функциональных элементов 30. Эти функциональные элементы испытывают лишь незначительную часть сил давления, необходимую для прижима к силовому элементу. Их уплотняющие поверхности сохраняют плоскую форму и обеспечивают изоляцию.
В процессе прохождения выбранным шибером зоны нагнетания боковой выступ 56 шибера скользит по направляющей канавке 44, имеющей такую форму, что шибер вдвигается в зоне нагнетания В из кольцевого паза 2 в шиберные камеры 7. При этом через каналы 18 в шиберах 8 и через каналы 26 в трубчатых соединителях 12 рабочая жидкость вытесняется в выходной порт 50 из пространства в шиберной камере 7, занимаемого вдвигающимся шибером 8, компенсируя тот объем, который освобождается шибером в кольцевом пазу. Таким образом, производительность насоса не зависит от размеров шибера.
К моменту подхода к зоне обратного переноса Г выбранный шибер полностью вдвигается в шиберную камеру. Донные уплотняющие выступы 23 в кольцевом пазу 2, примыкающие к выбранному шиберу спереди и сзади относительно направления вращения ротора, перемещаются из зоны нагнетания в зону обратного переноса и образуют там скользящий контакт с поверхностью ограничителя обратного переноса и замыкают, таким образом, донную полость в кольцевом пазу. Изолирующая перемычка 57 опорной части 4 ротора в зоне обратного переноса контактирует со скольжением с плоской изолирующей перемычкой 64 опорной крышки корпуса и замыкает сзади опорную полость 25, которая впереди по направлению вращения ротора замкнута предыдущей изолирующей перемычкой. Уплотнительные пояски 13 трубчатого соединителя 12 обеспечивают изоляцию силовой камеры изменяемой длины 6. Таким образом, в зоне обратного переноса оказывается замкнутым очередной объем обратного переноса 68, включающий в себя объемы донной разгрузочной полости 22, канала 18 в шибере 8, шиберной камеры 7, полостей 14 и канала 26 силовой камеры 6, канала 27 и опорной полости 25 в опорной части 4 ротора.
При вращении ротора этот очередной объем обратного переноса 68 перемещается в зоне обратного переноса Г от зоны нагнетания В к зоне всасывания А. За счет перетекания рабочей жидкости между соседними переносимыми объемами по мере перемещения указанного переносимого объема в сторону зоны всасывания давление в нем понижается. Характер падения давления зависит от скорости вращения ротора, разницы давлений нагнетания и всасывания, характера прилегания поверхностей изолирующих контактов, т.е. зазоров между всеми уплотняющими поверхностями в зоне обратного переноса и наличия локальных дефектов на них, и может различаться для разных переносимых объемов. Однако благодаря наличию средств выравнивания локальных давлений в виде совокупности канала 18 в шибере 8, канала 27 в опорной части 4 ротора и канала 26 в трубчатом соединителе 12 во всех указанных полостях 22, 18, 7, 14, 27, 25, образующих очередной выбранный переносимый объем, давление одинаково.
В силу вышеописанных свойств силовых камер 6 и опорных полостей 25 в опорной части 4 ротора, а также уплотнительных поясков 67 на опорной крышке 5 корпуса, силы давления, действующие на опорную часть 4 ротора со стороны опорных полостей 25 и со стороны силовых камер 6, в зоне обратного переноса Г также взаимно уравновешивают друг друга, за исключением указанного минимально необходимого поджима опорной части ротора к опорной крышке корпуса.
Размеры донных уплотняющих выступов 23, уплотнительных поясков 66 рабочей крышки корпуса и силовых камер 6 выбраны таким образом, чтобы силы давления жидкости на рабочую часть ротора со стороны донных разгрузочных полостей 22 были на выбранную небольшую величину меньше, чем силы давления со стороны силовых камер 6, для того, чтобы обеспечить минимально необходимый прижим рабочей части ротора к рабочей крышке 3 корпуса. Взаимное расположение донных разгрузочных полостей 22 и силовых полостей 14 выбрано таким образом, чтобы минимизировать моменты указанных встречных сил давления рабочей жидкости, действующих на рабочую часть ротора.
Таким образом, в какой бы зоне рабочей камеры не оказался выбранный шибер, давления в его шиберной камере и в сообщающихся с ней силовой камере и опорной полости опорной части ротора будут равны давлению в той полости рабочей камеры, с которой они сообщаются через канал в шибере.
Формы, размеры и расположение силовых полостей силовой камеры и опорной полости с учетом средств изоляции опорной полости выбраны таким образом, что при указанном равенстве давлений силы, действующие на каждую из частей ротора со стороны силовых камер, превосходят силы, действующие на нее со стороны соответствующей крышки корпуса, лишь на величину, необходимую для прижима уплотняющих поверхностей этой части ротора к уплотняющим поверхностям функционального элемента соответствующей крышки корпуса.
Потери мощности на трение в торцевых уплотнениях определяются указанной величиной силы прижима частей ротора к функциональным элементам соответствующих крышек корпуса, которая может быть выбрана малой. Появление локальных дефектов на уплотняющих поверхностях, например, вследствие износа, а также загрязнение рабочей жидкости взвешенными частицами не приводят к увеличению указанной силы прижима. Гидравлическое сопротивление каналов, определяющих падение давления в шиберной камере и предельную скорость самовсасывания, может быть выбрано исходя из требуемой рабочей скорости вращения ротора.
Формула изобретения
1. Роторная шиберная машина, включающая корпус с входным и выходным портами, опорной крышкой корпуса и рабочей крышкой корпуса, на которой выполнены ограничитель прямого переноса и ограничитель обратного переноса, ротор, включающий рабочую часть ротора, в которой выполнены шиберные камеры и на рабочей торцевой поверхности которой выполнен кольцевой паз, соединяющийся с шиберными камерами, в которых расположены шиберы, кинематически связанные с установленным на корпусе механизмом привода шиберов, причем рабочая крышка корпуса, находящаяся в скользящем изолирующем контакте с рабочей торцевой поверхностью рабочей части ротора формирует в кольцевом пазу рабочую камеру, которая разделена ограничителем обратного переноса, находящимся в скользящем изолирующем контакте с роторными средствами изоляции обратного переноса, и ограничителем прямого переноса, находящимся в скользящем изолирующем контакте с шиберами, на полость всасывания рабочей камеры, гидравлически связанную с входным портом, и полость нагнетания рабочей камеры, гидравлически связанную с выходным портом, а ограничитель прямого переноса и механизм привода шиберов выполнены с возможностью отделения шиберами, по меньшей мере, одной междушиберной полости рабочей камеры от полостей всасывания и нагнетания, отличающаяся тем, что ротор включает опорную часть ротора, которая находится в скользящем изолирующем контакте с опорной крышкой корпуса и кинематически связана с рабочей частью ротора совокупностью роторных элементов, включающих силовые камеры изменяемой длины так, чтобы вращаться синхронно с рабочей частью ротора с возможностью совершать относительно нее осевые перемещения и наклоны, по меньшей мере, достаточные для обеспечения скользящего изолирующего контакта обеих указанных частей ротора с соответствующими крышками корпуса, причем изменение длины указанных силовых камер приводит к указанным взаимным движениям рабочей и опорной частей ротора, а между опорной крышкой корпуса и опорной частью ротора выполнены опорные полости, снабженные средствами изоляции, причем каждая из указанных полостей рабочей камеры гидравлически сообщается, по меньшей мере, с одной силовой камерой изменяемой длины и, по меньшей мере, с одной опорной полостью через средства выравнивания локальных давлений.
2. Машина по п.1, отличающаяся тем, что корпус включает гидростатические средства предотвращения деформаций изолирующих поверхностей крышек корпуса, выполненные в виде операционного узла корпуса, объединяющего рабочую и опорную крышки корпуса и расположенного между рабочей и опорной частями ротора.
3. Машина по п.2, отличающаяся тем, что ротор включает связующий элемент ротора, причем, по меньшей мере, одна из указанных частей ротора выполнена с возможностью осевых перемещений и наклонов относительно указанного связующего элемента, а силовые камеры изменяемой длины расположены между указанной частью ротора и указанным связующим элементом и кинематически связывают указанную часть ротора с указанным связующим элементом.
4. Машина по п.1, отличающаяся тем, что корпус включает гидростатические средства предотвращения деформаций изолирующих поверхностей крышек корпуса, причем указанные гидростатические средства включают функциональный элемент, по меньшей мере, одной из крышек корпуса, причем указанный функциональный элемент находится в скользящем изолирующем контакте с соответствующей частью ротора, силовой элемент указанной крышки корпуса и, по меньшей мере, одну антидеформационную камеру, расположенную между функциональным и силовым элементами, гидравлически связанную с рабочей камерой, и выполненную так, чтобы силы давления рабочей жидкости, действующие на функциональный элемент указанной крышки корпуса со стороны антидеформационной камеры и со стороны ротора, существенно уравнивали друг друга.
5. Машина по п.1, отличающаяся тем, что средства выравнивания локальных давлений сформированы совокупностью гидравлических трактов в роторе, обеспечивающих указанное соединение указанных полостей.
6. Машина по п.1, отличающаяся тем, что средства выравнивания локальных давлений сформированы совокупностью гидравлических трактов в роторе и совокупностью гидравлических трактов в корпусе, причем каждый из указанных трактов в роторе сообщается, по меньшей мере, с одним из указанных трактов в корпусе при любом угле поворота ротора, обеспечивая указанное соединение указанных полостей.
7. Машина по п.5 или 6, отличающаяся тем, что совокупность гидравлических трактов в роторе включает каналы в опорной части ротора, соединяющие силовые камеры изменяемой длины и опорные полости.
8. Машина по п.5 или 6, отличающаяся тем, что совокупность гидравлических трактов в роторе включает шиберные камеры.
9. Машина по п.5 или 6, отличающаяся тем, что совокупность гидравлических трактов в роторе включает каналы в шиберах.
10. Машина по п.6, отличающаяся тем, что совокупность гидравлических трактов в корпусе включает каналы в корпусе, соединяющие опорные полости с кольцевым пазом в рабочей части ротора.
11. Машина по п.5 или 6, отличающаяся тем, что гидравлическое сопротивление каждого из указанных трактов выбрано таким, чтобы падение давления в нем было существенно меньше номинального рабочего давления машины при утечках через указанный тракт существенно меньших, чем максимально допустимые утечки из рабочей камеры, преимущественно указанное падение давления менее 1% от номинального рабочего давления.
12. Машина по п.1, отличающаяся тем, что силовые камеры изменяемой длины сформированы вмещающими элементами и вложенными элементами, выполненными с возможностью взаимных движений, причем внешние стенки вложенных элементов находятся в скользящем изолирующем контакте с внутренними стенками вмещающих элементов, обеспечивая уплотнение силовых камер изменяемой длины при указанных взаимных осевых перемещениях и наклонах указанных частей ротора.
13. Машина по п.1, отличающаяся тем, что формы, размеры и расположение опорных полостей и средств их изоляции выбраны так, чтобы силы давления рабочей жидкости, отжимающие рабочую часть ротора от рабочей крышки корпуса, были существенно равны и направлены противоположно силам давления рабочей жидкости, отжимающим опорную часть ротора от опорной крышки корпуса, а формы, размеры и расположение силовых камер изменяемой длины выбраны так, чтобы при любом угле поворота ротора превышение сил давления рабочей жидкости, замкнутой в силовых камерах изменяемой длины, действующих на указанные части ротора, над силами давления рабочей жидкости, отжимающими указанные части ротора от соответствующих крышек корпуса было, по меньшей мере, достаточным для обеспечения поджима, необходимого для изоляции.
14. Машина по п.1, отличающаяся тем, что формы, размеры и расположение опорных полостей и средств их изоляции выбраны так, чтобы силы давления рабочей жидкости, отжимающие рабочую часть ротора от рабочей крышки корпуса, были существенно равны и направлены противоположно силам давления рабочей жидкости, отжимающим опорную часть ротора от опорной крышки корпуса, а указанная совокупность роторных элементов включает упругие элементы, обеспечивающие необходимый для изоляции поджим указанных частей ротора к соответствующим крышкам корпуса при отсутствии давления, причем формы, размеры и расположение силовых камер изменяемой длины выбраны так, чтобы при любом угле поворота ротора превышение суммы сил упругости упругих элементов и сил давления рабочей жидкости, замкнутой в силовых камерах изменяемой длины, действующих на указанные части ротора, над суммой сил давления рабочей жидкости, отжимающих указанные части ротора от соответствующих крышек корпуса, и сил трения в указанной совокупности роторных элементов было, по меньшей мере, достаточным для обеспечения поджима, необходимого для изоляции.
15. Машина по п.13 или 14, отличающаяся тем, что формы и размеры силовых камер изменяемой длины выбраны так, чтобы превышение суммы поперечного сечения всех силовых камер изменяемой длины над площадью проекции кольцевого паза на плоскость, перпендикулярную оси вращения рабочей части ротора, было не менее 50% от площади скользящего изолирующего контакта рабочей части ротора с рабочей крышкой корпуса.
16. Машина по п.13 или 14, отличающаяся тем, что опорные полости расположены напротив кольцевого паза, а средства изоляции опорных полостей включают периферийные торцевые уплотнения и изолирующие перемычки между опорными полостями, причем сумма площадей опорных полостей и изолирующих перемычек равна площади дна кольцевого паза, а площади скользящего изолирующего контакта периферийных торцевых уплотнений с изолирующими поверхностями опорной крышки корпуса равны соответствующим площадям скользящих изолирующих контактов рабочей части ротора с рабочей крышкой корпуса.
17. Машина по п.13 или 14, отличающаяся тем, что опорные полости расположены напротив кольцевого паза, а средства изоляции опорных полостей включают периферийные торцевые уплотнения и изолирующие перемычки между опорными полостями, причем сумма площадей опорных полостей и изолирующих перемычек равна площади дна кольцевого паза, а площади скользящего изолирующего контакта периферийных торцевых уплотнений с изолирующими поверхностями опорной крышки корпуса равны соответствующим площадям скользящих изолирующих контактов рабочей части ротора с рабочей крышкой корпуса, причем роторные средства изоляции обратного переноса включают части поверхности дна кольцевого паза, на которых выполнены донные разгрузочные полости, отделенные, по меньшей мере, от одной из двух соседних шиберных камер, донными уплотнительными выступами, находящимися в скользящем изолирующем контакте с ограничителем обратного переноса, а изолирующие перемычки расположены напротив донных уплотнительных выступов, и площади скользящих поверхностей изолирующих перемычек равны площадям скользящих поверхностей донных уплотняющих выступов.
18. Машина по п.4, отличающаяся тем, что ротор расположен между рабочей и опорной крышками корпуса, соединенными связующим элементом корпуса, опорные полости выполнены в опорной части ротора, а средства выравнивания локальных давлений включают каналы в опорной части ротора, соединяющие опорные полости с силовыми камерами изменяемой длины, соединенные с шиберными камерами, причем опорная крышка корпуса содержит, по меньшей мере, одну распределительную полость всасывания, гидравлически связанную с входным портом и расположенную напротив полости всасывания рабочей камеры так, чтобы сообщаться с опорными полостями опорной части ротора.
19. Машина по п.18, отличающаяся тем, что опорная крышка корпуса содержит, по меньшей мере, одну распределительную полость нагнетания, гидравлически связанную с выходным портом и расположенную напротив полости нагнетания рабочей камеры так, чтобы сообщаться с опорными полостями опорной части ротора.
20. Машина по п.1, отличающаяся тем, что поверхность опорной крышки корпуса, находящаяся в скользящем контакте с опорной частью ротора, содержит ограничители прямого и обратного переноса опорной крышки корпуса, расположенные напротив ограничителей прямого и обратного переноса рабочей крышки корпуса, а торец опорной части ротора, находящийся в скользящем контакте с опорной крышкой корпуса, содержит кольцевой паз, соединяющийся с шиберными камерами опорной части ротора, причем средства изоляции опорных полостей включают шиберы, расположенные в шиберных камерах и кинематически связанные с механизмом привода шиберов так, чтобы шиберы находились в скользящем изолирующем контакте с указанным ограничителем прямого переноса опорной крышки корпуса.
21. Машина по п.20, отличающаяся тем, что средства изоляции опорных полостей включают части поверхности дна кольцевого паза опорной части ротора, находящиеся в скользящем изолирующем контакте с указанным ограничителем обратного переноса опорной крышки корпуса.
22. Машина по п.20, отличающаяся тем, что средства изоляции опорных полостей включают шиберы, расположенные в шиберных камерах опорной части ротора и кинематически связанные с механизмом привода шиберов так, чтобы указанные шиберы были в скользящем контакте с указанным ограничителем обратного переноса опорной крышки корпуса.
23. Машина по п.1, отличающаяся тем, что роторные средства изоляции обратного переноса включают части поверхности дна кольцевого паза между шиберами.
24. Машина по п.21 или 23, отличающаяся тем, что указанные части дна кольцевого паза содержат донные разгрузочные полости, отделенные, по меньшей мере, от одной из двух соседних шиберных камер донными уплотнительными выступами, находящимися в скользящем изолирующем контакте с указанным ограничителем обратного переноса.
РИСУНКИ
|
|