|
|
(21), (22) Заявка: 2006100996/06, 10.01.2006
(24) Дата начала отсчета срока действия патента:
10.01.2006
(46) Опубликовано: 20.06.2007
(56) Список документов, цитированных в отчете о поиске:
RU 2200876 C1, 20.03.2003. RU 2150607 C1, 10.06.2000. US 4916959 A, 17.04.1990. US 4761120 A, 02.08.1988.
Адрес для переписки:
426063, г.Ижевск, ул. Орджоникидзе, 2, ОАО, “Ижнефтемаш”, бюро 208
|
(72) Автор(ы):
Даутов Тагир Михайлович (RU), Тахаутдинов Шафагат Фахразович (RU), Огнев Михаил Ефимович (RU), Торхов Игорь Николаевич (RU), Клюев Сергей Иванович (RU), Валовский Владимир Михайлович (RU), Ибрагимов Наиль Габдулбариевич (RU), Ахметвалиев Рамиль Нафисович (RU), Шамсутдинов Илгизяр Гаптнурович (RU)
(73) Патентообладатель(и):
ОАО “Ижевский завод нефтяного машиностроения” (RU), ОАО “Татнефть” им. В.Д. Шашина (RU)
|
(54) ЦЕПНОЙ ПРИВОД СКВАЖИННОГО ШТАНГОВОГО НАСОСА
(57) Реферат:
Изобретение относится к области нефтедобывающей промышленности и может быть использовано при подъеме жидкости из скважины. Цепной привод скважинного штангового насоса содержит раму, размещенную на ней откатную металлоконструкцию открытого типа. В последней установлены двигатель, редуктор, механизм, преобразующий вращательное движение в вертикальное возвратно-поступательное движение. Он включает цепную передачу с ведущей и ведомой звездочками, связанную с кареткой, соединенной с противовесом, установленным в направляющих и связанным через разомкнутое гибкое звено с колонной штанг. Направляющие выполнены съемными, имеют ромбическую форму в поперечном сечении, диагональная плоскость их совмещена со срединной плоскостью цепной передачи привода. В конкретном случае направляющие имеют квадратную форму в поперечном сечении, а их рабочие грани расположены под углом 45° к срединной плоскости цепной передачи привода и симметричны ей. Изобретение позволяет повысить ремонтопригодность, увеличить срок службы привода и сократить затраты на его обслуживание. 1 з.п. ф-лы, 4 ил.
Изобретение относится к области нефтедобывающей промышленности и может быть использовано при подъеме жидкости из скважины.
Известна длинноходовая насосная установка с тележкой, содержащая двигатель, редуктор, закрытый металлический корпус, в котором размещен механизм, преобразующий вращательное движение в вертикальное возвратно-поступательное, включающий цепную передачу, связанную с кареткой, соединенной с противовесом, установленным в направляющих и связанным через разомкнутое гибкое звено с колонной штанг. Для направления движения противовеса служат две основные двутавровые балки корпуса привода, а их грани, обращенные к противовесу, используются в качестве дорожек качения для двенадцати направляющих роликов противовеса, гуммированных полимерным материалом. Закрытый корпус с масляной ванной позволяет обеспечить смазкой все размещенные внутри движущиеся элементы преобразующего механизма (патент США №4916959, кл. В66В 5/26).
Недостатком установки является сложность и значительная трудоемкость в обслуживании такого количества роликов противовеса внутри закрытого корпуса. Другим недостатком является неремонтопригодность направляющих противовеса, в качестве которых служат двутавровые балки, являющиеся неотъемлемыми элементами корпуса, износ которых недопустим.
Известен также привод скважинного штангового насоса, содержащий раму, размещенную на ней откатную металлоконструкцию открытого типа, в которой установлены двигатель, редуктор, механизм, преобразующий вращательное движение в вертикальное возвратно-поступательное, включающий цепную передачу, связанную с кареткой, соединенной с противовесом, установленным в направляющих и связанным через разомкнутое гибкое звено с колонной штанг. Центр тяжести противовеса расположен на оси симметрии цепной передачи. В качестве направляющих противовеса служат две двутавровые балки металлоконструкции привода, а их грани, обращенные к противовесу, используются для направления двенадцати роликов противовеса, изготавливаемых из полимерного материала и вращающихся на стальных осях (патент РФ №2200876, МПК F04В 47/02).
Недостатками привода являются неремонтопригодность направляющих противовеса и невысокая износостойкость роликов противовеса, требующая значительных затрат на их обслуживание и замену.
Задачей изобретения является повышение ремонтопригодности, увеличение срока службы привода и сокращение затрат на его обслуживание.
Для решения этой задачи в цепном приводе, содержащем раму и размещенную на ней откатную металлоконструкцию открытого типа, в которой установлены двигатель, редуктор, механизм преобразования вращательного движения в возвратно-поступательное, включающий цепную передачу с ведущей и ведомой звездочками, связанную с кареткой, соединенной с противовесом, установленным в направляющих и связанным через разомкнутое гибкое звено с колонной штанг, согласно изобретению направляющие выполнены съемными и имеют ромбическую форму в поперечном сечении, их диагональная плоскость совмещена со срединной плоскостью цепной передачи привода, а в частности имеют квадратную форму в поперечном сечении, при этом рабочие грани направляющих расположены под углом 45° к срединной плоскости цепной передачи симметрично ей.
Выполнение направляющих противовеса съемными позволяет осуществлять замену изношенных направляющих при ремонте, обеспечивая тем самым ремонтопригодность привода. В связи с использованием съемных направляющих появляется возможность применения стальных роликов противовеса на подшипниках качения. Кроме того, при таком исполнении направляющих противовеса (квадратная форма в поперечном сечении) и их расположении (рабочие грани расположены под углом 45° к срединной плоскости цепной передачи привода и симметричны ей) достаточно использование восьми роликов противовеса вместо двенадцати (прототип.).
Вышеописанные конструктивные особенности привода позволяют сократить время на его ремонт, обслуживание и снизить эксплуатационные затраты, а также обеспечивают увеличение межремонтного периода.
В случае применения в направляющих и роликах противовеса упрочненных сталей существенно повышается срок службы привода.
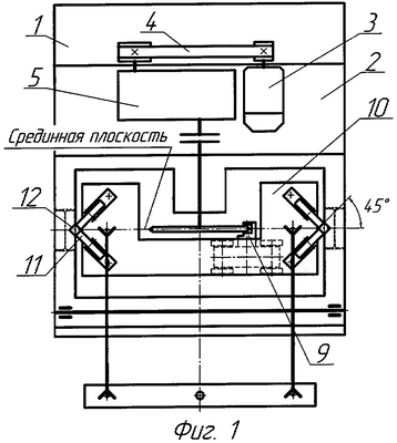
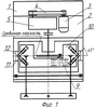
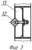
На фиг.1 показана схема привода (сверху). На фиг.2 изображена схема участка привода со стороны скважины с направляющим узлом противовеса, с узлом связи его с кареткой и цепью цепной передачи. На фиг.3 показано крепление направляющей противовеса в опорных призмах металлоконструкции привода. На фиг.4 изображена схема привода (сбоку).
Привод скважинного штангового насоса (фиг.1-4) содержит раму 1, откатную металлоконструкцию 2, двигатель 3, ременную передачу 4, редуктор 5, цепную передачу с цепью 6, ведущей 7 и ведомой 8 звездочками, каретку 9, противовес 10 с роликами 11 на подшипниках качения, направляющие 12 противовеса 10, квадратной формы в поперечном сечении опорные призмы 13, разомкнутое гибкое звено 14, колонну штанг 15. Направляющие 12 противовеса 10 в целях обеспечения возможности их замены при ремонте выполнены съемными и при этом могут быть цельными или составными.
Привод скважинного штангового насоса работает следующим образом.
После пуска двигателя 3 вращение через ременную передачу 4 и редуктор 5 передается ведущей звездочке 7 цепной передачи. Вместе с цепью 6 движется связанная с ней шарнирно каретка 9. При движении цепи 6 каретка 9 получает поступательное движение на прямолинейных участках цепной передачи и описывает полуокружности на переходах ведущей 7 и ведомой 8 звездочек.
Таким образом, колонна штанг 15, связанная с противовесом 11 разомкнутым гибким звеном 14, движется возвратно-поступательно.
Предлагаемая конструкция цепного привода позволяет повысить его ремонтопригодность, эксплуатационную надежность и увеличить срок службы. Помимо этого сокращается продолжительность ремонта и обслуживания привода за счет сокращения количества применяемых роликов противовеса.
Приводы, изготовленные согласно изобретению, прошли эксплуатационные испытания.
Формула изобретения
1. Цепной привод скважинного штангового насоса, содержащий раму, размещенную на ней откатную металлоконструкцию открытого типа, в которой установлены двигатель, редуктор, механизм, преобразующий вращательное движение в вертикальное возвратно-поступательное движение, включающий цепную передачу с ведущей и ведомой звездочками, связанную с кареткой, соединенной с противовесом, установленным в направляющих и связанным через разомкнутое гибкое звено с колонной штанг, отличающийся тем, что направляющие выполнены съемными, имеют ромбическую форму в поперечном сечении, диагональная плоскость их совмещена со срединной плоскостью цепной передачи привода.
2. Цепной привод по п.1, отличающийся тем, что направляющие имеют квадратную форму в поперечном сечении, а их рабочие грани расположены под углом 45° к срединной плоскости цепной передачи привода и симметричны ей.
РИСУНКИ
|
|