|
|
(21), (22) Заявка: 2006103759/06, 09.02.2006
(24) Дата начала отсчета срока действия патента:
09.02.2006
(46) Опубликовано: 20.06.2007
(56) Список документов, цитированных в отчете о поиске:
RU 2225949 C1, 20.03.2004. RU 2160850 C1, 20.12.2000. US 1112203 А, 29.09.1914. GB 2081390 А, 17.02.1982. FR 1011132 А, 19.06.1952.
Адрес для переписки:
143404, Московская обл., г. Красногорск, ул. Ленина, 15А, кв.196, В.В. Шабатурову
|
(72) Автор(ы):
Шабатуров Валентин Владимирович (RU)
(73) Патентообладатель(и):
Шабатуров Валентин Владимирович (RU)
|
(54) АВТОНОМНОЕ ЭЛЕКТРОГЕНЕРИРУЮЩЕЕ УСТРОЙСТВО
(57) Реферат:
Устройство предназначено для преобразования энергии воздушного потока, возникающего в открытой с торцов вертикальной трубе в электрическую энергию. Автономное электрогенерирующее устройство содержит силовой блок (СБ), систему создания потока воздуха через СБ и блок стабилизации и регулирования выходного напряжения. При этом СБ выполнен в виде цилиндрического полого вертикально установленного корпуса с размещенным внутри него статором электрического генератора, внутри которого на вертикальном валу установлена многоступенчатая пропеллерная турбина с охватывающим ее ротором электрического генератора, выполненным магнитным или с обмотками возбуждения. Вертикальный вал турбины установлен на верхней и нижней магнитных опорах (МО), каждая из которых образована выполненным из магнита конусом, установленным в конусной полости магнитного основания, причем магнитное основание верхней МО установлено выше ротора. Магнитное основание нижней МО расположено ниже ротора, а конус и конусная полость основания обращены одинаковыми магнитными полюсами навстречу друг другу. Система создания потока воздуха через СБ состоит из двух частей: нижней, на которой расположен СБ, и верхней, прикрепленной сверху к СБ, при этом нижняя часть выполнена в виде цилиндрической обечайки и предназначена для создания потока воздуха на входе в СБ, а верхняя часть выполнена в виде трубы из жесткого или мягкого воздухонепроницаемого материала. Выполненная из мягкого материала верхняя часть снабжена растяжками и внутренними перемычками для фиксации положения верхней части относительно СБ и образованными в стенке верхней части полостями из газонепроницаемого материала, заполненными газом легче воздуха и сообщенными с резервуаром через клапан для подачи газа легче воздуха в эти полости. Устройство обеспечивает экологически безопасное получение электроэнергии различной мощности. 2 ил.
Изобретение относится к области электроэнергетики и предназначено для производства электроэнергии с использованием нетрадиционных возобновляемых источников, а именно потока воздуха, возникающего в результате естественной разности давления воздуха над поверхностью земли и на высоте.
Известно устройство для выработки электроэнергии, содержащее вертикально установленную трубу со стенкой корпуса переменного сечения с расширением в верхнем и нижнем сечениях и сужением в средней части трубы, в которой размещена пропеллерная турбина, соединенная с ротором электрогенератора (см. патент США №4016725 А, МПК 7 F02С 1/04, 12.04.1977).
Однако данное устройство требует подогрева воздуха в нижней части трубы и при этом не позволяет получить значительную мощность из-за конструкции электрогенератора.
Наиболее близким к изобретению по технической сущности и достигаемому результату является устройство для выработки электроэнергии, которое содержит вертикально установленный корпус с внутренним каналом переменного сечения с сужением в средней части корпуса, в которой размещена многоступенчатая пропеллерная турбина, соединенная с цилиндрическим ротором электрогенератора, выполненным магнитным или с обмоткой возбуждения, и снабженная конусообразной насадкой в нижней части, при этом внутренний канал открыт с верхнего торца корпуса, а в нижней части корпуса выполнены отверстия для регулируемого притока воздуха посредством системы управления, имеющей также электронную часть для стабилизации параметров электрического тока, статор электрогенератора выполнен в виде двух цилиндрических обечаек, закрепленных на корпусе коаксиально относительно ротора и снабженных электрическими обмотками, причем ротор установлен на магнитной подвеске, а над верхним торцом корпуса установлен с возможностью вертикального перемещения защитный колпак (см. патент RU №2225949, кл. F03G 7/04, 20.03.2004).
Данная конструкция устройства позволяет получать электрическую энергию, однако выполнение устройства с двумя статорами и расположенным между ними ротором усложняет конструкцию и приводит к увеличению габаритов устройства, что сужает область использования устройства.
Задачей, на решение которой направлено настоящее изобретение, является упрощение конструкции электрогенерирующего устройства и расширение области его использования.
Техническим результатом, на достижение которого направлено изобретение, является повышение надежности работы электрогенерирующего устройства за счет упрощения конструкции электрического генератора и выполнения устройства в виде модульной конструкции, легко адаптируемой к конкретным задачам потребителя.
Указанная задача решается, а технический результат достигается за счет того, что автономное электрогенерирующее устройство содержит силовой блок, систему создания потока воздуха через силовой блок и блок стабилизации и регулирования выходного напряжения, при этом силовой блок выполнен в виде цилиндрического полого вертикально установленного корпуса с размещенным внутри него статором электрического генератора, внутри которого на вертикальном валу установлена многоступенчатая пропеллерная турбина с охватывающим ее ротором электрического генератора, выполненным магнитным или с обмотками возбуждения, вертикальный вал турбины установлен на верхней и нижней магнитных опорах, каждая из которых образована выполненным из магнита конусом, установленным в конусной полости магнитного основания, причем магнитное основание верхней магнитной опоры установлено выше ротора, магнитное основание нижней магнитной опоры расположено ниже ротора, а конус и конусная полость основания обращены одинаковыми магнитными полюсами навстречу друг другу, система создания потока воздуха через силовой блок состоит из двух частей: нижней, на которой расположен силовой блок, и верхней, прикрепленной сверху к силовому блоку, при этом нижняя часть выполнена в виде цилиндрической обечайки и предназначена для создания потока воздуха на входе в силовой блок, а верхняя часть выполнена в виде трубы из жесткого или мягкого воздухонепроницаемого материала, причем выполненная из мягкого материала верхняя часть снабжена растяжками и внутренними перемычками для фиксации положения верхней части относительно силового блока и образованными в стенке верхней части полостями из газонепроницаемого материала, заполненными газом легче воздуха и сообщенными с резервуаром через клапан для подачи газа легче воздуха в эти полости.
В ходе исследования различных конструкций электрогенерирующих устройств было выявлено, что наиболее рационально выполнение устройства, состоящего из трех функциональных частей: 1) силового блока, 2) системы создания потока воздуха и 3) блока стабилизации и регулирования выходного напряжения в зависимости от нужд потребителя.
Электроэнергия вырабатывается в силовом блоке, преобразующем кинетическую энергию воздушного потока в электрическую энергию.
Система создания потока воздуха состоит из двух частей, нижняя часть предназначена для крепления на ней силового блока и обеспечивает ламинарный подвод воздуха к пропеллерной турбине, а верхняя обеспечивает необходимый перепад давлений и, соответственно, расход воздуха, влияющий на мощность устройства. Верхняя часть, имеющая цилиндрическую форму, может быть выполнена как с жесткими стенками (при общей небольшой высоте устройства), так и с мягкими воздухонепроницаемыми стенками (при общей высоте сотни метров), имеющими внутренние полости для заполнения газом легче воздуха, обеспечивающего вертикальное расположение верхней части, ее подъем (надувание) и систему растяжек и внутренних перемычек, придающих конструкции цилиндрическую форму и удерживающую в вертикальном положении в случае ветра.
Блок стабилизации и регулирования выходного напряжения позволяет преобразовывать ЭДС, наводимую в статоре устройства в необходимые для потребителя параметры электрического тока. В зависимости от назначения устройства это может быть как постоянный, так и переменный ток, различного напряжения и частоты.
Таким образом конструкция устройства легко собирается и быстро запускается в работу, поскольку модульное выполнение устройства позволяет создавать модули, которые полностью подготовлены для работы на месте установки, что снижает вероятность ошибок обслуживающего персонала в ходе сборки и подготовки к работе электрогенерирующего устройства.
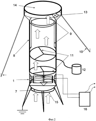
На фиг.1 схематично представлен продольный разрез силового блока и на фиг.2 схематично представлен продольный разрез автономного электрогенерирующего устройства.
Автономное электрогенерирующее устройство содержит силовой блок (см. фиг.1), который состоит из вертикально установленного цилиндрического корпуса 1, внутри которого размещена многоступенчатая пропеллерная турбина 2, соединенная с охватывающим ее ротором 3 электрического генератора, выполненным магнитным или с обмоткой возбуждения. Вокруг ротора 3 коаксиально размещены электрические обмотки, образующие статор 4 электрического генератора. Вал турбины 2 и одновременно ротора 3 установлен на магнитных опорах – верхней и нижней. Каждая магнитная опора состоит из основания 5 с конусной полостью и конуса 6, расположенного в конусной полости и обращенного к последней одинаковым с ней магнитным полюсом. Выполнение конуса 6 и основания 5 с конусной полостью дает возможность обеспечить центровку ротора 3 относительно статора 4.
Система создания необходимого потока воздуха (см. фиг.2) состоит из двух частей, нижняя часть 7 предназначена для крепления на ней силового блока и обеспечения ламинарного режима подвода воздуха к пропеллерной турбине 2. Верхняя часть 8, имеющая цилиндрическую форму, может быть, как описано выше, изготовлена из мягкого воздухонепроницаемого материала, при этом верхняя часть 8 выполнена с полостями 9 из газонепроницаемого материала для заполнения газом легче воздуха, обеспечивающим вертикальное расположение верхней части 8 (надувание и подъем). Система растяжек 10 и внутренних перемычек 11 придает конструкции цилиндрическую форму и удерживает в вертикальном положении в случае ветра. Для компенсации утечек газа внутренние полости соединены с резервуаром 12, содержащим запас газа, а для сворачивания конструкции и выпуска газа легче воздуха из полостей 9 служит управляемый клапан 13. Одновременно над верхней частью 9 может быть установлен навес 14, который служит для защиты силового блока от атмосферных осадков. Расход воздуха через силовой блок регулируется на входе в последний заслонкой, например горизонтальной заслонкой 15.
Для маломощных устройств (например, для столбов уличного освещения) возможно изготовление верхней части 8 из жесткого материала без системы растяжек 10 и внутренних перемычек 11.
Блок стабилизации и регулирования выходного напряжения 16 служит для преобразования ЭДС, наводимой в статоре устройства в необходимые для потребителя параметры электрического тока (постоянный, переменный, частота, количество фаз), и изготавливается в зависимости от назначения устройства.
Автономное электрогенерирующее устройство работает следующим образом.
При открытии заслонки 15 через нижнюю часть 7 за счет разности давления воздуха у земли и на высоте верхней части устройства в силовой блок (см. фиг.1) поступает непрерывный воздушный поток. Поток воздуха, оказывая давление на лопасти турбины 2, жестко соединенные с ротором 3, приводит во вращение ротор электрогенератора. Ротор 3, будучи магнитным, вращаясь, наводит ЭДС в обмотках статора 4, возникает электрический ток, параметры которого приводятся к необходимым потребителю величинам блоком стабилизации и регулирования выходного напряжения 16. Охлаждение элементов электрогенератора осуществляется воздушным потоком, проходящим через устройство. Для защиты от атмосферных воздействий служит расположенный над верхней частью 8 навес 14. Магнитные опоры минимизируют потери на трение, что позволяет повысить КПД турбины 2, одновременно обеспечивая долговечность эксплуатации устройства.
Проведенные расчеты показывают, что установленная мощность устройства может составлять от десятков кВт (высота устройства несколько десятков метров при диаметре ротора 2 до 2 м) до нескольких МВт (высота – сотни метров, диаметр ротора 2 до 10 м). Мощность предлагаемого устройства зависит от расхода воздуха через силовой блок, КПД турбины, диаметра и конструкции ротора. Указанные параметры (прежде всего расход воздуха) возможно регулировать в значительных пределах. Таким образом, существует возможность удовлетворять потребности в электроэнергии как бытовых, так и промышленных потребителей.
Устройство может иметь следующие практические применения:
В промышленных целях в качестве основного или резервного (аварийного) источника электроэнергии для:
– электроснабжения энергоемких производств;
– электрохимии (электролизные процессы, в частности получение водорода);
– электрического транспорта;
– энергоснабжения удаленных и труднодоступных районов;
– дорожного (уличного) освещения;
– обеспечения электроэнергией промышленных предприятий с сезонными или колеблющимися в течение суток потребностями в электричестве;
– проведения аварийно-спасательных работ.
Особо следует отметить возможность максимального приближения генерации энергии к конечному потребителю, что не требует создания сетевой передающей и распределительной инфраструктуры. А с учетом экологической чистоты и безопасности процесса, а также низкой стоимости вырабатываемой энергии выработки энергии можно говорить об экономической эффективности широкомасштабного применения предлагаемого устройства.
В бытовых целях устройство возможно использовать в качестве автономного источника энергии для жилищно-коммунальных нужд (энергоснабжение, освещение, теплоснабжение, подогрев воды) поселков, частных и многоквартирных зданий, перевод объектов ЖКХ (котельных) с углеводородного топлива на электричество. Замена природного газа, используемого в бытовых целях и автотранспорте, на водород и т.д.
Формула изобретения
Автономное электрогенерирующее устройство, содержащее силовой блок, систему создания потока воздуха через силовой блок и блок стабилизации и регулирования выходного напряжения, при этом силовой блок выполнен в виде цилиндрического полого вертикально установленного корпуса с размещенным внутри него статором электрического генератора, внутри которого на вертикальном валу установлена многоступенчатая пропеллерная турбина с охватывающим ее ротором электрического генератора, выполненным магнитным или с обмотками возбуждения, вертикальный вал турбины установлен на верхней и нижней магнитных опорах, каждая из которых образована выполненным из магнита конусом, установленным в конусной полости магнитного основания, причем магнитное основание верхней магнитной опоры установлено выше ротора, магнитное основание нижней магнитной опоры расположено ниже ротора, а конус и конусная полость основания обращены одинаковыми магнитными полюсами навстречу друг другу, система создания потока воздуха через силовой блок состоит из двух частей: нижней, на которой расположен силовой блок, и верхней, прикрепленной сверху к силовому блоку, при этом нижняя часть выполнена в виде цилиндрической обечайки и предназначена для создания потока воздуха на входе в силовой блок, а верхняя часть выполнена в виде трубы из жесткого или мягкого воздухонепроницаемого материала, причем выполненная из мягкого материала верхняя часть снабжена растяжками и внутренними перемычками для фиксации положения верхней части относительно силового блока и образованными в стенке верхней части полостями из газонепроницаемого материала, заполненными газом легче воздуха и сообщенными с резервуаром через клапан для подачи газа легче воздуха в эти полости.
РИСУНКИ
|
|