|
|
(21), (22) Заявка: 2004118736/06, 21.06.2004
(24) Дата начала отсчета срока действия патента:
21.06.2004
(43) Дата публикации заявки: 10.01.2006
(46) Опубликовано: 20.06.2007
(56) Список документов, цитированных в отчете о поиске:
БОРОШОК Л.А. Гидравлические элементы в системах автоматики сельскохозяйственных агрегатов. – М.: Машиностроение, 1969, с.73-77. FR 725958 A, 20.05.1932. RU 2135839 C1, 27.08.1999. RU 2116500 C1, 27.07.1998. ГРИВЧЕНКО Г.И. Гидравлические машины. – М.: Энергоатомиздат, 1983, с.308-310. US 2379314 А, 19.08.1942. FR 2486165 A1, 08.01.1982.
Адрес для переписки:
360000, г.Нальчик, ул.И.Арманд, 37″а”, В.Ч.Кудаеву
|
(72) Автор(ы):
Каракулин Евгений Алексеевич (RU), Кудаев Валерий Черимович (RU)
(73) Патентообладатель(и):
Институт информатики и проблем регионального управления Кабардино-Балкарского научного центра РАН (RU), Каракулин Евгений Алексеевич (RU), Кудаев Валерий Черимович (RU)
|
(54) ТРАНСФОРМАТОР ДАВЛЕНИЙ ПОТОКОВ ЖИДКОСТИ В ТРУБОПРОВОДНОЙ СИСТЕМЕ
(57) Реферат:
Изобретение относится к технике для транспортирования жидкостей по трубопроводным системам, в частности к устройствам для увеличения удельной энергии части общего потока жидкости с недостаточно высокой удельной энергией давления за счет уменьшения энергии давления остальной части общего потока жидкости. Трансформатор потоков жидкости содержит соединенные между собой валом гидравлический насос и гидравлический двигатель. При этом в качестве гидронасоса использован лопаточный центробежный насос, а в качестве гидравлического двигателя применена гидротурбина, тип которой определяется параметрами исходного и требуемых потоков жидкости. Между насосом и гидротурбиной может быть установлен мультипликатор или редуктор. Насос и/или гидротурбина являются многоступенчатыми. Конструкция устройства позволяет обеспечить существенно различные потребные напоры в трубопроводах ответвлений от узлов трубопроводной системы, что приводит к значительной экономии потребляемой энергии. 2 з.п. ф-лы, 2 ил.
Область техники. Изобретение относится к технике для транспортирования жидкостей по трубопроводным системам и, в частности, к устройствам для увеличения удельной энергии части общего потока жидкости с недостаточно высокой удельной энергией давления за счет уменьшения энергии давления остальной части общего потока жидкости.
Трансформаторы потоков жидкости позволят регулировать напоры на их выходах, что значительно сократит энергетические затраты трубопроводной системы и повысит ее надежность. Трансформаторы могут быть использованы и как устройства, подающие воду от водопадов (водосбросов) к расположенным на больших высотах точкам водопотребления без использования электрической и тепловой энергии.
Уровень техники. Известны “делители потока жидкости” [Борошок Л.А. Гидравлические элементы в системах автоматики сельскохозяйственных агрегатов. – М.: Машиностроение, 1969, с.73-77 (прототип), Башта Т.М. Гидропривод и гидроавтоматика. – М.: Машиностроение, 1972, с.115-118.], представляющие собой соединенные валом или через общую шестерню шестеренчатый гидронасос и шестеренчатый гидродвигатель. На их входы подается поток тщательно отфильтрованного машинного масла при некотором давлении, а на выходах получаются два потока жидкости, один из которых имеет большее давление, чем исходный поток, а второй – меньшее давление. Эти потоки масла в дальнейшем используются для приводов агрегатов с различными потребными давлениями масла. Упомянутые гидронасос и гидродвигатель относятся к гидравлическим машинам вытеснительного типа, вызывают пульсации давлений жидкости, что приводит к относительно большому снижению их эффективных коэффициентов полезного действия. Обеспечивать достаточно длительную работоспособность таких устройств возможно только при применении тщательно отфильтрованных хорошо смазывающих трущиеся поверхности рабочих жидкостей средней вязкости (например, машинных масел) и обеспечении крайне малых (0,02-0,03 мм) зазоров между их зубчатыми колесами и корпусами. Это делает их неработоспособными на маловязких (плохо смазывающих трущиеся поверхности) жидкостях, содержащих твердые частицы (например, на речной воде). Их номинальный коэффициент полезного действия на маловязких жидкостях недопустимо уменьшается. Такие устройства являются более предпочтительными к применению в малорасходных системах, где компактность и эффективный коэффициент полезного действия имеют второстепенное значение. Однако главный недостаток прототипа состоит в том, что он имеет жесткую связь расходов жидкости, протекающих через гидронасос и гидродвигатель (так как он вытеснительного типа), при которой прекращение расхода жидкости через один из них неизбежно вызывает прекращение расхода жидкости через другой из них (и через всю систему). Это исключает возможность его применения в качестве устройства согласующего давления и расходы жидкости между ветвями трубопроводной системы, то есть возможность использования его в качестве приспосабливаемого автотрансформатора [Каракулин Е.А., Кудаев В.Ч. Исследование возможности применения трансформаторов потоков жидкости в системах водоснабжения и орошения. “Мелиорация и водное хозяйство”. 2004, №1, с.28-32].
Раскрытие изобретения. При проектировании разветвленных трубопроводных систем для дальнего транспортирования жидкостей (магистральных водо-, нефтепроводов; систем водоснабжения населенных пунктов, расположенных на существенно различных высотах; закрытых оросительных систем и др.) возникает проблема обеспечения необходимых напоров (давлений) жидкости на входах в трубопроводы ответвлений от узла их разветвления. Различие упомянутых потребных напоров жидкости возникает из-за различных потерь напоров в трубопроводах ответвлений на распределенных и сосредоточенных гидравлических сопротивлениях и из-за различия геодезических высот их концов.
Одним из выходов из такого положения, который часто применяется в системах городского водоснабжения и в оросительных системах, является дросселирование напора жидкости в одном или нескольких трубопроводах ответвлений. Оптимизация сети путем дросселирования избыточного напора жидкости непосредственно на трубопроводах приводит к уменьшению капитальных затрат при сохранении энергетических потерь. Другим способом решения этой проблемы является размещение дополнительной насосной установки на трубопроводе высоконапорного ответвления. В таком случае требуются затраты для подвода электроэнергии (обычно на значительное расстояние), защитное помещение и обслуживание. Для насосной установки с двигателем внутреннего сгорания также необходимо помещение, подвоз горючего и обслуживание. Таким образом, существующие способы регулирования напоров на входах в трубопроводы не позволяют создавать высокоэффективные сетевые системы.
Задача состоит в том, чтобы разработать устройство, позволяющее обеспечить потребные напоры жидкости в трубопроводах ответвлений от узла разветвления трубопроводов, которое имело бы высокий коэффициент полезного действия, было работоспособно на маловязких жидкостях, содержащих твердые частицы (например, на речной воде), не имело жесткой связи расходов жидкости, протекающих через его выходы, а также не имело других упомянутых выше недостатков: необходимость подвода и расходования электроэнергии, подвоза и расходования горючего, защитного помещения и постоянного обслуживания.
Эта задача может быть эффективно решена с помощью предлагаемого трансформатора давлений потоков жидкости. Конструктивная схема трансформатора изображена на фиг.1 и представляет соединенные между собой лопаточный центробежный насос и лопаточную турбину (например, центростремительную).
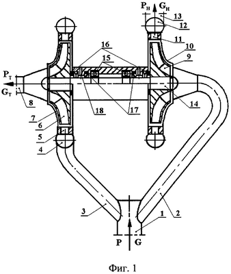
На фиг.1 обозначено: 1 – трубопровод подвода суммарного расхода жидкости (например, воды); 2, 3 – соответственно трубопровод подвода части суммарного расхода жидкости к лопаточному центробежному насосу и к лопаточной центробежной турбине; 4 – коллектор; 5 – сопловой аппарат; 6 – рабочее колесо турбины; 7 – корпус турбины; 8 – трубопровод отвода жидкости от турбины; 9 – рабочее колесо насоса; 10 – корпус насоса; 11 – лопаточный диффузор; 12 – улиточный диффузор; 13 – трубопровод отвода жидкости от насоса; 14 – вал; 15 – подшипники качения; 16 – торцовые уплотнения; 17 – манжетные или сальниковые уплотнения; 18 – отверстие для слива просочившейся жидкости.
Трансформатор давлений потоков жидкости функционирует следующим образом. Жидкость из трубопровода 1 поступает в насос и турбину соответственно по трубопроводам 2 и 3, вращает колесо турбины 6, которое, в свою очередь, через вал 14 вращает колесо 9 насоса. Давление жидкости на выходе из колеса насоса относительно небольшое, так как основная часть ее энергии является кинетической, которая в основном преобразовывается в энергию давления после прохождения лопаточного и улиточного диффузоров. Аналогично в обратном порядке происходит преобразование энергии в турбине. Эти обстоятельства с учетом эффекта от вращения колес 9 и 6 позволяют обеспечивать достаточно высокий эффективный коэффициент полезного действия трансформатора при гораздо больших зазорах между колесами и корпусами турбины и насоса по сравнению с зазорами между зубчатыми колесами и корпусами гидравлического насоса и гидравлического двигателя прототипа, а значит, позволяет обеспечить работоспособность трансформатора на умеренно загрязненных твердыми частицами маловязкой жидкости (например, на речной воде).
При этом давление (напор) жидкости в трубопроводе 7 на выходе из насоса 4 будет больше, чем в подведенном к нему потоке жидкости, а на выходе из турбины 2 в трубопроводе 8, наоборот, меньше. Степень такой трансформации давлений (напоров) потоков жидкости определяется следующими уравнениями балансов давлений и расходов жидкости и мощностей (крутящих моментов) насоса и турбины на валу трансформатора на установившемся режиме:




где P, G – соответственно давление и массовый расход жидкости на входе в трансформатор;
PТ, GТ – соответственно давление и массовый расход жидкости на выходе из турбины;
РН, GН – соответственно давление и массовый расход жидкости на выходе из насоса;
РT, РH – соответственно понижение давления потока жидкости в турбине и повышение давления потока жидкости в насосе;
NT, NH – соответственно мощность турбины и насоса;
T, H – соответственно полный коэффициент полезного действия турбины и насоса;
– плотность жидкости.
Из (1-4) следует основное соотношение для трансформатора давлений потоков жидкости, связывающее давления на его входе и выходах

где Р – давление на входе трансформатора.
В общем случае функционирование представляемого трансформатора давлений жидкости на установившихся и неустановившихся режимах описываются следующими уравнениями, аппроксимирующими экперементально определенные соответствующие зависимости [Овсянников Б.В., Боровский Б.Н. Теория и расчет агрегатов питания жидкостных ракетных двигателей. 2-е изд., перераб. и доп. – М.: Машиностроение, 1979.] и имеет вид:









где t – время;
n – обороты ротора (вала) трансформатора потоков жидкости в единицу времени;
AT, BT, CT, DT, ET, KT; АH, ВH, СH, DH, ЕH, КH – постоянные коэффициенты, соответственно в уравнениях турбины и насоса;
J – суммарный момент инерции вращающихся частей (турбины, насоса и вала и др.).
Уравнения (6-14) описывают функционирование трансформатора на режимах при отклонениях расходов от номинальных в пределах рабочих частей напорных характеристик насоса и турбины.
В состав трансформаторов могут входить одно- и двухступенчатые турбины и насосы различных типов, которые между собой могут соединяться редукторами и мультипликаторами. Более сложные трансформаторы могут иметь по несколько турбин и насосов с различными номинальными напорами жидкости и соответственно по несколько подводящих и отводящих жидкость трубопроводов.
Поскольку коэффициенты полезного действия серийного насоса ( H) и турбины ( T) при изменении расходов жидкости через них в диапазоне ±45% от номинальных значений соответственно равны H 0,76-0,70 и T 0,86-0,80 [Овсянников Б.В., Боровский Б.Н. Теория и расчет агрегатов питания жидкостных ракетных двигателей. 2-е изд., перераб. и доп. – М.: Машиностроение, 1979.], то суммарный коэффициент полезного действия трансформатора T H 0,65-0,56, а его среднее значение = T H=0,61.
Осуществление изобретения. Рассмотрим некоторые варианты применения трансформатора давлений жидкости.
1 вариант. Применение трансформатора для транспорта воды от водопадов (водосбросов) к потребителю за счет энергии водопада. Пусть от водопада высотой 10 м требуется подать воду с расходом 1 л/с (84,4 тонны за сутки) по трубопроводу к высокогорному пастбищу, расположенному выше основания водопада на 100 м. Расчетные потери напора при движении воды по трубопроводу от водопада к пастбищу примем равными 10 м. Определим величину потока воды, которую следует подать от водопада на турбину трансформатора для того, чтобы обеспечить на выходе из насоса давление, достаточное для транспорта воды.
На выходе из насоса трансформатора следует обеспечить давление PH=Ратм+10+100 120 м, выходной поток из насоса GН=1 (л/с), напор на входе в трансформатор Р=Ратм+10=20 (м), напор на выходе из турбины PТ=Ратм=10 (м). Из (5)получим

Общий поток в трансформатор равен GТ+GН=16,4+1=17,4 (л/с). Таким образом, даже небольшие водопады (водосбросы) могут эффективно использоваться для подачи воды на большие высоты и расстояния без затрат электроэнергии.
Для того, чтобы выполнить эту работу с помощью грузовиков трехтонной грузоподъемности, потребуется 29 их двойных рейсов по высокогорным дорогам. Для транспорта воды также не выгодно использовать электронасосный агрегат, так как при этом потребуются значительные затраты на получение и подвод электроэнергии. Для транспорта же воды с помощью трансформатора потоков жидкости будет использоваться непосредственно энергия водопада (без использования электрогенератора и электродвигателя). На фиг.2 представлена схема использования трансформатора потоков жидкости в описанном случае: 1 – ручей; 2 – водозаборник; 3 – сетка; 4 – низконапорный трубопровод; 5 – высоконапорный трубопровод; 6 – трансформатор; 7 – патрубок слива; 8 – емкость для сбора воды; 9 – профиль местности.
2 вариант. Пусть G+, G–, P+,Р– – соответственно заданные потоки и напоры, которые требуется обеспечить в высоконапорном и низконапорном ответвлениях от узла сети городского водоснабжения. Следует подобрать напор на входе в трансформатор и сравнить энергетические затраты при работе узла с трансформатором и без него.
При работе с трансформатором: GH=G+, РH=Р+, GT=G–, РT=Р– и из (5) при G+=10 л/сек, G–=20 л/сек, P+=40 м, Р–=20 м получим необходимое давление воды на входе в трансформатор:

При работе без трансформатора на входе в узел разветвления пришлось бы обеспечить наибольший из потребных напоров ответвлений т.е. Р=Р+=40 м. Поэтому работа узла с трансформатором будет экономичнее в 40/29=1,37 раза. Немаловажно и то, что использование трансформаторов повысит равномерность подачи воды по сети в случае недостаточных напоров и расходов на насосных станциях.
Поскольку лопаточные турбины и насосы широко применяются для работы на речной воде и других маловязких и умеренно загрязненных твердыми частицами жидкостях, то и диапазон эффективной работы трансформатора давлений потоков жидкости находится в пределах рабочих характеристик турбины и насоса.
Трансформаторы давлений потоков жидкостей могут быть сконструированы на основе серийно выпускаемых насосов и турбин, собранных на одном валу.
Формула изобретения
1. Трансформатор давлений потоков жидкости, служащий для увеличения удельной энергии давления части поступающего в него расхода жидкости за счет уменьшения удельной энергии давления остальной части поступающего в него расхода жидкости, содержащий соединенные между собой валом гидравлический насос и гидравлический двигатель, отличающийся тем, что, с целью исключения жесткой связи между расходами жидкости гидронасоса и гидродвигателя, а также обеспечения его работоспособности на содержащих твердые частицы и плохо смазывающих поверхности трения жидкостях, получения компактного высокопроизводительного агрегата, имеющего высокий коэффициент полезного действия, имеет в качестве гидронасоса лопаточный центробежный насос, а в качестве двигателя гидротурбину, тип которой определяется параметрами исходного и требуемых потоков жидкости.
2. Трансформатор по п.1, отличающийся тем, что между насосом и гидротурбиной установлен мультипликатор или редуктор.
3. Трансформатор по п.1, отличающийся тем, что насос и/или турбина являются многоступенчатыми.
РИСУНКИ
MM4A – Досрочное прекращение действия патента СССР или патента Российской Федерации на изобретение из-за неуплаты в установленный срок пошлины за поддержание патента в силе
Дата прекращения действия патента: 22.06.2007
Извещение опубликовано: 10.04.2008 БИ: 10/2008
NF4A – Восстановление действия патента СССР или патента Российской Федерации на изобретение
Дата, с которой действие патента восстановлено: 20.04.2008
Извещение опубликовано: 20.04.2008 БИ: 11/2008
MM4A – Досрочное прекращение действия патента СССР или патента Российской Федерации на изобретение из-за неуплаты в установленный срок пошлины за поддержание патента в силе
Дата прекращения действия патента: 22.06.2008
Извещение опубликовано: 20.06.2010 БИ: 17/2010
|
|