|
|
(21), (22) Заявка: 2005138017/06, 06.12.2005
(24) Дата начала отсчета срока действия патента:
06.12.2005
(46) Опубликовано: 20.06.2007
(56) Список документов, цитированных в отчете о поиске:
SU 832102 A1, 23.05.1981. SU 461241 A1, 25.02.1975. US 2003121265 А, 03.07.2003. GB 1371220 А, 23.10.1974. FR 2055317 A1, 07.05.0971.
Адрес для переписки:
117997, Москва, В-342, ГСП-7, ул. Профсоюзная, 65, ИПУ, патентный отдел
|
(72) Автор(ы):
Пащенко Федор Федорович (RU), Торшин Владимир Викторович (RU), Круковский Леонид Ефимович (RU), Кабанов Дмитрий Александрович (RU)
(73) Патентообладатель(и):
Институт проблем управления им. В.А. Трапезникова РАН (RU)
|
(54) УСТРОЙСТВО ДЛЯ ПУСКА ДИЗЕЛЬНОГО ДВИГАТЕЛЯ
(57) Реферат:
Изобретение относится к машиностроению, в частности к двигателестроению, и может быть применено для запуска двигателей внутреннего сгорания (ДВС), в частности дизельных двигателей. Устройство для пуска дизельного двигателя содержит камеру внутреннего сгорания, систему, создающую первоначальное сжатие для воспламенения горючего, топливный насос и механизм, передающий движение на рабочий орган. Система, создающая первоначальное сжатие, выполнена в виде цилиндра, расположенного над камерой внутреннего сгорания, содержащая в верхней части цилиндра пусковую камеру с жидкостью и связанную с емкостью, заполненной жидкостью. Внутрь пусковой камеры введены электроды, соединенные с источником импульсного высоковольтного напряжения. Пусковая камера отделена от полости цилиндра разделительным поршнем. Разделительный поршень пусковой камеры и поршень сжатия жестко соединены между собой. Между верхней поверхностью крышки камеры сгорания и подвижным поршнем пусковой камеры установлена пружина сжатия. Механизм, передающий движение на рабочий орган, содержит кривошипно-шатунный элемент и пневматическую пружину в виде цилиндра с воздушными камерами, разделенными поршнем. А поршень пневматической пружины снабжен штоком, который шарнирно сочленен с шатунной шейкой кривошипно-шатунного элемента. Цилиндр пневматической пружины шарнирно сочленен с неподвижной частью двигателя, камеры цилиндра пневматической пружины снабжены воздушными карманами. Источник импульсного высоковольтного напряжения электрически соединен с датчиком детонации, установленным на камере сгорания, и дифференциальным мембранным датчиком давления, сочленным трубками с воздушными карманами. Изобретение обеспечивает повышение надежности и безопасности системы пуска ДВС, увеличение ресурса работы, а также расширение области применение двигателя. 2 з.п. ф-лы, 2 ил.
Изобретение относится к машиностроению, в частности к двигателестроению, и может быть применено для запуска двигателей внутреннего сгорания (ДВС), в частности дизельных двигателей.
Известно устройство для пуска двигателей внутреннего сгорания, содержащее баллон со сжатым воздухом, подключенный к цилиндрам двигателя, сообщенный с воздушным компрессором и подсоединенный к цилиндрам пороховой газогенератор с пиропатроном-воспламенителем, включенным в электрическую цепь бортового источника питания, и механизм, передающий движение на рабочий орган. См., например, а.с. СССР №983299, МПК F02N 13/00 «Устройство для запуска двигателя внутреннего сгорания», опубл. 23.12.82, Б.И. №47.
Недостаток известного устройства заключается в том, что для пуска двигателя применено сложное устройство, состоящее из двух элементов, а именно из воздушного компрессора и пиропатрона. К тому же использование пиропатрона небезопасно.
Известно также устройство для пуска двигателя внутреннего сгорания, содержащее камеру внутреннего сгорания с твердотопливным зарядом, подключенную к пусковой турбине, кинематически связанной с коленчатым валом двигателя, и механизм, передающий движение на рабочий орган. См., например, а.с. СССР №985391, МПК F02N 13/00 «Устройство для запуска двигателя внутреннего сгорания», опубл. 30.12.1982 г., Б.И. №48.
Недостаток известного устройства заключается в том, что в нем, по существу, имеется два пускателя, состоящих из газовой турбины и камеры сгорания. Кроме того, так же как и приведенный выше аналог, устройство небезопасно из-за наличия в нем твердотопливного заряда, который может взорваться и повредить двигатель и персонал.
Наиболее близким и принятым за прототип является устройство для пуска дизельного двигателя, описанный в а.с. СССР №832102, МПК F02N 13/00 «Трубчатый дизель-молот» опубл., 23.03.1981, Б.И. №19.
Устройство содержит камеру внутреннего сгорания, систему для пуска двигателя, создающую первоначальное сжатие для воспламенения горючего, топливный насос и механизм, передающий движение на рабочий орган.
Известное устройство имеет простую конструкцию, может использоваться для одноцилиндрового дизельного двигателя.
Недостатки известного устройства для пуска дизельного двигателя заключаются в том, что при пуске в нем используются пороховые разряды, что небезопасно. Кроме того, известный ДВС не может быть применен для широкого внедрения, поскольку в нем не предусмотрен элемент, преобразующий возвратно-поступательное движение поршня во вращательное движение рабочего вала. Надежность таких двигателей и ресурс работы невелики.
Целью данного изобретения является повышение надежности и безопасности системы пуска ДВС, увеличение ресурса работы, а также расширение области применения двигателя.
Указанная цель достигается за счет того, что в известном устройстве для пуска дизельного двигателя, содержащем камеру внутреннего сгорания, систему первоначальноого сжатия для воспламенения горючего, топливный насос и механизм, передающий движение на рабочий орган, согласно изобретению система первоначального сжатия выполнена в виде объемного цилиндра, расположенного над камерой внутреннего сгорания, в верхней части цилиндра имеется пусковая камера с жидкостью, связанной с емкостью, заполненной жидкостью, внутрь пусковой камеры введены электроды, соединенные с источником импульсного высоковольтного напряжения, пусковая камера отделена от полости цилиндра разделительным поршнем, в верхней части камеры сгорания имеется поршень сжатия, в крышке камеры сгорания имеется отверстие, снабженное сальником, разделительный поршень пусковой камеры и поршень сжатия жестко соединены между собой стержнем круглого сечения, проходящим через отверстие в верхней крышке камеры сгорания, между верхней поверхностью крышки камеры сгорания и поршнем пусковой камеры установлена пружина сжатия, механизм, передающий движение на рабочий орган, содержит кривошипно-шатунный элемент и пневматическую пружину в виде цилиндра с воздушными камерами, разделенными поршнем, поршень пневматической пружины снабжен штоком, шток шарнирно сочленен с шатунной шейкой кривошипно-шатунного элемента, цилиндр пневматической пружины шарнирно сочленен с неподвижной частью двигателя, камеры пневматической пружины снабжены воздушными карманами, причем источник импульсного высоковольтного напряжения электрически соединен с датчиком детонации, установленным на камере сгорания и дифференциальным мембранным датчиком давления, сочлененным трубками с воздушными карманами.
В варианте технического решения объемный цилиндр и камера внутреннего сгорания выполнены в виде единой детали.
В варианте технического решения камеры пневматической пружины соединены патрубком, в котором установлен управляемый редукционный клапан, реле, включающее клапан, блок управления реле, причем схема управления реле состоит из системы сравнения, электрически соединенной с датчиком положения рабочего вала двигателя и мембранным дифференциальным датчиком давления.
Наличие в устройстве для пуска дизельного двигателя системы, создающей первоначальное сжатие для воспламенения горючего, выполненной в виде объемного цилиндра, расположенного над камерой внутреннего сгорания, в верхней части которого имеется пусковая камера, связанная с емкостью, заполненной жидкостью, а внутрь камеры введены электроды, соединенные с источником импульсного высоковольтного напряжения, позволяет формировать электрогидравлические удары, имеющие высокие внутренние давления. Поскольку пусковая камера отделена от полости цилиндра первоначального сжатия подвижным поршнем, который, в свою очередь, механически связан с поршнем сжатия верхней части камеры сгорания, то в результате создается мощное сжатие горючей в камере сгорания. При этом отпадает необходимость иметь специальную пусковую систему, обычно выполненную либо в виде специального пускового двигателя, либо в виде стартера, либо в виде пиропатронов, как у прототипа. Данное устройство позволяет снизить габаритные размеры пускового устройства, его вес и стоимость. Кроме того, повышается надежность двигателя и безопасность обслуживания ДВС. Использование в кривошипно-шатунном механизме, передающем движение на рабочий орган, пневматической пружины обеспечивает строго определенное направление вращения рабочего вала при пуске двигателя. Датчик детонации, установленный на камере сгорания, обеспечивает контроль за началом работы двигателя и прекращением подачи высоковольтных импульсов. В свою очередь дифференциальный мембранный датчик давления, сочлененный трубками с воздушными карманами, гарантирует начало пуска в таком положении кривошипно-шатунной системы, когда вращение вала происходит только в определенном направлении.
Выполнение цилиндра первоначального сжатия и камеры внутреннего сгорания в виде одной детали упрощает конструкцию ДВС.
Соединение камер пневматической пружины патрубком, в котором установлен управляемый редукционный клапан, реле и блок управления реле, состоящий из системы сравнения, электрически соединенной с датчиком положения рабочего вала двигателя и датчиком давления, позволит обеспечить стабильность нулевой точки пружины в заданном положении вала.
Изобретение иллюстрируется двумя фигурами.
На фиг.1 изображена конструкция устройства для пуска ДВС.
На фиг.2 показана принципиальная схема установки нулевой рабочей точки пневматической пружины.
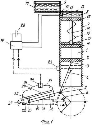
Устройство для пуска дизельного двигателя выполнено следующим образом. Камера внутреннего сгорания 1 (фиг.1) содержит рабочий поршень 2, связанный через шатунную шайбу 3, шатун 4, шатунную шайбу 5 и кривошип 6 с рабочим валом (не показан). Система, создающая первоначальное сжатие, выполнена в виде цилиндра 7, расположенного над камерой внутреннего сгорания 1. В верхней части цилиндра 7 имеется пусковая камера 8, заполненная жидкостью 9. В свою очередь, пусковая камера 8 связана с емкостью 10 шлангом 11, также заполненной той же жидкостью. В шланге 11 имеется электроуправляемый клапан 12. Предполагается использование незамерзающей жидкости, применяемой, например, для смывания лобового стекла автомобиля. Внутрь камеры 8 введены электроды 13, соединенные с системой управления и генерирования импульсов высоковольтного напряжения 14. Электроды 1 и 2 разделены между собой зазором (не обозначен). Пусковая камера отделена от полости цилиндра 7 разделительным поршнем 15. В верхней части камеры сгорания 1 имеется поршень сжатия 16. В крышке (не обозначена) камеры сгорания имеется отверстие 17, снабженное сальником. Разделительный поршень 15 и поршень сжатия 16 жестко соединены между собой стержнем 18 круглого сечения, проходящим через отверстие 17 в верхней крышке камеры сгорания 1. Между верхней поверхностью крышки камеры сгорания и разделительным поршнем 15 установлена пружина сжатия 19. Механизм, передающий движение на рабочий орган, содержит пневматическую пружину 20 в виде цилиндра с воздушными камерами 21 и 22, разделенными поршнем 23. Воздушные камеры через патрубки соединены с воздушными карманами соответственно 24 и 25. Поршень 23 снабжен штоком 26, который шарнирно сочленен с шатунной шейкой 5 кривошипно-шатунного элемента. Цилиндр пневматической пружины 20 на торцевой поверхности, т.е. на стороне, противоположной выходу штока, имеет шарнир 27, с помощью которого он сочленен с неподвижной частью двигателя. Положение поршня 23 в цилиндре пневматической пружины 20 выбрано так, чтобы ее нейтральное положение соответствовало такому состоянию кривошипно-шатунного элемента, когда кривошип 6 располагается перпендикулярно направлению движения рабочего поршня в одном из положений рабочего вала двигателя. На фиг. показано возможное расположение кривошипа 6 при остановке двигателя, который находится в пределах – ÷+ .
Система управления и генерирования импульсов высоковольтного напряжения 14 электрически соединена с источником электроэнергии 28. Кроме того, система высоковольтного напряжения 14 соединена с датчиком детонации 29, установленным на внешней поверхности камеры внутреннего сгорания 1, и с дифференциальным мембранным датчиком давления 30. Последний сочленен трубками 31 с воздушными карманами 22.
В варианте технического решения цилиндр первоначального сжатия и камера внутреннего сгорания выполнены в виде единой детали.
Схема установки нулевой рабочей точки пневматической пружины 20 состоит из патрубка 32, соединяющего между собой камеры 21 и 22 (или карманы 24 и 25). В патрубке 32 установлен управляемый редукционный клапан 33, который включается с помощью реле 34. Блок управления реле 34 состоит из системы сравнения 35, электрически соединенной с датчиком положения рабочего вала (не показан) двигателя и датчиком давления 30.
Устройство для пуска дизельного двигателя действует следующим образом. В спокойном состоянии за счет воздействия пневматической пружины (пружины растяжения) 20 рабочий вал займет положение, которое показано на фиг.1, при котором кривошип 6 будет находиться в пределах – ÷+ от линии, перпендикулярной оси движения поршня 2. Соответственно этому будет располагаться и поршень 2 и шатун 4. В то же время за счет пружины сжатия 19 разделительный поршень 15 и поршень сжатия 16 будут находиться в верхнем положении, оставляя свободное пространство в пусковой камере 8. Клапан 12 открыт. За счет того, что емкость 10 с жидкостью расположена выше камеры 8 жидкость 9 из емкости 10 заполнит пространство пусковой камеры 8. Мембранный датчик давления 29 стоит в нейтральном положении, его контакт замкнут. Соответствующий сигнал от мембранного датчика 29 поступает в систему управления и генерирования импульсов высоковольтного напряжения 14, что свидетельствует о том, что рабочий вал двигателя находится в положении, когда пуск двигателя возможен.
Перед началом пуска включается запорный клапан 12, перекрывая сообщение между емкостью 10 и пусковой камерой 8. Подается топливо в камеру внутреннего сгорания 1. При подаче высоковольтного напряжения на электроды 13 в пусковой камере возникает электрогидравлический удар, в результате которого давление в пусковой камере 8 резко возрастает. За счет высокого давления разделительный поршень 15 вместе с поршнем сжатия 16 начнут двигаться вниз, сжимая топливо в камере 1. Клапан 12 открывается, позволяя жидкости 9 свободно перетекать из емкости 10 в пусковую камеру 8 и обратно. Если воспламенение топлива не произошло, то процесс будет повторяться. Каждый раз при этом перед началом подачи импульса клапан 12 закрывается, а на систему управления и генерирования импульсов высоковольтного напряжения 14 должен поступать сигнал от датчика давления 30. Под действием электрогидравлического удара рабочий поршень будет двигаться вниз, приводя в движение кривошипно-шатунный механизм и вращая рабочий вал. При этом каждый раз по окончании пускового цикла пневматическая пружина 20 будет совершать колебательные движения вокруг шарнира 27 и устанавливать рабочий вал в положение, при котором кривошип 6 будет возвращаться в первоначальное положение (фиг.1), а пружина сжатия 19 будет возвращать разделительный поршень 15 и вместе с ним поршень сжатия 16 в исходное верхнее положение. Если произошло воспламенение топлива в камере 1, то по сигналу датчика детонации 29 режим подачи высоковольтных импульсов прекращается и начинается рабочий процесс работы двигателя. При этом пневматическая пружина каждый раз по окончании процесса работы двигателя будет стремиться останавливать рабочий вал в положение согласно фиг.1. Пневматическая пружина 20 выполняет несколько функций. С одной стороны, она обеспечивает предпусковое положение рабочего вала в одно определенное положение, не допуская остановку вала на состоянии верхней или нижней мертвой точки. С другой стороны, она обеспечивает начало вращения вала только в определенном, заранее выбранном направлении. И, наконец, она обеспечивает большую равномерность работы машины за счет распределения рабочего давления во времени. Воздушные камеры в пневматической пружине позволяют снизить длину цилиндра и обеспечить регулировку усилия пружины путем изменения их объема.
Однако пневматическая пружина 20, по существу, является пружиной одностороннего растяжения. Сила пружины имеет нулевое значение (нулевая точка пружины), когда она устанавливается в определенном положении рабочего вала (см. фиг.1). Из-за возможных зазоров между поршнем 21 и стенками ее цилиндра воздух может частично перетекать через эти зазоры из камеры 21 в камеру 22. При этом смещается нулевая точка пружины, т.е. ее положение, когда она не растянута. Для восстановления нулевой точки пружины необходимо включать на очень короткие промежутки времени, исчисляемые тысячными долями секунды, редукционный клапан 33. Этот клапан включается только в том момент времени, когда при подходе к точке, в которой пружина должна обеспечивать нулевое давление, а мембранный датчик 30 не включается. Это свидетельствует о смещении нулевой точки пружины 20. Момент времени включения клапана 33 контролируется стандартным датчиком положения вала (не показан), сформированным, например, на эффекте Холла. Система сравнения 35 будет включать реле 34 до тех пор, пока не начнет включаться контакт мембранного датчика давления 30 в момент, соответствующий положению рабочего вала, указанному на фиг.1. Поскольку реле 34 может обладать некоторой инерцией при включении, то возможно применение системы опережения включения реле наподобие системы опережения зажигания.
Таким образом, предложенная система пуска не нуждается в каком-либо вращательном приводе для пуска, в ней нет опасных пиропатронов, она проста в изготовлении и надежна в работе. По результатам проведенных в ИПУ РАН РФ испытаний система электрогидравлического удара, аналогичная описанной, обладает достаточной энергией для обеспечения пуска, КПД системы гидравлического удара, при этом достигает 80% и она способна надежно работать в течение длительного времени. Предложенная система пуска вместе с пневмопружиной и системой восстановления ее нулевой точки может быть применена на большинстве ДВС, где традиционно используется электростартер.
Формула изобретения
1. Устройство для пуска дизельного двигателя, содержащее камеру внутреннего сгорания, систему первоначального сжатия для воспламенения горючего, топливный насос и механизм, передающий движение на рабочий орган, отличающееся тем, что система первоначального сжатия выполнена в виде объемного цилиндра, расположенного над камерой внутреннего сгорания, в верхней части объемного цилиндра имеется пусковая камера с жидкостью, связанная с емкостью, заполненной жидкостью, внутрь пусковой камеры введены электроды, соединенные с источником импульсного высоковольтного напряжения, пусковая камера отделена от полости цилиндра разделительным поршнем, в верхней части камеры сгорания имеется поршень сжатия, в крышке камеры сгорания имеется отверстие, снабженное сальником, разделительный поршень пусковой камеры и поршень сжатия жестко соединены между собой стержнем круглого сечения, проходящим через отверстие в верхней крышке камеры сгорания, между верхней поверхностью крышки камеры сгорания и разделительным поршнем установлена пружина сжатия, механизм, передающий движение на рабочий орган, содержит кривошипно-шатунный элемент и пневматическую пружину в виде цилиндра с воздушными камерами, разделенными поршнем пневматической пружины, который снабжен штоком, шток шарнирно сочленен с шатунной шейкой кривошипно-шатунного элемента, цилиндр пневматической пружины шарнирно сочленен с неподвижной частью двигателя, камеры пневматической пружины снабжены воздушными карманами, причем источник импульсного высоковольтного напряжения электрически соединен с датчиком детонации, установленным на камере сгорания, и дифференциальным мембранным датчиком давления, сочлененным трубками с воздушными карманами.
2. Устройство для пуска дизельного двигателя по п.1, отличающееся тем, что объемный цилиндр и камера внутреннего сгорания выполнены в виде единой детали.
3. Устройство для пуска дизельного двигателя по любому из пп.1 и 2, отличающееся тем, что камеры пневматической пружины соединены патрубком, в котором установлен управляемый редукционный клапана с реле, включающим клапан, блок управления реле, причем блок управления реле состоит из системы сравнения, электрически соединенной с датчиком положения рабочего вала двигателя и мембранным дифференциальным датчиком давления.
РИСУНКИ
|
|