|
(21), (22) Заявка: 2006120744/06, 15.06.2006
(24) Дата начала отсчета срока действия патента:
15.06.2006
(46) Опубликовано: 20.06.2007
(56) Список документов, цитированных в отчете о поиске:
RU 2065985 C1, 27.08.1996. RU 2065068 C1, 10.08.1996. US 4771600 A, 20.09.1988. US 4771599 A, 20.09.1988.
Адрес для переписки:
394006, г.Воронеж, ул. Ворошилова, 20, ОАО “Конструкторское бюро химавтоматики”, начальнику службы корпоративного управления
|
(72) Автор(ы):
Горохов Виктор Дмитриевич (RU), Рачук Владимир Сергеевич (RU), Орлов Вадим Александрович (RU), Гарбера Станислав Николаевич (RU)
(73) Патентообладатель(и):
Открытое акционерное общество “Конструкторское бюро химавтоматики” (RU)
|
(54) ЖИДКОСТНЫЙ РАКЕТНЫЙ ДВИГАТЕЛЬ (ВАРИАНТЫ)
(57) Реферат:
Изобретение относится к области двигателестроения и может быть использовано при создании жидкостных ракетных двигателей (ЖРД), работающих по безгенераторной схеме. В жидкостный ракетный двигатель, содержащий камеру, турбонасосный агрегат подачи компонентов топлива (горючего и окислителя) в смесительную головку камеры сгорания, агрегаты управления и регулирования, трубопроводы, согласно изобретению по первому варианту дополнительно снабжен турбонасосным агрегатом подачи третьего вспомогательного компонента, выходная полость насоса которого соединена с трактом охлаждения камеры, выход из охлаждающего тракта соединен с лопаточной полостью турбин вспомогательного и основного ТНА и через специальные сопла, например рулевые, – с окружающей средой или сверхзвуковой частью сопла для создания дополнительной тяги. По второму варианту рабочее тело вспомогательного компонента направляется в полость смесительной головки камеры сгорания. По третьему варианту дотурбинная часть вспомогательного компонента после выхода из тракта охлаждения камеры соединена через дроссель с камерой сгорания, а другая часть направляется через сопла, например, рулевые, в окружающую среду или в сверхзвуковую часть сопла основной камеры. Изобретение обеспечивает создание двигателя на углеводородном топливе с высоким значением удельного импульса тяги (близкого к двигателю с дожиганием генераторного газа) при сохранении конструктивной простоты, низких массовых характеристик и высокой надежности. 3 н. и 10 з.п. ф-лы, 3 ил.
Изобретение относится к области двигателестроения и может быть использовано при создании жидкостных ракетных двигателей (ЖРД), работающих по безгенераторной схеме.
В настоящее время в создании ЖРД для перспективных ракет-носителей утверждается концепция высокой надежности и низкой стоимости жизненного цикла (разработка, изготовление и эксплуатация).
Главной задачей является обеспечение оптимального сочетания между такими основными параметрами двигателя, как удельный импульс тяги, надежность, экологическая безопасность, его массовые характеристики, а также стоимость.
Самыми распространенными экологически чистыми компонентами топлива ЖРД для средств выведения, в том числе пилотируемых, является кислород и керосин. Двигатели на этих компонентах обычно выполнены по закрытой схеме, с дожиганием окислительного генераторного газа в основной камере или без дожигания восстановительного генераторного газа.
Известны ЖРД с дожиганием генераторного газа, содержащие турбонасосный агрегат (ТНА) подачи компонентов, газогенератор, камеру, агрегаты автоматики. Здесь генераторный газ, пройдя через турбину, направляется в камеру сгорания (В.Е.Алемасов и др. Теория ракетных двигателей, М.: Машиностроение, 1969 г., стр.19, рис.1.9).
Основные свойства указанных двигателей:
– высокие энергетические характеристики и экологическая безопасность при эксплуатации;
– недостаточная надежность из-за высокого содержания в генераторном газе высокоактивного (при высокой температуре) кислорода (для окислительного газогенератора) или твердой и жидкой фазы (для восстановительного газогенератора);
– высокие значения массы и стоимости двигателя.
Как показывает предварительный анализ и опыт многолетней эксплуатации двигателей, например, семейства RL-10 (США) более надежными и с более низкой массой являются двигатели, выполненные по безгенераторной схеме. Они имеют более высокий ресурс из-за низкой температуры газа перед турбиной ТНА и требуют меньших затрат материальной части на отработку.
Известен ЖРД, работающий на компонентах кислород (O2) и водород (Н2), содержащий аккумулятор давления, топливные баки, соединенные с аккумулятором давления, насосы окислителя и горючего, турбину, камеру сгорания, агрегаты автоматики, трубопроводы.
Горючее, после насоса пройдя через тракт охлаждения камеры и турбину, подается в камеру сгорания, в которую насосом подается и окислитель (В.Е.Алемасов и др. Теория ракетных двигателей, М., 1969 г., стр.20, рис.1.11 – прототип).
По такой схеме выполнен ЖРД РД 0146 для ракеты-носителя (РН) “Протон” (патент РФ №2176744, МПК F 02 K 11/00, 19, 2001 г.)
Недостатком известного ЖРД являются пониженные (в сравнении с ЖРД с дожиганием генераторного газа в камере) энергетические характеристики из-за более низкого значения давления в камере сгорания.
Задачей изобретения является создание двигателя на углеводородном топливе с высоким значением удельного импульса тяги (близкого к двигателю с дожиганием окислительного генераторного газа) при сохранении конструктивной простоты, низкой массы и высокой надежности.
Поставленная задача достигается за счет того, что жидкостный ракетный двигатель, содержащий камеру, турбонасосный агрегат подачи компонентов топлива (горючего и окислителя) в смесительную головку камеры сгорания, агрегаты управления и регулирования, трубопроводы, согласно изобретению по первому варианту, дополнительно снабжен вспомогательным турбонасосным агрегатом подачи третьего вспомогательного компонента, выходная полость насоса которого соединена с трактом охлаждения камеры, выход из охлаждающего тракта соединен с лопаточной полостью турбин вспомогательного и основного ТНА и через сопла, например рулевые, – с окружающей средой или сверхзвуковой частью сопла для создания дополнительной тяги.
Поставленная задача достигается также за счет того, что жидкостный ракетный двигатель, содержащий камеру, турбонасосный агрегат подачи компонентов топлива (горючего и окислителя) в смесительную головку камеры сгорания, агрегаты управления и регулирования, трубопроводы, согласно изобретению по второму варианту, двигатель снабжен вспомогательным ТНА подачи вспомогательного компонента (горючего), например водорода, выходная полость насоса которого соединена с трактом охлаждения камеры, а после охлаждающего тракта – с лопаточной полостью турбин вспомогательного и основного ТНА, но далее после турбин рабочее тело направляется в полость смесительной головки камеры сгорания.
Поставленная задача достигается также за счет того, что жидкостный ракетный двигатель, содержащий камеру, турбонасосный агрегат подачи компонентов топлива (горючего и окислителя) в смесительную головку камеры сгорания, агрегаты управления и регулирования, трубопроводы, согласно изобретению по третьему варианту, двигатель снабжен ТНА подачи вспомогательного компонента (горючего), например водорода, выходная полость насоса которого соединена с трактом охлаждения камеры, выход из охлаждающего тракта соединен с лопаточной полостью турбин вспомогательного и основного ТНА, но далее дотурбинная часть вспомогательного компонента после выхода из тракта охлаждения камеры соединена через дроссель с камерой сгорания, а другая часть направляется через сопла, например рулевые, в окружающую среду или в сверхзвуковую часть сопла.
В качестве вспомогательного компонента для охлаждения камеры сгорания для первого варианта используются такие охлаждающие компоненты, например как водород или гелий, а для второго и третьего варианта используется водородосодержащее горючее, преимущественно водород (H2).
Для осуществления перепуска рабочего тела вокруг турбин для всех вариантов вход рабочего тела на турбину вспомогательного ТНА соединен с выходом после турбины основного ТНА трубопроводом, на котором установлен регулятор тяги.
Для регулирования соотношения компонентов топлива в камере сгорания всех вариантов двигателя на магистрали горючего основного ТНА установлен дроссель, а на двигателе третьего варианта дроссель установлен также и на магистрали перепуска вспомогательного компонента в камеру сгорания.
На каждой магистрали компонентов топлива установлены отсечные клапаны.
Проведенный сравнительный анализ предложенного технического решения с прототипом и другими известными решениями в данной области показал, что изложенная совокупность признаков в предложенной схеме двигателя является новой и применена впервые. Таким образом, предложенное решение соответствует критерию изобретения “новизна”.
Предложенное техническое решение превосходит достигнутый уровень техники за счет использования в двигателе в качестве охладителя камеры сгорания третьего (вспомогательного) компонента горючего с высокими охлаждающими свойствами и высокой работоспособностью газа для привода турбин основного и вспомогательного ТНА с последующим выбросом газа через специальные сопла, создающими дополнительную тягу, что позволяет улучшить удельные массово-энергетические характеристики двигателя, повысить его надежность и не является очевидным для среднего специалиста в данной области.
Таким образом, предложение соответствует критерию изобретения “изобретательский уровень”.
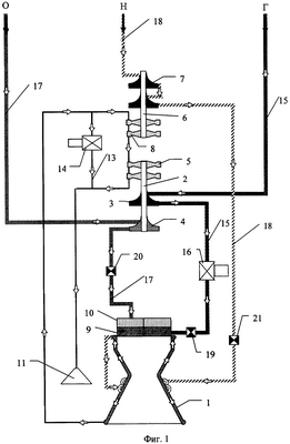
Изобретение иллюстрируется чертежами, где на фиг.1 приведена схема первого варианта предложенного безгенераторного ЖРД без дожигания, на фиг.2 – второй вариант схемы безгенераторного ЖРД с дожиганием, на фиг.3 – комбинированная схема безгенераторного ЖРД – третий вариант.
Основными элементами двигателя являются:
1 – камера сгорания;
2 – турбонасосный агрегат основных компонентов;
3 – насос окислителя основных компонентов;
4 – насос горючего основных компонентов;
5 – турбина насоса основных компонентов;
6 – вспомогательный турбонасосный агрегат вспомогательного (третьего) компонента;
7 – насос вспомогательного компонента;
8 – турбина насоса вспомогательного компонента;
9 – полость горючего;
10 – полость окислителя;
11 – сопло выброса;
12 – полость вспомогательного компонента;
13 – магистраль перепуска;
14 – регулятор тяги двигателя;
15 – магистраль горючего;
16 – дроссель соотношения компонентов топлива;
17 – магистраль окислителя;
18 – магистраль вспомогательного компонента;
19, 20, 21 – отсечные клапаны;
22 – магистраль;
23 – дроссель.
Жидкостный ракетный двигатель содержит камеру сгорания 1, турбонасосный агрегат 2 основных компонентов топлива, включающий в себя насос окислителя 3, насос горючего 4 и турбину 5, вспомогательный турбонасосный агрегат 6 вспомогательного компонента горючего, который состоит из насоса 7 и турбины 8.
Выходная полость насоса горючего (Г) 4 и окислителя (О) 3 ТНА 2 основных компонентов соединены с соответствующими полостями 9, 10 смесительной головки камеры сгорания, откуда компоненты поступают в камеру сгорания, где смесь воспламеняется, сгорает и выбрасывается из сопла, создавая тягу двигателя.
Для охлаждения камеры в схеме двигателя используется вспомогательный компонент с высокими охлаждающими свойствами и высокой работоспособностью газа, например, водород или гелий, для подачи которого в рубашку камеры в схему введен вспомогательный турбонасосный агрегат 6, состоящий из насоса 7 и турбины 8. Выход компонента из рубашки камеры соединен с лопаточной полостью турбины 8 вспомогательного ТНА 6, затем с лопаточной полостью турбины 5 основного ТНА 2 и далее с соплом выброса компонента в окружающую среду или с рулевыми соплами.
Во втором варианте двигателя компонент (горючее) после турбины 5 основного ТНА 2 направляется во вспомогательную полость 12 смесительной головки камеры сгорания.
В третьем варианте дотурбинная часть вспомогательного компонента после выхода из тракта охлаждения камеры соединена магистралью 22 через дроссель 23 с камерой сгорания, а другая часть после выхода из тракта охлаждения соединена с лопаточной полостью турбины 8 вспомогательного ТНА и турбины 5 основного ТНА и через специальные сопла 11 с окружающей средой или сверхзвуковой частью сопла.
Для двигателя, выполненного по такой схеме оптимального сочетания между энергетическими параметрами двигателя и массой вспомогательного горючего обеспечивается при следующем соотношении расхода вспомогательного горючего:

где m3K – расход части третьего компонента (вспомогательного горючего), идущего на дожигание в камеру сгорания, кг/с;
m3 – расход третьего компонента (вспомогательного горючего), идущего через двигатель, кг/с.
Для регулирования тяги двигателя для всех вариантов на магистрали 13 перепуска рабочего тела, соединяющей входную полость турбины 8 вспомогательного ТНА 6 с выходной полостью турбины 5 основного ТНА 2, установлен регулятор тяги 14.
Для регулирования соотношения компонентов горючего и окислителя для всех вариантов на магистрали горючего 15 установлен дроссель 16, а для третьего варианта дроссель установлен и на магистрали 22.
На каждой из магистралей горючего 15 окислителя 17 и вспомогательного охлаждающего компонента 18 установлены отсечные клапаны 19, 20, 21.
Предложенный ЖРД работает следующим образом.
Компоненты основного топлива горючее и окислитель подаются в камеру сгорания 1 с помощью насосов 3, 4, которые приводятся турбиной 5. Третий (вспомогательный) компонент насосом 7 подается в рубашку камеры сгорания 1, охлаждает ее, направляется на привод турбины 8 насоса-охладителя 7, затем – на привод турбины 5 насосов основных компонентов, после чего выбрасывается через специальные сопла 11, которые создают дополнительную тягу, или подается в камеру сгорания, где сжигается с основными компонентами.
В ЖРД, выполненному по такой схеме, достигается более высокий удельный импульс тяги по сравнению с двухкомпонентным ЖРД.
Используя в двигателе для охлаждения камеры и привода турбонасосных агрегатов третьего (вспомогательного) компонента с хорошими охлаждающими свойствами и высокой работоспособностью газа после тракта охлаждения (с высоким значением газовой постоянной, например водород), минимальным расходом обеспечивается надежное охлаждение камеры сгорания (без организации внутреннего завесного охлаждения) и привод турбонасосных агрегатов двигателя, которые подают основное топливо в камеру с высоким давлением.
За счет высокого значения газовой постоянной (примерно на порядок превышающего газовую постоянную продуктов сгорания углеводородного топлива) удельный импульс тяги сопл выброса близок к удельным параметрам камеры, работающей на углеводородном топливе, что позволяет двигателю, выполненному по схеме без дожигания, иметь удельные энергетические характеристики, практически равные двигателю с дожиганием окислительного генераторного газа при значительном снижении массы двигателя, упрощении его конструкции и высокой надежности.
Формула изобретения
1. Жидкостный ракетный двигатель (ЖРД), содержащий камеру, турбонасосный агрегат (ТНА) подачи компонентов топлива в смесительную головку камеры сгорания, агрегаты управления и регулирования, отличающийся тем, что двигатель снабжен вспомогательным турбонасосным агрегатом подачи третьего вспомогательного компонента, выходная полость насоса которого соединена с трактом охлаждения камеры, выход из охлаждающего тракта соединен с лопаточной полостью турбин вспомогательного и основного ТНА и через сопла – с окружающей средой или сверхзвуковой частью сопла камеры для создания дополнительной тяги двигателя.
2. ЖРД по п.1, отличающийся тем, что вход рабочего тела на турбину вспомогательного ТНА соединен с выходом после турбины основного ТНА магистралью, на которой установлен регулятор тяги.
3. ЖРД по п.1, отличающийся тем, что на магистрали горючего основного ТНА установлен дроссель.
4. ЖРД по п.1, отличающийся тем, что в качестве вспомогательного компонента используется водород или гелий.
5. Жидкостный ракетный двигатель, содержащий камеру, турбонасосный агрегат подачи компонентов топлива в смесительную головку камеры сгорания, агрегаты управления и регулирования, отличающийся тем, что двигатель снабжен вспомогательным турбонасосным агрегатом подачи третьего вспомогательного компонента, выходная полость насоса которого соединена с трактом охлаждения камеры, выход из охлаждающего тракта соединен с лопаточной полостью турбин вспомогательного и основного ТНА и далее со вспомогательной полостью смесительной головки камеры сгорания.
6. ЖРД по п.5, отличающийся тем, что вход рабочего тела на турбину вспомогательного ТНА соединен с выходом после турбины основного ТНА магистралью, на которой установлен регулятор тяги.
7. ЖРД по п.5, отличающийся тем, что на магистрали горючего основного ТНА установлен дроссель.
8. ЖРД по п.5, отличающийся тем, что в качестве горючего вспомогательного компонента используются жидкости или газы, с высокой работоспособностью, например водород или гелий.
9. Жидкостный ракетный двигатель, содержащий камеру, турбонасосный агрегат (ТНА) подачи компонентов топлива в смесительную головку камеры сгорания, агрегаты управления и регулирования, отличающийся тем, что двигатель снабжен вспомогательным турбонасосным агрегатом подачи третьего вспомогательного компонента, выходная полость насоса которого соединена с трактом охлаждения камеры, выход из охлаждающего тракта соединен с лопаточной полостью турбин вспомогательного и основного ТНА и далее дотурбинная часть вспомогательного компонента после выхода из тракта охлаждения камеры соединена через дроссель с камерой сгорания, а другая часть, направляется через сопла, например, рулевые в окружающую среду или в сверхзвуковую часть сопла.
10. ЖРД по п.9, отличающийся тем, что вход рабочего тела на турбину вспомогательного ТНА соединен с выходом после турбины основного ТНА магистралью, на которой установлен регулятор тяги.
11. ЖРД по п.9, отличающийся тем, что на магистрали горючего основного ТНА установлен дроссель.
12. ЖРД по п.9, отличающийся тем, что в качестве горючего вспомогательного компонента используются жидкости или газы, с высокой работоспособностью, например водород или гелий.
13. ЖРД по любому из п.9 или 12, отличающийся тем, что расход вспомогательного (третьего) компонента обеспечивается в соответствии с соотношением

m3К – расход части третьего компонента, (вспомогательного горючего), идущего на дожигание в камеру сгорания, кг/с;
m3 – расход третьего компонента (вспомогательного горючего), идущего через двигатель, кг/с.
РИСУНКИ
|