|
|
(21), (22) Заявка: 2004133654/06, 18.11.2004
(24) Дата начала отсчета срока действия патента:
18.11.2004
(43) Дата публикации заявки: 20.04.2006
(46) Опубликовано: 20.06.2007
(56) Список документов, цитированных в отчете о поиске:
RU 2205274 С2, 27.05.2003. SU 1560730 A1, 30.04.1990. RU 2122129 C1, 20.11.1998. СН 564146 А5, 15.07.1975. DE 2237297 А, 15.02.1973. US 2716861 A, 06.09.1955.
Адрес для переписки:
107143, Москва, ул. Н. Химушина, 17, корп.1, кв.46, для И.Я. Яновского
|
(72) Автор(ы):
Дидин Александр Владимирович (RU), Яновский Илья Яковлевич (RU)
(73) Патентообладатель(и):
Дидин Александр Владимирович (RU), Яновский Илья Яковлевич (RU)
|
(54) СПОСОБ РАЗГРУЗКИ РАБОЧИХ ЭЛЕМЕНТОВ РОТОРНОЙ ОБЪЕМНОЙ МАШИНЫ (ВАРИАНТЫ) И РОТОРНАЯ ОБЪЕМНАЯ МАШИНА
(57) Реферат:
Изобретение относится к машиностроению, в частности к роторным объемным машинам, использующимся в качестве двигателей внутреннего сгорания, насосов, компрессоров. Изобретение позволяет уменьшить потери в роторной машине путем ослабления влияния неравномерности движения поршня на износ механизмов машины. Сущность изобретения заключается в том, что в машине, содержащей, по меньшей мере, один поршень, совершающий сложное вращательное движение как относительно корпуса вместе с ротором, так и относительно ротора в плоскости, изменяют скорость вращения поршня относительно ротора, по крайней мере, в части диапазона угла поворота ротора во время действия на поршень наибольших нагрузок от давления рабочей среды по сравнению со скоростью вращения поршня относительно ротора в диапазоне угла поворота ротора во время впуска рабочей среды в рабочую полость и ее перепуска из рабочей полости. Такое техническое решение позволяет уменьшить мощность трения за счет прекращения вращения поршня относительно ротора во время действия на него максимальных нагрузок от рабочей среды. Во втором варианте способа разгрузки поршень ускоряют и затормаживают относительно ротора, создавая переменную инерционную нагрузку со стороны поршня, при этом поршень ускоряют относительно ротора при взаимодействии его с разделителем или направляющей, по крайней мере, на части последних. В третьем варианте способа в машине, содержащей разделитель и направляющую, последние располагают в виде последовательно расположенных участков, при этом участки направляющих примыкают с разных сторон к концам разделителя. В четвертом варианте способа в машине, содержащей, по меньшей мере, два поршня, поршень, совершающий процесс вытеснения из рабочей полости, останавливают относительно ротора, при этом другой поршень вращают вокруг своей оси относительно ротора на участке взаимодействия с разделителем. 5 н. и 12 з.п. ф-лы, 39 ил.
Изобретения относятся к области машиностроения, а именно к роторным объемным машинам, которые могут быть использованы в качестве двигателей внутреннего сгорания, насосов, компрессоров и т.д.
Известны объемные роторные машины с поршнями (поршнями), закрепленными на валу (см. патент РФ 2205274 С2, опубл., 27.05.2003). Как правило, поршни совершают вращательное движение относительно своих осей, возвратно-поступательные движения или качаются относительно вала и еще вращаются вместе с валом.
Недостатком известных машин, в которых поршень во время своего относительного движения (здесь и далее имеется в виду относительно вала) разделяет камеры с разными давлениями, является потеря мощности на трение в осях поршней, в парах их скольжения или качения соответственно, повышается износ этих мест. Эти процессы обычно тем интенсивней, чем больше относительная скорость и чем больше при этом нагрузка поршней. Поэтому для избежания потерь можно разнести во времени участки относительного движения поршней и участки, на которых поршни разделяют камеры с разными давлениями, или хотя бы снизить скорость их относительного движения под нагрузкой. Даже в устройствах, предполагающих равномерное вращение поршней вокруг своих осей, можно снизить износ и потери на трение, если в полной мере или частично уменьшить относительную скорость движения при наличии нагрузки перепадом давления и уменьшить или исключить перепад давления на участках с высокой относительной скоростью движения. При этом может появиться повышенный износ механизмов синхронизации из-за неравномерности движения поршней.
Техническим результатом является уменьшение потерь в роторной машине путем ослабления влияния неравномерности движения поршня на износ механизмов машины.
Поставленная задача в части первого варианта способа разгрузки (по п.п. формулы 1-5) достигается тем, что в способе разгрузки рабочих элементов роторной объемной машины, содержащей, по меньшей мере, один поршень, совершающий сложное вращательное движение как относительно корпуса вместе с ротором, так и относительно ротора в плоскости, пересекающей плоскость вращения ротора, и имеющий, по меньшей мере, один сквозной радиальный вырез, взаимодействующий со спиралеобразным разделителем камерообразующей полости, образующим в последней вместе с поршнем рабочие полости переменного объема, согласно изобретению изменяют скорость вращения поршня относительно ротора, по крайней мере, в части диапазона угла поворота ротора во время действия на поршень наибольших нагрузок от давления рабочей среды, по сравнению со скоростью вращения поршня относительно ротора в диапазоне угла поворота ротора во время впуска рабочей среды в рабочую полость и ее перепуска из рабочей полости.
Поставленная задача достигается также тем, что могут изменять скорость вращения поршня относительно ротора путем взаимодействия дополнительного выреза поршня с дополнительным участком разделителя, расположенным в районе действия на поршень наибольших нагрузок рабочей среды, при этом скорость вращения поршня относительно ротора уменьшают за счет уменьшения шага спирали, по крайней мере, части дополнительного участка разделителя, причем шаг спирали определяют как отношение средней скорости вращения поршня относительно ротора к скорости вращения ротора относительно корпуса на заданном угле поворота ротора, причем, по крайней мере, участок направляющей могут выполнять с шагом, равным нулю, то есть располагают его концентрично оси вращения ротора.
Поставленная задача достигается также тем, что могут изменять скорость вращения поршня относительно ротора путем взаимодействия дополнительного выреза поршня с дополнительной направляющей корпуса, имеющей, по крайней мере, один спиралеобразный участок и расположенной в районе действия на поршень наибольших нагрузок рабочей среды, при этом скорость вращения поршня относительно ротора уменьшают за счет выполнения шага спирали направляющей, по крайней мере, на части направляющей, меньшим шага спирали разделителя, причем шаг спирали определяют как отношение средней скорости вращения поршня относительно ротора к скорости вращения ротора относительно корпуса на заданном угле поворота ротора, причем, по крайней мере, участок направляющей могут выполнять с шагом, равным нулю, то есть располагают его концентрично оси вращения ротора.
Поставленная задача в части второго варианта способа (по п.п. формулы 6-10) достигается тем, что в способе разгрузки рабочих элементов роторной объемной машины, содержащей, по меньшей мере, один вращающийся вместе с ротором поршень, в котором выполнен, по меньшей мере, один радиальный вырез, взаимодействующий с разделителем камерообразующей полости, при этом поршень установлен с возможностью вращения в плоскости, пересекающей плоскость вращения ротора, согласно изобретению поршень ускоряют и затормаживают относительно ротора, создавая переменную инерционную нагрузку со стороны поршня, при этом поршень ускоряют относительно ротора при взаимодействии его с разделителем или направляющей, по крайней мере, на части последних.
Поставленная задача достигается также тем, что в поршне с числом вырезов более одного инерционную нагрузку могут создавать путем группирования (концентрации) масс поршня и распределения сгруппированных масс за счет их смещения в сторону вырезов поршня.
Поставленная задача достигается также тем, что характеристику изменения инерционных сил при ускорении и затормаживании могут задавать путем создания дебаланса в плоскости движения поршня за счет перераспределения масс поршня.
Поставленная задача достигается также тем, что при работе машины часть масс поршня могут перемещать относительно последнего за счет размещения в полости поршня твердого и/или сыпучего материала и/или жидкости.
Поставленная задача достигается также тем, что в поршне с одним вырезом под разделитель центр масс поршня могут размещать в районе выреза.
Поставленная задача в части третьего варианта способа (по п.п.11-13 формулы) достигается тем, что в способе разгрузки рабочих элементов роторной объемной машины, содержащей, по меньшей мере, один взаимодействующий с ротором поршень, в котором выполнены, по меньшей мере, два радиальных выреза, взаимодействующих с разделителем и направляющими, согласно изобретению разделитель и направляющие располагают в виде последовательно расположенных участков, при этом участки направляющих примыкают с разных сторон к концам разделителя.
Поставленная задача достигается также тем, что направляющие и разделитель могут выполнять заодно.
Поставленная задача достигается также тем, что участки направляющих могут располагать концентрично оси вращения ротора.
Поставленная задача в части четвертого варианта способа (по п.14 формулы) достигается тем, что в способе разгрузки рабочих элементов роторной объемной машины, содержащей, по меньшей мере, два поршня, каждый из которых совершает сложное вращательное движение как относительно корпуса вместе с ротором, так и относительно ротора в плоскости, пересекающей плоскость вращения ротора, и имеет, по меньшей мере, два радиальных выреза, взаимодействующие поочередно со спиралеобразным разделителем камерообразующей полости, который образует в последней вместе с поршнями рабочие полости переменного объема, согласно изобретению поршень, совершающий процесс вытеснения из рабочей полости, останавливают относительно ротора, при этом другой поршень вращают вокруг своей оси относительно ротора на участке взаимодействия с разделителем.
Поставленная задача в части устройства (по п.п.15-17 формулы) достигается тем, что роторная объемная машина, содержащая корпус с внутренней полостью кольцевой формы, установленный в полости корпуса ротор, выходной вал, по меньшей мере, один поршень, установленный в прорези ротора с возможностью вращения как относительно корпуса вместе с ротором, так и относительно ротора в плоскости, пересекающей плоскость вращения ротора, и, по меньшей мере, один разделитель, выполненный в виде спиралеобразного выступа, расположенного на внутренней поверхности корпуса, по меньшей мере, на части ее периметра и взаимодействующего с поверхностью ротора, причем в поршне выполнен, по меньшей мере, один сквозной вырез с возможностью прохода в него разделителя, а в полости корпуса образованы рабочие камеры переменного объема, ограниченные поверхностями корпуса, ротора, поршня и разделителя, согласно изобретению она снабжена рамкой, выполненной в виде вкладыша с проточкой, поршень размещен в рамке, которая установлена в прорези ротора с возможностью дополнительного перемещения вместе с поршнем относительно ротора вдоль оси его вращения, а машина снабжена средством, позволяющим изменять скорость вращения поршня относительно ротора.
Поставленная задача достигается также тем, что рамка может быть снабжена устройством ее фиксирования от перемещения в направлении, перпендикулярном оси вращения ротора.
Поставленная задача достигается также тем, что прорезь ротора может быть выполнена общей для нескольких ступеней, а между рамками соседних ступеней в прорези установлены уплотнительные элементы.
Заявленные изобретения поясняются при помощи чертежей.
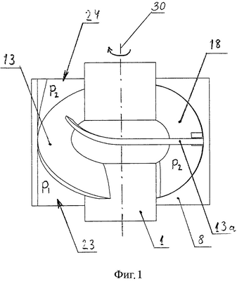
На фиг.1 представлен продольный разрез машины, реализующей первый вариант способа по пунктам 1-5 формулы изобретения;
На фиг.2 – то же, поперечный разрез машины;
На фиг.3 – то же, общий вид машины в изометрии с вырезом четверти;
На фиг.4 – то же, общий вид машины в изометрии без половины корпуса, положение поршня в момент взаимодействия его выреза с разделителем;
На фиг.5 – то же, положение поршня в момент окончания взаимодействия его выреза с разделителем и начала взаимодействия выреза с направляющей;
На фиг.6 – то же, общий вид машины в изометрии без корпуса с вырезом половины;
На фиг.7 – то же, общий вид машины в изометрии без корпуса;
На фиг.8 – поршень в изометрии;
На фиг.9 – половина корпуса с расположенным в ней разделителем;
На фиг.10 – половина корпуса с расположенной в ней направляющей;
На фиг.11 – общий вид варианта машины с дополнительным участком разделителя в изометрии и без половины корпуса;
На фиг.12 – то же, без половины корпуса и без вала;
На фиг.13 – то же, без половины корпуса, вала и поршня;
На фиг.14 представлен вариант машины с двумя поршнями;
На фиг.15 представлен поршень машины, в которой реализован второй вариант способа разгрузки по пунктам 6-10 формулы изобретения;
На фиг.16 – то же, внешний вид поршня в изометрии;
На фиг.17 – то же, машина в изометрии без половины корпуса;
На фиг.18 – то же, продольный разрез машины;
На фиг.19 – то же, продольный разрез машины с тремя парами вырезов;
На фиг.20 – то же, вид на машину в изометрии, без корпуса;
На фиг 21 представлена машина в изометрии без половины корпуса, в которой реализован третий вариант способа разгрузки по пунктам 11-13 формулы изобретения;
На фиг.22 – то же, машина без корпуса и разделителя;
На фиг.23 – то же, половина корпуса машины без вала и поршня;
На фиг.24 – то же, машина с вырезом четверти корпуса;
На фиг.25 представлена машина в изометрии без половины корпуса, в которой реализован четвертый вариант способа разгрузки по пункту 14 формулы изобретения;
На фиг.26 – то же, без одного из взаимодействующих между собой поршней;
На фиг.27 – то же, схема взаимодействия поршней в момент остановки одного из них с использованием двух зубьев, расположенных на разных радиусах;
На фиг.28 – то же, с использованием одного овального зуба;
На фиг.29 – то же, с использованием в качестве фиксатора оси поршня;
На фиг.30 – то же, в изометрии;
На фиг.31 – то же, без второго поршня;
На фиг.32 представлена схема расположения рабочих элементов машины с различной формой разделителя;
На фиг.33 – то же, в машине с разделителем и направляющей по первому варианту способа разгрузки;
На фиг.34 – то же, в машине с дополнительным участком разделителя по пунктам 2-3 формулы изобретения;
На фиг.35 – то же, в машине с примыкающей к разделителю направляющей;
На фиг.36 представлена машина, описанная в пункте 15 формулы изобретения;
На фиг.37 – то же, часть вала с прорезью и установленными в ней вкладышем и поршнем;
На фиг.38 – то же, часть вала с прорезью;
На фиг.39 – то же, вкладыш.
Способы реализуется в роторной объемной машине,
содержащей вал 1, имеющий ось 30 вала 1, внешнюю концентрическую рабочую поверхность 2, состоящую из центральной концентричной круговой, по существу торообразной части 3, от которой по существу в осевом направлении в противоположные стороны простираются две концентричные поверхности 4 и 5;
корпус 8, имеющий ось корпуса и внутреннюю поверхность корпуса 14, состоящую по ходу вращения вала 1 из первой части внутренней поверхности 14а и второй части внутренней поверхности 14б;
одна замкнутая по существу концентричная камерообразующая полость 12, имеющая форму по существу части тороида, образована внутренней поверхностью корпуса 14 и внешней рабочей поверхностью 2 вала, имеющая участки 12а и 12б соответственно, образованные частями поверхностей 14а и 14б;
спиралеобразный разделитель 13, перегораживающий участок 12б камерообразующей полости 12 по существу по диагонали, разбивая его на своего рода криволинейные треугольники;
направляющая 13а, практически не несущая функции разделения объемов с существенно различными давлениями рабочего тела, установленная на участке 12а и выходящая своими концами в участок 12б. Средняя часть ребра направляющей 13а является по существу плоской, в форме дуги лежащей в плоскости вращения вала, а концы ее ребра плавно отклоняются от плоскости в противоположных направлениях по ходу вращения поршня;
окна входа 23 и выхода 24 рабочего тела, расположенные на корпусе 8 на поверхности 14б, по разные стороны от разделителя 13, прилегая к вершинам этих криволинейных треугольников, окно входа 23 прилегает к разделителю 13 у его начала по ходу вращения вала, а окно выхода прилегает к разделителю 13 у его конца. Окна могут занимать по существу всю поверхность 14б;
одну прорезь 21 в рабочей поверхности 2 вала 1;
один поршень 18, который имеет две торцевые поверхности 31 поршня 18, периферическую поверхность 41, геометрическую ось 19 поршня 18, скрещивающуюся с геометрической осью 30 вала 1, при этом поршень установлен на валу 1, с размещением части поршня 18 в прорези 21 с возможностью вращения поршня 18 вокруг геометрической оси 19 поршня 18, два сквозных радиальных выреза 22 в периферийной части поршня 18, имеющий две боковые поверхности 26 и дно 25 выреза 22, которое при любом положении поршня 18 находится в пределах (непосредственно под) концентричной рабочей поверхности 2 вала 1. Между каждыми двумя вырезами 22 располагается дополнительный вырез 22а для направляющей спирали, имеющий две боковые поверхности 26а и дно 25а выреза 22а. Боковые поверхности 26а предпочтительно имеют по площадке 26б (плоская или коническая), ответной к плоскому участку направляющей 13а (загнутые концы направляющей 13а, будучи тоньше плоского участка, не будут контактировать с ним 26б, не изнашивая его 26б);
форма сечения камерообразующей полости 12 похожа на форму поршня от одного выреза 22 до другого;
для улучшения герметичности контакта поршень – поверхность 14а периферическая поверхность поршня может повторять форму поверхности 14а, не являясь поверхностью вращения, при этом не занятая окнами часть поверхности 14б и прилегающие к ней участки поверхности 14а должны быть увеличены для пропускания такого поршня;
причем участок 12а камерообразующей полости 12 разделяется на рабочие камеры 17а с уменьшающимся объемом и 17б с увеличивающимся объемом поршнем на части цикла, (причем в момент разделения участка 12а камерообразующей полости 12 на камеры 17 все вырезы 22 поршня 18 находятся в прорези 21 вала 1, и разделение происходит участком поршня 18 без вырезов 22);
форма разделителя 13 такая, чтобы, взаимодействуя с вырезом 22 поршня, разгонять его почти от нулевой скорости вращения до максимальной, а затем тормозить снова почти до нулевой скорости, при этом не так важно, герметично ли перекрывает разделитель 13 вырез 22;
а форма ребра направляющей 13а такая, чтобы, взаимодействуя с дополнительным вырезом 11а поршня, тормозить его по существу до нулевой скорости вращения, удерживать некоторое время в этом состоянии, а затем разгонять снова до некоторой скорости, при этом важно, что направляющая 13а по существу герметично перекрывает вырез 22а на его 13а плоском участке;
в варианте машины, показанном на фиг.11-13, разделитель 13 может быть продлен за счет дополнительного участка 13б, по существу проходящего вдоль всей камеры 17а. При этом форма дополнительного участка 13б может быть идентична форме направляющей 13а. Отличие варианта машины с участком разделителя 13б от машины с направляющей 13а заключается в том, что в первой разделитель 13 выполняет функции разделения сред с разным давлением в течение всего оборота поршня 18 вокруг оси вала 1.
Приблизительный пример формы разделителя 13 в одном из вариантов исполнения может дать кривая в системе координат на торе
, 
где – угол поворота сечения тора вокруг оси тора, 0 – половина угла, на котором ребра 13 и 13а не горизонтальны, – угол поворота радиус-вектора сечения тора, a 0 – половина углового расстояния между соседними вырезами 22, – угловой размер негоризонтального конца направляющей 13а,
эта же формула приблизительно описывает негоризонтальные концы направляющей 13а, при смещении на 0, а  [- 0,-( 0– )] и  [( 0– ), 0],
приближения состоят в основном в использовании функции sin, также форма будет несколько другой из-за объемной формы выреза 22.
Более точное описание можно дать для формы камерообразующей полости вместе со спиральным и направляющим ребрами, хотя оно получается менее наглядным. Поверхность камерообразующей полости 14 должна быть по сути идентичной поверхности тела получаемого вращением вала с поршнем вокруг оси вала с одновременным вращением поршня, причем угол поворота поршня связан с углом поворота вала зависимостью = ( ), которая в основном имеет два участка: участок более быстрого увеличения и участок, на котором изменяется медленно, вплоть до останова. Такая форма описания учитывает возможность выполнения не обязательно концентричной периферической поверхности поршня. Но такая форма является слишком строгой, т.к. не на всей длине камеры требуется герметичность, и даже, наоборот, некоторые участки требуется занизить. Так, из-за того что угол между поршнем и ребрами меньше вблизи оси поршня и это лучше для условия скольжения прорези поршня по ребрам, то лучше специально заузить основание ребра по сравнению с шириной прорези поршня, чтобы на синхронизацию работала другая, более близкая к оси поршня часть ребра. Аналогично, для увеличения надежности попадания прорезей на разделитель передние концы ребер специально заужены;
на небольшом участке ребра перекрывают друг друга (поршень еще не выйдя из зацепления с одним разделителем уже входит в зацепление с направляющей).
Для того чтобы уменьшить усилие взаимодействия вырезов поршня с ребрами (разгрузить этот механизм синхронизации), поршень желательно выполнять с распределением массы поближе к вырезу 22 (второй вариант разгрузки пункт 6 формулы), при возможности выполнить канавки 32 внутри поршня преимущественно параллельно линии, соединяющей вырез 22, или под небольшим углом (по ходу вращения поршня) к ней и заполнить их тяжелыми массами 33, могущими перемещаться/кататься вдоль канавок, или тяжелой жидкостью 34, при этом в некоторых случаях полезно добавление и относительно легкой (нормальной) жидкости для противостояния внешнему давлению, для смазки, успокоения колебаний, а также для более плавных торможений. При этом желаемая неравномерность движения (вращения) поршня достигается в основном двумя факторами: отдачей/отбором энергии у тяжелых масс за счет их перемещения по радиусу вала и обменом моментом количества движения с этими массами за счет их движения (колебаний) вокруг оси поршня.
Следует отметить, что для достижения желательной неравномерности вращения в случаях поршней с двумя и тремя вырезами 22 масса перемещаемых масс в большинстве случаев должна быть сравнимой с массой поршня, а для эффективного использования первого способа средняя плотность поршня без подвижных масс должна быть сравнима с плотностью перекачиваемой жидкости. При невозможности подобрать материалы с вышеуказанными свойствами, чтобы в полной мере реализовать описанные конструкции, можно частично замедлить вращение поршня под нагрузкой или остановить на меньшей части периода, т.е. снизить неравномерность. При этом следует понимать, что конструкции изменятся таким образом, что горизонтальные плоские участки направляющих ребер станут просто пологими.
Машина по второму варианту работает следующим образом. При вращении вала в одну сторону вместе с ним по камерообразующей полости 12 перемещается поршень 18. В средней части участка 14а неподвижное по отношению к валу положение поршня 18 обеспечивает участок направляющей 13а, проходящий через вырез 11a поршня, а также сила трения прижатого давлением поршня о вал. При этом поршень по существу герметично перекрывает участок камерообразующей полости 12а, разбивая его на две камеры – уменьшающуюся, высокого давления (по ходу поршня) и увеличивающуюся – низкого давления (за поршнем). На этом участке поршень проталкивает рабочее тело от окна входа 23 до окна выхода 24. При этом канавки в поршне составляют небольшой угол с осью вала, и за счет центробежных сил по ним перемещаются тяжелый диск и жидкость, перемещая центр масс поршня к прорези 22, которой предстоит выйти из вала. Далее при подходе к загибающемуся участку направляющей 13а камера становится шире поршня и с него по существу снимается перепад давления рабочего тела. При этом он освобождается от силы трения в валу. За счет действия центробежных сил на смещенный центр масс поршня, а также за счет взаимодействия с загибающимся участком направляющей 13а поршень начинает вращаться, его вырез 22 выходит из прорези вала и попадает на разделитель 13. Перепад давления (движение рабочего тела) на насосе на этом участке должен обеспечиваться другими ступенями насоса или инерцией столба жидкости в длинной трубе. На ребре разделителя 13 вращение поршня ускоряется действием центробежных сил на смещенный центр тяжести, действием эффекта следования за потоком, гидродинамическими силами и, возможно, силовым контактом выреза 22 с разделителем 13. Приблизительно от середины разделителя 13 те же силы и сила трения начинают тормозить вращение поршня. Если за счет подбора материалов, пустот и наполнителей снизить среднюю плотность поршня, уменьшается нагрузка на ось поршня и усиливается влияние эффекта следования за потоком. С разделителя 13 поршень сходит уже с небольшой скоростью вращения, одевшись предварительно вырезом 22а на направляющую 13а. При входе поршня на плоский участок направляющей 13а вращение поршня приостанавливается (или останавливается), а камера сужается до размера выступающей из вала части поршня. На поршне возникает перепад давления. Цикл повторяется. Переход от более широкой части камерообразующей полости к более узкой предпочтительно выполнять ступенькой, а не плавно при наличии в жидкости абразива для избежания его затирания.
За один оборот вокруг вала поршень совершает пол – оборота вокруг своей оси.
Машина, изображенная на фиг.19, в целом похожа на машину с фиг.17 и 18. Она отличается тем, что поршень имеет три выреза 22 и, соответственно, большее количество вырезов 22а. Разделитель 13 представляет собой в общем более пологую спираль, поверхности 4 и 5 расширяются к периферии. Выступ 3 может практически выродиться (исчезнуть). Также отличается форма и основное направление канавок.
За один оборот вокруг вала поршень совершает треть оборота вокруг своей оси.
Машина, изображенная на фиг.1-7, в целом похожа на машину с фиг.17-19. Она отличается тем, что поршень имеет один вырез 22 и, соответственно, меньшее количество вырезов 22а. Разделитель 13 представляет собой в общем более крутую спираль. Также можно обойтись без канавок 32. Центр масс поршня при этом желательно сместить к вырезу 22.
За один оборот вокруг вала поршень совершает один оборот вокруг своей оси.
В некоторых случаях целесообразны конструкции, в которых окна входа должны быть больше окон выхода. Для этого придется выходную часть вала сделать уже входной. При этом ориентация неподвижного состояния поршня с симметричной изменится на повернутую на угол . Центр масс поршня с одним вырезом 22 лучше сместить от выреза 22 примерно на угол , а распределение масс поршня с двумя вырезами 22 лучше сместить от линии, соединяющей вырезы 22, примерно на угол , также следует сместить и канавки 32. При этом можно получить преимущество в размерах канавок, т.к. они могут пройти по диаметру, минуя вырезы 22. Такая же ситуация и с поршнями с тремя вырезами 22.
Приведу численные данные, иллюстрирующие важность разгрузки механизма синхронизации. Насос диаметром 90 мм для подачи на 3000 об/мин 600 м3/сут имеет поршень диаметром 58 мм. Его радиус инерции 20 мм, объем 15 см3. Из-за неравномерности вращения будет испытывать ускорения 126 g и оказывать давление на разделитель 12.6 кг при плотности 7 г/см3. Уменьшением средней плотности до 1 г/см3 можно уменьшить это давление до 1.8 кг.
Другим видоизменением конструкций может быть добавление еще одного поршня (см. фиг.14). Этим мы увеличиваем участок герметичности одной ступени практически на весь цикл, но ослабляем вал. При этом, поскольку теперь поршни проходят разделитель 13 при наличии перепада давления на нем, добавляется эффект подкрутки этого поршня статическим перепадом давления на этой ступени. На одну боковую поверхность выреза 22 действует входное давление, а на другую – выходное. Поскольку эта подкрутка зависит от толщины поршня, то при выполнении внутренних канавок на поршне вместе с толщиной усилие подкрутки может быть настолько значительным, что потребуется распространение нагрузки перепадом давления на начальный пологий участок направляющей 13а для эффективного торможения поршня силами трения поршня о прорезь вала (или в оси поршня). Или вообще убрать плоский участок направляющей 13а, заменив его участком, замедляющим вращение поршня. При этом мы несколько уменьшим кривизну разделителя 13, что увеличит надежность насоса. Недостатком является то, что угловое ускорение поршня подкруткой и его торможение трением зависит от перепада давления, а ускорение из-за кривизны ребер 13 и 13а зависит от скорости вращения вала и добиться оптимального их отношения можно только для области режимов, для которых перепад давления зависит от оборотов. Наличие разгона подкруткой на разделителе 13 и торможения вне его желательно учитывать в формах ребер. В общем, разделитель 13 получается более крутым на конце, чем вначале (по ходу вращения вала), а направляющая 13а наоборот. Его крутизна, вне пересечения с разделителем 13, больше вначале и меньше в конце.
Прорези под поршни могут пересекаться внутри вала в целях экономии места, а могут быть разделены перегородкой для большей герметичности. Это зависит от условий применения.
Добавление второго поршня несколько снижает подачу насоса. Это связано с тем, что на подкрутку расходуется часть жидкости из камеры высокого давления. При достаточном расстоянии между осью вала и осью поршня во всех конструкциях возможно добавление и большего количества поршней, но следует помнить, что при этом подача еще снизится.
Что касается направляющей 13а, то при необходимости уменьшить износ или снизить углы контакта с ней вырезов 22а поршней 18 их число может быть увеличено.
В конструкциях с двумя поршнями, показанных на фиг.25-28, можно избавиться от направляющей 13а, заменив ее, например, зубчатым зацеплением между поршнями. Такая возможность существует благодаря следующему характеру взаимодействия двух поршней. Один поршень должен от небольшой скорости останавливать другой, далее в течение определенного времени должен обеспечивать неподвижность другого, а затем придавать небольшую скорость. Далее поршни могут не взаимодействовать друг с другом. (При частичном использовании неравномерности вращения слово останавливать следует понимать как замедлять, неподвижность – как медленное вращение.)
Это можно осуществить, например, в следующей конструкции (см. фиг.27). На одном поршне, вблизи к его оси, напротив выреза 22 расположено два зуба 35. Каждый зуб представляет собой овал (дугу), выступающий вдоль оси поршня. Зубья расположены на разных расстояниях от оси поршня и разнесены по углу. Например, ближний смещен вперед по вращению поршня. На другом поршне ближе к периферии между прорезями 22, на торцевой поверхности расположены две канавки 36 в виде дуг разного радиуса. Их центры совпадают и находятся на расстоянии от оси поршня, как и ось другого поршня. Концы дуг выходят на периферическую поверхность поршня. Первый конец (по ходу вращения поршня) большой дуги отогнут к центру дуг, и второй конец малой дуги отогнут к центру дуг. При вращении поршня его зубья 35 вращаются медленнее, находясь близко к его оси, первый зуб 35 входит в канавку 36 малой дуги в его загнутый конец, еще когда оба поршня сидят вырезами на разделителе 13. Пока зуб 35 одного поршня идет по загнутой (эллиптической) части канавки 36, движение другого поршня, в котором выполнены канавки 36, останавливается. Второй зуб 35 входит в канавку 36 большего радиуса. Далее оба зуба 35 идут по цилиндрическим частям канавок 36, не давая поршню провернуться. Затем, когда первый зуб 35 выходит из канавки 36 меньшего радиуса, второй зуб входит в эллиптическую часть канавки большего радиуса, он проворачивает поршень, выставляя его вырез 22 из прорези вала. Пар таких зубьев и канавок должно быть по числу вырезов 22 на поршнях.
На фиг.28 приведен пример конструкции с меньшим количеством зубьев. На одном поршне, вблизи к его оси, напротив выреза 22 расположен зуб 35, представляющий собой овал (дугу), выступающий вдоль оси поршня. Он может состоять из набора роликов. На другом поршне ближе к периферии между вырезами 22, на торцевой поверхности расположена канавка 36 в виде меньшей части эллипса, вытянутого по радиусу, выходящая двумя концами на периферийную поверхность поршня. При этом ближний к оси поршня участок является по существу цилиндрическим. При вращении поршня его овальный зуб 35 вращается медленнее, находясь близко к его оси, и входит в канал, еще когда оба поршня сидят вырезами на разделителе 13. Пока зуб 35 одного поршня идет по эллиптической части канавки 36, движение поршня, в котором выполнена канавка 36, останавливается (тормозится). Далее зуб идет по цилиндрической части канавки, не давая поршню провернуться за счет части зуба, повторяющей форму цилиндрического участка канавки. Затем, когда зуб выходит в эллиптическую часть канавки, он проворачивает поршень. Таких зубьев и канавок должно быть по числу вырезов 22 на поршнях.
На фиг.29 приведен пример конструкции с опорной осью 19а поршня 18, служащей в качестве зуба, для поршней большего размера, которые перекрывают друг другу оси. Каждый конец оси 19а поршня, выступающий в сторону другого поршня, сплюснут. На каждом поршне выполнена канавка 36а такого радиуса, как расстояние между поршнями. В нескольких местах (по количеству вырезов 22 на поршне) между вырезами 22 канавка имеет утолщения 37 по радиусу. Во внешнюю сторону в виде по существу части эллипса, у которого меньшая полуось направлена по радиусу, и к оси поршня в виде по существу части эллипса, у которого большая полуось направлена по радиусу. При прохождении узкой части канавки 36а по сплюснутой части оси относительные скорости велики, не стоит использовать этот участок для удержания оси от вращения, т.е. желательно за счет гарантированного зазора исключить контакт оси 19а с канавкой 36а, но утолщение 37 канавки подходит к оси 19а уже с меньшей скоростью, и, войдя в него, ось 19а начинает поворачиваться (это обеспечивается взаимодействием канавки на этом поршне и сплюснутого участка оси на другом поршне), при этом она тормозит вращение поршня (канавки). Дойдя до центральных по существу круглых участков утолщений 37, сплюснутый участок оси 19а останавливает вращение поршня 18. Далее, выйдя из круглого участка, он снова ускоряет вращение поршня. Когда сплюснутый конец оси 19а поворачивается до положения вдоль канавки. Канавка 36а наезжает на него уже за счет зацепления выреза 22 поршня 18 с разделителем 13 и сплюснутого конца оси 19а другого поршня с канавкой 36а первого поршня.
Все примеры с зубьями применимы и для поршней с другим количеством вырезов 22.
Понятно, что они могут быть дополнены другими методами синхронизации: дополнительные зубья, рычаги и т.д.
В варианте выполнения машины без направляющих ребер (см. фиг.11-13) возможно расширение сечения камеры до размеров, при которых плоское (почти плоское – пологое) продолжение разделителя 13 за счет дополнительного участка 13б хотя бы частично останется в камере. Герметичность контакта вырез 22 – участок 13б в этом месте будет все равно выше, чем на крутом участке разделителя 13 из-за неподвижности поршня, а также благодаря площадке 26б. При этом можно несколько увеличить подачу насоса.
На фиг.32 приведена диаграмма, показывающая, как введение неравномерности вращения повышает производительность насоса. Прямая диагональ соответствует разделителю 13 при равномерном вращении поршней, а кривые – при разных степенях неравномерности. Окна выполнены такого же размера. Видно, что рабочая площадь поршня в произвольном положении увеличивается с увеличением неравномерности вращения, следовательно, увеличивается и подача насоса. Таким образом, кроме уменьшения износа и потерь на трение мы получим и большую подачу.
Другим примером, иллюстрирующим возможность использования в полной мере обоих способов разгрузки механизма синхронизации, является машина, изображенная на фиг.21-24. Она устроена следующим образом.
Объемная роторная машина, содержащая вал 1, имеющий ось 30 вала 1, внешнюю концентрическую рабочую поверхность 2, состоящую из центральной концентричной круговой, по существу шарообразной части 3, от которой преимущественно в осевом направлении в противоположные стороны простираются две концентричные поверхности 4 и 5,
корпус, имеющий ось корпуса и внутреннюю по существу сферическую поверхность корпуса 14, состоящую по ходу вращения вала 1 из первой части внутренней поверхности 14а и второй части внутренней поверхности 14б, третьей части 14в и четвертой части 14 г;
одна замкнутая по существу концентричная камерообразующая полость 12, имеющая форму по существу части шара, образована внутренней поверхностью корпуса 14 и внешней рабочей поверхностью 2 вала, имеющая участки 12а, 12б, 12в и 12г соответственно, образованные частями поверхностей 14а, 14б, 14в и 14г;
замкнутый кривой разделитель 13, перегораживающий участки 12б и 12г камерообразующей полости 12 по существу по диагоналям, по ходу вращения вала и по оси условно вверх на участке 12б и по ходу вращения вала и условно вниз, разбивая их на своего рода криволинейные треугольники;
окна входа 23 и выхода 24 рабочего тела, расположенные на корпусе 8 на поверхности 14б, по разные стороны от разделителя 13, прилегая к вершинам этих криволинейных треугольников, окно входа 23 прилегает к разделителю 13 у его начала по ходу вращения вала, а окно выхода прилегает к разделителю 13 у его конца, окна могут занимать по существу всю поверхность 14б,
аналогичным образом расположены окна входа 23 и выхода 24 рабочего тела, расположенные на корпусе 8 на поверхности 14г;
одна сквозная прорезь 21 в рабочей поверхности 2 вала 1;
один дискообразный поршень 18, который имеет две торцевые поверхности 31 поршня 18, периферическую поверхность 41 в виде по существу части сферы, геометрическую ось 19 поршня 18, пересекающую геометрическую ось 30 вала 1 по существу под прямым углом, при этом поршень установлен на валу 1 с размещением центральной части поршня 18 в прорези 21 с возможностью вращения поршня 18 вокруг геометрической оси 19 поршня 18, два выреза 22 в периферийной части поршня 18, каждый вырез имеет две боковые поверхности 26 и дно 25 выреза 22, которое по существу является продолжением сферической поверхности 3 вала 1;
поверхности 26 предпочтительно имеют по площадке 26б (цилиндрическая или коническая), ответной к плоскому участку разделителя 13 (кривые участки разделителя 13, будучи тоньше плоского участка, не будут контактировать с ним 26б, не изнашивая его 26б);
периферическая поверхность поршня может и не быть сферической, достаточно, чтобы она была ответной к поверхности 14а и 14в, которые тоже могут не быть сферическими. Например, для увеличения подачи в меньших габаритах их можно сделать цилиндрическими. При этом от не занятой окнами части поверхности 14б и 14г и прилегающим к ним участкам поверхности 14а и 14в требуется только, чтобы они были достаточного размера для пропускания вращающегося поршня;
причем участок 12a камерообразующей полости 12 разделяется на рабочие камеры 17а с уменьшающимся объемом и 17б с увеличивающимся объемом;
форма разделителя 13 такая, чтобы на участке 14б, взаимодействуя с вырезом 22 поршня, разгонять его от нулевой скорости вращения до максимальной, а затем тормозить снова до нулевой скорости, при этом важно, что разделитель 13 своим плоским участком на участке 14в по существу герметично перекрывает вырез 22, далее на участке 14г разделитель 13 разгоняет поршень в обратную сторону до максимальной скорости и затем тормозит до нулевой скорости, на участке 14а разделитель 13 герметично перекрывает вырез 22 неподвижного поршня.
Приблизительный пример формы не плоского участка разделителя 13 в одном из вариантов исполнения может дать кривая в системе координат на шаре
, 
где – угол поворота сечения шара вокруг оси вала, 0 – половина угла, на котором разделитель 13 расположен горизонтально, – угол поворота радиус-вектора сечения шара, а 0 – половина углового размера камеры, – половина углового размера горизонтального участка ребра разделителя 13,
приближения состоят в основном в использовании функции sin, также форма будет несколько другой из-за объемной формы выреза 22.
В данной конструкции поддерживается по существу постоянный угол наклона разделителя 13 к поршню и тем самым уменьшается износ прорези 22 за счет более плоского контакта. Такая форма получается для определенной зоны прорези 22, если отношения скоростей изменения углов и поддерживать пропорциональным отношению расстояний от оси поршня до выбранной зоны к расстоянию от оси вала до этой зоны. Здесь можно сначала провести разделитель, удовлетворяющий таким условиям, а затем с помощью смещения масс поршня, формы канавок, массы подвижных масс, а также размещения окон постараться сделать естественным движение поршня, соответствующее форме разделителя 13.
Для уменьшения вероятности заклинивания поршня на ребре поршень в конструкции с одним поршнем можно установить под углом к оси вала (вектор угловой скорости поршня составляет острый угол с вектором угловой скорости вала), что уменьшит угол между поршнем и разделителем, сделает вращение поршня частично по ходу относительного движения разделителя. Недостатком этого будет увеличение продольной нагрузки на вал. И, наоборот, существует возможность разгрузить вал от продольной силы за счет наклона поршня в обратную сторону, но это может увеличить вероятность заклинивания поршня на спирали и износ прорези и спирали.
При создании многоступенчатых конструкций на одном валу на основе объемной роторной машины с поршнями, вращающимися на осях, скрещивающихся с осью вала и спиралеобразным разделителем и, возможно, направляющей, возникает проблема точного позиционирования части ступени, собранной на валу с корпусом этой ступени. Проблема усугубляется осевым смещением вала при износе упорных подшипников. При неточной установке вала в опорных подшипниках или при их износе из-за осевого смещения вала поршни могут упереться в стенки корпуса своей периферийной поверхностью. Это приводит к большим усилиям в парах трения вырез поршня разделитель и вырез поршня направляющая, что ведет к сильному износу этих элементов синхронизации.
Для решения этой проблемы возможна установка поршня 18 во вкладыше 50, который установлен в прорези 21 ротора с возможностью перемещения вместе с поршнем 18 вдоль вала 1 (см. фиг.36-39). По существу поршень 18 становится “плавающим” без ухудшения своих уплотнительных качеств. Поршень при этом установлен с возможностью вращения относительно вкладыша 50, который может быть снабжен средствами его фиксирования от перемещения в направлении, перпендикулярном оси вращения ротора 3, то есть от его выпадения из прорези 21.
При этом поршень 18 может быть выполнен заодно со своей осью 19а или выполнен с осевым отверстием, в которое входит отдельная ось 19а, проходящая также сквозь отверстие 19б во вкладыше-рамке 50 и соединяющая таким образом поршень с вкладышем.
Вкладыш 50 может вставляться в прорезь 21 ротора 3 через открытый с торца вала 1 паз с перемещением вдоль вала. Или вкладыш 50 вставляется в глухую прорезь 21 с относительно небольшим смещением вдоль вала 1.
Устройства фиксации вкладыша 50 могут быть выполнены в виде продольных пазов 51 и выступов 52, выполненных на боковых его сторонах и контактирующих с ответными выступами 52а или пазами вала 1. Между ступенями машины в прорезях между рамками могут быть установлены уплотнительные элементы.
В случае выполнения машины малооборотной необходимость использования фиксаторов вкладыша 50 отпадает. Поршень просто вставляется с вкладышем 50 в прорезь и удерживается на своем месте за счет постоянного контакта с внутренней поверхностью корпуса центробежными силами.
Попутно выяснилось, что возможность организации естественного неравномерного движения поршней может не только уменьшить потери на трение в осях поршней, их износ, уменьшить утечки (в том числе за счет площадок 26б), но и сильно изменить другие характеристики некоторых роторных компрессоров. Так, для компрессора с поступательно вращающимся поршнем см. патенты RU 2122129, 20.11.98, US 2500143 становится возможным уже при двух поршнях с одним вырезом и одним разделителем получать любые степени сжатия или разрежения (для вакуумных насосов). Но на роль компрессоров подходят все приведенные выше схемы насосов с поршнями с одним, двумя и тремя вырезами 22. Но для компрессоров оптимальное количество поршней два – три.
Таким образом, за счет создания неравномерности вращения поршней удалось сократить длины и количество щелей, через которые возможны утечки, и при этом улучшить параметры компрессора за счет освобождения полезного объема, занятого элементами конструкции, а также формы ребер. Кроме того, у такого компрессора связь камер с окнами возникает или исчезает в моменты стабилизации их объема, а не в моменты их быстрого роста или убывания. Это устраняет необходимость предварительного открытия и закрытия окон, существующую у других компрессоров. (При быстром росте/убывании объема камеры невозможно мгновенно открыть окно в момент выравнивания давлений, поэтому открывают их, заранее идя на потери давления).
На фиг.32 приведена диаграмма, показывающая, как введение неравномерности вращения положительно влияет на производительность и степень сжатия компрессора. Прямая диагональ соответствует разделителю 13 при равномерном вращении поршней, а кривые – при разных степенях неравномерности.
Аналогичным образом обстоит дело и с роторными двигателями внутреннего сгорания см. RU 2122129. Придание естественной неравномерности вращению поршней снижает необходимое количество поршней и вырезов в них и соответствующее количество спиральных ребер. Характеристики могут быть улучшены при этом за счет уменьшения утечек и эффектов, описанных выше для компрессоров.
Формула изобретения
1. Способ разгрузки рабочих элементов роторной объемной машины, содержащей, по меньшей мере, один поршень, совершающий сложное вращательное движение как относительно корпуса вместе с ротором, так и относительно ротора в плоскости, пересекающей плоскость вращения ротора и имеющий, по меньшей мере, один радиальный вырез, взаимодействующий со спиралеобразным разделителем камерообразующей полости, образующим в последней вместе с поршнем рабочие полости переменного объема, отличающийся тем, что изменяют скорость вращения поршня относительно ротора, по крайней мере, в части диапазона угла поворота ротора во время действия на поршень наибольших нагрузок от давления рабочей среды, по сравнению со скоростью вращения поршня относительно ротора в диапазоне угла поворота ротора во время впуска рабочей среды в рабочую полость и ее перепуска из рабочей полости.
2. Способ по п.1, отличающийся тем, что изменяют скорость вращения поршня относительно ротора путем взаимодействия дополнительного выреза поршня с дополнительным участком разделителя, расположенным в районе действия на поршень наибольших нагрузок рабочей среды, при этом скорость вращения поршня относительно ротора уменьшают за счет уменьшения шага спирали, по крайней мере, части дополнительного участка разделителя, причем шаг спирали определяют как отношение средней скорости вращения поршня относительно ротора к скорости вращения ротора относительно корпуса на заданном угле поворота ротора.
3. Способ по п.2, отличающийся тем, что дополнительный участок разделителя выполняют с шагом, равным нулю, то есть располагают его концентрично оси вращения ротора.
4. Способ по п.1, отличающийся тем, что изменяют скорость вращения поршня относительно ротора путем взаимодействия дополнительного выреза поршня с дополнительной направляющей корпуса, имеющей, по крайней мере, один спиралеобразный участок и расположенной в районе действия на поршень наибольших нагрузок рабочей среды, при этом скорость вращения поршня относительно ротора уменьшают за счет выполнения шага спирали направляющей, по крайней мере, на части направляющей, меньшим шага спирали разделителя, причем шаг спирали определяют как отношение средней скорости вращения поршня относительно ротора к скорости вращения ротора относительно корпуса на заданном угле поворота ротора.
5. Способ по п.4, отличающийся тем, что, по крайней мере, участок направляющей выполняют с шагом, равным нулю, то есть располагают его концентрично оси вращения ротора.
6. Способ разгрузки рабочих элементов роторной объемной машины, содержащей, по меньшей мере, один вращающийся вместе с ротором поршень, в котором выполнен, по меньшей мере, один радиальный вырез, взаимодействующий с разделителем камерообразующей полости, при этом поршень установлен с возможностью вращения в плоскости, пересекающей плоскость вращения ротора, отличающийся тем, что поршень ускоряют и затормаживают относительно ротора, создавая переменную инерционную нагрузку со стороны поршня, при этом поршень ускоряют относительно ротора при взаимодействии его с разделителем или направляющей, по крайней мере, на части последних.
7. Способ по п.6, отличающийся тем, что в поршне с числом вырезов более одного инерционную нагрузку создают путем группирования (концентрации) масс поршня и распределения сгруппированных масс за счет их смещения в сторону вырезов поршня.
8. Способ по п.6, отличающийся тем, что характеристику изменения инерционных сил при ускорении и затормаживании задают путем создания дебаланса в плоскости движения поршня за счет перераспределения масс поршня.
9. Способ по п.8, отличающийся тем, что при работе машины часть масс поршня перемещают относительно последнего за счет размещения в полости поршня твердого и/или сыпучего материала и/или жидкости.
10. Способ по п.7, отличающийся тем, что в поршне с одним вырезом под разделитель центр масс поршня размещают в районе выреза.
11. Способ разгрузки рабочих элементов роторной объемной машины, содержащей, по меньшей мере, один взаимодействующий с ротором поршень, в котором выполнены, по меньшей мере, два радиальных выреза, взаимодействующих с разделителем и направляющими, отличающийся тем, что разделитель и направляющие располагают в виде последовательно расположенных участков, при этом участки направляющих примыкают с разных сторон к концам разделителя.
12. Способ по п.11, отличающийся тем, что направляющие и разделитель выполняют заодно.
13. Способ по п.11, отличающийся тем, что участки направляющих располагают концентрично оси вращения ротора.
14. Способ разгрузки рабочих элементов роторной объемной машины, содержащей, по меньшей мере, два поршня, каждый из которых совершает сложное вращательное движение как относительно корпуса вместе с ротором, так и относительно ротора в плоскости, пересекающей плоскость вращения ротора и имеет, по меньшей мере, два радиальных выреза, взаимодействующие поочередно со спиралеобразным разделителем камерообразующей полости, который образует в последней вместе с поршнями рабочие полости переменного объема, отличающийся тем, что поршень, совершающий процесс вытеснения из рабочей полости, останавливают относительно ротора, при этом другой поршень вращают вокруг своей оси относительно ротора на участке взаимодействия с разделителем.
15. Роторная объемная машина, содержащая корпус с внутренней полостью кольцевой формы, установленный в полости корпуса ротор, выходной вал, по меньшей мере, один поршень, установленный в прорези ротора с возможностью вращения как относительно корпуса вместе с ротором, так и относительно ротора в плоскости, пересекающей плоскость вращения ротора и, по меньшей мере, один разделитель, выполненный в виде спиралеобразного выступа, расположенного на внутренней поверхности корпуса, по меньшей мере, на части ее периметра и взаимодействующего с поверхностью ротора, причем в поршне выполнен, по меньшей мере, один сквозной радиальный вырез с возможностью прохода в него разделителя, а в полости корпуса образованы рабочие камеры переменного объема, ограниченные поверхностями корпуса, ротора, поршня и разделителя, отличающаяся тем, что она снабжена рамкой, выполненной в виде вкладыша с проточкой, поршень размещен в рамке, которая установлена в прорези ротора с возможностью дополнительного перемещения вместе с поршнем относительно ротора вдоль оси его вращения, а машина снабжена средством, позволяющим изменять скорость вращения поршня относительно ротора для разгрузки рабочих элементов машины.
16. Машина по п.15, отличающаяся тем, что рамка снабжена устройством ее фиксирования от перемещения в направлении, перпендикулярном оси вращения ротора.
17. Машина по любому из пп.15 или 16, отличающаяся тем, что прорезь ротора выполнена общей для нескольких ступеней, а между рамками соседних ступеней в прорези установлены уплотнительные элементы.
РИСУНКИ
PC4A – Регистрация договора об уступке патента СССР или патента Российской Федерации на изобретение
Прежний патентообладатель:
Яновский Илья Яковлевич, Дидин Александр Владимирович
(73) Патентообладатель:
Закрытое акционерное общество “Новомет-Пермь”
Договор № РД0035240 зарегистрирован 17.04.2008
Извещение опубликовано: 27.05.2008 БИ: 15/2008
|
|