|
|
(21), (22) Заявка: 2006102502/06, 30.01.2006
(24) Дата начала отсчета срока действия патента:
30.01.2006
(46) Опубликовано: 20.06.2007
(56) Список документов, цитированных в отчете о поиске:
SU 992821 А, 30.01.1983. RU 2253735 C2, 10.06.2005. RU 46820 A, 27.07.2005. US 4152100 A, 01.05.1979. US 5642620 A, 01.07.1997.
Адрес для переписки:
105118, Москва, пр-т Буденного, 16, ФГУП “ММПП “САЛЮТ”, Правовое управление, С.Е. Кирееву
|
(72) Автор(ы):
Беляев Вячеслав Евгеньевич (RU), Вдовин Петр Иванович (UA), Косой Александр Семенович (RU)
(73) Патентообладатель(и):
Федеральное государственное унитарное предприятие “Московское машиностроительное производственное предприятие “САЛЮТ” (ФГУП “ММПП “САЛЮТ”) (RU)
|
(54) РОЛИКОЛОПАСТНОЙ КОМПРЕССОР
(57) Реферат:
Изобретение относится к машиностроению, в частности, к ролико-лопастным компрессорам. Ролико-лопастной компрессор содержит полый корпус с выполненными в нем двумя подводящими каналами рабочей среды, один из которых сообщен с источником рабочей среды, и двумя отводящими каналами рабочей среды, один из которых сообщен с потребителем, а другой сообщен при помощи магистрали со вторым подводящим каналом, разгрузочными пазами, имеющими возможность гидравлического соединения с отводящим каналом, сообщенным с потребителем через паз ролика-разделителя, и с выполненными на его внутренней поверхности выемками под ролики-разделители с пазами и разгрузочной полостью, гидравлически сообщенной со вторым подводящим каналом, при этом в полости корпуса расположен ротор с лопастями, и в поперечном сечении расстояние l между ближайшими точками сопряжения внутренней поверхности корпуса со стенкой разгрузочной полости и выемки под ролик-разделитель меньше расстояния L между ближайшими точками сопряжения внутренней поверхности корпуса со стенкой подводящего канала, сообщенного с потребителем, и со стенкой отводящего канала, сообщенного при помощи магистрали со вторым подводящим каналом. В магистрали может быть расположен теплообменник. Повышается КПД ролико-лопастного компрессора. 1 з.п.ф-лы, 2 ил.
Изобретение относится к машиностроению, в частности к ролико-лопастным компрессорам.
Известна ролико-лопастная гидромашина, содержащая корпус с разгрузочными пазами, выполненными на его внутренней поверхности, и с подводящими и отводящими каналами, расположенные в корпусе ротор с лопастями и ролики-разделители, при этом расстояние между ближайшими кромками двух смежных разгрузочных канавок больше расстояния между двумя смежными лопастями ротора (см. авторское свидетельство СССР № 992821, Кл. F04C 2/08, опубл. 30.01.1980).
Недостаток известной ролико-лопастной гидромашины – низкий КПД и невозможность ее применения при работе на сжимаемых средах, например, в качестве ролико-лопастного компрессора.
Технический результат изобретения – повышение КПД ролико-лопастного компрессора.
Указанный технический результат достигается тем, что ролико-лопастной компрессор содержит полый корпус с выполненными в нем двумя подводящими каналами рабочей среды, один из которых сообщен с источником рабочей среды, и двумя отводящими каналами рабочей среды, один из которых сообщен с потребителем, а другой сообщен при помощи магистрали со вторым подводящим каналом, разгрузочными пазами, имеющими возможность гидравлического соединения с отводящим каналов, сообщенным с потребителем, через паз ролика-разделителя, и с выполненными на его внутренней поверхности выемками под ролики-разделители с пазами и разгрузочной полостью, гидравлически сообщенной со вторым подводящим каналом, при этом в полости корпуса расположен ротор с лопастями, и в поперечном сечении расстояние l между ближайшими точками сопряжения внутренней поверхности корпуса со стенкой разгрузочной полости и выемки под ролик-разделитель меньше расстояния L между ближайшими точками сопряжения внутренней поверхности корпуса со стенкой подводящего канала, сообщенного с потребителем, и со стенкой отводящего канала, сообщенного при помощи магистрали со вторым подводящим каналом.
Расстояние l меньше расстояния L. Такое выполнение позволяет в компрессоре создать для сжатия рабочей среды рабочие камеры разного объема. Объем рабочей камеры со стороны отводящего канала, сообщенного с потребителем, меньше объема рабочей камеры со стороны подводящего канала, сообщенного с источником рабочей среды, что позволяет сжать газ заданной массы в разных объемах, причем окончательное сжатие газа осуществляется в рабочей камере меньшего объема, что позволяет повысить давление, создаваемое компрессором, и, как следствие, повысить КПД компрессора. При расстоянии l, большем или равном расстоянию L, невозможно осуществить окончательное сжатие газа заданной массы в рабочей камере меньшего объема, что не позволяет получить повышение давления в компрессоре, т.е. ролико-лопастной компрессор не будет использован по своему прямому назначению – повышать давление и подавать сжатый до заданного давления газ потребителю.
Выполнение разгрузочной полости позволяет уменьшить пульсации потока рабочего тела – газа на входе в рабочую камеру меньшего объема.
В магистрали может быть расположен теплообменник, что позволяет снизить температуру рабочего тела (сжимаемой среды) – газа и дополнительно уменьшить работу сжатия.
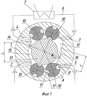
На фиг.1 изображен поперечный разрез ролико-лопастной машины;
на фиг.2 – сечение А-А фиг.1.
Ролико-лопастной компрессор содержит корпус 1 с выполненными в нем подводящими каналами 2, 3 рабочей среды и двумя отводящими каналами 4, 5. Подводящий канал 2 сообщен с источником рабочей среды (на чертеже не показан). Отводящий канал 4 сообщен с подводящим каналом 3 при помощи магистрали 6, в которой размещен теплообменник 7. Также в корпусе 1 выполнены разгрузочные пазы 8, а на внутренней поверхности корпуса – четыре выемки 9 – каждая под ролик-разделитель 10 с пазами 11 и разгрузочная полость 12, при этом разгрузочные пазы 8 имеют возможность гидравлического соединения с отводящим каналом 5 через паз 11 ролика-разделителя 10. В полости корпуса 1 расположен ротор 13 с лопастями 14. В поперечном сечении расстояние l между ближайшими точками сопряжения внутренней поверхности корпуса 1 со стенкой разгрузочной полости 12 и выемки 9 под ролик-разделитель 10 меньше расстояния L между ближайшими точками сопряжения внутренней поверхности корпуса 1 со стенкой подводящего канала 2, сообщенного с потребителем, и со стенкой отводящего канала 4, сообщенного при помощи магистрали 6 с подводящим каналом 3. Между подводящим каналом 2 и отводящим каналом 4 образована рабочая камера 15. Между разгрузочной полостью 12 и отводящим каналом 5 образована рабочая камера 16. Объем V1 рабочей камеры 16 меньше объема V2 рабочей камеры 15. Рабочая камера 16 образована поверхностями боковых крышек корпуса 1 (на чертежах не показаны), внутренней поверхностью корпуса 1, роликом-разделителем 10 и ротором 13 в момент прохождения вершины лопасти 14 линии пересечения поверхности разгрузочной полости 12 с цилиндрической внутренней поверхностью корпуса 1. Рабочая камера 15 образована поверхностями боковых крышек корпуса (на чертежах не показаны), внутренней поверхностью корпуса 1, роликом-разделителем 10, ротором 13 в момент прохождения вершины лопасти 14 выходного отверстия подводящего канала 2.
Ролико-лопастной компрессор работает следующим образом.
Ротор 13 приводится во вращение от внешнего источника. При вращении ротора 13 синхронно с ним вращаются ролики-разделители 10, при этом поочередно одни из роликов-разделителей 10 пропускают лопасти 14, а другие ролики-разделители 10, перекатываясь по ротору 13, разделяют полость корпуса 1 на полости высокого и низкого давления. Полости низкого давления образуются перед лопастью 14 непосредственно за подводящими каналами 2, 3, а полости высокого давления образуются за лопастью 14 перед отводящими каналами 4, 5.
Газ (рабочее тело) заданной массы через подводящий канал 2 поступает в полость корпуса 1, в рабочую камеру 15, где сжимается до давления P1, и через отводящий канал 4 по магистрали 6 поступает в подводящий канал 3, из которого поступает в разгрузочную полость 12 и далее в рабочую камеру 16, имеющую объем, меньший объема рабочей камеры 15, где сжимается до давления P2 (P2>P1). Сжатый в рабочей камере 16 газ поступает в отводящий канал 5 по разгрузочным пазам 8 во время, когда паз 11 ролика-разделителя 10 совпадает со входным отверстием отводящего канала 5, т.е. ролик-разделитель 10 выполняет роль золотника, т.е. сжатый газ из рабочей камеры 16 поступает к потребителю последовательно через разгрузочные пазы 8, паз 11 ролика-разделителя и отводящий канал 5. Когда паз 11 ролика-разделителя 10 не совпадает со входным отверстием отводящего канала 5, до момента прохода вершины лопасти 14 линии пересечения поверхности разгрузочной полости 12 с цилиндрической внутренней поверхностью корпуса 1 происходит заполнение рабочей камеры 16 рабочим телом – газом (сжимаемой средой) с давлением, равным P1 или меньшим на величину гидравлических потерь в магистрали 6 (и теплообменнике 7, в случае его наличия в магистрали 6). При дальнейшем вращении ротора 13, после прохождения вершиной лопасти 14 линии пересечения разгрузочной полости 12 с цилиндрической внутренней поверхностью корпуса 1, происходит сжатие рабочего тела внутри рабочей камеры 16. При этом объем газа уменьшается вследствие перемещения лопасти 14 в направлении разгрузочных пазов 8.
При выполнении ролико-лопастного компрессора с теплообменником 7, расположенным в магистрали 6, газ перед поступлением в канал 3 охлаждается в теплообменнике 7.
Формула изобретения
1. Роликолопастной компрессор, содержащий полый корпус с выполненными в нем двумя подводящими каналами рабочей среды, один из которых сообщен с источником рабочей среды, и двумя отводящими каналами рабочей среды, один из которых сообщен с потребителем, а другой сообщен при помощи магистрали со вторым подводящим каналом, разгрузочными пазами, имеющими возможность гидравлического соединения с отводящим каналом, сообщенным с потребителем через паз ролика-разделителя, и с выполненными на его внутренней поверхности выемками под ролики-разделители с пазами и разгрузочной полостью, гидравлически сообщенной со вторым подводящим каналом, при этом в полости корпуса расположен ротор с лопастями, и в поперечном сечении расстояние l между ближайшими точками сопряжения внутренней поверхности корпуса со стенкой разгрузочной полости и выемки под ролик-разделитель меньше расстояния L между ближайшими точками сопряжения внутренней поверхности корпуса со стенкой подводящего канала, сообщенного с потребителем, и со стенкой отводящего канала, сообщенного при помощи магистрали со вторым подводящим каналом.
2. Роликолопастной компрессор по п.1, отличающийся тем, что в магистрали расположен теплообменник.
РИСУНКИ
|
|