|
|
(21), (22) Заявка: 2005132910/03, 26.10.2005
(24) Дата начала отсчета срока действия патента:
26.10.2005
(46) Опубликовано: 20.06.2007
(56) Список документов, цитированных в отчете о поиске:
УШАКОВ К.З. Газовая динамика шахт. – М.: МГГУ, 2004, с.454. SU 1613638 А1, 15.12.1990. SU 810988 А1, 07.03.1981. SU 928027 А, 15.05.1982. SU 1305377 А2, 23.04.1987. RU 2193666 C1, 27.11.2002. GB 1170236 A, 12.11.1969.
Адрес для переписки:
119991, Москва, Ленинский пр-т, 6, МГГУ, патентный отдел
|
(72) Автор(ы):
Филин Александр Эдуардович (RU), Соломахин Александр Николаевич (RU)
(73) Патентообладатель(и):
Государственное образовательное учреждение высшего профессионального образования “Московский государственный горный университет” (МГГУ) (RU)
|
(54) УСТРОЙСТВО ДЛЯ ПРОВЕТРИВАНИЯ ГОРНЫХ ВЫРАБОТОК
(57) Реферат:
Изобретение относится к горной промышленности и предназначено для проветривания сквозных и тупиковых выработок, опасных по слоевым и местным скоплениям газа. Устройство содержит вентилятор, корпус с проходными окнами, внутри которого установлен распределитель потока воздуха с проходными окнами, лопатками и уплотняющими обечайками, механизм перемещения корпуса относительно распределителя потока воздуха и фиксатор их положения. При этом проходные окна распределителя и корпуса размещены на их торцевых стенках. Энергия воздушного потока от вентилятора используется одновременно для приведения во вращение распределителя с помощью лопаток и создания пульсирующего движения воздуха в выработке. Техническим результатам изобретения является повышение эффективности разрушения скоплений газа за счет уменьшения потерь напора в устройстве для проветривания горных выработок и повышения энергии пульсирующего воздушного потока, поступающего в выработку. Изобретение позволяет существенно уменьшить габариты и массу устройства для проветривания горных выработок. 4 ил.
Изобретение относится к горной промышленности и может быть использовано для проветривания сквозных и тупиковых выработок, опасных по слоевым и местным скоплениям газа.
Известно устройство для проветривания тупиковых горных выработок, содержащее трубу, внутри которой размещен прерыватель потока воздуха [1].
Недостатком этого устройства является то, что при уменьшении поперечного сечения трубы увеличивается сопротивление трубопровода, а следовательно, снижается проходящее по трубопроводу в забой количество воздуха, что ухудшает условия выноса газа.
Известно устройство для проветривания горных выработок, содержащее вентилятор, корпус с окнами и радиальными патрубками, внутри которого расположен распределитель потока с проходными окнами, лопатками и с наружной уплотняющей обечайкой [2]. Это устройство взято нами в качестве прототипа.
Недостатками вышеуказанного устройства являются большие потери напора воздушным потоком и снижение его энергии на выходе в выработку.
Это происходит вследствие того, что вентилятор подает воздух в направлении продольной оси распределителя, а перед входом в радиальные патрубки происходит поворот воздушного потока на 90°. Перед выходом воздушного потока в выработку происходит второй поворот его на 90°.
Задачей данного изобретения является повышение эффективности разрушения скоплений газа за счет снижения потерь напора и увеличения энергии воздушного потока, поступающего в выработку, а также уменьшение габаритов и массы устройства.
Это достигается тем, что устройство для проветривания горных выработок, содержащее вентилятор, корпус с окнами, внутри которого расположен распределитель потока воздуха с проходными окнами, лопатками и с наружной уплотняющей обечайкой, снабжено механизмом перемещения корпуса относительно распределителя потока воздуха и фиксатором их положения, а на торцевой стенке распределителя потока воздуха установлена внутренняя уплотняющая обечайка, при этом проходные окна распределителя и корпуса размещены на их торцевых стенках.
Наличие механизма перемещения корпуса относительно распределителя потока воздуха и фиксатора их положения обеспечивает возможность получения минимального зазора между торцевыми стенками корпуса и распределителя, на которых расположены проходные окна. Это позволяет снизить до минимума перетоки воздуха между проходными окнами и повысить энергию воздушного потока, поступающего в выработку.
Наличие на торцевой части распределителя внутренней уплотняющей обечайки также позволяет уменьшить перетоки воздуха между проходными окнами и увеличить энергию воздушного потока, поступающего в выработку.
Размещение проходных окон на торцах распределителя и корпуса позволяет устранить повороты воздушного потока, что уменьшает потери напора и увеличивает энергию воздушного потока, поступающего в выработку.
Отсутствие радиальных патрубков позволяет существенно уменьшить габариты устройства как в осевом, так и в радиальном направлениях.
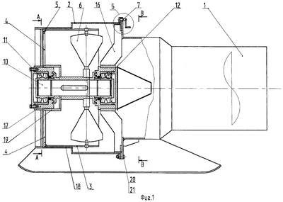
На фиг.1 представлено устройство для проветривания горных выработок.
На фиг.2 – разрез А-А.
На фиг.3 – место Б.
На фиг.4 – разрез В-В.
Устройство для проветривания горных выработок состоит из вентилятора 1, корпуса 2, внутри которого расположен распределитель потока воздуха 3 с проходными окнами 4 на его торцевой стенке 5 и лопатками 6, вращающими распределитель под действием потока воздуха от вентилятора 1, и механизм перемещения 7 корпуса 2 относительно распределителя потока воздуха 3 (см. фиг.1). Корпус 2 выполнен в виде цилиндра, передний торец которого снабжен двумя окнами 8 и 9 (см. фиг.2). Распределитель 3 установлен на оси 10 в подшипниках 11 и 12. Механизм перемещения 7 выполнен, например, в виде винта 13, резьбовой втулки 14 и рукояти 15 (см. фиг.3). Перемещение корпуса происходит по цилиндрическим поверхностям опоры 16 и втулки 17 подшипника 11. Распределитель потока воздуха 3 снабжен наружной и внутренней обечайками 18, 19, расположенными соосно соответственно с цилиндрической поверхностью корпуса 2 и втулки 17.
Для обеспечения минимального зазора между торцами корпуса и распределителя осуществляют перемещение корпуса 2 механизмом 7 относительно распределителя 3 с последующей фиксацией их положения с помощью фиксатора, выполненного, например, в виде болтов 20 и гаек 21 (см. фиг.4).
Устройство для проветривания горных выработок работает следующим образом.
Устройство размещают в выработке таким образом, чтобы проходные окна корпуса 2 и распределителя 3 были направлены вдоль потока воздуха в выработке. После включения вентилятора поток воздуха поступает на лопатки, которые вместе с распределителем 3 вращаются под действием напора воздуха. При совмещении окон распределителя 3 с окнами корпуса 2 происходит импульсивный выброс воздуха в выработку. Далее процесс повторяется. Происходит периодическое ускорение и торможение воздушного потока в выработке, что вызывает его пульсацию.
Механизм перемещения корпуса относительно распределителя потока воздуха и фиксатор их положения позволяют обеспечить зазор между торцевыми стенками корпуса и распределителя в пределах 0,2…0,5 мм и таким образом сократить до минимума перетоки воздушного потока между проходными окнами и повысить энергию воздушного потока в 1,5-2,5 раза, поступающего в выработку. Наличие на торцевой стенке внутренней уплотняющей обечайки также уменьшает перетоки воздуха между проходными окнами и повышает энергию воздушного потока, поступающего в выработку.
Благодаря тому, что проходные окна размещены на торцевых стенках корпуса и распределителя, сокращаются потери напора и повышается энергия воздушного потока, поступающего в выработку, сокращаются габариты устройства как в осевом, так и в радиальном направлениях, а также уменьшается его масса.
Источники информации
1. Шередекин Д.М. и Кизряков А.Д. Аэродинамика подготовительных выработок. – М., Недра, 1985, с.132.
2. Ушаков К.З. Газовая динамика шахт. – М.: Издательство Московского государственного горного университета, 2004, с.454 (прототип).
Формула изобретения
Устройство для проветривания горных выработок, содержащее вентилятор, корпус с окнами, внутри которого расположен распределитель потока воздуха с проходными окнами, лопатками и с наружной уплотняющей обечайкой, отличающееся тем, что оно снабжено механизмом перемещения корпуса относительно распределителя потока воздуха и фиксатором их положения, а на торцевой стенке распределителя потока воздуха установлена внутренняя уплотняющая обечайка, при этом проходные окна распределителя и корпуса размещены на их торцевых стенках.
РИСУНКИ
|
|