|
|
(21), (22) Заявка: 2005122511/03, 15.07.2005
(24) Дата начала отсчета срока действия патента:
15.07.2005
(30) Конвенционный приоритет:
16.07.2004 (пп.1-11) DE 202004011226.4
(43) Дата публикации заявки: 10.02.2007
(46) Опубликовано: 20.06.2007
(56) Список документов, цитированных в отчете о поиске:
DE 3708902 С3, 29.09.1988. RU 2207436 С2, 06.06.2000. RU 2231184 С2, 20.06.2004. US 4451181 А, 29.05.1984. DE 19751007 А1, 20.05.1999. DE 19751010 А1, 20.05.1999. DE 3820529 А1, 21.12.1989. US 6607403 В2, 19.08.2003. GB 1300913 А, 29.12.1972. GB 1055342 А, 18.01.1967.
Адрес для переписки:
129010, Москва, ул. Б.Спасская, 25, стр.3, ООО “Юридическая фирма Городисский и Партнеры”, пат.пов. Е.И. Емельянову
|
(72) Автор(ы):
МУНДРИ Себастьян М. (DE), ТИЧЕРТ Йенс (DE), ЧЕПЕ Юрген (DE), ФРАНК Райнер (DE)
(73) Патентообладатель(и):
ДБТ ГМБХ (DE)
|
(54) УСТРОЙСТВО ИНДИВИДУАЛЬНОГО УПРАВЛЕНИЯ СЕКЦИЕЙ ЩИТОВОЙ МЕХАНИЗИРОВАННОЙ КРЕПИ
(57) Реферат:
Изобретение относится к области дистанционного управления горным оборудованием и может быть использовано для индивидуального управления секцией механизированной крепи. Устройство выполнено с корпусом, имеющим форму плоского ящика с размещенной в нем микроэлектроникой, с электрическими штекерными соединителями для штекерного присоединения кабельных вилок от сенсорных датчиков или исполнительных механизмов секции механизированной крепи. Также есть, по меньшей мере, две имеющие по одной контактной вилке соединительные муфты для штекерного присоединения кабелей для связи с соседними устройствами индивидуального управления. Соединительная муфта является составной частью вилочного устройства, включающего проходящую через верхнюю или нижнюю стенку корпуса полую крепежную втулку и имеющего, по меньшей мере, одну вторую соединительную муфту для штекерного присоединения кабеля для связи с соседними устройствами индивидуального управления. Провода для подсоединения электроники с контактными вилками соединительных муфт проведены через полое пространство в крепежной втулке. Изобретение обеспечивает надежность связи между секциями. 10 з.п. ф-лы, 6 ил.
Изобретение касается устройства индивидуального управления секцией механизированной крепи при подземных горных работах, с корпусом, имеющим форму плоского ящика, с верхней стенкой, нижней стенкой, двумя боковыми стенками, а также передней частью и задней частью, с размещенной в корпусе микроэлектроникой, со штекерными соединителями для штекерного присоединения кабельных вилок от сенсорных датчиков или исполнительных механизмов с, по меньшей мере, двумя имеющими по одной контактной вилке соединительными муфтами для штекерного присоединения кабелей с соседними устройствами индивидуального управления.
Устройство индивидуального управления соответствующего рода известно из DE 3708902С3. В соответствующем устройстве индивидуального управления как штекерные соединители для штекерного электрического присоединения кабелей от электромагнитных клапанов и других исполнительных механизмов, сенсорных датчиков, а также гнездовые контактные зажимы или соединительные муфты для кабелей, обеспечивающих связь между соседними секциями, находятся на задней части корпуса. В известном устройстве индивидуального управления контактирование осуществляется между кабельными вилками и задней частью корпуса через отдельную планку с контактными зажимами, в которую входят все кабельные вилки, так что устройство индивидуального управления может быть самым простым образом снято с планки с контактными зажимами, установленной на секции крепи, и при необходимости заменено на другое устройство индивидуального управления. При подземных горных работах принято выполнение кабеля в виде шлангового кабеля, а закрепление расположенных на концах шлангового кабеля штекерных головок в планке с контактными зажимами или гнездовом контактном зажиме с помощью U-образных соединительных зажимов. В устройстве индивидуального управления соответствующего рода для каждого штекерного присоединения на его задней части выполнена муфта, во внутренней полости которой расположены контактные штифты и контактные гнезда и по внешнему периметру которой предусмотрено кольцевое уплотнение, препятствующее попаданию влаги в соединение между планкой с контактными зажимами и устройством управления в собранном состоянии. Подобным образом все штекерные головки шлангового кабеля снабжены кольцевыми уплотнениями, чтобы предотвратить попадание влаги с задней стороны планки с контактными зажимами на электрические контакты. Принцип использования планки с зажимными контактами, выбранный в соответствующем родовому понятию устройстве управления, оправдывает себя, в частности, в имеющихся при подземных условиях климатических условиях, отличающихся наличием влажности и пыли, так что электрические отказы могут быть минимизированы. Однако при многих случаях применения соединения всех шланговых кабелей на задней части устройства индивидуального управления оказываются недостатком, так, в частности, кабели для связи между соседними устройствами управления должны изгибаться со сравнительно небольшим радиусом. Кроме того, производственные затраты для подобного рода устройств индивидуального управления значительны.
Задачей изобретения является создание устройства индивидуального управления с более низкими производственными затратами, позволяющего улучшить соединение кабелей, в частности кабелей для связи между соседними устройствами управления.
Согласно изобретению эта задача решается за счет того, что соединительная муфта является составной вилочного устройства, включающего проходящую сквозь верхнюю или, предпочтительно, нижнюю стенку корпуса полую крепежную втулку и имеющего, по меньшей мере, две имеющие по одной контактной вилке соединительные муфты для штекерного присоединения кабелей с соседними устройствами индивидуального управления, при этом электрические провода для подсоединения микроэлектроники с контактными вилками соединительных муфт проведены через полое пространство в крепежной втулке.
В устройстве индивидуального управления согласно изобретению подсоединение кабелей для связи с соседними устройствами управления осуществляется не с задней стороны устройства индивидуального управления, а через дополнительное вилочное устройство, расположенное своей соединительной муфтой вне корпуса и предпочтительно на нижней стороне устройства индивидуального управления. Благодаря пространственному выносу соединительной муфты для шлангового кабеля, обеспечивающего связь с соседними устройствами управления, с задней стороны может быть, среди прочего, достигнуто, что соответствующий шланговый кабель больше не нужно подводить сзади, а он может подводиться под углом или сбоку. Одновременно эти кабели, ведущие к соседним стойкам, больше не мешают штекерному присоединению кабельных вилок для сенсорных датчиков и исполнительных механизмов, и в зависимости от положения, в котором устанавливаются соединительные муфты, могут быть получены большие радиусы изгиба или даже прямолинейный отвод кабелей для связи с соседними устройствами управления.
В предпочтительном варианте выполнения вилочное устройство расположено по центру между обеими боковыми стенками на нижней стенке корпуса и/или соединительные муфты в смонтированном состоянии установлены параллельно нижней стенке за пределами корпуса. Для того чтобы обеспечить технологически простое и надежное соединение вилочного устройства с корпусом, крепежная втулка предпочтительно снабжена винтовой резьбой и может быть закреплена на корпусе с помощью резьбового соединения. Особое преимущество реализуется в том случае, когда вилочное устройство у основания крепежной втулки снабжено огибающим, упорным буртиком, имеющим приемную канавку для кольцевого уплотнения. С помощью винтового соединения кольцевое уплотнение, частично лежащее в плоскости упорного буртика, может быть прижато к внешней поверхности нижней стороны корпуса, в результате такого простого решения эффективно предотвращается проникновение влаги. Резьбовое соединение может быть реализовано самым простым способом с помощью подкладной шайбы и гайки, которая может быть навинчена на резьбу крепежной втулки.
Согласно предпочтительному варианту выполнения вилочное устройство имеет две соединительные муфты в каждом случае для отвода одного кабеля для двусторонней связи с соседними устройствами индивидуального управления. При этом соединительные муфты могут быть установлены относительно друг друга под углом, в частности, 180° или 90°. В варианте выполнения, когда соединительные муфты развернуты на 180°, каждая соединительная муфта может размещаться на одной из обеих боковых сторон, ориентируясь на соседние устройства индивидуального управления, при варианте выполнения с муфтами, развернутыми на 90°, вилочное устройство, предпочтительно, расположено таким образом, что каждая соединительная муфта расположена под углом к одной из боковых стенок и ориентирована так относительно задней стороны, чтобы получить для обоих кабелей, обеспечивающих связь между соседними устройствами индивидуального управления, пропорционально большой радиус изгиба.
При альтернативном варианте выполнения вилочное устройство может иметь три и более соединительных муфт. При варианте выполнения с тремя или четырьмя соединительными муфтами они предпочтительно установлены так, что направлены относительно друг друга под углом 90°. Третья соединительная муфта может быть, в частности, использована для подсоединения специальных сенсорных датчиков, например датчиков перемещения или температурных датчиков на насосной станции, для аварийных выключателей, для системы обеспечения энергией и т.д.
При всех вариантах выполнения вилочное устройство включает, предпочтительно, основную часть, которая на своей верхней стороне имеет интегральную крепежную втулку и которая на своих боковых сторонах имеет крепежные отверстия, в частности гнезда для разъемной установки соединительных муфт. Основная часть может быть при этом выполнена из пластмассы или высококачественной стали. Особо предпочтительным является вариант, когда соединительные муфты, которые имеют контакты (например, контактные штифты и гнездовые контактные детали) для штекерного присоединения кабеля для двусторонней связи между соседними устройствами управления, установлены в крепежных отверстиях с кольцевыми уплотнениями и/или через штифтовые соединения в соединительных муфтах, так что все компоненты могут быть изготовлены отдельно и потом с помощью относительно простых средств соединены друг с другом с достаточным уплотнением, препятствующим попаданию влаги. Далее, преимуществом является то, что полое пространство в крепежной втулке, соответственно, в вилочном устройстве, в частности, после монтажа всех контактных штифтов, контактных гнезд и проводов залито заливочной массой, в результате чего все открытые контакты между контактными штифтами, контактными гнездами, а также провода тоже оказываются в заливочной массе. Заливочную массу поэтому заливают предпочтительно во внутреннее пространство вилочного устройства после того, как соединительные муфты установлены в крепежные гнезда и там зафиксированы.
Чтобы еще больше упростить монтаж и надежно закрепить вилочное устройство на корпусе, крепежная втулка предпочтительно снабжена канавкой или лыской, которая с геометрическим замыканием взаимодействует с выступом или ответной лыской в сквозном отверстии в нижней стенке корпуса. С помощью ответной лыски или канавки и выступа достигается то, что вилочное устройство монтируется и закрепляется на корпусе только в заранее определенном положении.
Другие преимущества и варианты выполнения изобретения вытекают из следующего ниже описания примеров, схематически представленных на чертежах:
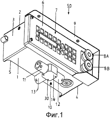
Фиг.1 – перспективное изображение устройства индивидуального управления согласно изобретению с расположенным на нижней стороне вилочным устройством с тремя соединительными муфтами.
Фиг.2 – вид сверху демонтированного вилочного устройства согласно первому примеру выполнения.
Фиг.3 – горизонтальный разрез вилочного устройства согласно первому примеру выполнения.
Фиг.4 – разрез по IV-IV на фиг.3 в смонтированном положении вилочного устройства на нижней стенке корпуса.
Фиг.5 – перспективное изображение устройства индивидуального управления с вилочным устройством согласно второму примеру выполнения.
Фиг.6 – перспективное изображение устройства индивидуального управления с вилочным устройством согласно третьему примеру выполнения.
На фиг.1-4 представлено устройство 50 индивидуального управления согласно изобретению с расположенным на нижней стороне 1 вилочным устройством 10 с тремя соединительными муфтами 11, 12, 13. Устройство 50 индивидуального управления согласно изобретению, как известно, служит для электрогидравлического управления исполнительными механизмами в виде электромагнитов, которые управляют работой гидравлических поршней и цилиндров секций механизированной крепи (не показано), или с их помощью снимаются показания датчиков, приданных отдельным гидравлическим агрегатам, и/или для выполнения других задач управления. Устройство 50 индивидуального управления включает корпус в виде плоского ящика с нижней стенкой 1, верхней стенкой 2, двумя боковыми стенками 3, 4, задней частью 5 и передней частью 6. На съемной передней части 6 расположен под общей позицией 7 пульт управления, хорошо доступные для пользователя аварийный выключатель 8А и стопорный выключатель крепи 8В. С помощью клавиатуры 7 может осуществляться непосредственное управление работой секцией крепи, и индивидуальное управляющее устройство закреплено на нижней стороне перекрытия секции. В показанном примере выполнения передняя часть 6 устройства 50 индивидуального управления закреплена с помощью винтов на корпусе, выполненном путем штамповки из стального листа, вся микроэлектроника, размещенная в корпусе (не показана), включая плату дисплея, плату процессора и плату интерфейса, соединена со съемной передней частью 6. Передняя часть 6 устройства 50 индивидуального управления снабжена выступающим вперед козырьком 9 для защиты пульта 7 и выключателей 8А и 8В. Кабели, связывающие исполнительные механизмы и сенсорные датчики на секции механизированной крепи, могут иметь вход в не показанный штекерный соединитель на задней стороне 5 корпуса устройства 50 индивидуального управления.
В подземных очистных забоях при выемке, например, угля устанавливается рядом большое количество секций механизированной крепи, при этом каждая секция механизированной крепи снабжена своим устройством индивидуального управления. Все устройства индивидуального управления должны быть связаны между собой для обеспечения полностью автоматизированной работы лавы, эта связь между устройствами индивидуального управления осуществляется с помощью коммуникационных кабелей для связи между соседними секциями крепи, при этом эти кабели при подземных горных работах в связи в возможной опасностью взрыва и высокой влажностью воздуха выполнены в виде электрических, имеющих относительно высокую прочность шланговых кабелей. Согласно изобретению шланговые кабели для связи между соседними устройствами управления подключаются не в гнезда или соединительные муфты на задней части устройства индивидуального управления, а для подсоединения шланговых кабелей для связи между соседними секциями на нижней стороне устройства 50 индивидуального управления расположено вилочное устройство 10 с первой соединительной муфтой 11 для первого шлангового кабеля и второй соединительной муфтой 12 для второго шлангового кабеля. В примере выполнения согласно фиг.1-4 в данном случае вилочное устройство 10 включает третью соединительную муфту 13, к которой, например, может быть подключен внешний аварийный выключатель. При установке устройства 50 индивидуального управления на секции крепи каждая боковая сторона 3, 4 корпуса ориентирована в сторону смежных секций крепи, и эти боковые стороны обращены к установленным на смежных секциях устройствам индивидуального управления, в этом случае обе соединительные муфты 11, 12 для связи между соседними устройствами индивидуального управления расположены под углом 180° друг к другу, соответственно каждая на боковой стороне 15 основной части 14 вилочного устройства, и таким образом обращены к соседним секциям крепи. Третья соединительная муфта 13 установлена относительно задней части 5 так, что подсоединяемый к соединительной муфте 13 кабель подводится и соответственно отводится параллельно всем другим кабелям.
Соединительные муфты 11, 12, 13 конструктивно выполнены одинаковыми, и присоединяемые к соединительным муфтам кабели имеют головки штепсельной вилки, которые при свободном поперечном сечении устанавливаются внутри соединительных муфт 11, 12, 13 и затем фиксируются там в таком положении с помощью U-образных зажимов (не показано). Конструкция вилочного устройства 10 и способ его крепления на нижней стенке 1 устройства 50 индивидуального управления более подробно поясняется со ссылками на фиг.2-4, при этом детальное описание дано только для одной соединительной муфты.
Вилочное устройство 10 состоит из имеющей, по существу, форму куба основной части 14, на трех из четырех боковых стенках 15 которой закреплены по одной соединительной муфте 11, 12, 13. Нижняя сторона 16 основной части 14 закрыта, и на противоположной ей верхней стороне имеется выполненная полой крепежная втулка 18, которая по внешнему периметру имеет винтовую резьбу 19. На винтовую резьбу 19 крепежной втулки может быть навинчена крепежная гайка 40, чтобы, как это хорошо видно на фиг.4, зафиксировать вилочную часть 10 на нижней стенке 1 устройства индивидуального управления, при этом крепежная втулка 18 обеспечивает доступ через нижнюю стенку. Чтобы защитить от попадания влаги внутреннее пространство устройства индивидуального управления, в котором находится микроэлектроника, основная часть 14 на своей верхней стороне имеет упорный буртик 17, над которым вверх выдается крепежная втулка 18, и который у основания крепежной втулки 18 снабжен приемной канавкой 42 для кольцевого уплотнения 43. Это установленное в упорном буртике 17 кольцевое уплотнение 43 прижимается при затягивании винта 40 к внешней стороне нижней стенки 1 корпуса и уплотняет при этом проходное отверстие в нижней стенке 1 для крепежной втулки 18. Между гайкой 40 и нижней стенкой 1 предпочтительно устанавливается подкладная гайка 41. Чтобы исключить ошибки при монтаже и закрепить без проворачивания вилочное устройство 10 на нижней стенке 1, крепежная втулка 18 имеет, как это можно видеть на фиг.2, лыску 20, которая взаимодействует с ответной лыской в проходном отверстии в нижней стенке 1 (фиг.4) таким образом, что крепежная втулка 18 только при повернутом положении вилочного устройства 10 может быть полностью вдвинута в проходное отверстие. При этом одновременно с помощью лысок 20 благодаря геометрическому замыканию осуществляется установка без проворачивания вилочного устройства 10 на нижней стороне 1.
На фиг.3 и 4 хорошо видно, что все три соединительные муфты 11, 12, 13 имеют одинаковую конструкцию и одним и тем же способом крепятся на основной части 14. Основная часть 14 имеет на своих боковых сторонах 15 отдельное установочное отверстие 21 для каждой соединительной муфты 11, 12, 13, в которое вставляется выполненная с несколькими уступами фиксирующая втулка 22 соединительной муфты 11, 12, 13. Каждая из соединительных муфт 11, 12, 13 снабжена проходным отверстием 23, при этом в области фиксирующей втулки 22 расположена контактная вилка 24, выполненная в виде SКК24-вилки, которая установлена с уплотнением с помощью кольцевого уплотнения 25. Контактная вилка 24 включает известным образом два открытых контактных штифта 26 и две контактных гнездовых детали 27, которыми контактная вилка также в данном случае с четырьмя возможностями контакта, расположенная на штекерной головке части шлангового кабеля, может обеспечить электрическое соединение при установке штекерных головок в соединительные муфты 11, 12, 13. Каждая фиксирующая втулка 22 на своей внешней стороне снабжена канавкой для другого кольцевого уплотнения 28 для уплотнения соединительных муфт 11, 12, 13 при их установке в приемное отверстие 21, где они могут быть закреплены и зафиксированы с помощью фиксирующего штифта 29. Фиксирующие штифты 29 проходят при этом через отверстия 30 для фиксации в основной части 14, которые доступны с нижней стороны 16 основной части 14.
Далее, на фиг.3 и 4 показано, что основная часть 14 вилочного устройства 10 наряду с крепежными втулками 18 внутри является полой, при этом полое пространство 31, через которое проходят провода 32 для каждой контактной вилки 24 соединительных муфт 11, 12, 13, заполнено заливочной массой 33. Масса 33 заливается только после того как все соединительные муфты 11, 12, 13 будут с помощью фиксирующих штифтов 29 закреплены на основной части 14, так что заливочная масса 33 может быть залита вплоть до задней поверхности контактной вилки 24. Для точного направления штекерных головок, находящихся на шланговых кабелях, при их установке служат выступающие во внутреннее пространство соединительных муфт 11, 12, 13 штифты 34, которые взаимодействуют с ответными канавками на штекерных головках. Фиксация штекерных головок шланговых кабелей для связи между соседними секциями осуществляется с помощью U-образных зажимов, которые устанавливаются в соответствующие отверстия 35 для фиксации и которые надежно фиксируют вставленные в соединительные муфты 11, 12, 13 штекерные головки.
На фиг.5 показан альтернативный пример выполнения устройства 150 индивидуального управления для управления работой секций механизированной крепи при подземных горных работах. Собственно корпус устройства индивидуального управления выполнен, по существу, идентично описанному ранее примеру выполнения, и идентичные части снабжены теми же ссылочными позициями. На нижней стенке 1 корпуса устройства 150 индивидуального управления, как и в предыдущем случае, закреплено вилочное устройство 110 с находящимися вне корпуса соединительными муфтами 11, 13 для кабелей, связывающих соседние секции крепи, при этом вилочное устройство 110 так же, как и в первом примере выполнения, имеет не показанную здесь крепежную втулку, которая вставляется в проходное отверстие с последующим закреплением в нижней стенке 1 корпуса и закрепляется на нижней стенке 1 с использованием кольцевого уплотнения посредством гайки. В отличие от первого варианта выполнения вилочное устройство 110 имеет только две соединительные муфты 11, 13, предназначенных исключительно для связи с соседними секциями крепи. Обе соединительные муфты 11, 13 развернуты относительно друг друга под углом 90° и размещены, по существу, на углах между боковыми стенками 3, 4 и задней частью 5 корпуса устройства 150 индивидуального управления. Обе соединительные муфты 11, 13, как и в первом примере выполнения, закреплены на двух соседних боковых сторонах 115 основной части 114 вилочного устройства 110. Благодаря выполнению вилочного устройства 110 в виде угловой вилочной части с разворотом обеих соединительных муфт 11, 13 на 90° оба шланговых кабеля для связи с соседними секциями крепи могут подводиться от соседних секций крепи к устройству 150 индивидуального управления, установленному на средней секции, с большим радиусом изгиба.
На фиг.6 показан третий пример выполнения устройства 250 индивидуального управления, корпус которого имеет, по существу, идентичную конструкцию с первыми примерами выполнения и нижняя стенка которого снабжена вилочным устройством 210, которое опять же имеет только две соединительные муфты 11, 12 для обеспечения связи между соседними секциями крепи. Обе соединительные муфты 11, 12 развернуты относительно друг друга под углом 180° и закреплены на противоположных боковых сторонах имеющей кубическую форму основной части 214 здесь Т-образного вилочного устройства 210.
Для специалиста из предыдущего описания вытекают многочисленные модификации, которые должны подпадать под многочисленные модификации, которые должны подпадать под действие пунктов формулы изобретения. Предполагается, что вместо разворота на 180° или на 90° и кубической формы основной части вилочного устройства могут встретиться и другие геометрические формы, без ущерба для объема защиты формулы изобретения. Крепление крепежной втулки и вилочного устройства на нижней стенке корпуса может осуществляться с помощью зажимного кольца или зажимных скоб или подобных элементов, взаимодействующих с канавкой по периметру на крепежной втулке.
Формула изобретения
1. Устройство индивидуального управления секцией механизированной крепи при подземных горных работах с корпусом, имеющим форму плоского ящика, с верхней стенкой, нижней стенкой, двумя боковыми стенками, передней частью и задней частью, с размещенной в корпусе микроэлектроникой, с электрическими штекерными соединителями для штекерного присоединения кабельных вилок от сенсорных датчиков или исполнительных механизмов секции механизированной крепи и с, по меньшей мере, двумя имеющими по одной контактной вилке соединительными муфтами для штекерного присоединения кабелей для связи с соседними устройствами индивидуального управления, отличающееся тем, что соединительная муфта является составной частью вилочного устройства, включающего проходящую через верхнюю или нижнюю стенку корпуса полую крепежную втулку, имеющего, по меньшей мере, одну вторую соединительную муфту для штекерного присоединения кабеля для связи с соседними устройствами индивидуального управления, при этом провода для подсоединения электроники с контактными вилками соединительных муфт проведены через полое пространство в крепежной втулке.
2. Устройство по п.1, отличающееся тем, что вилочное устройство расположено по центру между обеими боковыми стенками на нижней стенке и/или соединительные муфты в смонтированном состоянии установлены параллельно нижней стенке.
3. Устройство по п.1 или 2, отличающееся тем, что крепежная втулка снабжена винтовой резьбой и может быть закреплена на корпусе с помощью резьбового соединения.
4. Устройство по п.1 или 2, отличающееся тем, что вилочное устройство у основания крепежной втулки снабжено огибающим упорным буртиком, имеющим приемную канавку для кольцевого уплотнения.
5. Устройство по п.3, отличающееся тем, что вилочное устройство имеет две соединительные муфты.
6. Устройство по п.5, отличающееся тем, что соединительные муфты установлены относительно друг друга под углом 180 или 90°.
7. Устройство по п.3, отличающееся тем, что вилочное устройство имеет три или четыре соединительных муфты, которые установлены каждая под углом 90° относительно друг друга, или более четырех соединительных муфт.
8. Устройство по п.5 или 7, отличающееся тем, что вилочное устройство имеет основную часть, которая на своей верхней стороне имеет интегральную крепежную втулку и на своих боковых сторонах имеет крепежные отверстия, в частности, гнезда для разъемной установки соединительных муфт.
9. Устройство по п.8, отличающееся тем, что соединительные муфты установлены в гнездах с уплотнением с помощью кольцевого уплотнения и/или зафиксированы с помощью штифтовых соединений.
10. Устройство по п.1, отличающееся тем, что полое пространство в крепежной втулке, соответственно в вилочном устройстве залито заливочной массой.
11. Устройство по п.3, отличающееся тем, что крепежная втулка снабжена канавкой или лыской, которая с геометрическим замыканием взаимодействует с выступом или лыской в проходном отверстии в нижней стенке корпуса.
РИСУНКИ
|
|