|
|
(21), (22) Заявка: 2005136751/03, 28.11.2005
(24) Дата начала отсчета срока действия патента:
28.11.2005
(43) Дата публикации заявки: 10.02.2007
(46) Опубликовано: 20.06.2007
(56) Список документов, цитированных в отчете о поиске:
RU 2260688 С1, 20.09.2005. RU 2193651 C2, 27.11.2002. RU 2107557 C1, 27.03.1998. RU 2152513 C1, 10.07.2000. RU 2169383 С2, 20.06.2001. RU 2137159 C1, 10.09.1999. US 3578081 А, 16.05.1971. US 4469175 А, 04.09.1984. WO 01/12947 A1, 22.02.2001. WO 01/59252 A1, 16.08.2001. ЕР 0434493 A1, 26.06.1991. ЕР 0462037 А1, 18.12.1991.
Адрес для переписки:
127015, Москва, а/я 33, И.Б. Зеленову
|
(72) Автор(ы):
Орентлихерман Исаак Аронович (RU), Орентлихерман Эрнест Исаакович (RU), Чаплыгин Анатолий Геннадьевич (RU), Максименков Николай Александрович (RU), Бурляков Юрий Иванович (RU)
(73) Патентообладатель(и):
Закрытое акционерное общество “ИНЕФ” (RU)
|
(54) ПРИБОР АКУСТИЧЕСКИЙ СКВАЖИННЫЙ
(57) Реферат:
Изобретение относится к устройствам для акустического воздействия на продуктивные пласты, зоны перфорации для увеличения дебета нефтяных и газовых скважин и проведении ремонтно-изоляционных работ. Техническим результатом изобретения является увеличение акустической мощности за счет автоматической подстройки частоты и фазовой коррекции для компенсации разброса резонансных частот пьезопреобразователей в каждой секции. Прибор акустический скважинный запитывается от источника постоянного тока и состоит из нескольких независимых работающих на собственной резонансной частоте секций. Каждая секция размещена в герметичном корпусе и содержит сервисный источник питания, модуль фильтра, модуль защиты, задающий генератор, модуль автоматической подстройки частоты (АПЧ), сумматор и не менее двух предварительно подобранных по резонансной частоте пьезопреобразователей, а также по числу пьезопреобразователей фазовые корректоры для компенсации разброса резонансных частот пьезопреобразователей, силовые модули, трансформаторы тока и датчики обратной связи. При этом каждый из пьезопреобразователей имеет свой канал управления, состоящий из последовательно соединенных датчика обратной связи, фазового корректора, силового модуля и трансформатора тока, выход которого через последовательно соединенные сумматор и модуль АПЧ подключен ко входу задающего генератора. 2 з.п. ф-лы, 4 ил.
Изобретение относится к нефтегазовой промышленности и предназначено для акустического воздействия на продуктивные пласты, зоны перфорации для увеличения дебета нефтяных и газовых скважин и проведении ремонтно-изоляционных работ.
Известен прибор акустический скважинный (патент RU №2152513), содержащий акустический излучатель и блок электроники, предназначенный для непрерывного контроля и корректировки режимов акустического воздействия.
Недостатком прибора является отсутствие подстройки по частоте отдельных пьезопреобразователей, что не позволяет использовать прибор с максимальной мощностью.
Известен прибор акустический скважинный (патент RU №2260688), содержащий герметичный корпус с размещенными в нем блоком электроники и пьезопреобразователями, блок электроники снабжен задающим генератором, усилителем мощности, модулем защиты от перенапряжения, трансформатором тока, при этом генератор выдает сигналы с изменяющейся частотой в диапазоне, определяемом в процессе работы прибора в скважине по минимальной и максимальной резонансным частотам пьезопреобразователей, входящих в состав прибора.
Недостатком прибора при указанном способе перестройки частоты являются потери выходной излучаемой мощности во время перехода с одной резонансной частоты на другую, когда ни один из пьезопреобразователей не работает в резонансе. Другим недостатком является применение промышленной частоты для питания скважинного прибора, что приводит к усложнению конструкции, снижению надежности и ухудшению эксплуатационных свойств прибора, за счет увеличения массогабаритных характеристик прибора, применения в приборе дополнительных дросселей, выпрямительных элементов, конденсаторов и т.д.
Известен также, принятый за прототип, излучатель акустический скважинный (патент RU №2193651, 23.11.2001), содержащий верхнюю головку с контактным устройством под кабельный наконечник, герметичный корпус с размещенными в нем блоком электроники и пьезопреобразователями из продольно-поляризованных пьезокерамических шайб, несколько шайб выполнены с электрически изолированными от остальной поверхности шайб сегментами, выполняющими роль встроенных датчиков обратной связи.
Недостатком излучателя является отклонение от резонансных частот под влиянием скважинных условий (внешнее давление, повышенная температура, вибрация и т.п.) и из-за этого потери акустической мощности. Потери электрической мощности за счет расположения источника питания в наземном блоке и потерь в кабеле при передаче высокочастотного сигнала от наземной аппаратуры к излучателю, отсутствие защиты от перегрузок. Невозможность одновременного применения разночастотных модулей и использования заданного набора частот при одном спуске-подъеме. Недостаточная надежность за счет размещения в одном корпусе.
Технической задачей изобретения является повышение акустической мощности скважинного прибора, повышение надежности и обеспечение применения разных частот одновременно при одном спуске-подъеме.
Техническим результатом изобретения является увеличение акустической мощности за счет:
– снижения потерь в кабеле электрической мощности, подаваемой на скважинный прибор, за счет питания постоянным напряжением задающего генератора и силового модуля, расположенных в одном корпусе с пьезопреобразователями,
– автоматической подстройки частоты и фазовой коррекции для компенсации разброса резонансных частот пьезопреобразователей в каждой секции.
Повышение надежности устройства обеспечивается независимой работой каждого пьезопреобразователя и каждой секции.
Также решена задача одновременного применения разночастотных модулей и использование заданного набора частот при одном спуске-подъеме, повышения ремонтопригодности и удобства обслуживания прибора в процессе эксплуатации и ремонта за счет модульности конструкции.
Поставленный технический результат достигается тем, что прибор акустический скважинный содержит верхнюю головку с контактным устройством под кабельный наконечник геофизического кабеля, одну или несколько независимо работающих на собственной резонансной частоте секций, расположенных в полых герметичных корпусах и герметично соединенных между собой, в каждой из которых размещены блок электроники и не менее двух предварительно подобранных по резонансной частоте пьезопреобразователей, выполненных из продольно-поляризованных, электрически соединенных параллельно пьезокерамических шайб, не менее двух шайб выполнено с электрически изолированными от остальной поверхности шайбы сегментами, выполняющими функцию датчиков обратной связи, пьезопреобразователи размещены перпендикулярно продольной оси прибора и выполнены с накладками, рабочая поверхность которых контактирует непосредственно с окружающей средой, пьезопреобразователи электрически и механически независимы друг от друга и каждый из них имеет свой канал управления, а электронный блок включает сервисный источник питания, задающий генератор, модуль защиты, сумматор, модуль фильтра, модуль автоматической подстройки частоты (АПЧ) и по числу пьезопреобразователей фазовые корректоры для компенсации разброса резонансных частот пьезопреобразователей, силовые модули, трансформаторы тока и датчики обратной связи, при этом прибор запитывается от источника постоянного тока, с выхода которого напряжение постоянного тока подается через геофизический кабель на модули фильтра, выходы которых подключены к сервисному источнику питания и к модулю защиты, выход которого подключен к входам силовых модулей, на два других входа которых подключены выходы трансфоматоров тока и фазовых корректоров, входы которых соединены с выходами задающего генератора и датчиков обратной связи, выходы трансформаторов тока подключены ко входам пьезопреобразователей и сумматора, выход которого подключен через модули АПЧ ко входу задающего генератора.
При этом прибор может содержать три секции, работающие одновременно на резонансных частотах, например, 15±10%, 20±10%, 35±10% кГц, или на одной резонансной частоте.
В качестве датчика обратной связи может быть использован выносной датчик, измеряющий акустические колебания.
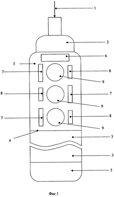
Сущность изобретения поясняется чертежами, где на фиг.1 представлена схема конструкции прибора.
На фиг.2 представлена структурная схема секции.
На фиг.3 представлен график зависимости акустической мощности Рас от подаваемой частоты при работе секции без фазовой коррекции.
На фиг.4 представлен график зависимости акустической мощности Рас от подаваемой частоты при работе секции с фазовой коррекцией.
В состав прибора входят следующие конструктивные элементы:
геофизический кабель 1, верхняя головка 2, корпус 3 секции, место 4 герметичного соединения корпусов секций, концевая заглушка 5, электронные модули 6, 7, 8, пьезопреобразователи 9, модуль фильтра 10, модуль защиты 11, сервисный источник 12 питания, задающий генератор 13, модуль АПЧ 14, фазовый корректор 15, силовой модуль 16, трансформатор тока 17, сумматор 18, датчик обратной связи 20. Позициями 20, 21, 22 на графиках обозначена мощность пьезопреобразователей на рабочей частоте, F1, F2, F3 – собственные резонансные частоты пьезопреобразователей, Fr, Fr1, Fr2, Fr3 – рабочие частоты секции.
Согласно фиг.1 прибор состоит из одной или нескольких секций, выполненных в полых герметичных металлических цилиндрических корпусах 3, герметично соединенных между собой 4, верхней головки 2 с контактным устройством под кабельный наконечник геофизического кабеля 1, герметично соединенной с верхней секцией и концевой заглушкой 5.
Секции размещены в герметичных корпусах, соединенных между собой посредством герметичного узла стыковки 4, что обеспечивает защиту всего прибора при выходе из строя любой секции, а также возможность работы модулей на своей заранее установленной частоте.
В корпусе секции 3 размещены пьезопреобразователи 9 (не менее двух штук) и электронные модули 6, 7, 8. Пьезопреобразователи расположены в одной плоскости перпендикулярно вертикальной оси секции. Электронные модули выполнены в виде функционально законченных блоков для оперативной замены в необходимых случаях, что существенно сокращает время ремонта.
Пьезопреобразователи состоят из продольно-поляризованных, электрически соединенных параллельно пьезокерамических шайб и включают, по крайней мере, по две пьезокерамические шайбы с электрически изолированными от остальной поверхности сегментами, выполняющими роль встроенных датчиков обратной связи. Пьезопреобразователь имеет законченную конструкцию с предварительно напряженными шайбами с помощью стержня с резьбой на обоих концах и накладок. В качестве датчика обратной связи использован выделенный сегмент на шайбе пьезопреобразователя, при отсутствии выделенных сегментов можно использовать выносной датчик, который измеряет акустические колебания, излучаемые пьезопреобразователем.
Герметичность установки пьезопреобразователей в корпусе обеспечивается, например, сальниковыми узлами с применением резиновых уплотнительных колец.
Электронный блок состоит из электронных модулей 6, 7, 8, размещенных в секции 3 таким образом (распределены по всему объему корпуса секции), чтобы обеспечить лучшее охлаждение силовых элементов и уменьшение длины секции, что приводит к повышению удельной акустической 10 мощности прибора в целом.
Электронные модули 6, 7, 8 выполняют функцию автоматической настройки на резонансную частоту пьезопреобразователя, с автоматической коррекцией частоты и фазы других пьезопреобразователей этой секции.
Электронные модули 6, 7, 8 электронного блока включают сервисный источник питания 12, модуль фильтра 10, модуль защиты 11, задающий генератор 13, модуль АПЧ 14 и фазовый корректор 15 для компенсации разброса резонансных частот пьезопреобразователей, силовой модуль 16, трансформатор тока 17, сумматор 18, датчик обратной связи 19. При этом канал управления, состоящий из датчика обратной связи 19, фазовый корректор 15, силовой модуль 16, трансформатор тока 17 служат для работы отдельного пьезопреобразователя.
Датчики обратной связи 19 пьезопреобразователей независимо друг от друга подсоединены к модулям фазовой коррекции 15 (Фиг.2). Сигнал с каждого датчика обрабатывается в модулях фазовой коррекции по амплитуде и по фазе снимаемого при работе пьезопреобразователей 9.
Работает прибор следующим образом.
Стабилизированное напряжение постоянного тока подается через геофизический кабель 1 (фиг.1) на модуль фильтра 10 (фиг.2). Модуль фильтра имеет большую постоянную составляющую времени для уменьшения пульсаций по высокому напряжению и фильтрации высокосоставляющих частот от сервисного источника питания. С модуля фильтра 10 напряжение питания распределяется к сервисному источнику питания 12 и к модулю защиты 11. С модуля защиты 11 напряжение поступает к силовым модулям 16. Сервисный источник питания 12 обеспечивает работу низковольтных элементов, входящих во все электронные модули.
Модуль защиты 11 предназначен для защиты силовых элементов от перенапряжения при резком отключении нагрузки и повышенном значении потребляемого тока, а также при коротком замыкании в силовых цепях и нагрузке.
Силовые модули 16 формируют мощный высокочастотный сигнал, приемлемый для питания пьезопреобразователей, который через трансформаторы тока 17 поступает к пьезопреобразователям 9 и сумматору тока 18. При этом трансформаторы тока 17 имеют двухстороннюю связь для определения фазы и защиты от перегрузки пьезопреобразователей с последующим отключением конкретного пьезопреобразователя. С выхода сумматора сигнал поступает на модуль АПЧ 14. В модуле АПЧ происходит захват на низшую резонансную частоту пьезопреобразователя. Сигнал ошибки с модуля АПЧ 14 поступает на задающий генератор 13, где происходит стабилизация (автоматическая подстройка частоты) задающего генератора.
Сигнал с задающего генератора 13, предварительно настроенный на среднюю частоту пьезопреобразователей в секции, поступает через фазовые корректоры 15 к силовым модулям 16. В первый момент работы в модуле фазовой коррекции 15 сигнал имеет максимальный фазовый сдвиг для всех пьезопреобразователей с целью определения и захвата АПЧ наиболее низкой из частот от сумматора 18. После захвата частоты фазовые корректоры 15 устраняют ошибку для пьезопреобразователей 9, имеющих более высокую частоту. Работа фазового корректора 15 основана на динамическом отслеживании и корректировании ошибки между захваченной самой низкой частотой задающего генератора 13 и повышенной резонансной частотой пьезопреобразователей 9 по фронту импульсов от датчиков обратной связи 19. При этом временной интервал, в котором происходит корректирование ошибки, выбирается в зависимости от применяемой конструкции пьезопреобразователей.
Таким образом, осуществляется понижение частоты для пьезопреобразователей 9 с повышенной резонансной частотой в несущественном разбросе значений резонансных частот. Датчики обратной связи 19 определяют также амплитуду сигнала пьезопреобразователя, и при большой разнице в амплитудах колебаний пьезопреобразователей (связанной с разным импедансом пьезопреобразователей при изготовлении, воздействием окружающей среды – температура, давление) фазовый корректор 15 уравнивает сигналы, поступающие на силовой модуль 16, чем достигается равномерное распределение сигнала на пьезопреобразователи 9.
Таким образом, происходит автоматическая корректировка параметров (частота, напряжение, фазовый сдвиг) электрических сигналов, подаваемых на пьезопреобразователи 9, с целью максимизации акустического воздействия на скважину, призабойную зону, пласт.
Корпусные детали скважинного акустического излучателя выполнены из материала, обеспечивающего эксплуатацию прибора в конкретной окружающей среде. Шайбы пьезопреобразователей выполнены, например, из керамики ПКР-78. Электронные модули выполнены на общепромышленных элементах. Используется геофизический кабель, например, марки КГ1-60-180-1 с наконечником типа НКБ3-36
Формула изобретения
1. Прибор акустический скважинный, содержащий верхнюю головку с контактным устройством под кабельный наконечник геофизического кабеля, одну или несколько независимо работающих на собственной резонансной частоте секций, расположенных в полых герметичных корпусах и герметично соединенных между собой, в каждой из которых размещены блок электроники и не менее двух предварительно подобранных по резонансной частоте пьезопреобразователей, выполненных из продольно-поляризованных, электрически соединенных параллельно пьезокерамических шайб, не менее двух шайб выполнено с электрически изолированными от остальной поверхности шайбы сегментами, выполняющими функцию датчиков обратной связи, пьезопреобразователи размещены перпендикулярно продольной оси прибора и выполнены с накладками, рабочая поверхность которых контактирует непосредственно с окружающей средой, пьезопреобразователи электрически и механически независимы друг от друга и каждый из них имеет свой канал управления, а электронный блок включает сервисный источник питания, задающий генератор, модуль защиты, сумматор, модуль фильтра, модуль автоматической подстройки частоты (АПЧ) и по числу пьезопреобразователей фазовые корректоры для компенсации разброса резонансных частот пьезопреобразователей, силовые модули, трансформаторы тока и датчики обратной связи, при этом прибор запитывается от источника постоянного тока, с выхода которого напряжение постоянного тока подается через геофизический кабель на модули фильтра, выходы которых подключены к сервисному источнику питания и к модулю защиты, выход которого подключен к входам силовых модулей, на два других входа которых подключены выходы трансфоматоров тока и фазовых корректоров, входы которых соединены с выходами задающего генератора и датчиков обратной связи, выходы трансформаторов тока подключены ко входам пьезопреобразователей и сумматора, выход которого подключен через модули АПЧ ко входу задающего генератора.
2. Устройство по п.1, отличающееся тем, что содержит три секции, работающие одновременно на резонансных частотах, например, 15±10%, 20±10%, 35±10% кГц.
3. Устройство по п.1, отличающееся тем, что содержит секции, работающие одновременно на одной резонансной частоте.
РИСУНКИ
|
|