|
|
(21), (22) Заявка: 2005105234/03, 24.02.2005
(24) Дата начала отсчета срока действия патента:
24.02.2005
(43) Дата публикации заявки: 10.08.2006
(46) Опубликовано: 20.06.2007
(56) Список документов, цитированных в отчете о поиске:
SU 883330 А, 23.11.1981. SU 1430500 А1, 15.10.1988. SU 802520 А, 07.02.1981. SU 576389 A, 15.10.1977. RU 2008434 C1, 28.02.1994. RU 2175709 C2,10.11.2001. US 4283039 A, 11.08.1981. ИВАНОВ С.И. и др. Анализ научных и практических решений заканчивания скважин. – М.: Недра, 2004, кн. 2, с.50-55.
Адрес для переписки:
450001, г.Уфа, ул. 50 лет Октября, 34, Башкирский государственный аграрный университет
|
(72) Автор(ы):
Прокопов Олег Иванович (RU), Каюмов Яхуда Мазитович (RU)
(73) Патентообладатель(и):
Башкирский государственный аграрный университет (БГАУ) (RU)
|
(54) УСТРОЙСТВО ДЛЯ ГЕРМЕТИЗАЦИИ УСТЬЯ СКВАЖИНЫ
(57) Реферат:
Изобретение относится к нефтегазовой промышленности. Обеспечивает повышение надежности закрытия превентора. Сущность изобретения: устройство содержит установленный между верхним и нижним фланцами корпус с превентором. Превентор включает запорный орган и приводные гидроцилиндры с механизмом для автоматического срабатывания превентора. Последний выполнен в виде связанного с полостью корпуса патрубка, в котором установлен подпружиненный поршень со штоком, и установленного в цилиндре золотника, который жестко связан со штоком и выполнен с проточками. Цилиндр имеет связь с атмосферой. Полость корпуса через проточки золотника связана с надпоршневой и подпоршневыми полостями гидроцилиндров превентора. Устройство снабжено обратным клапаном, установленным в трубопроводе, соединяющем полость корпуса и цилиндр золотника, и гидроаккумулятором, соединенным через вентиль с трубопроводом между обратным клапаном и цилиндром золотника и обеспечивающим возможность перекрытия корпуса запорным органом, при падении динамического давления в нем от разрушения магистрального трубопровода или арматуры, и его дозарядки от давления в корпусе. 1 ил.
Изобретение относится к нефтяной промышленности, в частности к устройствам для оборудования устья скважины, и может быть использовано для герметизации устья нефтяных и газовых скважин, магистральных трубопроводов транспорта нефти и газа при разрушениях наземных трубопроводов.
Известно устройство для герметизации устья скважин, содержащее установленный между верхним и нижним фланцами корпус с превентором, включающим запорный орган и приводные гидроцилиндры и механизм для автоматического срабатывания превентора [1].
Однако устройство требует установки диафрагмы, а также измерительной системы, что усложняет систему и снижает надежность перекрытия скважины при разрушении наземного трубопровода.
Известно устройство для герметизации устья скважины, содержащее установленный между верхним и нижним фланцами корпус с превентором, включающим запорный орган и приводные гидроцилиндры с механизмом для автоматического срабатывания превентора, который выполнен в виде связанного с полостью корпуса патрубка, в котором установлен подпружиненный поршень со штоком, и установленного в цилиндре золотника, который жестко связан со штоком и выполнен с проточками, причем цилиндр имеет связь с атмосферой, а полость корпуса через проточки золотника связана с надпоршневой и подпоршневыми полостями гидроцилиндров превентора [2].
Недостатком известного устройства является недостаточная надежность перекрытия скважины при разрушении наземного трубопровода. Это объясняется тем, что в системах трубопроводов и золотника происходят потери давления на сопротивление и может оказаться недостаточным для закрытия превентора при быстрой потере давления продукта в трубопроводе в зависимости от характера аварии в системе трубопроводов транспорта нефти или газа.
Предлагаемое устройство позволяет получить новый технический эффект повышения надежности закрытия превентора преимущественно в системах трубопроводного транспорта нефти или газа.
Этот технический эффект достигается устройством, содержащим установленный между верхним и нижним фланцами корпус с превентором, включающим запорный орган и приводные гидроцилиндры с механизмом для автоматического срабатывания превентора, который выполнен в виде связанного с полостью корпуса патрубка, в котором установлен подпружиненный поршень со штоком, и установленного в цилиндре золотника, который жестко связан со штоком и выполнен с проточками, причем цилиндр имеет связь с атмосферой, а полость корпуса через проточки золотника связана с надпоршневой и подпоршневыми полостями гидроцилиндров превентора, при этом оно снабжено обратным клапаном, установленным в трубопроводе, соединяющем полость корпуса и цилиндр золотника, и гидроаккумулятором, соединенным через вентиль с трубопроводом между обратным клапаном и цилиндром золотника и обеспечивающим возможность перекрытия корпуса запорным органом, при падении динамического давления в нем от разрушения магистрального трубопровода или арматуры, и его дозарядки от давления в корпусе.
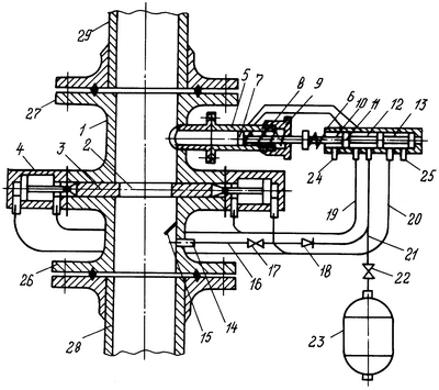
На чертеже показан общий вид устройства в разрезе. Устройство состоит из корпуса 1, в поперечном сечении которого в пазах 2 установлен запорный орган – плоские плашки 3 превентора с гидроцилиндрами 4, жестко скрепленные с корпусом 1. Над плашками 3 врезан патрубок 5, принимающий общее давление в корпусе 1, и цилиндр 6. В патрубке 5 установлен поршень 7 пружиной 8 и регулировочной гайкой 9. Поршень 7 тягой жестко соединен со штоком 10 золотника 11, имеющего две проточки 12 и 13, размещенных в цилиндре 6. Под плашками 3 выполнено отверстие со штуцером 14 приема динамического давления, для чего над ним установлен козырек 15. Отверстие со штуцером 14 трубопровода 16 через вентиль 17 и обратный клапан 18 связано с проточкой 13 золотника 11. Проточка 12 золотника 11 трубопроводом 19 параллельно соединена с подпоршневыми полостями гидроцилиндров 4, а проточка 13 трубопроводом 20 связана с надпоршневыми полостями этих гидроцилиндров. При этом трубопровод 16 между вентилем 18 и проточкой 12 золотника 11 трубопроводом 21 через вентиль 22 связан с гидроаккумулятором (пневмоаккумулятором) 23. Корпус золотника 11 по сторонам проточек 12 и 13 снабжен атмосферными штуцерами 24 и 25. Корпус 1 снабжен нижним 26 и верхним 27 фланцами, нижним он закрепляется на фланце устья скважины 28, а к верхнему крепится наземный трубопровод 29.
Устройство работает следующим образом.
При пуске в эксплуатацию скважины 28 через нее корпус 1 и наземный трубопровод 29 с определенной скоростью и давлением проходит продукт, газ или нефть. Запуск скважины 28 производят при закрытых вентилях 17 трубопровода 16 и 22 трубопровода 21. Из корпуса 1 через патрубок 5 в цилиндр 6 подается внутреннее давление продукта, которое действует на поршень 7 и, сжимая пружину 8, передвигает его вправо, соответственно передвигая шток 10 золотника 11. Регулируя степень сжатия пружины 8 гайкой 9, устанавливают шток 10 золотника 11 в крайнее правое положение без нажатия, что возможно проконтролировать вручную за шток 10. Открывают вентиль 17, а после него вентиль 22. Устройство приходит в положение готовности. Динамическое давление продуктового потока из под козырька 15 из корпуса 1 через штуцер 14, вентиль 17 и обратный клапан 18 по трубопроводу 16 подается в проточку 12 штока 10, а из нее по трубопроводу 19 в подпоршневые полости гидроцилиндров 4, которые удерживают свои штоки во втянутом положении, тем самым удерживают плашки 3 в открытом положении. В это время надпоршневые полости гидроцилиндров 4 через трубопровод 20 и проточку 13 штока 10 через штуцер 25 сообщаются с атмосферой.
В случае, если динамическое давление продукта в корпусе 1 будет больше давления в гидроаккумуляторе 23, то по трубопроводу 16 через вентиль 17, обратный клапан 18 и трубопровод 21 с его вентилем 22 будет происходить его дозарядка. В случае, если динамическое давление продукта в корпусе 1 будет меньше давления в гидроаккумуляторе 23, то под действием давления гидроаккумулятора 23 закроется обратный клапан 18 трубопровода 16, а давление гидроаккумулятора 23 через трубопроводы 21 и 16 будет подаваться в проточку 12 золотника 11 и далее вышеописанным образом.
Таким образом, в положении готовности устройство контролируется двумя максимальными источниками давления – устье скважины 28 в корпусе 1 и гидроаккумулятора 23 одновременно.
При разрушении наземного трубопровода 29 в полости корпуса 1 происходит падение общего давления, в то же время падение динамического давления не происходит, по крайней мере, течения продуктового потока. Падение общего давления в корпусе 1 через патрубок 5 и цилиндр 6 передается на поршень 7, который снижает давление на пружину 8. Последняя разжимается и перемещает поршень 7 влево, который со штоком 10 перемещает золотник 11. Проточка 12 золотника 11 перемещается влево и соединяет трубопровод 19 с атмосферным штуцером 24, а проточка 13 – трубопровод 16 с трубопроводом 20. Подпоршневое давление в гидроцилиндрах 4 через трубопровод 19, проточку 12 золотника 11 и штуцер 24 падает до атмосферного. В то же время динамическое давление из корпуса 1 через трубопровод 16, проточку 13 золотника 11 и трубопровод 20 подается в надпоршневое пространство гидроцилиндров 4, которые выдвигают свои штоки и по пазам 2 корпуса 1 закрывают плашки 3. Тем самым автоматически перекрывается выход продукта из устья скважины 28.
Во время подачи давления продукта в надпоршневое пространство гидроцилиндров 4 возможно падение динамического давления в корпусе 1 ниже давления гидроаккумулятора 23. В этом случае в трубопроводе 16 закрывается обратный клапан 18 и через трубопроводы 21 и 16 описанным образом происходит закрытие плашек 3 и перекрытие корпуса 1 давлением аккумулятора 23.
Таким образом, страхуясь одновременно давлениями в корпусе 1 и гидроаккумуляторе 23, подрабатывая друг другу, гарантируется высокая надежность работы устройства. При этом в случае возможной неисправности одного из источников давления устройство срабатывает на одном из них.
После закрытия плашек 3 в корпусе 1 повышается давление до пластового, что обеспечивает надежное перекрытие корпуса 1 и дозарядку гидроаккумулятора 23.
Возврат устройства в исходное положение после ремонта наземного трубопровода возможен вручную возвратом штока 10 золотника 11 в правое крайнее положение, что описанным образом осуществляет открытие плашек 3 в корпусе 1 и восстановление давления. Устройство находится в повторной готовности.
Настоящее устройство может быть установлено в сечение трубопроводов транспорта нефти и газа перед ответственными участками, например промышленных и жилых объектов, рек и других водоемов, железнодорожных и автомагистралей. Работа устройства осуществляется описанным образом.
Таким образом, предложенное устройство обеспечивает высокую надежность автоматического перекрытия скважин и магистральных трубопроводов: при любых разрушениях трубопроводов или иной арматуры исключает потери продукта, экологическое загрязнение среды, пожароопасность и трагические последствия широкого масштаба.
Источники информации
1. Роматов В.П. Разработка автоматического превентора НТС. Машины и нефтяное оборудование, 1973, №10, с.8-10
2. Авторское свидетельство СССР №883330, 23.11.1981 (прототип).
Формула изобретения
Устройство для герметизации устья скважины, содержащее установленный между верхним и нижним фланцами корпус с превентором, включающим запорный орган и приводные гидроцилиндры с механизмом для автоматического срабатывания превентора, который выполнен в виде связанного с полостью корпуса патрубка, в котором установлен подпружиненный поршень со штоком, и установленного в цилиндре золотника, который жестко связан со штоком и выполнен с проточками, причем цилиндр имеет связь с атмосферой, а полость корпуса через проточки золотника связана с надпоршневой и подпоршневыми полостями гидроцилиндров превентора, отличающееся тем, что оно снабжено обратным клапаном, установленным в трубопроводе, соединяющем полость корпуса и цилиндр золотника, и гидроаккумулятором, соединенным через вентиль с трубопроводом между обратным клапаном и цилиндром золотника, и обеспечивающим возможность перекрытия корпуса запорным органом, при падении динамического давления в нем от разрушения магистрального трубопровода или арматуры, и его дозарядки от давления в корпусе.
РИСУНКИ
MM4A – Досрочное прекращение действия патента СССР или патента Российской Федерации на изобретение из-за неуплаты в установленный срок пошлины за поддержание патента в силе
Дата прекращения действия патента: 25.02.2007
Извещение опубликовано: 27.06.2008 БИ: 18/2008
|
|