|
|
(21), (22) Заявка: 2004132211/03, 26.03.2003
(24) Дата начала отсчета срока действия патента:
26.03.2003
(30) Конвенционный приоритет:
04.04.2002 (пп.1-8) SE 0201034-6
(43) Дата публикации заявки: 20.04.2005
(46) Опубликовано: 20.06.2007
(56) Список документов, цитированных в отчете о поиске:
US 3788409 А, 29.01.1974. SU 1344888 A, 15.10.1987. SU 994670 A, 07.02.1983. SU 1810463 A1, 23.04.1993. RU 2166609 A1, 10.05.2004. RU 2057889 A1, 10.04.1996. US 6220376 А, 24.04.2001.
(85) Дата перевода заявки PCT на национальную фазу:
04.11.2004
(86) Заявка PCT:
SE 03/00494 (26.03.2003)
(87) Публикация PCT:
WO 03/085231 (16.10.2003)
Адрес для переписки:
129010, Москва, ул. Б.Спасская, 25, стр.3, ООО “Юридическая фирма Городисский и Партнеры”, пат.пов. С.А.Дорофееву
|
(72) Автор(ы):
БЬЕРК Фредрик (SE)
(73) Патентообладатель(и):
САНДВИК ИНТЕЛЛЕКЧУАЛ ПРОПЕРТИ АБ (SE)
|
(54) БУРОВАЯ КОРОНКА ДЛЯ УДАРНОГО БУРЕНИЯ И ГОЛОВКА ДЛЯ НЕГО
(57) Реферат:
Использование: относится к буровой коронке для ударного бурения скважин. Позволяет повысить степень проникновения в породу и увеличить срок службы. Коронка содержит корпус, имеющий соединительный участок на своем заднем конце для присоединения к ударному блоку, и множество твердосплавных головок, впрессованных в передний конец корпуса. Каждая головка содержит твердосплавное тело, имеющее задний установочный участок и передний конец, выступающий за корпус коронки. Передний конец полусферически изогнут и определен радиусом. Начало радиуса расположено аксиально позади от плоскости, определяющей наибольший диаметр головки. Головка выступает за корпус коронки на расстояние, составляющее не менее 50% от диаметра головки. Коническая промежуточная поверхность образует в поперечном сечении острый угол около 13-19° с огибающей поверхностью заднего установочного участка. 2 н. и 6 з.п. ф-лы, 5 ил.
Область техники
Настоящее изобретение относится к буровой коронке для ударного бурения скважин в горной породе. Типичная коронка для ударного бурения содержит стальной корпус, на одном конце которого расположено средство для присоединения коронки к ударному блоку, такому как технологический инструмент для бурильного молотка, и множество головок, впрессованных в другой конец корпуса. Настоящее изобретение также относится к повторно шлифующейся (затачивающейся) головке для использования в буровой коронке.
Каждая головка содержит твердосплавное тело, имеющее задний установочный участок, впрессованный в корпус коронки, и передний конец, выступающий за корпус коронки.
Известные буровые коронки, оборудованные неусовершенствованными твердосплавными головками, такими как описанные в ЕР-В1-886 715, имеют недостатки в том, что они преждевременно изнашиваются и имеют низкую степень проникновения (медленную скорость проникновения). Кроме того, повторное шлифование стандартных головок становится нестабильным. Другие известные буровые коронки показаны в US-A-3788409 и US-A-6220376.
Цели изобретения
Целью настоящего изобретения является создание буровой коронки для ударного бурения, имеющей длительный срок службы.
Другой целью настоящего изобретения является создание буровой коронки для ударного бурения, имеющей повышенную степень проникновения в породу.
Еще одной целью настоящего изобретения является создание повторно шлифуемой твердосплавной головки для ударного бурения, обеспечивающей повышение прочности прессующего инструмента.
Еще одной целью данного изобретения является создание повторно шлифуемой твердосплавной головки для ударного бурения, которая может быть повторно отшлифована стабильным образом.
Описание чертежей
Цели и преимущества настоящего изобретения станут более очевидными из нижеследующего подробного описания предпочтительного воплощения со ссылками на чертежи, на которых:
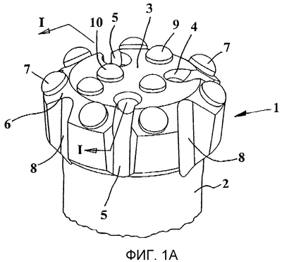
фиг.1А показывает частичный вид в перспективе, иллюстрирующий буровую коронку в соответствии с настоящим изобретением;
фиг.1В показывает поперечное сечение по линии I-I буровой коронки, показанной на фиг.1А;
фиг.2 показывает сечение головки в соответствии с настоящим изобретением относительно корпуса буровой коронки, и геометрию предшествующего уровня техники, показанную пунктиром;
фиг.3 показывает продольное сечение головки в соответствии с настоящим изобретением;
фиг.4 показывает боковую вертикальную проекцию головки в соответствии с настоящим изобретением;
фиг.5 показывает боковой вертикальный вид головки предшествующего уровня техники.
Подробное описание предпочтительного воплощения изобретения
На фиг.1А и 1В показана буровая коронка, которая обычным образом содержит корпус и твердосплавные головки. Корпус содержит по существу цилиндрический головной участок 1 и более узкий вал 2. Корпус буровой коронки изготовлен из стали. Головной участок 1 содержит переднюю поверхность или переднюю сторону 3, в которую встраивается несколько головок. Передняя поверхность может быть основательно плоской. Первый участок 6 поверхности, расположенный между передней поверхностью 3 и периметром головного участка, имеет коническую форму. На этом коническом участке 6 оборудуется несколько первых головок, или головок 7 размерного ряда, образующих окружное кольцо на головном участке. В этом случае головки 7 немного выступают за периферию головного участка для того, чтобы произвести в процессе бурения скважину, которая имеет немного больший диаметр, чем сам головной участок. В областях между смежными периферийными головками 7 оборудованы выточки или пазы 8, через которые может проходить поток промывочной среды. Несколько передних головок расположено также в области внутри периферийных головок 7, которые в зависимости от своего положения обозначены номерами 9 и 10 соответственно. Буровая коронка должна быть соединена с буровой трубой или буровой штангой посредством резьбового соединения (не показано) или с нижней частью привода бурильного молотка (не показано) для передачи крутящего момента обычным образом. Буровая труба или буровая штанга включает канал для промывочной среды. Главный канал 11 для промывочной среды выполнен внутри буровой коронки. Этот главный канал соединен на своем переднем конце с несколькими разветвляющимися каналами 12, которые заканчиваются в пазах 4 на передней поверхности 3 и в возвратных пазах 5. В этой связи может быть отмечено, что один или несколько каналов промывочной среды также могут заканчиваться в пазах 8. Промывочной средой на практике является вода или воздух.
Несколько непокрытых головок 7, 9 и 10 размещено на конической поверхности 6 и на передней поверхности 3 корпуса коронки. Головки полностью изготовлены из твердого сплава и закреплены в расточках преимущественно путем прессования. По периметру коронки 10 расположено несколько головок 7, радиальные внешние участки которых определяют диаметр коронки и, таким образом, диаметр пробуриваемой скважины. По крайней мере, каждая из головок 7 при установке находится на максимальном расстоянии L2 от объединенной краевой поверхности 23 корпуса 2 коронки (фиг.2). Расстояние L2 больше по сравнению с головкой предшествующего уровня техники, что показано пунктирной линией на фиг.2, т.е. около 53% от диаметра D головки по сравнению с 49% для головки предшествующего уровня техники. Другими словами, в соответствии с настоящим изобретением расстояние L2 составляет не менее 50% от диаметра D головки, предпочтительно не менее 52%.
Головки 7 наклонены таким образом, что продольная центровая линия (центральная ось) CL2 каждой из головок 7 отклонена на предпочтительно острый угол от продольной центральной оси CL1 буровой коронки в прямом направлении коронки.
Все головки 7, 9 и 10 впрессованы на передней поверхности корпуса коронки. Каждая головка содержит твердосплавное тело, имеющее цилиндрический закрепляющий или установочный участок 20, заделанный в корпус коронки, и передний сужающийся конец, выступающий за корпус коронки. Радиус R1 определяет огибающую поверхность 25 установочного участка 20. Сужающийся конец каждой твердосплавной головки определяет режущий конец 18 головки. Поверхность 18А режущего конца 18 начинается с кромки 22, соответственно расположенной на плоскости Р (фиг.2). Кромка 22 предпочтительно расположена на пересечении между конической промежуточной поверхностью 21 твердосплавной головки и цилиндрической огибающей поверхностью 25. Коническая промежуточная поверхность 21 образует в поперечном сечении фиг.2 острый угол около 13-19°, предпочтительно около 15°, с огибающей поверхностью 25 заднего установочного участка 20. Коническая промежуточная поверхность нужна для прессования, при уплотнении карбида и вяжущего порошка, который делает верхний или нижний перфоратор в прессующем инструменте более прочным. Кромка 22 параллельна объединенной краевой поверхности 23, и они разделены расстоянием L1, которое имеет величину от 0,5 до 2 мм.
Продольная центровая линия CL1 буровой коронки и продольная центровая линия CL2 головок 7 имеют между собой угол. Этот угол находится в диапазоне около 13-163°, предпочтительно 20-55°.
Поверхность 18А режущего конца 18 головки по существу полусферически изогнута и определена радиусом R2, лежащим на центральной оси CL2, и начало С радиуса R2 расположено аксиально сзади плоскости Р. Плоскость Р пересекает центральную ось CL2 в одной точке. Расстояние А между вышеуказанной точкой и началом радиуса С составляет от 5 до 10% от радиуса R1. Радиус R2 составляет от 85 до 115% от радиуса R1 заднего установочного участка 20.
Так как радиус R2 полусферического твердосплавного переднего конца меньше, чем у известных на настоящее время головок, новая буровая коронка будет бурить дольше, чем буровые коронки предшествующего уровня техники, до того, как возникнет необходимость повторного шлифования, т.е. на режущем конце 18 твердосплавной головки должно быть больше твердого сплава (по сравнению с пунктирной линией на фиг.2). Кроме того, буровая коронка будет достигать повышенной степени проникновения благодаря более высокому контактному давлению, которое каждая головка оказывает на поверхность породы в буровой скважине. Дополнительно, изобретенная твердосплавная головка может быть повторно отшлифована стабильным образом, так как головка выступает за стальной корпус коронки больше, чем обычно, и таким образом шлифовальный зазор шлифовальной чашки будет глубже, чем у предыдущих чашек. Шлифовальная чашка таким образом будет иметь соответственный полусферический паз с возможностью шлифовать головку, этот паз имеет глубину, которая составляет не менее 50% от большего диаметра паза и предпочтительно не менее 52%. Радиус полусферического паза составляет от 85 до 115% от радиуса R1 нижнего установочного участка 20. Под словом «повторное шлифование» здесь имеется в виду, что одна шлифовальная чашка, вращательная и орбитальная к концу головки, может по существу вернуть первоначальную форму концу головки.
Испытания показали, что в течение ударного бурения продолжительность срока службы изобретенной коронки в два раза превысила продолжительность срока службы традиционной коронки. Диаметры головок коронки выбраны так, что наиболее крупные головки 7 расположены по периметру, и внутренние головки 9 меньше, в то время как самые внутренние головки 10 самые маленькие по диаметру. Выступы за краевые поверхности 23 варьируются подобным образом, т.е. от 9,4 мм к 8,6 мм и к 7,6 мм, соответственно.
Кроме того, форма головки в соответствии с настоящим изобретением предоставляет свободу конструктору буровой коронки в том, что настоящая головка может быть встроена в буровую коронку с углом отклонения в интервале до 150°, начиная от 13°, относительно оси CL1 коронки.
Геометрия головки в соответствии с настоящим изобретением обеспечивает многочисленные преимущества по сравнению с головками предшествующего уровня техники, такие как продленный срок службы, увеличенная степень проникновения и стабильное повторное шлифование.
Несмотря на то, что настоящее изобретение было описано в связи с его предпочтенным воплощением, для специалистов в данной области техники будет предпочтительно, чтобы дополнения, удаления, модификации и замещения, специально не описанные, могли быть выполнены, не выходя за рамки и сущность изобретения, как определено в прилагаемой формуле изобретения.
Формула изобретения
1. Буровая коронка для ударного бурения скважины, содержащая корпус, имеющий соединительный участок на заднем конце для соединения с ударным блоком и определяющий ось вращения (CL1) буровой коронки, и множество повторно шлифуемых твердосплавных головок (7, 9, 10), впрессованных в передний конец корпуса, который является жестким по сравнению с соединительным участком, каждая головка содержит твердосплавное тело, имеющее задний установочный участок (20), впрессованный в корпус, и передний конец (18), выступающий за корпус и по существу полусферически изогнут и определен радиусом (R2), начало (С) которого расположено аксиально позади от плоскости (Р), по существу содержащей кромку (22), при этом указанный передний конец имеет поверхность (18А), начинающуюся с кромки (22), отличающаяся тем, что сферическая головка (7,9,10) выступает за корпус на расстояние (L2), которое составляет не менее 50% от диаметра (D) головки, и коническая промежуточная поверхность (21) между указанной поверхностью (18А) и кромкой (22) образует, в поперечном сечении, острый угол ( ) около 13-19° с огибающей поверхностью (25) заднего установочного участка (20).
2. Буровая коронка по п.1, в которой расстояние (L2) составляет не менее 52% от диаметра (D) головки.
3. Буровая коронка по п.2, в которой изогнутый передний конец (18) твердосплавной головки соединен с конической поверхностью (22), соединенной с огибающей поверхностью (25) головок (7, 9, 10) в месте, содержащем плоскость (Р), определяющую наибольший диаметр (D) головки.
4. Буровая коронка по п.1, в которой радиус (R2) составляет от 85 до 115% радиуса (R1) заднего установочного участка (20).
5. Повторно шлифуемая твердосплавная головка для буровой коронки для ударного бурения, имеющая задний установочный участок (20), впрессовываемый в корпус коронки, и передний конец (18), выступающий за корпус коронки, являющейся по существу полусферически изогнутым и определяемый радиусом (R2), начало (С) которого расположено аксиально позади плоскости (Р), по существу содержащей кромку (22), при этом указанный передний конец имеет поверхность (18А), начинающуюся с кромки (22), отличающаяся тем, что головка способна выступать за корпус буровой коронки на расстояние (L2), которое составляет не менее 50% от диаметра (D) головки, и коническая промежуточная поверхность (21), расположенная между указанной поверхностью (18А) и кромкой (22), в поперечном сечении образует острый угол ( ) около 13-19° с огибающей поверхностью (25) заднего установочного участка (20).
6. Повторно шлифуемая головка по п.5, в которой расстояние (L2) составляет не менее 52% от диаметра (D) головки.
7. Повторно шлифуемая головка по п.6, в которой изогнутый передний конец (18) твердосплавной головки соединен с конической поверхностью (22), соединенной с огибающей поверхностью (25) головок (7, 9, 10) в месте, содержащем плоскость (Р), определяющую наибольший диаметр (D) головки.
8. Повторно шлифуемая головка по п.5, в которой радиус (R2) составляет от 85 до 115% от радиуса (R1) заднего установочного участка (20).
РИСУНКИ
|
|