|
|
(21), (22) Заявка: 2004111802/03, 19.09.2002
(24) Дата начала отсчета срока действия патента:
19.09.2002
(30) Конвенционный приоритет:
20.09.2001 (пп.1-9) EP 01308019.7
(43) Дата публикации заявки: 27.03.2005
(46) Опубликовано: 20.06.2007
(56) Список документов, цитированных в отчете о поиске:
SU 1615312 А1, 23.12.1990. US 3297099, 10.01.1967. US 5880382, 09.03.1999. SU 206468 А, 08.04.1966. SU 1008403 А, 30.03.1983. ЕР 0358786 A1, 13.09.1988.
(85) Дата перевода заявки PCT на национальную фазу:
20.04.2004
(86) Заявка PCT:
EP 02/10530 (19.09.2002)
(87) Публикация PCT:
WO 03/025327 (27.03.2003)
Адрес для переписки:
129010, Москва, ул. Б.Спасская, 25, стр.3, ООО “Юридическая фирма Городисский и Партнеры”, пат.пов. С.А.Дорофееву
|
(72) Автор(ы):
КРИСЕЛС Петрус Корнелис (NL), ЗИЙСЛИНГ Дьюрре Ханс (NL)
(73) Патентообладатель(и):
ШЕЛЛ ИНТЕРНЭШНЛ РИСЕРЧ МААТСХАППИЙ Б.В. (NL)
|
(54) УСТРОЙСТВО И СПОСОБ ДЛЯ БУРЕНИЯ ГЕОЛОГИЧЕСКОГО ПЛАСТА
(57) Реферат:
Группа изобретений относится к способу бурения геологических пластов и устройству для его осуществления. Устройство содержит корпус, выполненный с возможностью вращения, режущие буровые элементы, расположенные на торцевой поверхности корпуса и выполненные с возможностью соскребания отколотой части геологического пласта, ударную часть, установленную параллельно оси вращения с возможностью совершения возвратно-поступательного движения относительно корпуса для раскалывания части геологического пласта, подлежащего бурению, и имеющую режущие ударные элементы, расположенные на торцевой поверхности ударной части, концевая часть которой имеет поперечное сечение, как указано на чертеже (фиг.2 и 4), а концевая часть корпуса имеет поперечное сечение, дополняющее по форме поперечное сечение концевой части ударной части, так что концевая часть ударной части направляется в осевом направлении концевой частью корпуса. Способ бурения геологических пластов с использованием этого устройства заключается в введении ударной части устройства ударным движением в контакт с пластом для раскалывания, по меньшей мере, части геологического пласта, и соскребании отколотых частей геологического пласта посредством режущих буровых элементов устройства. Улучшает передачу ударного воздействия к ударной части и обеспечивает равномерность распределения ударной нагрузки по площади забоя и более качественное удаление отколотой части геологического пласта. 2 н. и 7 з.п. ф-лы, 4 ил.
Настоящее изобретение относится к устройству и способу для бурения геологических пластов.
Известные бурильные устройства содержат выполненный с возможностью вращения корпус, режущие буровые элементы, расположенные на торцевой поверхности корпуса и способные выполнять вращательное движение, посредством которого они соскребают отколотые части пласта с забоя скважины. Эти обломки выбуренной породы затем удаляются, например, с помощью бурового раствора.
Тем не менее, когда скважина должна быть пробурена в геологическом пласте из относительно твердого материала, это соскребывающее действие является очень медленным и имеет низкую отдачу.
Для частичного устранения этого недостатка созданы известные бурильные устройства, работа которых базируется на том же принципе, что и работа бурильного молотка (инструмента для ударно-вращательного бурения). В таком устройстве часть, представляющая собой долото, приводится во вращение, а часть, представляющая собой молоток, ударяет по данной части, представляющей собой долото. Вибрации, вызываемые ударным воздействием части, представляющей собой молоток, приводят к образованию трещин в материале, в котором бурят скважину. Вращающееся долото затем соскребает расколотые части материала. Недостатком такого устройства является то, что режущие элементы должны выдерживать воздействие больших сил из-за ударного воздействия, что приводит к чрезмерному износу режущих буровых элементов. Другой недостаток состоит в том, что часть энергии удара поглощается на поверхности контакта между буровым долотом и частью, представляющей собой молоток. Еще один недостаток состоит в том, что обломки выбуренной породы не удаляются надлежащим образом, поскольку никакого соскребающего действия не выполняется во время подъема части, представляющей собой долото. Кроме того, при использовании остро заточенных режущих элементов, которые проникают в пласт, эти режущие элементы будут препятствовать вращению бурильного устройства.
Известно устройство для бурения геологических пластов, содержащее наружный корпус, выполненный с возможностью вращения, алмазные режущие буровые элементы, расположенные на торцевой поверхности этого корпуса и выполненные с возможностью соскребания отколотой части геологического пласта, ударную часть, выполненную в виде внутреннего корпуса, расположенного в наружном корпусе и установленного с возможностью совершения возвратно-поступательного движения относительно наружного корпуса для раскалывания части геологического пласта, подлежащего бурению, и расположенные на торцевой поверхности ударной части режущие ударные элементы, выполненные в виде зубков, имеющих форму одностороннего клина, наклонные поверхности которых расположены в радиальной плоскости и обращены навстречу друг к другу (см. авторское свидетельство СССР 1615312 от 23.12.1990).
Недостатком данного устройства является трудность передачи ударного воздействия к ударной части. В связи с тем что ударная часть представляет собой полый корпус, ударное воздействие должно быть передано через узкий верхний кольцевой обод ударной части, что может привести к неравномерному распределению ударной нагрузки вдоль верхнего кольцевого обода и, следовательно, к возможному зажатию ударной части во вращающемся наружном корпусе.
Целью настоящего изобретения является создание бурильного устройства, которое позволяет частично устранить вышеуказанные недостатки.
Эта цель достигается тем, что в устройстве для бурения геологических пластов, содержащем корпус, выполненный с возможностью вращения, режущие буровые элементы, расположенные на торцевой поверхности корпуса и выполненные с возможностью соскребания отколотой части геологического пласта, ударную часть, установленную параллельно оси вращения корпуса с возможностью совершения возвратно-поступательного движения относительно корпуса для раскалывания части геологического пласта, подлежащего бурению, и имеющую режущие ударные элементы, расположенные на торцевой поверхности ударной части, согласно изобретению концевая часть ударной части имеет поперечное сечение, подобное поперечному сечению вентилятора, и концевая часть корпуса имеет поперечное сечение, дополняющее по форме поперечное сечение концевой части ударной части, так что концевая часть ударной части направляется в осевом направлении концевой частью корпуса.
Поскольку вращательное бурение отделено от ударного действия, как режущие буровые элементы, так и режущие ударные элементы могут быть оптимизированы для выполнения той задачи, для которой они предназначены. Ударная часть, которая установлена с возможностью совершения возвратно-поступательного движения относительно корпуса, выполненного с возможностью вращения, входит в непосредственный контакт с материалом, подлежащим бурению, так что вся энергия удара ударной части поглощается материалом, подлежащим бурению. Режущие буровые элементы совершают только вращательное движение, так что они соскребают материал, который был расколот ударной частью.
Разделение ударного действия и бурения также гарантирует то, что часть, предназначенная для бурения, будет находиться в постоянном контакте с забоем скважины, и ударная часть будет совершать полные ходы. Ударная часть может быть приведена в действие для совершения возвратно-поступательного движения с помощью приводных средств. Эти приводные средства могут быть электрическими или гидравлическими. Преимуществом гидравлических приводных средств является то, что буровые растворы могут быть использованы для приведения в действие ударной части. Кроме того, поскольку допустимый ход ударной части будет существенно большим, чем в случае обычных устройств для ударного бурения, особенно предпочтительно использовать гидравлические приводные средства.
В предпочтительном варианте осуществления режущие буровые элементы содержат поликристаллический алмаз.
Режущие буровые элементы могут быть расположены на, по меньшей мере, одной шарошке долота.
Режущие ударные элементы, могут быть выполнены, по меньшей мере, частично шарообразными. Шарообразная форма представляет собой предпочтительную форму с точки зрения прочности.
В другом варианте осуществления режущие ударные элементы имеют острую кромку для проникновения в пласт. Режущие элементы с острой кромкой являются более эффективными при проникновении в пласт и раскалывании пласта по сравнению с шарообразными режущими элементами. Поскольку эти режущие ударные элементы совершают возвратно-поступательное движение относительно режущих элементов для бурения, которые находятся в постоянном контакте с забоем ствола скважины, режущие ударные элементы находятся в контакте с забоем в течение короткого времени и поэтому в минимальной степени препятствуют вращению бурильного устройства.
Устройство может иметь сопла, расположенные в торцевой поверхности ударной части и/или в торцевой поверхности корпуса. Эти сопла образуют струи бурового раствора. Эти струи используются для охлаждения, смазки и для уноса отходов (бурового шлама).
В устройстве периферийная часть ударной части может иметь спиральную траекторию движения.
Согласно изобретению создан также способ бурения геологического пласта с использованием вышеописанного устройства, при котором вводят ударную часть устройства ударным движением в контакт с пластом для раскалывания, по меньшей мере, части геологического пласта, и соскребают отколотые части геологического пласта с помощью режущих буровых элементов устройства.
Эти и другие преимущества и признаки изобретения будут разъяснены в нижеприведенном описании вместе с сопровождающими чертежами, на которых изображено следующее:
фиг.1 показывает сечение устройства согласно изобретению;
фиг.2 показывает вид снизу устройства согласно фиг.1;
фиг.3 показывает схематичный вид сбоку устройства согласно фиг.1;
фиг.4 показывает вид снизу второго варианта осуществления устройства согласно изобретению.
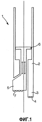
Фиг.1 показывает схематичное сечение бурильного устройства 1 согласно изобретению. Это бурильное устройство 1 содержит корпус 2, выполненный с возможностью вращения. На торцевой поверхности 3 корпуса 2 расположены режущие буровые элементы 4.
Устройство дополнительно содержит ударную часть 5, которая установлена на корпусе 2 с возможностью совершения возвратно-поступательного движения. Эта ударная часть приводится в движение с помощью гидроцилиндра 6. Режущие ударные элементы 7 расположены на торцевой поверхности ударной части.
Как показано на фиг.2, концевая часть ударной части 5 имеет поперечное сечение, подобное поперечному сечению вентилятора, при этом на торцевой поверхности ударной части расположены сопла 8. Концевая часть корпуса 2 имеет форму, которая дополняет форму ударной части, подобную форме вентилятора. Корпус 2 и ударная часть 5 образуют вместе круглое поперечное сечение.
На фиг.3 схематично проиллюстрирована работа бурильного устройства 1 согласно изобретению. Корпус 2 совершает вращательное движение R. Режущие буровые элементы 4 находятся в постоянном контакте с забоем 9 скважины, подлежащей бурению. Ударная часть 5 совершает возвратно-поступательное движение вверх и вниз согласно движению Р. Поскольку ударная часть 5 отделена от вращающегося корпуса 2, ход возвратно-поступательного движения может быть большим, так что режущие ударные элементы ударяют по забою 9 скважины со значительной скоростью и, следовательно, энергией, в результате чего материал забоя 9 раскалывается более легко, и поэтому его можно легче соскрести с помощью режущих буровых элементов 4.
Преимуществом устройства согласно изобретению является то, что прерывистое перемещение (из-за застревания) уменьшается или даже устраняется в результате возвратно-поступательного движения ударной части. Кроме того, это прерывистое перемещение предотвращается также благодаря короткому времени контакта ударной части 5.
Вибрации, вызванные ударной частью, могут быть использованы в качестве источника звука для сейсмических измерений. Эти сейсмические измерения используются для определения того, какой тип пласта имеется под забоем скважины.
На фиг.4 показан второй вариант осуществления устройства согласно изобретению. Это устройство 10 также имеет ударную часть 11 и буровую часть 12. Ударная часть 11 выполнена с рядом режущих ударных элементов, которые имеют пирамидальную форму. Эта пирамидальная форма обеспечивает хорошее растрескивание для раскалывания пласта в забое скважины.
Буровая часть 12 выполнена с режущими буровыми элементами 14 и соплами 15 для подачи буровых растворов.
Ударная часть 11 совершает возвратно-поступательное движение для обеспечения ударного воздействия на пласт. Это возвратно-поступательное движение может быть объединено с вращательным движением, так что периферийная часть ударной части 11 будет иметь спиральную траекторию движения. Предпочтительно это вращение имеет то же направление, что и направление вращения при бурении.
Формула изобретения
1. Устройство для бурения геологических пластов, содержащее корпус, выполненный с возможностью вращения, режущие буровые элементы, расположенные на торцевой поверхности корпуса и выполненные с возможностью соскребания отколотой части геологического пласта, ударную часть, установленную параллельно оси вращения с возможностью совершения возвратно-поступательного движения относительно корпуса для раскалывания части геологического пласта, подлежащего бурению, и имеющую режущие ударные элементы, расположенные на торцевой поверхности ударной части, отличающееся тем, что концевая часть ударной части имеет поперечное сечение, как указано на чертеже (фиг.2 и 4), а концевая часть корпуса имеет поперечное сечение, дополняющее по форме поперечное сечение концевой части ударной части, так что концевая часть ударной части направляется в осевом направлении концевой частью корпуса.
2. Устройство по п.1, отличающееся тем, что имеет приводные средства для обеспечения возвратно-поступательного движения ударной части.
3. Устройство по п.2, отличающееся тем, что приводные средства представляют собой гидравлические приводные средства.
4. Устройство по п.1, отличающееся тем, что режущие буровые элементы содержат поликристаллический алмаз.
5. Устройство по п.1, отличающееся тем, что режущие буровые элементы расположены на, по меньшей мере, одной шарошке долота.
6. Устройство по п.1, отличающееся тем, что режущие ударные элементы выполнены, по меньшей мере, частично шарообразными.
7. Устройство по п.1, отличающееся тем, что режущие ударные элементы имеют острую режущую кромку.
8. Устройство по п.1, отличающееся тем, что имеет сопла, расположенные в торцевой поверхности ударной части и/или в торцевой поверхности корпуса.
9. Способ бурения геологических пластов с использованием устройства по п.1, при котором вводят ударную часть устройства ударным движением в контакт с пластом для раскалывания, по меньшей мере, части геологического пласта и соскребают отколотые части геологического пласта посредством режущих буровых элементов устройства.
РИСУНКИ
MM4A – Досрочное прекращение действия патента СССР или патента Российской Федерации на изобретение из-за неуплаты в установленный срок пошлины за поддержание патента в силе
Дата прекращения действия патента: 20.09.2009
Извещение опубликовано: 27.09.2010 БИ: 27/2010
|
|