|
| На основании пункта 3 статьи 13 Патентного закона Российской Федерации от 23 сентября 1992 г. № 3517-I патентообладатель обязуется передать исключительное право на изобретение (уступить патент) на условиях, соответствующих установившейся практике, лицу, первому изъявившему такое желание и уведомившему об этом патентообладателя и федеральный орган исполнительной власти по интеллектуальной собственности, – гражданину РФ или российскому юридическому лицу. |
|
(21), (22) Заявка: 2005140403/03, 26.12.2005
(24) Дата начала отсчета срока действия патента:
26.12.2005
(46) Опубликовано: 20.06.2007
(56) Список документов, цитированных в отчете о поиске:
RU 2161684 C1, 10.01.2001. SU 1688791 А3, 30.10.1991. FR 2676498 А1, 20.11.1992. ЕР 0667438 А1, 16.08.1995. GB 1004839 А, 08.08.1961.
Адрес для переписки:
140093, Московская обл., г. Дзержинский, а/я 48, А.И. Максимову
|
(72) Автор(ы):
Максимов Александр Иванович (RU)
(73) Патентообладатель(и):
Максимов Александр Иванович (RU)
|
(54) КОРОБКА ДВЕРНАЯ
(57) Реферат:
Изобретение относится к конструкциям дверей, а именно к конструкции коробки дверной, и может быть использовано при изготовлении дверей дверных проемов, дверей сейфов, дверей транспортных средств. Изобретение позволит расширить арсенал технических средств для создания конструкции коробки дверной. Коробка дверная содержит замкнутый швеллерный каркас с верхним, нижним и боковыми участками, с образованием внутренней и наружной полостей. Она снабжена уплотняющим устройством, содержащим закрепленный посредством опоры к наружной поверхности каркаса полый корпус, внутри которого при помощи держателей закреплены пластинчатые пружины, установленные с возможностью контактирования с основанием, соединенного посредством планки со стойкой, частично расположенной во внешней полости каркаса. Полость корпуса сообщена с внутренней полостью каркаса. 3 ил.
Изобретение относится к составным частям двери, в частности, к конструкции коробки дверной, и может быть использовано при изготовлении дверей дверных проемов, дверей сейфов, дверей транспортных средств и т.д.
Известна коробка дверная, содержащая замкнутый каркас со сквозной полостью и запорным элементом, причем каркас содержит верхний, нижний и боковые участки (RU 2161684 С1).
Известна также коробка дверная, содержащая замкнутый швеллерный каркас с верхним, нижним и боковыми участками, с контактными поверхностями и сквозной полостью (RU 2261316 С2).
Недостаток известной коробки дверной заключается в том, что она имеет ограниченные функциональные возможности, т.к. ее конструкция не обеспечивает герметизацию верхнего участка каркаса с сопрягаемыми поверхностями, например, с дверным полотном, размещаемым в коробке дверной.
Задача, на решение которой направлено заявляемое техническое решение, состоит в расширении арсенала технических средств определенного назначения, в частности создание новой конструкции коробки дверной с расширенными функциональными возможностями.
Технический результат, который может быть при этом получен, заключается в реализации указанной выше задачи – расширение арсенала технических средств определенного назначения путем создания новой конструкции коробки дверной с расширенными функциональными возможностями.
Сущность заявляемого технического решения заключается в том, что коробка дверная, содержащая замкнутый швеллерный каркас с верхним, нижним и боковыми участками, с контактными поверхностями и сквозной полостью, согласно изобретению снабжена уплотняющим устройством, содержащим корпус с полостью с входом/выходом, опорой, пружинами пластинчатыми и держателями, подвижную планку со стойкой и основанием, причем корпус посредством опоры закреплен к контактной поверхности “Б”, по меньшей мере, одной части замкнутого швеллерного каркаса так, что вход/выход полости размещены со стороны сквозной полости, а пружины пластинчатые, держатели и подвижная планка размещены в полости, при этом пружины пластинчатые размещены в держателях, а подвижная планка установлена с возможностью перемещения так, что ее основание установлено с возможностью взаимодействия с пружинами пластинчатыми, а стойка размещена во входе/выходе полости и частично выступает в сторону сквозной полости и контактной поверхности “Е”.
Именно заявляемое исполнение конструкции коробки дверной обеспечивает расширение арсенала технических средств определенного назначения путем создания новой конструкции коробки дверной с расширенными функциональными возможностями, которая позволяет вынести суждение о достижении указанного технического результата благодаря наличию новых конструктивных элементов, новому взаимному расположению элементов конструкции, новой геометрической форме выполнения элементов конструкции и новой функциональной взаимосвязи между ними.
Сопоставительный анализ заявляемой коробки дверной с прототипом показывает, что заявляемая коробка дверная имеет общие признаки с прототипом: замкнутый швеллерный каркас с верхним, нижним и боковыми участками, с контактными поверхностями и сквозной полостью.
Заявляемая коробка дверная отличается от прототипа новыми признаками:
снабжена уплотняющим устройством, содержащим корпус с полостью с входом/выходом, опорой, пружинами пластинчатыми и держателями;
содержит подвижную планку со стойкой и основанием;
корпус посредством опоры закреплен к контактной поверхности “Б”, по меньшей мере, одной части замкнутого швеллерного каркаса так, что вход/выход полости размещены со стороны сквозной полости, а пружины пластинчатые, держатели и подвижная планка размещены в полости;
пружины пластинчатые размещены в держателях;
подвижная планка установлена с возможностью перемещения так, что ее основание установлено с возможностью взаимодействия с пружинами пластинчатыми, а стойка размещена во входе/выходе полости и частично выступает в сторону сквозной полости и контактной поверхности “Е”.
Из приведенного перечня признаков заявляемой конструкции коробки дверной и достижения поставленной задачи наглядно видно, что заявляемое техническое решение представляет собой новую совокупность признаков, как сочетание известных и новых признаков, обеспечивающих получение нового технического результата, неизвестного на дату подачи заявки. Новый технический результат, который может быть получен при осуществлении изобретения, заключается в достижении поставленной задачи – расширение арсенала технических средств определенного назначения, в частности, создание новой конструкции коробки дверной с расширенными функциональными возможностями.
Заявляемый объект промышленно применим, т.к. может быть использован в строительстве, промышленности, сельском хозяйстве и других отраслях народного хозяйства, где используются двери и ее составные части. Заявляемое техническое решение может быть воспроизведено в том виде, как оно охарактеризовано в любом из пунктов формулы изобретения с использованием известных материалов, в частности стального листа, технологий и технологического оборудования, необходимого для изготовления выкройки и штамповки деталей из стального листа и последующего их скрепления друг с другом. В случае осуществления изобретения по пункту формулы изобретения действительно возможна реализация указанного выше назначения. Изготовление коробки дверной осуществляют путем предварительного изготовления выкройки с использованием, преимущественно, установки гидроабразивной резки материалов и последующей остаточной пластической деформации участков выкройки и придания формы коробки дверной.
Техническое решение заявляемого объекта соответствует критерию “новизна”, т.к. оно не неизвестно из уровня техники на дату подачи заявки. Не известна из уровня техники совокупность существенных признаков заявляемого технического решения и их влияние на получение требуемого технического результата.
Техническое решение заявляемого объекта соответствует критерию “изобретательский уровень”, т.к. не выявлены решения, имеющие признаки, совпадающие с его отличительными признаками, и не обнаружена известность влияния отличительных признаков на получаемый технический результат.
Таким образом, заявляемое техническое решение соответствует всем критериям, предъявляемым к изобретению, и обеспечивает получение нового технического результата.
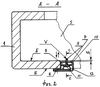
На фиг.1 показан общий вид коробки дверной; на фиг.2 – сечение А-А фиг.1; на фиг.3 – сечение С-С фиг.2.
Коробка дверная, содержит: замкнутый швеллерный каркас с верхним 2 (см. фиг.1, 2), нижним 4 и боковыми 1, 3 участками, с контактными поверхностями “Е”, “Б” и сквозной полостью 5, уплотняющее устройство, образованное корпусом 7 с полостью 8 с входом/выходом, опорой 6, пружинами пластинчатыми 11 (см. фиг.2, 3) и держателями 12, подвижную планку со стойкой 9 и основанием 10, причем корпус 7 посредством опоры 6 закреплен к контактной поверхности “Б”, по меньшей мере, одной части замкнутого швеллерного каркаса, например, к боковой части 1 так, что вход/выход (условно поз. не обозначены) полости 8 размещены со стороны сквозной полости 5, а пружины пластинчатые 11, держатели 12 и подвижная планка размещены в полости 8, при этом пружины пластинчатые 11 размещены в держателях 12, а подвижная планка установлена с возможностью перемещения так, что ее основание 10 установлено с возможностью взаимодействия с пружинами пластинчатыми 11, а стойка 9 размещена во входе/выходе полости 8 и частично выступает в сторону сквозной полости 5 и контактной поверхности “Е”. Корпус 7 закреплен, по меньшей мере, к одной части швеллерного каркаса, например, крепежными изделиями 13 (винтами, заклепками) или точечной сваркой, т.е. соединение может быть разъемным или не разъемным.
Корпус 7 образован из стального листа или ленты, или полосы толщиной, равной 0,4-1 мм. Подвижная планка также может быть образована из стального листа или ленты, или полосы, или полимерного материала. Каркас в сечении А-А согласно фиг.1 образован по форме не равнополочного гнутого швеллера, согласно фиг.2, содержащего стенку и большую и меньшую полки. Корпус 7 закреплен к большей полке швеллерного каркаса. Каркас выполнен из стального листа толщиной, равной 4-5 мм. Контактная поверхность “Б” – внешняя поверхность задней боковой части 1 каркаса. Контактная поверхность “Е” – внутренняя поверхность задней боковой части 1 каркаса, контактирующая со сквозной полостью 5 или/и обращенная в сторону сквозной полости 5. Подвижная планка выполнена Т-образной геометрической формы в сечении А-А согласно фиг.1, показанной на фиг.2. Стойка 9 частично размещена в полости 8 и частично выступает за пределы корпуса 7 в сторону сквозной полости 5 и содержит уплотняющую поверхность V, посредством которой контактирует с сопрягаемой поверхностью, например, дверного полотна. Корпус 7 может быть выполнен в виде детали или сборочной единицы. Корпус 7 имеет в сечении А-А геометрическую форму, показанную на фиг.2, и смещен в сторону от сквозной полости 5 и от контактной поверхности “Е” на величину, равную S, причем S=0,2-0,4 мм. S необходим для исключения взаимодействия дверного полотна, размещаемого в сквозной полости 5, с корпусом 7. Пружины пластинчатые 11 удерживаются в полости 8 держателями 12. Под действием пружин пластинчатых 11 подвижная планка подпружинена и может возвратно-поступательно перемещаться в полости 8 в сторону сквозной полости 5 и в сторону от сквозной полости 5 (на фиг.2, 3 направление перемещения показано стрелками).
Таким образом, заявляемое техническое решение обеспечивает достижение поставленной задачи и получение нового технического результата. Благодаря заявленной совокупности существенных признаков, обеспечивается расширение функциональных возможностей коробки дверной. Закрепление стального уплотняющего устройства к любой части коробки дверной обеспечивает достижение побочного технического результата, который заключается в повышении прочности и жесткости конструкции в целом, что обеспечивает максимальную стойкость коробки дверной к взлому. Предлагаемая конструкция коробки дверной создает необходимые предпосылки для унификации и стандартизации эффективных конструкций коробок дверных с уплотняющими устройствами.
Формула изобретения
Коробка дверная, содержащая замкнутый швеллерный каркас с верхним, нижним и боковыми участками с образованием внутренней и наружной полостей, отличающаяся тем, что она снабжена уплотняющим устройством, содержащим закрепленный посредством опоры к наружной поверхности каркаса полый корпус, внутри которого при помощи держателей закреплены пластинчатые пружины, установленные с возможностью контактирования с основанием, соединенным посредством планки со стойкой, частично расположенной во внешней полости каркаса, при этом полость корпуса сообщена с внутренней полостью каркаса.
РИСУНКИ
|
|