|
|
(21), (22) Заявка: 2005133306/12, 28.10.2005
(24) Дата начала отсчета срока действия патента:
28.10.2005
(46) Опубликовано: 20.06.2007
(56) Список документов, цитированных в отчете о поиске:
RU 2064566 C1, 27.07.1996. SU 1509497 A1, 23.09.1989. DE 3328694 A1, 28.02.1985. ЕР 0757144 A1, 05.02.1997. US 4756176 A, 12.07.1988. US 4142388 A, 06.03.1979. US 3719064 A, 06.03.1973. SU 1635907 A3, 15.03.1991. SU 896234 A, 07.01.1982.
Адрес для переписки:
603014, г.Нижний Новгород, а/я 61, ООО “НИЖПАТ”, директору С.Е. Культину
|
(72) Автор(ы):
Капустин Евгений Алексеевич (RU)
(73) Патентообладатель(и):
Капустин Евгений Алексеевич (RU)
|
(54) КОДОВЫЙ МЕХАНИЗМ ЗАМКА
(57) Реферат:
Изобретение относится к замочно-скобяным изделиям, а именно к кодовым механизмам механических замков, предназначенных для запирания дверей жилых и производственных помещений. Кодовый механизм замка содержит корпус, вал, установленный в корпусе, кодовый элемент, жестко связанный с валом, ключ и чувствительный элемент, установленный с возможностью взаимодействия с кодовым элементом. Вал выполнен с возможностью осевого перемещения и подпружинен в осевом направлении, а ключ – в виде стакана с установленным в нем с возможностью вращения и осевого перемещения центральным стержнем, на котором жестко установлен первый кольцевой элемент с профильной торцовой поверхностью, взаимодействующей с консольным концом копира, другой конец которого закреплен на боковой стенке стакана, снабженного средством для фиксации его положения относительно корпуса. Центральный стержень посредством разъемного соединения связан с выведенным за габариты корпуса концом вала с фиксацией углового положения центрального стержня относительно вала, а кодовый элемент выполнен в виде жестко установленного на валу второго кольцевого элемента, торцовая поверхность которого повторяет форму профиля торцовой поверхности первого кольцевого элемента, при этом чувствительный элемент установлен с возможностью взаимодействия с торцовой профильной поверхностью второго кольцевого элемента. В заявленном механизме обеспечивается повышение вандалоустойчивости и секретности при одновременном упрощении конструкции и повышении удобства эксплуатации замка. 2 ил.
Изобретение относится к замочно-скобяным изделиям, а именно к кодовым механизмам механических замков, предназначенных для запирания дверей жилых и производственных помещений.
Известен цилиндровый механизм замка по патенту РФ №2068926, МПК Е05В 35/04, опубл. 1996 г., содержащий корпус, внутренний цилиндр ригеля, ключ, на одной из сторон которого расположены выступы, взаимодействующие с ригелем, и секреты со стороны, противоположной выступам.
Согласно изобретению выступы выполнены переменной высоты с бородкой, что позволяет увеличить число кодовых комбинаций замка.
Недостатками известного аналога являются невысокая степень секретности и низкая вандалоустойчивость, присущая всем замкам, имеющим замочную скважину.
Известен также блокирующий узел замка, защищенный патентом РФ №2093654, МПК Е05В 35/04, опубл. 1997 г., содержащий корпус с отверстием для ввода ключа и продольным пазом, расположенный в пазу корпуса с возможностью поворота цилиндрический сердечник с радиальными выемками, подпружиненные толкатели, установленные с возможностью продольного перемещения и размещения в радиальных выемках сердечника и нажимной кодовый ключ с кодовыми колонками для взаимодействия с толкателями и сердечником. Кодовые колонки ключа могут быть выполнены выдвижными, что позволяет изменять код открытия замка и сбрасывать его.
Данному аналогу в целом присущи те же недостатки, что и у механизма по патенту №2068926.
Наиболее близким по совокупности существенных признаков к предлагаемому изобретению является кодовый механизм замка по патенту РФ №2064566, МПК Е05В 37/08, опубл. 1996 г., выбранный в качестве ближайшего аналога.
Известный кодовый механизм замка содержит корпус с отверстием для ввода ключа, вал, функцию которого выполняет поворотный цилиндр запирающего механизма, отпираемого ключом, ведущий диск с периферийной выемкой, соосно установленные кодовые диски с периферийными выемками и кодовыми отверстиями, в которых размещены установочные штифты, а также чувствительный (приводной) элемент, установленный с возможностью размещения в периферийных выемках дисков. Кодовый механизм может быть снабжен устанавливаемой с наружной стороны двери накладкой в форме диска с кодовыми метками.
Открывание замка известным кодовым механизмом производится путем последовательного набора чисел кода (по установочным меткам дверной накладки или на слух по щелчкам) для каждого диска. При правильном наборе кода расположение периферийных выемок всех дисков совпадает и приводной элемент, утапливаясь в выемках, задействует механизм открывания замка.
К недостаткам известного кодового механизма следует отнести невысокую вандалоустойчивость, обусловленную наличием узкой длинной замочной скважины под ключ, из которой трудно извлечь попавший в нее посторонний предмет (спичку, жевательную резинку и т.п.), а также низкую секретность, особенно в случае использования одного кодового диска. Увеличение числа кодовых дисков, а также наличие запирающего цилиндрового механизма значительно усложняет конструкцию кодового механизма и увеличивает время, требуемое на его открытие, что создает неудобства при эксплуатации замка.
Техническим результатом изобретения является повышение вандалоустойчивости и секретности кодового механизма при одновременном упрощении его конструкции и повышении удобства эксплуатации замка.
Указанный технический результат достигается тем, что в кодовом механизме замка, содержащем корпус, вал, установленный в корпусе, кодовый элемент, жестко связанный с валом, ключ и чувствительный элемент, установленный с возможностью взаимодействия с кодовым элементом, согласно изобретению вал выполнен с возможностью осевого перемещения и подпружинен в осевом направлении, ключ выполнен в виде стакана с установленным в нем с возможностью вращения и осевого перемещения центральным стержнем, на котором жестко установлен первый кольцевой элемент с профильной торцовой поверхностью, взаимодействующей с консольным концом копира, другой конец которого закреплен на боковой стенке стакана, снабженного средством для фиксации его положения относительно корпуса, при этом центральный стержень посредством разъемного соединения связан с выведенным за габариты корпуса концом вала с фиксацией углового положения центрального стержня относительно вала, кодовый элемент выполнен в виде жестко установленного на валу второго кольцевого элемента, торцовая поверхность которого повторяет форму профиля торцовой поверхности первого кольцевого элемента, а чувствительный элемент установлен с возможностью взаимодействия с торцовой профильной поверхностью второго кольцевого элемента.
Благодаря указанному выполнению кодовых элементов в виде колец с идентичными профилями торцовых поверхностей, взаимодействующих с копиром и чувствительным элементом, отпадает необходимость в традиционной замочной скважине, что значительно повышает вандалоустойчивость замка. Существенным преимуществом предлагаемого кодового механизма замка является повышение его секретности за счет увеличения числа кодовых комбинаций, в качестве которых выступают профили торцовой поверхности кодовых кольцевых элементов, а также упрощение конструкции и повышение удобства в пользовании замком.
Охарактеризованное указанными выше существенными признаками изобретение на дату подачи заявки не известно в Российской Федерации и за границей и отвечает требованиям критерия “новизна”.
Изобретение может быть реализовано промышленным способом с использованием известных технических средств, технологий и материалов и соответствует требованиям критерия “промышленная применимость”.
Заявителем не выявлены технические решения, имеющие признаки, совпадающие с совокупностью отличительных признаков заявляемого изобретения, в связи с чем можно сделать вывод о соответствии условию патентоспособности “изобретательский уровень”.
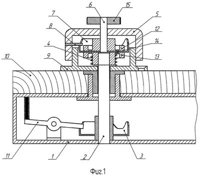
Изобретение поясняется графическими материалами, где на фиг.1 схематично изображен предлагаемый кодовый механизм замка, общий вид в разрезе; на фиг.2 – то же, диметрическое изображение механизма (для наглядности некоторые элементы конструкции выполнены прозрачными).
Кодовый механизм замка содержит установленный в корпусе 1 вал 2, кольцевой (кодовый) элемент 3, жестко связанный с валом 2, выполненным с возможностью осевого перемещения и подпружиненным посредством пружины 4 в осевом направлении.
Ключ выполнен в виде стакана 5 с установленным в нем с возможностью вращения и осевого перемещения центральным стержнем 6, на котором жестко установлен кольцевой элемент 7 с профильной торцовой поверхностью, взаимодействующей с консольным концом копира 8, другой конец которого закреплен на боковой стенке стакана 5, снабженного средством для фиксации его положения (не показано) на приемном элементе 9, установленном на наружной поверхности двери 10.
Торцовая поверхность кольцевого элемента 3 повторяет форму профиля торцовой поверхности кольцевого элемента 7 ключа.
Кодовый механизм снабжен чувствительным элементом 11, установленным с возможностью взаимодействия с профильной торцовой поверхностью кольцевого элемента 3.
Центральный стержень 6 ключа посредством разъемного соединения, состоящего из полумуфт 12 и 13, связан со свободным концом вала 2, выведенным наружу, с фиксацией их (вала и центрального стержня) взаимного углового положения посредством штифта 14.
На свободном конце центрального стержня 6 закреплена ручка 15.
Кодовый механизм замка работает следующим образом.
Стакан 5 ключа надевается на приемный элемент 9 и фиксируется на нем посредством, например, байонетного соединения (не показано). При этом копир 8 занимает строго определенное угловое положение относительно чувствительного элемента 11. Затем посредством ручки 15 поворачивают центральный стержень 6 ключа до срабатывания штифта 14, соединяющего полумуфты 12 и 13, что обеспечивает фиксацию взаимного углового положения кольцевых элементов 7 и 3.
В варианте установки кодового механизма, показанном на фиг.1, угловые положения кольцевых элементов 7 и 3 совпадают относительно “нулевых меток”, т.е. идентичные гребни и впадины профилей обоих кольцевых элементов находятся друг против друга. Также совпадают угловые положения копира 8 и чувствительного элемента 11.
При дальнейшем совместном вращении вала 2 и центрального стержня 6 консольный конец копира 8 (на котором может быть установлен ролик – на чертеже не показано), взаимодействуя с гребнями и впадинами торцовой поверхности кольцевого элемента 7, вызывает соответствующие профилю элемента 7 осевые перемещения (вниз-вверх) центрального стержня 6 и связанного с ним подпружиненного вала 2. Поскольку угловые положения пары “копир 8 – чувствительный элемент 11 , а также нулевых меток пары “кольцевой элемент 7 – кольцевой элемент 3 совпадают, то при открытии замка “своим” ключом (т.е. правильным кодом, каковым является уникальный профиль торцовой поверхности кольцевого элемента 7 ключа и соответственно кольцевого элемента 3 вала) вращение кольцевого элемента 3 не вызывает значительных отклонений свободного конца подпружиненного чувствительного элемента 11 в ту или иную сторону (вверх или вниз) от некоторого среднего положения. Если за полный поворот кольцевого элемента 3 на 360° чувствительный элемент 11 не выдаст сигнал “ошибки”, исполнительный механизм замка, связанный с чувствительным элементом, откроет ригель. В случае попытки несанкционированного открытия двери “чужим” ключом (отмычкой) незначительное отклонение в форме профиля ключа будет интерпретировано как “ошибка” и замок не будет разблокирован.
Если угловые положения копира 8 и чувствительного элемента 11 в силу конструктивных особенностей замка различаются на некоторый угол , то для обеспечения функционирования кодового механизма в соответствии с описанным выше алгоритмом угловые положения нулевых меток кольцевых элементов 7 и 3 должны также различаться на тот же угол .
Возможен также вариант выполнения кодового механизма в пределах заявляемой совокупности существенных признаков, при котором совместное вращение вала 2 и центрального стержня 6 ключа осуществляется посредством вращения расположенного в корпусе дополнительного вала с внешней ручкой (необходимость в ручке 15 на ключе при этом отпадает), кинематически связанного с валом 2 посредством шестеренчатой передачи (этот вариант на представленных графических материалах не показан).
В предлагаемой конструкции кодового механизма отсутствует замочная скважина, что значительно повышает вандалоустойчивость замка. За плоскость двери выступает небольшого размера полумуфта 13, жестко скрепленная с валом 2, защищенная от боковых силовых воздействий втулкой приемного элемента 9.
Секретность заявляемого кодового механизма замка составляет не менее 109 кодовых комбинаций (профилей различных геометрий), что, по крайней мере, на 1-2 порядка превосходит секретность прототипа.
Преимуществом предлагаемой конструкции является ее простота и удобство в эксплуатации (отсутствие необходимости в наборе кода, малое время открывания замка и т.п.). Увеличение толщины двери, на которой устанавливается замок, не приведет к соответствующему увеличению размеров ключа (как в прототипе), что также является дополнительным удобством.
Формула изобретения
Кодовый механизм замка, содержащий корпус, вал, установленный в корпусе, кодовый элемент, жестко связанный с валом, ключ и чувствительный элемент, установленный с возможностью взаимодействия с кодовым элементом, отличающийся тем, что вал выполнен с возможностью осевого перемещения и подпружинен в осевом направлении, ключ выполнен в виде стакана с установленным в нем с возможностью вращения и осевого перемещения центральным стержнем, на котором жестко установлен первый кольцевой элемент с профильной торцовой поверхностью, взаимодействующей с консольным концом копира, другой конец которого закреплен на боковой стенке стакана, снабженного средством для фиксации его положения относительно корпуса, при этом центральный стержень посредством разъемного соединения связан с выведенным за габариты корпуса концом вала с фиксацией углового положения центрального стержня относительно вала, кодовый элемент выполнен в виде жестко установленного на валу второго кольцевого элемента, торцовая поверхность которого повторяет форму профиля торцовой поверхности первого кольцевого элемента, а чувствительный элемент установлен с возможностью взаимодействия с торцовой профильной поверхностью второго кольцевого элемента.
РИСУНКИ
|
|