|
(21), (22) Заявка: 2006103536/03, 06.02.2006
(24) Дата начала отсчета срока действия патента:
06.02.2006
(46) Опубликовано: 20.06.2007
(56) Список документов, цитированных в отчете о поиске:
RU 2237220 С2, 27.09.2004. SU 1043430 A1, 23.09.1983. SU 840602 A, 23.06.1981. RU 2209903 C1, 10.08.2003. US 4769529 A, 06.09.1988. JP 2-62675 A, 26.12.1990.
Адрес для переписки:
191123, Санкт-Петербург, ул. Захарьевская, 22, ВИТУ, бюро по изобретательству и патентной работе
|
(72) Автор(ы):
Зайченко Павел Алексеевич (RU), Дружинин Петр Владимирович (RU), Агафонов Александр Николаевич (RU), Савчук Александр Дмитриевич (RU)
(73) Патентообладатель(и):
Военный инженерно-технический университет (RU)
|
(54) УСТРОЙСТВО ДЛЯ ПРЕДОТВРАЩЕНИЯ ОБРАЗОВАНИЯ СОСУЛЕК
(57) Реферат:
Изобретение относится к системам вентиляции воздуха в зданиях и может быть использовано для предотвращения обледенения кромок крыши и образования сосулек. Технический результат изобретения заключается в повышении эффективности тепловых труб, используемых для предотвращения образования сосулек. Устройство содержит тепловые трубы, зоны испарения которых расположены в вентиляционном канале (воздуховоде) вытяжного воздуха, а зоны конденсации тепловых труб закрепляются под водостоками и желобами крыши. В процессе выпадения осадков в зимний период на крыше скапливаются снежные массы, которые под действием тепловых потоков через перекрытия здания превращаются в талые воды, стекающие к холодным желобам и водостокам. В результате этого образуются наледи, ледяные валики и сосульки. Тепловые трубы между зонами испарения и конденсации покрыты слоем теплоизоляции. Зоны испарения тепловых труб выполнены в своем сечении эллиптическими, расположенными длинной осью эллипса вертикально и содержащими внешние оребрения. 3 ил.
Изобретение относится к системам вентиляции воздуха в зданиях и может быть использовано для предотвращения обледенения кромок крыши зданий и образования сосулек.
Известно устройство для утилизации тепловой энергии в системах кондиционирования, содержащее нагреватель и тепловые трубы, каждая из которых расположена в воздуховодах наружного и вытяжного воздуха, последний из которых снабжен кожухом, в который введены концы тепловых труб [1] – (а.с. СССР №840602, М. кл. F24F 5/00, 1979 г.).
Недостатком данного устройства является низкая надежность его работы.
Известно устройство для утилизации тепловой энергии в системах кондиционирования, содержащее нагреватель и тепловые трубы, каждая из которых расположена в воздуховодах наружного и вытяжного воздуха, последний из которых снабжен кожухом, в который введены концы тепловых труб, кожух посредством подводящего и отводящего каналов присоединен к воздуховоду наружного воздуха, а нагреватель установлен в подводящем канале кожуха [2] – (а.с. СССР №1043430, М. кл. F24F 5/00, 1983 г.).
Недостатком данного устройства является повышенный расход тепловой энергии в период обмерзания тепловых труб.
Известно устройство для предотвращения обледенения кромок крыши и образования сосулек, содержащее нагреватель кровли. Нагреватель представляет собой распределенный по площади кровли электрокабель, который осуществляет обогрев крыши и обеспечивает постоянный сток талой воды [3] – (Гагарина Т. Рецепт кровельного пирога /Современный дом, 2002, №4, с.48-54).
Недостатком данного устройства является большой расход электроэнергии на обогрев кровли, т.е. его низкая экономичность.
Наиболее близким по технической сути (прототипом) к заявляемому устройству является устройство для предотвращения обледенения кромки крыши и образования сосулек, содержащее нагреватель кровли, выполненный в виде тепловых труб, зоны испарения которых расположены в вентиляционном канале, а зоны конденсации закрепляются под водостоками и желобами крыши [4] – (Патент РФ №2237220, МПК7 F24F 5/00, 2004 г.).
Недостатком известного устройства-прототипа является большое аэродинамическое сопротивление пучка зон испарения тепловых труб установленных в вентиляционном канале, кроме того, коэффициент теплопередачи от вытяжного воздуха к внешней цилиндрической поверхности зоны испарения тепловой трубы очень маленький, что обуславливает низкую эффективность функционирования тепловых труб. Кроме того, очень большие, бесполезные потери теплоты, полученной от вытяжного воздуха, будут происходить на участке тепловой трубы между зонами испарения и конденсации (в холодном пространстве под кровлей).
Данные недостатки ставят задачу повышения эффективности тепловых труб, используемых для предотвращения образования сосулек, путем:
– уменьшения аэродинамического сопротивления их зон испарения в вытяжных вентиляционных каналах;
– повышения коэффициента теплопередачи к зонам испарения тепловых труб от вытяжного воздуха;
– уменьшения тепловых потерь от тепловых труб на участках между зонами испарения и конденсации.
Указанная задача достигается тем, что в устройстве для предотвращения образования сосулек, содержащем нагреватель кровли, выполненный в виде тепловых труб, зоны испарения которых расположены в вентиляционном канале, а зоны конденсации закрепляются под водостоками и желобами крыши, зоны испарения выполнены в своем сечении эллиптическими, расположенными длинной осью эллипса вертикально (по ходу потока вытяжного воздуха) и содержат внешние оребрения, а сами тепловые трубы между зонами испарения и конденсации покрыты слоем теплоизоляции.
Выполнение зон испарения в своем сечении эллиптическими, расположены длинной осью эллипса вертикально (по ходу потока вытяжного воздуха) необходимо для уменьшения аэродинамического сопротивления потоку воздуха в воздуховодах вытяжного воздуха. Этот признак позволит системе вентиляции работать в нормальном режиме. При этом снижение аэродинамического сопротивления увеличивает скорость потока вытяжного воздуха, и, следовательно, увеличит коэффициент теплопередачи.
Введение на зонах испарения тепловых труб внешних оребрений (аэродинамическое сопротивления которых очень мало) необходимо для существенного увеличения коэффициента теплопередачи, то есть повышает теплоотдачу от теплого вытяжного воздуха.
Введение между зонами испарения и конденсации тепловой трубы слоя теплоизоляции необходимо для уменьшения бесполезных тепловых потерь от тепловых труб.
Таким образом:
выполнение заявляемого устройства согласно признакам по формуле изобретения, является новым для устройств предотвращения образования сосулек, что соответствует критерию “новизна”.
Вышеприведенная совокупность признаков не известна в настоящее время из уровня техники и не следует из общеизвестных правил конструирования устройств для предотвращения образования сосулек, что доказывает соответствие критерию “изобретательский уровень”.
Конструктивная реализация устройств для предотвращения образования сосулек с указанной совокупностью признаков не представляет никаких конструктивно-технических и технологических трудностей, отсюда следует соответствие критерию “промышленная применимость”.
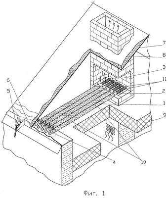
На фиг.1 представлена схема предлагаемого устройства.
На фиг.2 – одна тепловая труба (увеличено).
На фиг.3 – вид А (вид тепловой трубы с торца зоны испарения).
Устройство содержит тепловые трубы 1, зоны испарения 2 тепловых труб 1 расположены в вентиляционном канале (воздуховоде) 3 вытяжного воздуха, а зоны конденсации 4 тепловых труб 1 закрепляются под водостоками 5 и желобами 6 крыши 7. В процессе выпадения осадков в зимний период на крыше 7 скапливаются снежные массы 8, которые под действием тепловых потоков через перекрытия 9 здания превращаются в талые воды, стекающие к холодным желобам 6 и водостокам 5. В результате этого образуются наледи, ледяные валики и сосульки. Тепловые трубы 1 между зонами испарения 2 и конденсации 4 покрыты слоем теплоизоляции 10. Зоны испарения 2 тепловых труб 1 выполнены в своем сечении эллиптическими, расположенными длинной осью эллипса вертикально и содержат внешние оребрения 11.
Устройство работает следующим образом.
Теплый воздух из помещения здания через вентиляционные отверстия поступает в вентиляционный канал (воздуховод) 3 вытяжного воздуха. Двигаясь по воздуховоду 3, воздушные потоки омывают эллиптические с оребрениями 11 зоны испарения 2 тепловых труб 1, которые обладают небольшим аэродинамическим сопротивлением и высоким коэффициентом теплопередачи. Поглощенная теплота в зоне испарения 2 передается в зону конденсации 4 тепловых труб 1, где впоследствии она передается участкам кровли путем теплопроводности и конвекции. Потери теплоты в тепловых трубах 1 между зонами испарения 2 и конденсации 3 сведены к минимуму теплоизоляцией 10. В результате подвода теплоты к желобам 6 и водостокам 5 крыши 7 происходит таяние образовавшихся на них ледяных валиков, наледи и сосулек. Таким образом, путь стока талой воды остается свободным в любое время и при любой температуре воздуха.
Данное устройство позволяет получить технический результат, состоящий в повышении экономичности и эффективности работы устройства-прототипа. Повышение экономичности и эффективности заключается в том, что сведены к минимуму бесполезные потери теплоты между зонами испарения и конденсации тепловых труб, уменьшены аэродинамические сопротивления зон испарения тепловых труб в вентиляционном канале и повышен коэффициент теплопередачи от вытяжного воздуха к зонам испарения.
Источники информации
1. А.с. СССР №840602, М. кл. F24F 5/00, 1979 г.
2. А.с. СССР №1043430, М. кл. F24F 5/00, 1983 г.
3. Гагарина Т. Рецепт кровельного пирога /Современный дом, 2002, №4, с.48-54.
4. Патент РФ №2237220, МПК7 F24F 5/00, 2004 г.
Формула изобретения
Устройство для предотвращения образования сосулек, содержащее нагреватель кровли, выполненный в виде тепловых труб, зоны испарения которых расположены в вентиляционном канале, а зоны конденсации закрепляются под водостоками и желобами крыши, отличающееся тем, что зоны испарения выполнены в своем сечении эллиптическими, расположены длинной осью эллипса вертикально и содержат внешние оребрения, а сами тепловые трубы между зонами испарения и конденсации покрыты слоем теплоизоляции.
РИСУНКИ
|