|
|
(21), (22) Заявка: 2005117155/03, 10.02.2003
(24) Дата начала отсчета срока действия патента:
10.02.2003
(30) Конвенционный приоритет:
04.11.2002 (пп.1-51) US 10/287,406
(43) Дата публикации заявки: 20.01.2006
(46) Опубликовано: 20.06.2007
(56) Список документов, цитированных в отчете о поиске:
US 6108950 А, 29.08.2000. SU 132140 A, 12.10.1959. SU 621843 A, 31.07.1978. SU 345255 A, 31.07.1972. SU 426378 A, 09.10.1974. SU 1641197 A3, 07.04.1991. SU 1838524 A3, 30.08.1993. RU 2119998 C1, 10.10.1998. US 5956874 A, 28.09.1999. US 6052927 А, 25.04.2000. US 6119378 А, 19.09.2000. US 2002/0023375 А1, 28.02.2002.
(85) Дата перевода заявки PCT на национальную фазу:
06.06.2005
(86) Заявка PCT:
US 03/03935 (10.02.2003)
(87) Публикация PCT:
WO 2004/042153 (21.05.2004)
Адрес для переписки:
129010, Москва, ул. Б.Спасская, 25, стр.3, ООО “Юридическая фирма Городисский и Партнеры”, пат.пов. С.А.Дорофееву, рег.№ 146
|
(72) Автор(ы):
РУВАНГ Джон А. (US)
(73) Патентообладатель(и):
ХЕНСЛИ ИНДАСТРИЗ, ИНК. (US)
|
(54) СМЕННЫЙ ИЗНАШИВАЮЩИЙСЯ ЭЛЕМЕНТ (ВАРИАНТЫ), УСТРОЙСТВО ДЛЯ СЪЕМНОГО СОЕДИНЕНИЯ ЭТОГО ЭЛЕМЕНТА С ОПОРНОЙ КОНСТРУКЦИЕЙ И УСТРОЙСТВО ДЛЯ ПЕРЕМЕЩЕНИЯ МАТЕРИАЛА, СОДЕРЖАЩЕЕ ЭТОТ ЭЛЕМЕНТ И ОПОРНУЮ КОНСТРУКЦИЮ (ВАРИАНТЫ)
(57) Реферат:
Предложенная группа изобретений относится к области горного дела и строительства, в частности к устройствам для перемещения материала, для разъемного сцепления сменного наконечника землеройного зуба со связанной с ним конструкцией переходного выступа. Техническая задача – упрощение режима замены рабочего органа. Сменный наконечник землеройного зуба телескопически надвинут на переходной выступ и разъемным образом удерживается на нем удлиненным плоским соединительным элементом, имеющим боковую периферию без сужения. Соединительный элемент продольно проходит через выровненные по одной линии наконечник и соединительные отверстия и блокирует удаление наконечника с переходного выступа посредством перемещения вперед. Поперечная опорная поверхность боковой стенки наконечника, обращенная к одному концу установленного соединительного элемента, предотвращает его перемещение наружу через одно из отверстий наконечника, и вращающийся блокировочный элемент, поддерживаемый другим концом соединительного элемента и сцепляемый с канавкой в другом отверстии наконечника, предотвращает перемещение соединительного элемента наружу через отверстие наконечника с канавками. Упорная конструкция разъемным образом удерживает блокировочный элемент в ориентациях замыкания и размыкания, в которых предотвращается перемещение блокировочного элемента параллельно длине соединительного элемента. 8 н. и 43 з.п. ф-лы, 5 ил.
Настоящее изобретение в общем относится к устройству для перемещения материала и, в предпочтительном варианте его осуществления, более конкретно относится к устройству для разъемного сцепления сменного наконечника землеройного зуба со связанной с ним конструкцией переходного выступа.
Множество видов устройств для перемещения материала снабжены сменными элементами, которые съемным образом закреплены на более крупных базовых конструкциях и входят в абразивный, изнашивающий контакт с перемещаемым материалом. Например, землеройные зубья, используемые в землеройном оборудовании, таком, как экскаваторные ковши и т.п., обычно содержат относительно массивную переходную часть, которая подходящим образом прикреплена к переднему резаку ковша и имеет уменьшенное сечение, выдающийся вперед выступающий участок и сменный наконечник зуба, образующий через его задний конец отверстие в виде кармана, которое съемным образом вмещает переходной выступ. Для удерживания наконечника на переходном выступе сквозь эти взаимно зацепляемые элементы образованы выровненные по одной линии поперечные отверстия, примыкающие к заднему краю наконечника, подходящая соединительная конструкция вводится в выровненные по одной линии отверстия и принудительно удерживается внутри них, чтобы съемным образом закрепить сменный наконечник зуба на связанном с ним участке переходного выступа.
Соединительные конструкции, приспособленные для введения в выровненные по одной линии отверстия наконечника зуба и переходного выступа, обычно бывают двух основных видов: клиновые и катушечные соединительные комплекты, а также гибкие штифтовые соединители. Клиновой соединительный комплект содержит сужающуюся катушечную часть, которую в начале помещают в выровненные по одной линии отверстия зуба и переходной детали, и сужающуюся клиновую часть, которую затем вводят в отверстия, напротив катушечной части, чтобы зажать конструкцию на месте, внутри отверстий, способом, вызывающим приложение высоких сил жесткого зажима к внутренним поверхностями отверстия, и переместить переходной выступ в сцепление по плотной посадке с карманом зуба.
Чтобы вставить, а затем вынуть стальной клин, требуются очень большие силы вгонки и выбивания, обычно требующие усилий двух человек, чтобы забить и выбить клин – один человек держит инструмент для удаления у конца клина, а другой человек бьет кувалдой по инструменту для удаления. Это создает угрозу безопасности из-за возможности того, что будут разлетаться металлические заусенцы, и/или второй человек вместо инструмента для удаления ударит кувалдой первого человека. Дополнительно, износ между сопрягающимися поверхностями зуба и переходного выступа во время землеройного использования зуба имеет тенденцию ослаблять плотную посадку клиновой конструкции внутри отверстий зуба и переходного выступа, таким образом, позволяя клиновой конструкции выпадать из отверстий и, следовательно, позволяя зубу упасть с переходного выступа.
Гибкие штифтовые конструкции обычно содержат два удлиненных металлических элемента, расположенных рядом и удерживаемых в разнесенной ориентации эластомерным материалом, проложенным между ними. Гибкая штифтовая конструкция вводится в продольном направлении в отверстия зуба и переходного выступа, чтобы заставить эластомерный материал сжиматься и упруго прижимать металлические элементы к отверстиям выступа и зуба, удерживая соединительную конструкцию на месте внутри отверстий и упруго вдавливая участок переходного выступа в сцепление по плотной посадке с внутренней поверхностью гнезда зуба.
Гибкие штифты также имеют свои недостатки. Например, по сравнению с клиновыми конструкциями они имеют существенно более низкую силу удерживания на месте. Дополнительно, реверсивная нагрузка на зуб создает в отверстиях зуба и переходного выступа зазор, через который грязь может проникнуть в карман зуба и нежелательно ускорить износ сопрягающихся поверхностей зуба и переходного выступа, который, соответственно, ослабляет удерживающую силу соединителя. Кроме того, эластомерные материалы, обычно используемые в гибких штифтовых соединителях, неизбежно подвержены повреждению от горячих, холодных и кислотных рабочих сред. Кроме того, и в клиновых, и в гибких штифтовых соединителях требуются относительно точные производственные допуски на размеры в участках наконечника зуба и переходного выступа, чтобы вмещать установку связанных с ними соединительных конструкций.
В число предложенных решений для этих разнообразных связанных с соединителями проблем, ограничений и недостатков в сборочных узлах, состоящих из наконечника землеройного зуба и переходного элемента, включены клиновидные соединительные элементы, которые вставляются в выровненные по одной линии отверстия наконечника и переходного выступа, имеющие комплементарно сужающиеся конфигурации, причем вставленный соединитель упруго смещен в продольном «уплотняющем» направлении относительно наконечника и переходного выступа посредством блокировочного элемента, содержащегося в соединительном элементе. Блокировочный элемент с возможностью вращения и герметично вмещается в конце соединительного элемента, опирается на участок наконечника зуба и продольно подпружинен наружу от соединительного элемента. Пример такой соединительной конструкции клиновидного типа проиллюстрирован и описан в патенте США 6,108,950, выданном Рювангу.
Это конкретный клиновидный тип соединительной конструкции по меньшей мере существенно уменьшает разнообразные проблемы, ограничения и недостатки, обсуждаемые выше в связи с обычными гибкими штифтами и клиновыми соединительными комплектами. Однако они имеют несколько своих собственных ограничений. Например, из-за клиновой формы соединительного элемента силы землеройной нагрузки, действующие на соединительный элемент, могут генерировать существенную осевую составляющую силы на соединительном элементе, которая в определенных случаях может повредить блокировочный элемент и позволить соединительному элементу быть выброшенным из отверстий наконечника зуба и переходного элемента. Кроме того, так как подпружиненный блокировочный элемент имеет возможность перемещения внутрь соединительного элемента и наружу из него, грязь может быть втянута в область внутреннего сопряжения поверхностей соединителя и блокировочного элемента и существенно ухудшить уплотнение, содержащееся в блокировочном элементе. Кроме того, при удерживании блокировочного элемента в его положении размыкания в течение продолжительных периодов времени (например, когда вся соединительная конструкция перед использованием хранится на складе) эластомерный участок стопорного участка блокировочного элемента удерживается в сжатом состоянии и может получить нежелательную остаточную деформацию сжатия.
Из предшествующего описания ясно, что было бы желательно создать улучшенное соединительное устройство землеройного зуба, в котором устранены или, по меньшей мере, существенно уменьшены вышеупомянутые проблемы, ограничения и недостатки, связанные с обычным землеройным зубом и другими соединительными устройствами оборудования для перемещения материала общего типа, описанными выше.
Согласно изобретению создано устройство для съемного соединения сменного изнашивающегося элемента с участком опорной конструкцией, расположенным в области внутреннего кармана изнашивающегося элемента, причем изнашивающийся элемент и участок опорной конструкции имеют в общем выравниваемые по одной линии соединительные отверстия, указанное устройство содержит удлиненный, по существу плоский соединительный элемент, вставляемый в выровненные по одной линии соединительные отверстия и имеющий первый и второй концы, расположенные вдоль первой оси на расстоянии друг от друга, участок наружной периферийной поверхности, продольно проходящий между первым и вторым концами параллельно первой оси и описывающий эту ось, отверстие, продольно проходящее внутрь через первый конец вдоль второй оси, поперечной к первой оси, область упорных выемок, проходящую радиально наружу от внутренней боковой поверхности указанного отверстия, и блокировочную конструкцию, обеспечивающую разъемное удерживание соединительного элемента в соединительных отверстиях.
Соединительный элемент может иметь, по меньшей мере, вдоль большей части его длины, поперечное сечение, удлиненное в направлении, поперечном первой оси. Удлиненное поперечное сечение соединительного элемента может иметь суженную, по существу, клиновидную конфигурацию.
Первый конец может иметь расположенную по оси область с участком поверхности, проходящим поперечно первой оси, и отверстие может продольно проходить внутрь через участок поверхности, расположенный по оси области. Указанной областью может являться угловая область первого конца, имеющая выемки.
Соединительный элемент может иметь продольно проходящую наружную боковую кромку, и расположенная по оси область может проходить вбок и внутрь от наружной боковой кромки.
Область упорных выемок может включать расположенные по окружности на расстоянии друг от друга первую и вторую упорные выемки, проходящие радиально наружу от поверхности внутренней стороны указанного отверстия. Первая и вторая упорные выемки могут быть выровнены по одной линии друг с другом в направлении, параллельном первой оси.
Блокировочная конструкция может содержать блокировочный элемент, имеющий цилиндрический корпус, соосно расположенный в указанном отверстии для поворота относительно соединительного элемента между позициями замыкания и размыкания и имеющий наружный концевой участок, расположенный снаружи указанного отверстия и имеющий поперечную крепежную лапку, выступающую наружу.
Корпус может не иметь действующей на него результирующей силы ни в одной из позиций замыкания и размыкания.
Наружный концевой участок корпуса может иметь приводную конструкцию на нем, содействующую управляемому повороту корпуса относительно соединительного элемента между позициями замыкания и размыкания.
Крепежная лапка в позиции замыкания может выступать наружу за участок наружной периферийной поверхности соединительного элемента в направлении, поперечном первой оси, и позиция размыкания может не выступать значительно наружу за участок наружной периферийной поверхности соединительного элемента в направлении, поперечном первой оси.
Устройство может дополнительно содержать выемку, проходящую вбок в участок наружной боковой поверхности корпуса блокировочного элемента, и упорный элемент, опирающийся на корпус и упруго смещенный, чтобы выступать наружу через выемку, и область упорных выемок соединительного элемента включают упорную выемку, в которую упруго защелкивается упорный элемент при повороте блокировочного элемента в позицию замыкания, чтобы разъемным образом удерживать блокировочный элемент в позиции замыкания. При расположении блокировочного элемента в позиции замыкания упорный элемент и упорная выемка способны взаимодействовать для предотвращения значительного перемещения блокировочного элемента относительно соединительного элемента параллельно первой оси.
Устройство может дополнительно содержать выемку, проходящую вбок в участок наружной боковой поверхности корпуса блокировочного элемента, и упорный элемент, опирающийся на корпус и упруго смещенный, чтобы выступать наружу через выемку в нем, и упруго вдавливаемый в выемку, область упорных выемок в соединительном элементе включает расположенные по окружности на расстоянии друг от друга первую и вторую упорные выемки, проходящие радиально наружу от внутренней боковой поверхности отверстия в соединительном отверстии, упорный элемент упруго вставленный в первую и вторую упорные выемки, чтобы разъемным образом удерживать блокировочный элемент от поворота относительно соединительного элемента, когда блокировочный элемент поворачивают, соответственно, в позиции замыкания и размыкания.
Первая и вторая упорные выемки могут соответствующим образом взаимодействовать с упорным элементом для предотвращения значительного перемещения блокировочного элемента относительно соединительного элемента параллельно первой оси при расположении блокировочного элемента в позициях замыкания и размыкания.
Устройство может дополнительно содержать кольцевой упругий уплотнительный элемент, соосно поддерживаемый корпусом блокировочного элемента между областью упорных выемок и первым концом соединительного элемента и герметично сцепляющийся с внутренней боковой поверхностью указанного отверстия.
Согласно изобретению создан также сменный изнашивающийся элемент, содержащий передний конец, задний конец, расположенный на расстоянии от переднего конца вдоль первой оси, область кармана, проходящую вперед через задний конец, первый и второй противоположные участки боковых стенок, частично ограничивающие карман, и выровненные по одной линии первое и второе соединительные отверстия, расположенные на расстоянии друг от друга вдоль второй оси, поперечной первой оси, и соответствующим образом проходящие внутрь через первый и второй участки боковых стенок в область кармана, причем участок второй боковой стенки проходит во второе соединительное отверстие таким образом, что уменьшает площадь его сечения относительно площади сечения первого соединительного отверстия и смещает наружный по оси участок второго соединительного отверстия относительно второй оси, причем участок второй боковой стенки дополнительно имеет обращенную внутрь опорную поверхность, поперечную второй оси.
Опорная поверхность может быть образована выемкой во внутренней боковой поверхности в участке второй боковой стенки.
Элемент может дополнительно содержать выемку, образованную во внутренней боковой поверхности первого соединительного отверстия. Выемка может иметь открытую сторону, обращенную к области кармана.
Элемент может быть выполнен в виде наконечника зуба.
Согласно изобретению создан сменный наконечник зуба, содержащий передний конец, задний конец, расположенный на расстоянии от переднего конца вдоль первой оси, область кармана, проходящую через задний конец, участки первой и второй противоположных боковых стенок, частично ограничивающие карман, и выровненные по одной линии первое и второе соединительные отверстия, расположенные на расстоянии друг от друга вдоль второй оси, поперечной первой оси, и соответствующим образом проходящие внутрь через участки первой и второй боковых стенок в область кармана, причем участок второй боковой стенки проходит во второе соединительное отверстие таким образом, что уменьшает площадь его поперечного сечения относительно площади поперечного сечения первого соединительного отверстия, и дополнительно имеет обращенную внутрь опорную поверхность, поперечную второй оси, при этом наконечник зуба имеет изогнутый участок задней концевой поверхности, через который область кармана проходит вперед, причем первый и второй участки противоположных боковых стенок заканчиваются сзади у изогнутой задней концевой поверхности, и участки третьей и четвертой боковых стенок, которые поперечны участкам первой и второй противоположных боковых стенок и проходят назад, за участок изогнутой задней концевой поверхности.
Согласно изобретению создано устройство для перемещения материала, содержащее опорную конструкцию, имеющую передний участок, проходящий вперед вдоль первой оси и имеющий соединительное отверстие, проходящие сквозь него вдоль второй оси, перпендикулярной к первой оси, сменный изнашивающийся элемент, телескопически надвинутый задней стороной на передний участок и имеющий пару противоположных первого и второго соединительных отверстий боковых стенок, выровненных по одной линии с соединительным отверстием переднего участка, и соединительный узел, разъемным образом удерживающий изнашивающийся элемент на переднем участке и имеющий удлиненный соединительный элемент, продольно проходящий через соединительное отверстие переднего участка и первое, и второе соединительные отверстия изнашивающегося элемента и съемным образом расположенный в них и имеющий первый и второй концевые участки, соответствующим образом расположенные в первом и втором соединительных отверстиях изнашивающегося элемента и блокирующие удаление изнашивающегося элемента из переднего участка опорной конструкции, причем соединительный элемент имеет участок наружной периферийной поверхности, продольно проходящий между первым и вторым концевыми участками, параллельный второй оси и описывающий ее, блокировочный элемент, с возможностью поворота поддерживаемый первым концевым участком соединительного элемента, первую опорную поверхность, расположенную во внутренней части устройства, проходящую поперечно ко второй оси и блокирующую прохождение блокировочного элемента, и, следовательно, соединительного элемента, наружу через первое соединительное отверстие изнашивающегося элемента, и вторую опорную поверхность, расположенную во внутренней части устройства, проходящую поперечно ко второй оси и блокирующую прохождение соединительного элемента наружу через второе соединительное отверстие изнашивающегося элемента.
Опорной конструкцией может являться переходной элемент, передним участком опорной конструкции является переходной выступ и изнашивающимся элементом является сменный наконечник зуба.
Соединительный элемент может иметь, по меньшей мере, вдоль большей части его длины поперечное сечение, удлиненное в направлении, поперечном второй оси и параллельном первой оси. Удлиненное поперечное сечение может иметь суженную, по существу, клиновидную конфигурацию.
Блокировочный элемент может иметь цилиндрический корпус с возможностью вращения расположенный в отверстии, проходящем по оси внутрь через первый концевой участок соединительного элемента, и поперечный блокировочный участок, прикрепленный к наружному концевому участку корпуса, находящемуся за пределами соединительного элемента, причем при расположении блокировочного элемента в позиции замыкания блокировочный участок выступает наружу за участок наружной периферийной поверхности соединительного элемента в направлении, поперечном к второй оси, и расположен напротив первой опорной поверхности для предотвращения прохождения соединительного элемента наружу через первое соединительное отверстие изнашивающегося элемента, блокировочный элемент имеет возможность поворота из позиции замыкания в позицию размыкания, в которой блокировочный участок не выступает значительно наружу за участок наружной периферийной поверхности соединительного элемента в указанном направлении, и, таким образом, позволяет извлекать соединительный элемент наружу через первое соединительное отверстие изнашивающегося элемента.
Корпус блокировочного элемента может не иметь действующей на него осевой силы ни в одной из позиций замыкания и размыкания.
Первый концевой участок соединительного элемента может иметь продольно расположенную область с участком поверхности, поперечным ко второй оси, и указанное отверстие проходит внутрь через участок поверхности продольно расположенной области и параллельно второй оси.
Участок поверхности продольно расположенной области может представлять собой содержащую выемки угловую область первого концевого участка соединительного элемента.
Соединительный элемент может иметь продольно проходящую наружную боковую кромку, и продольно расположенная область проходит внутрь от наружной боковой кромки.
Устройство может дополнительно содержать взаимодействующие упорные конструкции, расположенные на соединительном элементе и корпусе блокировочного элемента и разъемным образом удерживающие блокировочный элемент в выбранной одной из его позиций замыкания или размыкания.
Взаимодействующие упорные конструкции могут включать область упорных выемок, проходящую радиально наружу от поверхности внутренней стороны отверстия, и упруго опирающийся упорный элемент, поддерживаемый корпусом блокировочного элемента и оперативно связанный с областью упорных выемок.
Область упорных выемок может включать расположенные по окружности на расстоянии друг от друга первую и вторую упорные выемки, проходящие радиально наружу от внутренней боковой поверхности указанного отверстия, и упорный элемент расположен в первой упорной выемке, когда блокировочный элемент находится в позиции замыкания, и размещен во второй упорной выемке, когда блокировочный элемент находится в позиции размыкания.
Взаимодействующие упорные конструкции могут быть способны предотвращать значительное перемещение блокировочного элемента относительно соединительного элемента параллельно второй оси при расположении блокировочного элемента в позициях замыкания и размыкания.
Первая и вторая упорные выемки могут быть способны соответствующим образом взаимодействовать с упорным элементом для предотвращения значительного перемещения блокировочного элемента относительно соединительного элемента параллельно второй оси при расположении блокировочного элемента в позициях замыкания и размыкания.
Устройство может дополнительно содержать кольцевой упругий уплотнительный элемент, соосно поддерживаемый корпусом блокировочного элемента между областью упорных выемок и первым концевым участком соединительного элемента и герметично сцепляющийся с внутренней боковой поверхностью указанного отверстия.
Опорная конструкция может иметь базовый участок, имеющий изогнутую переднюю поверхность, от которой передний участок выступает вперед, и изнашивающийся элемент имеет изогнутый участок задней концевой поверхности, имеющий возможность комплементарного сцепления с изогнутой передней поверхностью базового участка, и через который область кармана проходит вперед, причем область кармана комплементарно вмещает передний участок, при этом изнашивающийся элемент имеет участки первой и второй противоположных боковых стенок, через которые соответствующим образом проходят первое и второе соединительные отверстия изнашивающегося элемента, и участки третьей и четвертой противоположных боковых стенок, поперечные участкам первой и второй противоположных боковых стенок и проходящие назад за изогнутый участок задней концевой поверхности изнашивающегося элемента.
Передняя поверхность базового участка может быть выпуклой, а задняя концевая поверхность изнашивающегося элемента может быть вогнутой.
Опорной конструкцией может являться землеройный переходной элемент, передним участком опорной конструкции может являться переходной выступ и изнашивающимся элементом может являться сменный наконечник землеройного зуба.
Первое соединительное отверстие изнашивающегося элемента может иметь проходящую по окружности канавку, вмещающую блокировочный участок и образующую первую опорную поверхность.
Второй опорной поверхностью может быть поверхность внутренней боковой стенки изнашивающегося элемента, обращенной к поверхности второго концевого участка соединительного элемента, поперечного ко второй оси.
Площадь поперечного сечения второго соединительного отверстия изнашивающегося элемента может быть уменьшена относительно площади поперечного сечения первого соединительного отверстия изнашивающегося элемента участком боковой стенки изнашивающегося элемента, на котором расположена вторая опорная поверхность. Участок боковой стенки изнашивающегося элемента может иметь область внутренней боковой выемки, на которой расположена вторая опорная поверхность.
Согласно изобретению создан сменный изнашивающийся элемент, содержащий передний конец, задний конец, расположенный на расстоянии от переднего конца вдоль первой оси, область кармана, проходящую вперед через задний конец, участки первой и второй противоположных стенок, частично ограничивающие область кармана, и выровненные по одной линии первое и второе соединительные отверстия, расположенные на расстоянии друг от друга вдоль второй оси, поперечной к первой оси, и соответствующим образом проходящие внутрь через участки первой и второй боковых стенок в область кармана, причем первое соединительное отверстие имеет опорную выемку, образованную в его внутренней боковой поверхности, при этом изнашивающийся элемент имеет изогнутый участок задней концевой поверхности, через который область кармана проходит вперед, участки первой и второй противоположных боковых стенок заканчиваются сзади у изогнутой задней концевой поверхности, участки третьей и четвертой противоположных стенок, поперечные участкам первой и второй противоположных боковых стенок и проходящие назад, за участок изогнутой задней концевой поверхности.
Опорная выемка может иметь открытую сторону, обращенную к области кармана.
Элемент может выполнен в виде наконечника зуба.
Согласно изобретению создан сменный изнашивающийся элемент, содержащий передний конец, задний конец, расположенный на расстоянии от переднего конца вдоль первой оси, область кармана, проходящую вперед через задний конец, участки первой и второй противоположных боковых стенок, частично ограничивающие карман, и выровненные по одной линии первое и второе соединительные отверстия, расположенные на расстоянии друг от друга вдоль второй оси, поперечной к первой оси и соответствующим образом проходящие внутрь через участки первой и второй противоположных боковых стенок в область кармана, причем участок второй боковой стенки проходит в соединительное отверстие, уменьшая площадь его поперечного сечения относительно площади поперечного сечения первого соединительного отверстия, и дополнительно имеет обращенную внутрь опорную поверхность, поперечную ко второй оси, при этом изнашивающийся элемент имеет участок задней концевой поверхности, изогнутый вокруг оси, параллельной второй оси, и через который область кармана проходит вперед, причем участки первой и второй противоположных боковых стенок заканчиваются сзади у изогнутой задней концевой поверхности.
Согласно изобретению создан также сменный изнашивающийся элемент, содержащий передний конец, задний конец, расположенный на расстоянии от переднего конца вдоль первой оси, область кармана, проходящую вперед через задний конец, участки первой и второй противоположных боковых стенок, частично ограничивающие область кармана, и выровненные по одной линии первое и второе соединительные отверстия, расположенные на расстоянии друг от друга вдоль второй оси, поперечной к первой оси и соответствующим образом проходящие внутрь через участки первой и второй противоположных боковых стенок в область кармана, причем первое соединительное отверстие имеет опорную выемку, образованную в его внутренней боковой поверхности, при этом изнашивающийся элемент имеет участок задней концевой поверхности, изогнутый вокруг оси, параллельной второй оси, и через который область кармана проходит вперед, причем участки первой и второй противоположных боковых стенок заканчиваются сзади у изогнутой задней концевой поверхности.
Согласно изобретению создано устройство для перемещения материала, содержащее опорную конструкцию, имеющую передний участок, проходящий вперед вдоль первой оси и имеющий соединительное отверстие, проходящее сквозь него вдоль второй оси, поперечной к первой оси, сменный изнашивающийся элемент, телескопически надвинутый задней стороной на передний участок опорной конструкции и имеющий в противоположных первой и второй боковых стенках пару соединительных отверстий, выровненных по одной линии с соединительным отверстием в переднем участке, и удлиненный, по существу, плоский соединительный элемент, съемным образом вмещаемый в выровненных соединительных отверстиях, удерживающий изнашивающийся элемент на опорной конструкции и имеющий первый и второй концы, разнесенные вдоль первой оси, участок наружной периферийной поверхности, продольно проходящий между первым и вторым концами параллельный первой оси и описывающей отверстие, продольно проходящее внутрь через первый конец вдоль второй оси, параллельной первой оси, область упорных выемок, проходящую радиально наружу от внутренней боковой поверхности указанного отверстия, и блокировочную конструкцию, разъемным образом удерживающую соединительный элемент в выровненных по одной линии соединительных отверстиях.
Далее приводится более подробное описание вариантов выполнения изобретения со ссылками на прилагаемые чертежи, на которых изображено следующее.
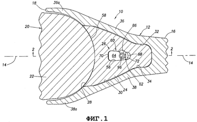
Фиг.1 изображает продольно сокращенный, горизонтально направленный вид в разрезе, узел землеройного наконечника зуба и переходный элемент, содержащие специально разработанную соединительную конструкцию с возможностью блокировки вращения, осуществляющую согласно настоящему изобретению.
Фиг.2 – сечение узла по линии 2-2 на фиг.1.
Фиг.3 – вид сверху соединительной конструкции с ее вращающимся блокировочным участком, находящимся в своей позиции замыкания, показанной на фиг.2.
Фиг.4 – вид сверху соединительной конструкции с ее вращающимся блокировочным участком в его позиции размыкания.
Фиг.5 – схематичный вид в увеличенном масштабе сечения соединительной конструкции по линии 5-5 на фиг.2.
Как показано на фиг.1 и 2, в представленном варианте осуществления изобретения узел 10 наконечника землеройного зуба/переходного элемента содержит изнашивающийся элемент в виде удлиненного пустотелого сменного наконечника 12 зуба, проходящего в направлении спереди назад вдоль продольной оси 14 и имеющего передний и задний участки 16 и 18, опорную конструкцию в виде переходного элемента 20, имеющего базу 22, из которой выдается вперед выступающий участок 24 меньшего сечения, и специально разработанный соединительный узел 26, обеспечивающей блокировку вращения, применяемый для разъемного удерживания наконечника 12 зуба на переходном выступе 24, как описано далее.
Наконечник 12 зуба и переходной элемент 20 имеют конфигурации, похожие на наконечник зуба и связанный с ним переходной элемент, проиллюстрированные и описанные в патенте США №6564482, переданным тому же правопреемнику, что и правопреемник настоящего изобретения. Наконечник 12 зуба и переходной элемент 20 могут иметь широкое многообразие альтернативных форм без отступления от принципов настоящего изобретения. Кроме того, в то время как настоящее изобретение проиллюстрировано и описано в этом документе как применяемое совместно с переходным элементом в качестве опорной конструкции и наконечником зуба в качестве изнашивающегося элемента, поддерживаемого опорной конструкцией, специалистам в данной области техники ясно, что разные типы опорных конструкций и присоединенных изнашивающихся элементов могут быть использованы без отступления от принципов настоящего изобретения. Как пример, но не в качестве ограничения, переходной элемент 20 может быть промежуточным переходным элементом, присоединенным с его заднего конца к базовому переходному элементу, а наконечник 12 зуба может быть промежуточным переходным элементом, имеющим передний концевой участок, на который был установлен сменный наконечник зуба.
Как показано на фиг.1 и 2, наконечник 12 зуба имеет вогнутый участок 28 поверхности заднего конца, через который карман 30 проходит вперед во внутреннюю часть наконечника 12 зуба. Как лучше всего видно на фиг.1, от своего переднего входа в наконечник 12 зуба через изогнутый участок 28 поверхности заднего конца карман 30 сужается вперед и вертикально внутрь и имеет уменьшенное сечение, стабилизирующее передний концевой участок с обычно горизонтальными противоположными участками 32 и 34 поверхностей верхней и нижней сторон.
Карман 30 образует на наконечнике 12 зуба пару противоположных боковых стенок 36 и 38 – верхней и нижней – и пару противоположных вертикальных боковых стенок 40 и 42, которые заканчиваются сзади у изогнутой поверхности 28 заднего конца наконечника 12 зуба. Назад и вертикально расходящиеся задние концевые участки 36а и 38а верхней и нижней стенок 36, 38 наконечника зуба проходят назад за изогнутую поверхность 28 заднего конца наконечника зуба. Выровненные по одной линии соединительные отверстия 44, 46 соответственно проходят внутрь сквозь вертикальные боковые стенки 40 и 42 наконечника зуба в карман 30 и разнесены вдоль оси 48, поперечной оси 14. Как лучше проиллюстрировано на фиг.2, участок 42а боковой стенки 42 проходит назад через соединительное отверстие 46 таким образом, что уменьшает площадь его сечения по сравнению с площадью сечения другого соединительного отверстия 44.
Для целей, описанных далее в этом документе, участок 42а боковой стенки (фиг.2) имеет внутреннюю боковую выемку, которая образует на участке 42а боковой стенки внутреннюю боковую опорную поверхность 50, поперечную оси 48 и обращенную к области 30 кармана. Дополнительно, что также показано на фиг.2, внутренняя боковая поверхность отверстия 44 боковой стенки имеет проходящую по окружности выемку 52, образованную внутрь от поверхности наружной стороны боковой стенки 40. Выемка 52 открывается внутрь, в карман 30, и имеет (на ее верхней стороне, как видно на фиг.2) опорную поверхность 54, поперечную оси 48.
Переходной выступ 24 комплементарным и съемным образом вмещается в карман 30 наконечника зуба и имеет соединительное отверстие 56, проходящее сквозь него параллельно оси 48 и выровненное по одной линии с соединительными отверстиями 44, 46 наконечника зуба. Переходная база 22 имеет выпуклую переднюю поверхность 58, которая ограничивает задний конец переходного выступа 24, и с ней комплементарно и с возможностью скольжения сцепляется вогнутый участок 28 задней концевой поверхности наконечника зуба 12. С переходным выступом 24, съемным образом вмещаемым в карман 30 наконечника зуба, как проиллюстрировано на фиг.1 и 2, задние концевые участки 36а, 38а наконечника 12 зуба оградительным образом перекрывают участки поверхностей верхней и нижней сторон переходной базы 22.
Как показано на фиг.1-4, соединительный узел 26 включает удлиненный плоский соединительный элемент 60 и блокировочный элемент 62. Соединительный элемент 60 имеет противоположные концы 64 и 66, сужающееся сечение по его длине, которое удлинено в направлении, параллельном оси 14, противоположные передние и задние продольные боковые кромки 68 и 70 и области угловых выемок, проходящие в сторону и внутрь от боковых кромок 68 и 70, и образующие противоположные концевые угловые участки продольно встроенных концевых поверхностей 72 и 74 соединительного элемента 60. Наружная проходящая в продольном направлении периферийная боковая поверхность 76 плоского соединительного элемента 60 описывает продольную ось соединительного элемента и параллельна ей, в противоположность тому, чтобы сужаться по отношению к ней.
Круглый канал или отверстие 78 проходит продольно внутрь сквозь встроенную концевую поверхность 72 соединительного элемента 60 и имеет область упорных выемок, образованную в ее внутренней боковой поверхности. Как лучше всего проиллюстрировано на фиг.5, эта область упорных выемок предпочтительно содержит две упорные выемки 80, 82, разделенные по окружности углом в 90° и продольно выровненные в отверстии 78.
Блокировочный элемент 62 имеет удлиненный цилиндрический корпус 84, нижний продольный участок которого (как видно на фиг.2) соосно и с возможностью вращения вмещается внутри отверстия 78 соединительного элемента, причем верхний концевой участок корпуса 84 выступает наружу из участка 72 встроенной концевой поверхности соединительного элемента. Поперечная крепежная лапка 86 прикреплена к выставленному наружу концу корпуса 84 блокировочного элемента, и нижний концевой участок корпуса 84 внутри отверстия 78 имеет боковую упорную выемку 88, проходящую радиально внутрь через его наружную боковую поверхность. Как схематично изображено в виде разреза на фиг.5, упорная конструкция 90 вмещается в упорной выемке 88 и содержит радиально наружный металлический упорный элемент 92, прикрепленный к эластомерному радиально внутреннему упорному участку 94. Упорный элемент 92 упруго смещен, чтобы выступать наружу из выемки 88, но его можно радиально втолкнуть в выемку 88 против упругого сопротивления эластомерного участка 94.
Некруглая приводная конструкция 96 (например, участок шестигранной или прямоугольной головки) выступает вверх из крепежной лапки 86 и может быть зацеплена подходящим ключом (не показан), применяемым для принудительного поворота блокировочного элемента 62 между позицией замыкания, в которой крепежная лапка 86 выступает вбок и наружу за наружную периферийную боковую поверхность 76 соединительного элемента 60, как показано на фиг.1-3 и позицией размыкания, в которой крепежная лапка 86 не выступает вбок и наружу за наружную периферийную боковую поверхность 76 соединительного элемента 60, как проиллюстрировано на фиг.4. Приводная конструкция 96 может, конечно, при желании иметь множество альтернативных конфигураций, таких как некруглый участок с выемками, область с пазами и т.п.
При повороте блокировочного элемента 62 в его позицию замыкания упорный элемент 92 защелкивается во внутренней упорной выемке 80 соединительного элемента, таким образом приводя эластомерный упорный участок 94 в, по существу, ослабленную ориентацию и разъемным образом удерживая блокировочный элемент 62 в его позиции замыкания. При последующем повороте блокировочного элемента 62 из его позиции замыкания в его позицию размыкания упорный элемент 92 вдавливается в упорную выемку 88 блокировочного элемента, а затем защелкивается наружу во внутреннюю упорную выемку 82 соединительного элемента, таким образом приводя эластомерный упорный участок 94 обратно в, по существу, ослабленное состояние и разъемным образом удерживая блокировочный элемент 62 в его позиции размыкания.
Таким же является перемещение упорного элемента 92, когда блокировочный элемент 62 затем поворачивают назад в его позицию замыкания из его позиции размыкания. Кольцевой упругий уплотнительный элемент 98 (фиг.2) опирается на корпус 84 блокировочного элемента и соосно огибает его, между крепежной лапкой 86 и упорной выемкой 88 блокировочного элемента, и с возможностью скольжения сцепляется с внутренней боковой поверхностью отверстия 78 соединительного элемента, чтобы задерживать проникновение грязи и других абразивных материалов во внутреннюю часть соединительного элемента 60 во время использования переходного элемента и зуба в сборе 10.
Как лучше всего видно на фиг.2, вертикальные высоты внутренних упорных выемок 80, 82 (как видно на фиг.2) соединительного элемента, по существу, идентичны высоте упорного элемента 92. Соответственно, взаимодействие между упорным элементом 92 и этими упорным выемками 80, 82, по существу, предотвращает относительное продольное перемещение между соединительным элементом 60 и блокировочным элементом 62, когда блокировочный элемент 62 находится в одной из своих позиций – замыкания или размыкания.
С наконечником 12 зуба, телескопически надвинутым задней стороной на переходной выступ 24, как проиллюстрировано на фиг.2, соединительный узел 26 оперативно устанавливают, сначала поворачивая его блокировочный элемент 62 в позицию размыкания, а затем вставляя соединительный узел 26, в первую очередь соединительный конец 66, вниз (как показано на фиг.2) через выровненные по одной линии соединительные отверстия 44, 56, 46, причем передняя кромка 68 соединительного элемента 60 обращена вперед, так что соединительный элемент 60 комплементарно вмещается в соединительное отверстие 56 выступа, и упорная концевая поверхность 74 соединительного элемента контактирует с упорной поверхностью 50 наконечника зуба. В этой вставленной ориентации соединительного узла 26 противоположные концы 64, 66 соединительного элемента 60 соответственно проходят в соединительные отверстия 44, 46 наконечника зуба, чтобы, таким образом, заблокировать удаление установленного наконечника 12 зуба из переходного выступа 24 посредством перемещения вперед.
Затем вставленный соединительный узел 26 разъемным образом запирают в этой блокирующей ориентации простым поворотом блокировочного элемента 62 из его позиции размыкания в его позицию замыкания, заставляя крепежную лапку 86 войти в выемку 62 наконечника зуба и обратиться наружу, к связанной с ней упорной поверхности 54, что можно лучше всего увидеть на фиг.2. Таким образом, взаимодействующие упорные поверхности 50, 74, примыкающие к концу 66 соединительного элемента, мешают соединительному узлу 26 проходить наружу через соединительное отверстие 46 наконечника зуба, а взаимодействующие упорные поверхности 54, 72 предотвращают прохождение соединительного узла наружу через соединительное отверстие 44 наконечника зуба.
Проиллюстрированная конфигурация упорной поверхности во внутренней части узла 10 наконечника зуба/переходного элемента, а именно комплекты 50, 74 и 54, 72 упорных поверхностей, могут быть изменены множеством способов без отступления от принципов настоящего изобретения. Например, но не в качестве ограничения, упорная поверхность 50 наконечника зуба может быть перемещена внутрь переходного выступа 24 (а соответствующая упорная поверхность соединительного элемента, соответственно, перемещена таким образом, чтобы быть обращенной к этой упорной поверхности переходного выступа). В качестве другого примера, но также не в качестве ограничения, нижний комплект 50, 74 упорных поверхностей (как видно на фиг.2) можно устранить, а выемку 52 наконечника зуба модифицировать таким образом, чтобы она имела две противостоящие упорные поверхности, которые обращены к противоположным сторонам крепежной лапки 86 в ее позиции замыкания и служат для предотвращения продольного перемещения соединительного узла 26 наружу через одно из соединительных отверстий 44, 46 наконечника зуба.
Так как наружная периферийная боковая поверхность 76 соединительного элемента 60 параллельна оси 48, рабочие нагрузки на узел 10 наконечника зуба/переходного элемента не вызывают существенных продольно направленных нагрузок на соединительный элемент 60, которые могли бы стремиться выбросить его из соединительных отверстий 44, 46, 56 и вызывать существенные нагрузки на блокировочный элемент 62. Кроме того, соединительный узел 26 можно установить без необходимости забивания его в соединительные отверстия. Поэтому два или более сборочных узла 10 можно поместить ближе друг к другу из-за нехватки требуемого пространства «для забивания». Также, так как упорная конструкция в соединительном узле 26 существенно препятствует относительному продольному перемещению между соединительным элементом 60 и блокировочным элементом 62 во время эксплуатации узла 10, проникновение грязи и других абразивных материалов во внутреннюю часть соединительного элемента 60 и связанный с этим износ внутреннего упругого уплотнительного элемента 98 существенно уменьшаются. Дополнительно, так как в позиции размыкания блокировочного элемента упругий участок упорной конструкции блокировочного элемента находится, по существу, в ослабленном состоянии, нежелательная «деформация сжатия» в этом упругом упорном участке, являющаяся результатом длительных периодов хранения соединительного узла с блокировочным элементом в его позиции размыкания, по существу, устранена.
Предшествовавшее подробное описание должно быть четко истолковано как данное только в качестве иллюстрации и примера, причем объем и сущность настоящего изобретения ограничены исключительно приложенной формулой изобретения.
Формула изобретения
1. Устройство для съемного соединения сменного изнашивающегося элемента с участком опорной конструкции, расположенным в области внутреннего кармана изнашивающегося элемента, причем изнашивающийся элемент и участок опорной конструкции имеют в общем выравниваемые по одной линии соединительные отверстия, при этом устройство содержит удлиненный, по существу, плоский соединительный элемент, вставляемый в выровненные по одной линии соединительные отверстия и имеющий первый и второй концы, расположенные вдоль первой оси на расстоянии друг от друга, участок наружной периферийной поверхности, продольно проходящий между первым и вторым концами параллельно первой оси и описывающий эту ось, отверстие, продольно проходящее внутрь через первый конец вдоль второй оси, поперечной первой оси, область упорных выемок, проходящую радиально наружу от внутренней боковой поверхности указанного отверстия, и блокировочную конструкцию, обеспечивающую разъемное удерживание соединительного элемента в соединительных отверстиях.
2. Устройство по п.1, в котором указанный соединительный элемент имеет, по меньшей мере, вдоль большей части его длины поперечное сечение, удлиненное в направлении, поперечном первой оси.
3. Устройство по п.2, в котором удлиненное поперечное сечение соединительного элемента имеет суженную, по существу, клиновидную конфигурацию.
4. Устройство по п.1, в котором первый конец имеет расположенную по оси область с участком поверхности, проходящим поперечно первой оси, и отверстие продольно проходит внутрь через участок поверхности, расположенный по оси области.
5. Устройство по п.4, в котором расположенной по оси областью является угловая область первого конца, имеющая выемки.
6. Устройство по п.4, в котором соединительный элемент имеет продольно проходящую наружную боковую кромку и расположенная по оси область проходит вбок и внутрь от наружной боковой кромки.
7. Устройство по п.1, в котором область упорных выемок включает расположенные по окружности на расстоянии друг от друга первую и вторую упорные выемки, проходящие радиально наружу от поверхности внутренней стороны указанного отверстия.
8. Устройство по п.7, в котором первая и вторая упорные выемки выровнены по одной линии друг с другом в направлении, параллельном первой оси.
9. Устройство по п.1, в котором блокировочная конструкция содержит блокировочный элемент, имеющий цилиндрический корпус, соосно расположенный в указанном отверстии для поворота относительно соединительного элемента между позициями замыкания и размыкания и имеющий наружный концевой участок, расположенный снаружи указанного отверстия и имеющий поперечную крепежную лапку, выступающую наружу.
10. Устройство по п.9, в котором корпус не имеет действующей на него результирующей силы ни в одной из указанных позиций замыкания и размыкания.
11. Устройство по п.9, в котором наружный концевой участок корпуса имеет приводную конструкцию на нем, содействующую управляемому повороту корпуса относительно соединительного элемента между позициями замыкания и размыкания.
12. Устройство по п.9, в котором крепежная лапка в позиции замыкания выступает наружу за участок наружной периферийной поверхности соединительного элемента в направлении, поперечном первой оси, и позиция размыкания не выступает значительно наружу за участок наружной периферийной поверхности соединительного элемента в направлении, поперечном первой оси.
13. Устройство по п.12, дополнительно содержащее выемку, проходящую вбок в участок наружной боковой поверхности корпуса блокировочного элемента, и упорный элемент, опирающийся на корпус и упругосмещенный, чтобы выступать наружу через выемку, и область упорных выемок соединительного элемента включает упорную выемку, в которую упруго защелкивается упорный элемент при повороте блокировочного элемента в позицию замыкания, чтобы разъемным образом удерживать блокировочный элемент в позиции замыкания.
14. Устройство по п.13, в котором при расположении блокировочного элемента в позиции замыкания упорный элемент и упорная выемка взаимодействуют для предотвращения значительного перемещения блокировочного элемента относительно соединительного элемента параллельно первой оси.
15. Устройство по п.12, дополнительно содержащее выемку, проходящую вбок в участок наружной боковой поверхности корпуса блокировочного элемента, и упорный элемент, опирающийся на корпус и упругосмещенный, чтобы выступать наружу через выемку в нем, и упруговдавливаемый в выемку, область упорных выемок в соединительном элементе включает расположенные по окружности на расстоянии друг от друга первую и вторую упорные выемки, проходящие радиально наружу от внутренней боковой поверхности отверстия в соединительном отверстии, упорный элемент, упруговставленный в первую и вторую упорные выемки, чтобы разъемным образом удерживать блокировочный элемент от поворота относительно соединительного элемента, когда блокировочный элемент поворачивают соответственно в позиции замыкания и размыкания.
16. Устройство по п.15, в котором первая и вторая упорные выемки соответствующим образом взаимодействуют с упорным элементом для предотвращения значительного перемещения блокировочного элемента относительно соединительного элемента параллельно первой оси при расположении блокировочного элемента в позициях замыкания и размыкания.
17. Устройство по п.9, дополнительно содержащее кольцевой упругий уплотнительный элемент, соосно поддерживаемый корпусом блокировочного элемента между областью упорных выемок и первым концом указанного соединительного элемента и герметично сцепляющийся с внутренней боковой поверхностью указанного отверстия.
18. Сменный изнашивающийся элемент, содержащий передний конец, задний конец, расположенный на расстоянии от переднего конца вдоль первой оси, область кармана, проходящую вперед через задний конец, первый и второй противоположные участки боковых стенок, частично ограничивающие карман, и выровненные по одной линии первое и второе соединительные отверстия, расположенные на расстоянии друг от друга вдоль второй оси, поперечной первой оси, и соответствующим образом проходящие внутрь через первый и второй участки боковых стенок в область кармана, причем участок второй боковой стенки проходит во второе соединительное отверстие таким образом, что уменьшает площадь его сечения относительно площади сечения первого соединительного отверстия и смещает наружный по оси участок второго соединительного отверстия относительно второй оси, причем участок второй боковой стенки дополнительно имеет обращенную внутрь опорную поверхность, поперечную второй оси.
19. Элемент по п.18, в котором опорная поверхность образована выемкой во внутренней боковой поверхности в указанном участке второй боковой стенки.
20. Элемент по п.18, дополнительно содержащий выемку, образованную во внутренней боковой поверхности первого соединительного отверстия.
21. Элемент по п.20, в котором выемка имеет открытую сторону, обращенную к области кармана.
22. Элемент по п.18, который выполнен в виде наконечника зуба.
23. Сменный наконечник зуба, содержащий передний конец, задний конец, расположенный на расстоянии от переднего конца вдоль первой оси, область кармана, проходящую через задний конец, участки первой и второй противоположных боковых стенок, частично ограничивающие карман, и выровненные по одной линии первое и второе соединительные отверстия, расположенные на расстоянии друг от друга вдоль второй оси, поперечной первой оси, и соответствующим образом проходящие внутрь через участки первой и второй боковых стенок в область кармана, причем участок второй боковой стенки проходит во второе соединительное отверстие таким образом, что уменьшает площадь его поперечного сечения относительно площади поперечного сечения первого соединительного отверстия, и дополнительно имеет обращенную внутрь опорную поверхность, поперечную второй оси, при этом наконечник зуба имеет изогнутый участок задней концевой поверхности, через который область кармана проходит вперед, причем первый и второй участки противоположных боковых стенок заканчиваются сзади у изогнутой задней концевой поверхности, и участки третьей и четвертой боковых стенок, которые поперечны участкам первой и второй противоположных боковых стенок и проходят назад за участок изогнутой задней концевой поверхности.
24. Устройство для перемещения материала, содержащее опорную конструкцию, имеющую передний участок, проходящий вперед вдоль первой оси и имеющий соединительное отверстие, проходящие сквозь него вдоль второй оси, перпендикулярной первой оси, сменный изнашивающийся элемент, телескопически надвинутый задней стороной на передний участок и имеющий пару противоположных первого и второго соединительных отверстий боковых стенок, выровненных по одной линии с соединительным отверстием переднего участка, и соединительный узел, разъемным образом удерживающий изнашивающийся элемент на переднем участке и имеющий удлиненный соединительный элемент, продольно проходящий через соединительное отверстие переднего участка и первое и второе соединительные отверстия изнашивающегося элемента и съемным образом расположенный в них и имеющий первый и второй концевые участки, соответствующим образом расположенные в первом и втором соединительных отверстиях изнашивающегося элемента и блокирующие удаление изнашивающегося элемента из переднего участка опорной конструкции, причем соединительный элемент имеет участок наружной периферийной поверхности, продольно проходящий между первым и вторым концевыми участками, причем участок наружной периферийной поверхности параллелен второй оси и описывает ее, блокировочный элемент, с возможностью поворота поддерживаемый первым концевым участком соединительного элемента, первую опорную поверхность, расположенную во внутренней части устройства, проходящую поперечно ко второй оси и блокирующую прохождение блокировочного элемента и, следовательно, соединительного элемента наружу через первое соединительное отверстие изнашивающегося элемента, и вторую опорную поверхность, расположенную во внутренней части устройства, проходящую поперечно ко второй оси и блокирующую прохождение соединительного элемента наружу через второе соединительное отверстие изнашивающегося элемента.
25. Устройство по п.24, в котором опорной конструкцией является переходной элемент, передним участком опорной конструкции является переходной выступ и изнашивающимся элементом является сменный наконечник зуба.
26. Устройство по п.24, в котором соединительный элемент имеет, по меньшей мере, вдоль большей части его длины поперечное сечение, удлиненное в направлении, поперечном второй оси и параллельном первой оси.
27. Устройство по п.26, в котором удлиненное поперечное сечение имеет суженную, по существу, клиновидную конфигурацию.
28. Устройство по п.24, в котором блокировочный элемент имеет цилиндрический корпус, с возможностью вращения расположенный в отверстии, проходящем по оси внутрь через первый концевой участок соединительного элемента, и поперечный блокировочный участок, прикрепленный к наружному концевому участку корпуса, находящемуся за пределами соединительного элемента, причем при расположении блокировочного элемента в позиции замыкания блокировочный участок выступает наружу за участок наружной периферийной поверхности соединительного элемента в направлении, поперечном второй оси, и расположен напротив первой опорной поверхности для предотвращения прохождения соединительного элемента наружу через первое соединительное отверстие изнашивающегося элемента, блокировочный элемент имеет возможность поворота из позиции замыкания в позицию размыкания, в которой блокировочный участок не выступает значительно наружу за участок наружной периферийной поверхности соединительного элемента в указанном направлении и, таким образом, позволяет извлекать соединительный элемент наружу через первое соединительное отверстие изнашивающегося элемента.
29. Устройство по п.28, в котором корпус блокировочного элемента не имеет действующей на него осевой силы ни в одной из указанных позиций замыкания и размыкания.
30. Устройство по п.28, в котором первый концевой участок соединительного элемента имеет продольно расположенную область с участком поверхности, поперечным второй оси, и указанное отверстие проходит внутрь через участок поверхности продольно расположенной области и параллельно второй оси.
31. Устройство по п.30, в котором участок поверхности продольно расположенной области представляет собой содержащую выемки угловую область первого концевого участка соединительного элемента.
32.Устройство по п.30, в котором соединительный элемент имеет продольно проходящую наружную боковую кромку и продольно расположенная область проходит внутрь от наружной боковой кромки.
33. Устройство по п.28, дополнительно содержащее взаимодействующие упорные конструкции, расположенные на соединительном элементе и корпусе блокировочного элемента и разъемным образом удерживающие блокировочный элемент в выбранной одной из его позиций замыкания или размыкания.
34. Устройство по п.33, в котором взаимодействующие упорные конструкции включают область упорных выемок, проходящую радиально наружу от поверхности внутренней стороны отверстия, и упругоопирающийся упорный элемент, поддерживаемый корпусом блокировочного элемента и оперативно связанный с областью упорных выемок.
35. Устройство по п.34, в котором область упорных выемок включает расположенные по окружности на расстоянии друг от друга первую и вторую упорные выемки, проходящие радиально наружу от внутренней боковой поверхности указанного отверстия, и упорный элемент расположен в первой упорной выемке, когда блокировочный элемент находится в позиции замыкания, и размещен во второй упорной выемке, когда блокировочный элемент находится в позиции размыкания.
36. Устройство по п.34, в котором взаимодействующие упорные конструкции способны предотвращать значительное перемещение блокировочного элемента относительно соединительного элемента параллельно второй оси при расположении блокировочного элемента в позициях замыкания и размыкания.
37. Устройство по п.35, в котором первая и вторая упорные выемки способны соответствующим образом взаимодействовать с упорным элементом для предотвращения значительного перемещения блокировочного элемента относительно соединительного элемента параллельно второй оси при расположении блокировочного элемента в позициях замыкания и размыкания.
38. Устройство по п.34, дополнительно содержащее кольцевой упругий уплотнительный элемент, соосно поддерживаемый корпусом блокировочного элемента между областью упорных выемок и первым концевым участком соединительного элемента и герметично сцепляющийся с внутренней боковой поверхностью указанного отверстия.
39. Устройство по п.24, в котором опорная конструкция имеет базовый участок, имеющий изогнутую переднюю поверхность, от которой передний участок выступает вперед, и изнашивающийся элемент имеет изогнутый участок задней концевой поверхности, имеющий возможность комплементарного сцепления с изогнутой передней поверхностью базового участка, и через который область кармана проходит вперед, причем область кармана комплементарно вмещает передний участок, при этом изнашивающийся элемент имеет участки первой и второй противоположных боковых стенок, через которые соответствующим образом проходят первое и второе соединительные отверстия изнашивающегося элемента, и участки третьей и четвертой противоположных боковых стенок, поперечные участкам первой и второй противоположных боковых стенок и проходящие назад за изогнутый участок задней концевой поверхности изнашивающегося элемента.
40. Устройство по п.39, в котором передняя поверхность базового участка является выпуклой, а задняя концевая поверхность изнашивающегося элемента является вогнутой.
41. Устройство по п.39, в котором опорной конструкцией является землеройный переходной элемент, передним участком опорной конструкции является переходной выступ и изнашивающимся элементом является сменный наконечник землеройного зуба.
42. Устройство по п.28, в котором первое соединительное отверстие изнашивающегося элемента имеет проходящую по окружности канавку, вмещающую блокировочный участок и образующую первую опорную поверхность.
43. Устройство по п.24, в котором второй опорной поверхностью является поверхность внутренней боковой стенки изнашивающегося элемента, обращенной к поверхности второго концевого участка соединительного элемента, поперечного второй оси.
44. Устройство по п.24, в котором площадь поперечного сечения второго соединительного отверстия изнашивающегося элемента уменьшена относительно площади поперечного сечения первого соединительного отверстия изнашивающегося элемента участком боковой стенки изнашивающегося элемента, на котором расположена вторая опорная поверхность.
45. Устройство по п.44, в котором участок боковой стенки изнашивающегося элемента имеет область внутренней боковой выемки, на которой расположена вторая опорная поверхность.
46. Сменный изнашивающийся элемент, содержащий передний конец, задний конец, расположенный на расстоянии от переднего конца вдоль первой оси, область кармана, проходящую вперед через задний конец, участки первой и второй противоположных стенок, частично ограничивающие область кармана, и выровненные по одной линии первое и второе соединительные отверстия, расположенные на расстоянии друг от друга вдоль второй оси, поперечной первой оси, и соответствующим образом проходящие внутрь через участки первой и второй боковых стенок в область кармана, причем первое соединительное отверстие имеет опорную выемку, образованную в его внутренней боковой поверхности, при этом изнашивающийся элемент имеет изогнутый участок задней концевой поверхности, через который область кармана проходит вперед, участки первой и второй противоположных боковых стенок заканчиваются сзади у изогнутой задней концевой поверхности и участки третьей и четвертой противоположных стенок, поперечные участкам первой и второй противоположных боковых стенок и проходящие назад, за участок изогнутой задней концевой поверхности.
47. Элемент по п.46, в котором опорная выемка имеет открытую сторону, обращенную к области кармана.
48. Элемент по п.4б, который выполнен в виде наконечника зуба.
49. Сменный изнашивающийся элемент, содержащий передний конец, задний конец, расположенный на расстоянии от переднего конца вдоль первой оси, область кармана, проходящую вперед через задний конец, участки первой и второй противоположных боковых стенок, частично ограничивающие карман, и выровненные по одной линии первое и второе соединительные отверстия, расположенные на расстоянии друг от друга вдоль второй оси, поперечной первой оси, и соответствующим образом проходящие внутрь через участки первой и второй противоположных боковых стенок в область кармана, причем участок второй боковой стенки проходит в соединительное отверстие, уменьшая площадь его поперечного сечения относительно площади поперечного сечения первого соединительного отверстия, и дополнительно имеет обращенную внутрь опорную поверхность, поперечную второй оси, при этом изнашивающийся элемент имеет участок задней концевой поверхности, изогнутый вокруг оси, параллельной второй оси, и через который область кармана проходит вперед, причем участки первой и второй противоположных боковых стенок заканчиваются сзади у изогнутой задней концевой поверхности.
50. Сменный изнашивающийся элемент, содержащий передний конец, задний конец, расположенный на расстоянии от переднего конца вдоль первой оси, область кармана, проходящую вперед через задний конец, участки первой и второй противоположных боковых стенок, частично ограничивающие область кармана, и выровненные по одной линии первое и второе соединительные отверстия, расположенные на расстоянии друг от друга вдоль второй оси, поперечной первой оси, и соответствующим образом проходящие внутрь через участки первой и второй противоположных боковых стенок в область кармана, причем первое соединительное отверстие имеет опорную выемку, образованную в его внутренней боковой поверхности, при этом изнашивающийся элемент имеет участок задней концевой поверхности, изогнутый вокруг оси, параллельной второй оси, и через который область кармана проходит вперед, причем участки первой и второй противоположных боковых стенок заканчиваются сзади у изогнутой задней концевой поверхности.
51. Устройство для перемещения материала, содержащее опорную конструкцию, имеющую передний участок, проходящий вперед вдоль первой оси и имеющий соединительное отверстие, проходящее сквозь него вдоль второй оси, поперечной первой оси, сменный изнашивающийся элемент, телескопически надвинутый задней стороной на передний участок опорной конструкции и имеющий в противоположных первой и второй боковых стенках пару соединительных отверстий, выровненных по одной линии с соединительным отверстием в переднем участке, и удлиненный, по существу, плоский соединительный элемент, съемным образом вмещаемый в выровненных соединительных отверстиях, удерживающий изнашивающийся элемент на опорной конструкции и имеющий первый и второй концы, разнесенные вдоль первой оси, участок наружной периферийной поверхности, продольно проходящий между первым и вторым концами, параллельный первой оси и описывающий отверстие, продольно проходящее внутрь через первый конец вдоль второй оси, параллельной первой оси, область упорных выемок, проходящую радиально наружу от внутренней боковой поверхности указанного отверстия, и блокировочную конструкцию, разъемным образом удерживающую соединительный элемент в выровненных по одной линии соединительных отверстиях.
РИСУНКИ
|
|