|
|
(21), (22) Заявка: 2005129972/03, 26.09.2005
(24) Дата начала отсчета срока действия патента:
26.09.2005
(46) Опубликовано: 20.06.2007
(56) Список документов, цитированных в отчете о поиске:
SU 1673699 A1, 30.08.1991. SU 643594 А, 25.01.1979. КИСЕЛЕВ М.Ф., Мероприятия против деформации зданий и сооружений от действия сил морозного выпучивания фундаментов, Москва, Стройиздат, 1971. НЕВЗОРОВ А.Л., Фкундаменты на сезоннопромерзающих грунтах, из-во АСВ, 2000.
Адрес для переписки:
614990, г.Пермь, ул. Куйбышева, 39, медиц. академия, патентный отдел
|
(72) Автор(ы):
Рожков Анатолий Петрович (RU)
(73) Патентообладатель(и):
Рожков Анатолий Петрович (RU)
|
(54) СПОСОБ ЗАЩИТЫ ФУНДАМЕНТА ОТ МОРОЗНОГО ВЫПУЧИВАНИЯ
(57) Реферат:
Задача: повышение эффективности защиты фундамента. Сущность: фундамент возводят на защитном слое, состоящем из уплотненного сыпучего материала, одна часть которого находится в полимерных изделиях в виде емкостей, другая часть уложена способом засыпки, а защитный слой помещен в траншею, которая в зависимости от физико-механических свойств грунта и глубины сезонного промерзания имеет высоту h1+h2, при h1 0,1H и h2 0, ширину a+в, при а 0, где h1 – высота бруствера траншеи, h2 – подземная высота траншеи, а – расстояние от фундамента до края траншеи, в – толщина фундамента, Н – глубина сезонного промерзания. Технический результат: уменьшение сроков строительства фундаментов и снижение их стоимости. 1 ил.
Изобретение относится к строительству и касается защиты фундаментов легких зданий и сооружений от морозного выпучивания.
Известен способ защиты фундаментов от морозного выпучивания, в котором на расстоянии от фундамента не более 1,3Н выполняют траншею глубиной не менее 0,7Н, где Н – глубина промерзания грунта. Траншею заполняют сыпучим непучинистым несмерзающимся материалом. При морозном выпучивании грунт свободно деформируется в сторону траншеи, что ведет к уменьшению горизонтальных сил и, как следствие, к уменьшению прочности смерзания грунта с фундаментом, а в случае отсутствия смерзания – к уменьшению сил трения. Назначение засыпки – предотвратить разрушение стенок траншеи и уменьшить промерзание (А.С. SU 1673699, Бюл. №32 от 30.08.91).
Недостатком данного способа является то, что траншея не имеет достаточной защиты от попадания в нее подземных вод и верховодки, а скапливание последних в траншее приведет к смерзанию засыпки с грунтом, что делает данный способ защиты малоэффективным.
Задачей настоящего изобретения является повышение эффективности защиты фундамента.
Технический результат: уменьшение сроков строительства фундаментов и снижение затрат.
Эти задачи решаются способом защиты, заключающимся в том, что фундамент возводят на защитном слое, состоящем из уплотненного материала, одна часть которого находится в полимерных изделиях в виде емкостей, другая часть уложена способом засыпки, а защитный слой помещен в траншею, которая в зависимости от физико-механических свойств грунта и глубины сезонного промерзания имеет высоту h1+h2, при h1 0,1H и h2 0, ширину а+в, при а 0, где h1 – высота бруствера траншеи, h2 – подземная высота траншеи, а – расстояние от фундамента до края траншеи, в – толщина фундамента, Н – глубина сезонного промерзания.
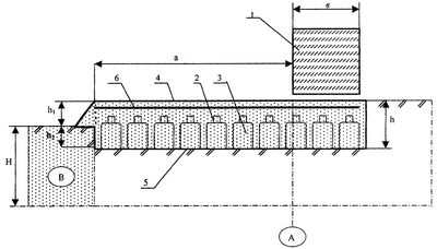
Способ изображен на чертеже.
Для защиты фундамента 1 (см. чертеж) от сил морозного выпучивания используют полимерные изделия 2, например полиэтиленовые упаковочные емкости (пластиковые бутылки), заполненные сыпучим материалом, например сухим песком 3, и закрытые от попадания влаги. Для устройства защитного слоя 4 в грунте выполняют траншею 5 шириной a+в, где а – расстояние от фундамента до края траншеи, в – толщина фундамента. Подземная высота траншеи h2 равна, например, 1/2 высоты емкостей. Заполненные песком емкости в вертикальном положении устанавливают в траншею плотно друг к другу, горловинами вверх. Траншею с установленными в нее емкостями засыпают сыпучим материалом, например песком, с обязательным заполнением песком всех пустот между емкостями. Засыпку выполняют в виде насыпи на высоту бруствера траншеи h1, равную, например, 1/2 высоты емкостей. Насыпь подвергают дополнительному уплотнению различными способами. В верхнем слое насыпи, выше емкостей, прокладывают слой гидроизоляции 6, например, из полиэтиленовой пленки. Фундамент здания начинают возводить с насыпи защитного слоя.
Защита фундамента от морозного выпучивания будет происходить следующим образом. Гидроизоляция насыпи и закрытые емкости с песком дают защитному слою возможность оставаться в зимний период времени в сухом состоянии, а это значит, что защитный слой не будет подвергаться промерзанию и, следовательно, защитит от промерзания грунт, находящийся под ним. Расстояние а защитного слоя будет препятствовать промерзанию грунта под траншеей в горизонтальном направлении от зоны промерзания В до линии фундамента А.
Упаковочные емкости, представляющие собой полимер – полиэтилен низкого давления обладают большой плотностью, прочностью и растяжимостью. Полиэтиленовая емкость с находящимся внутри уплотненным материалом и расположенная в защитном слое способна выдерживать значительные вертикальные нагрузки, укрепляя грунт основания и препятствуя развитию неравномерных осадок фундаментов зданий за счет прочности материала, из которого она изготовлена и плотности материала, находящегося в ней.
Пример 1.
При строительстве постройки хозяйственного назначения с наружными размерами 3000×3000 мм из мелкоячеистых блоков размерами 188×300×575 мм был изготовлен из бетона M150 ленточный фундамент шириной 400 мм, высотой 300 мм, расположенный на защитном слое против сил морозного выпучивания с учетом районного коэффициента глубины промерзания Н=1,8 м. Защитный слой делали следующим образом. В естественном грунте, представляющем собой песок средней крупности, была выполнена траншея шириной а+в=2,2 м, где a=Н, и глубиной h1+h2=0,4 м. В качестве емкостей использовали пластиковые бутылки объемом 1,5 л и высотой 0,33 м. Емкости засыпали песком с дополнительным уплотнением методом встряхивания и с последующим закрыванием их имеющимися винтовыми пробками. Емкости выставляли в траншею в вертикальном положении, горловинами вверх плотно друг к другу. После этого траншею засыпали песком с заполнением всех промежутков между емкостями таким образом, чтобы выше емкостей получился слой толщиной 2-3 см. Дополнительное уплотнение проводили способом смачивания песка водой из поливочного шланга и добавлением его по ходу осаживания. На уплотненный песок стелили гидроизоляцию из полиэтиленовой пленки. Поверх пленки насыпали еще один слой песка толщиной 2-3 см, который уплотняли также способом смачивания. На приготовленном защитном слое возводили фундамент и выполняли остальные строительные работы. Проверки защитного слоя в осенне-зимний период показали, что он оставался сухим, а грунт, находящийся под ним, не подвергался замораживанию. Максимальная глубина промерзания в марте месяце составляла 0,8 м. Визуальный осмотр в мае-июне стен здания и фундамента показал, что фундамент не подвергался воздействию сил морозного выпучивания.
Предлагаемый способ защиты фундамента от морозного выпучивания позволит повысить эффективность защиты, сократить сроки строительства фундамента и снизить затраты на строительство засчет уменьшения его объема. Применение утилизированных полимерных емкостей значительно уменьшит объем ежегодно растущих пластиковых отходов.
Формула изобретения
Способ защиты фундамента от морозного выпучивания путем выполнения защитного слоя из непучинистого сыпучего материала, помещенного в траншею, отличающийся тем, что фундамент возводят на защитном слое, состоящем из уплотненного сыпучего материала, одна часть которого расположена в полимерных изделиях в виде закрытых емкостей, вертикально установленных в траншее горловинами вверх, а другая часть уложена засыпкой в виде насыпи с заполнением промежутков между емкостями, при этом траншея имеет высоту h1+h2 при h1 0,1H и h2 0 и ширину a+в при а 0, где h1 – высота бруствера траншеи, h2 – подземная высота траншеи, а – расстояние от фундамента до края траншеи, в – толщина фундамента, Н – глубина сезонного промерзания, при этом в верхнем слое насыпи выше емкостей прокладывают слой гидроизоляции.
РИСУНКИ
|
|