|
|
(21), (22) Заявка: 2005123085/03, 20.07.2005
(24) Дата начала отсчета срока действия патента:
20.07.2005
(43) Дата публикации заявки: 10.02.2007
(46) Опубликовано: 20.06.2007
(56) Список документов, цитированных в отчете о поиске:
SU 301405 А, 21.04.1971. SU 457776 А, 25.01.1975. SU 742532 А, 25.06.1980. SU 1154995 А, 30.01.1987. SU 1579575 А1, 23.07.1990. SU 1692669 A1, 23.11.1991.
Адрес для переписки:
129329, Москва, ул. Кольская, 1, ОАО “ЦНИИС”, СМИС, Зам. ген. директора А.А. Цернанту
|
(72) Автор(ы):
Хачикян Эдуард Дарчиевич (RU), Серенков Юрий Владимирович (RU), Недорезов Игорь Андреевич (RU), Гольденштейн Игорь Владимирович (RU), Кириллов Денис Михайлович (RU)
(73) Патентообладатель(и):
Открытое акционерное общество “Научно-исследовательский институт транспортного строительства” (ЦНИИС) (RU), Открытое акционерное общество “Охтинский завод строительных машин” (RU)
|
(54) ВИБРОПОГРУЖАТЕЛЬ С РЕГУЛИРУЕМЫМ МОМЕНТОМ ДЕБАЛАНСОВ
(57) Реферат:
Изобретение относится к вибрационной технике, а именно к устройствам для погружения в грунт и извлечения из него свайных элементов, уплотнения грунтов, балласта, каменных постелей. Технический результат заключается в исключении жесткой связи между дебалансами и шестернями, что обеспечивает расширение диапазона параметров, уменьшает габариты и массу вибропогружателя, повышает надежность устройства. Результат достигается тем, что вибропогружатель с регулируемым статическим моментом дебалансов содержит два яруса валов с дебалансами, дифференциал, кинематически связывающий между собой валы дебалансов разных ярусов и включающий корпус, установленный с возможностью поворота, две соосные конические шестерни и третью коническую шестерню, находящуюся в зацеплении с двумя первыми, и приводы вращения валов дебалансов и ограниченного поворота корпуса дифференциала. Вибропогружатель содержит один или несколько горизонтальных рядов валов дебалансов в каждом ярусе, при этом один из ярусов валов дебалансов кинематически связан с валом одной из соосных конических шестерен дифференциала общим валом или через зубчатую цилиндрическую передачу, а второй ярус – с другой соосной конической шестерней дифференциала общим валом или через зубчатую цилиндрическую передачу. 3 з.п. ф-лы, 3 ил.
Изобретение относится к вибрационной технике, в основном к устройствам для погружения в грунт или извлечения свайных элементов, уплотнения грунтов, балласта, каменных постелей.
Известен вибропогружатель ВРП-60/200, который включает корпус, двигатель, дебалансы, смонтированные на валах с возможностью радиального перемещения с помощью гидроцилиндров, каждый из которых соединен с одним валом и соответствующим дебалансом, гидросистему с напорной, сливной, рабочими и управляющими гидролиниями (см. «Указания по эксплуатации и ремонту вибропогружателей и вибромолотов в транспортном строительстве». – М.: Оргтрансстрой, 1976. – с.17).
Недостатком этого вибропогружателя является то, что он не может обеспечить нулевой статический момент дебалансов при запуске или перед остановкой. Кроме того, наблюдалось постепенное рассогласование дебалансов.
Известен вибропогружатель с регулируемым моментом дебалансов, который содержит корпус, привод, группы установленных на валах дебалансов, соединенных между собой системой шестерен, и устройство для изменения статического момента дебалансов, выполненное в виде шестерен планетарного механизма с водимым червячным колесом с приводом (см. а.с. 1154995, кл. Е02D 7/18, СССР).
Недостатком этого вибропогружателя является сложность устройства для изменения момента дебалансов, сложность и ненадежность передачи, связывающей это устройство с дебалансами, и наличие шестерни с внутренними зубьями.
Практическая реализация данного изобретения в Минтрансстрое в 80-х годах выявила еще один крупный недостаток – невозможность фиксации постоянного значения момента дебалансов вследствие проворачивания червяка и червячного колеса при вибрации.
Наиболее близким прототипом предлагаемого вибропогружателя является вибропогружатель по а.с. 301405, кл. Е02D 7/18, СССР.
Он содержит два яруса дебалансных валов, дифференциал, кинематически связывающий между собой валы дебалансов обоих ярусов и включающий в себя корпус, установленный с возможностью поворота, и расположенные в нем две соосные конические шестерни и третью коническую шестерню, находящуюся с ними в зацеплении, а также приводы вращения валов дебалансов и поворота дифференциала.
Недостатком этого устройства является то, что валы дебалансов жестко связаны с установленными в корпусе дифференциала коническими шестернями, соединены между собой попарно, что ограничивает статический момент дебалансов и увеличивает габариты вибровозбудителя.
Привод дебалансов осуществляется от одного электродвигателя, что снижает надежность устройства, увеличивает его массу и габариты и создает повышенную нагрузку на дифференциал.
Привод поворота корпуса регулятора дебалансов осуществляется от электродвигателя, что также ведет к увеличению массы и габаритов вибровозбудителя и снижает его надежность.
Связь между основными элементами вибровозбудителя осуществляется через цепные передачи, что также снижает надежность устройства.
Целью настоящего изобретения является устранение недостатков известного вибропогружателя с регулируемым моментом дебалансов.
Указанная цель достигается тем, что вибропогружатель с регулируемым моментом дебалансов, содержащий два яруса валов с дебалансами, дифференциал, кинематически связывающий между собой валы дебалансов разных ярусов и включающий в себя корпус, установленный с возможностью ограниченного поворота, и расположенные в нем две соосные конические шестерни и третью коническую шестерню, находящуюся с ними в зацеплении, содержит один или несколько горизонтальных рядов валов дебалансов в каждом ярусе. При этом один из ярусов валов дебалансов кинематически связан с валом одной из соосных конических шестерен дифференциала общим валом или через зубчатую цилиндрическую передачу, а второй ярус того же ряда – с другой соосной конической шестерней дифференциала также общим валом или через зубчатую цилиндрическую передачу.
Привод вращения дебалансов выполнен в виде двух гидромоторов, каждый из которых связан с валами дебалансов одного яруса.
Привод поворота корпуса дифференциала может быть выполнен в виде гидроцилиндра, который связан с корпусом дифференциала, например, через рычажный механизм. Возможно и применение червячной передачи для привода корпуса дифференциала.
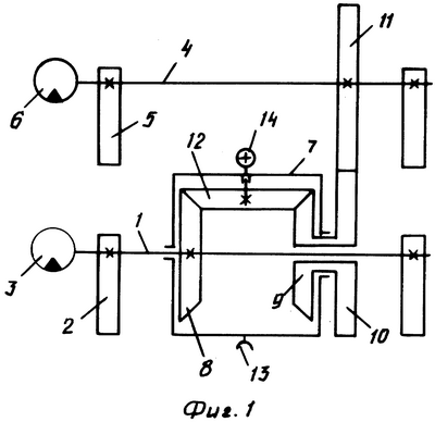
На фиг.1 изображена схема одного ряда двухъярусного вибропогружателя с валами, дебалансами, приводами и передачами.
На фиг.2 изображена схема механизма поворота корпуса дифференциала вибропогружателя с помощью гидромотора, связанного с корпусом дифференциала через червячную передачу.
На фиг.3 изображена схема механизма поворота корпуса дифференциала с помощью гидроцилиндра, связанного с корпусом дифференциала через рычажный механизм.
Вибропогружатель содержит вал 1 нижнего яруса с дебалансом 2 и приводным гидромотором 3, вал верхнего яруса 4 с дебалансом 5 и приводным гидромотором 6, корпус 7 дифференциала, установленного с возможностью ограниченного поворота, соосную коническую шестерню 8, имеющую общий вал 1 с дебалансом 2, соосную коническую шестерню 9, связанную с валом верхнего яруса 4 через цилиндрические зубчатые колеса 10 и 11, с одинаковым количеством зубьев, коническую шестерню 12, находящуюся в зацеплении с коническими шестернями 8 и 9, червячное колесо 13, прикрепленное к корпусу 7 дифференциала, червяк 14, находящийся в зацеплении с червячным колесом 13, гидромотор 15, вал которого связан с валом червяка 14, рычаг 16, прикрепленный к корпусу 7 дифференциала, гидроцилиндр 17, шток которого соединен с рычагом 16.
Дебалансы могут быть установлены и на других концах валов 1 и 4 при полом вале конической шестерни 9.
Связь конических шестерен 8 и 9 соответветственно с валами 1 и 4 может осуществляться через цилиндрические зубчатые колеса. При этом колеса, расположенные на валах, должны иметь одинаковое количество зубьев.
Вибропогружатель с регулируемым моментом дебалансов работает следующим образом.
Гидромоторы 3 и 6 вращают соответственно валы 1 и 4 с дебалансами 2 и 5. Дифференциал обеспечивает синхронизацию вращения валов 1 и 4 за счет того, что конические шестерни 8 и 9, находясь в зацеплении с конической шестерней 12, вращаются с одинаковой частотой в разные стороны.
В исходном положении корпуса 7 дифференциала фазы дебалансов 2 и 5 совпадают и статический момент вибровозбудителя равен сумме их статических моментов.
При повороте корпуса 7 дифференциала скорость его поворота соответственно увеличивает частоту вращения одной из конических шестерен 8 или 9 и уменьшает на ту же величину частоту вращения другой. За счет этого изменяется взаиморасположение дебалансов 2 и 5 и соответственно общий статический момент вибропогружателя уменьшается. При противофазном расположении дебалансов 2 и 5 суммарный статический момент равен нулю.
Поворот корпуса 7 дифференциала может осуществляться гидромотором 15 через червяк 14 и червячное колесо 13 или же гидроцилиндром 17 через шток и рычаг 16.
Предлагаемое устройство позволяет исключить жесткую связь между дебалансами и коническими шестернями дифференциала, что дает возможность расширения диапазона регулирования параметров, уменьшает габариты и массу вибропогружателя, повышает надежность устройства.
Формула изобретения
1. Вибропогружатель с регулируемым статическим моментом дебалансов, содержащий два яруса валов с дебалансами, дифференциал, кинематически связывающий между собой валы дебалансов разных ярусов и включающий корпус, установленный с возможностью поворота, две соосные конические шестерни и третью коническую шестерню, находящуюся в зацеплении с двумя первыми, и приводы вращения валов дебалансов и ограниченного поворота корпуса дифференциала, отличающийся тем, что он содержит один или несколько горизонтальных рядов валов дебалансов в каждом ярусе, при этом один из ярусов валов дебалансов кинематически связан с валом одной из соосных конических шестерен дифференциала общим валом или через зубчатую цилиндрическую передачу, а второй ярус – с другой соосной конической шестерней дифференциала общим валом или через зубчатую цилиндрическую передачу.
2. Вибропогружатель по п.1, отличающийся тем, что привод вращения дебалансов выполнен в виде двух гидромоторов, каждый из которых связан с валом дебалансов одного яруса.
3. Вибропогружатель по п.1, отличающийся тем, что устройство поворота корпуса дифференциала выполнено в виде гидроцилиндра с рычажным механизмом.
4. Вибропогружатель по п.1, отличающийся тем, что устройство поворота корпуса дифференциала выполнено в виде гидромотора с червячной передачей.
РИСУНКИ
|
|