|
|
(21), (22) Заявка: 2006119636/03, 06.06.2006
(24) Дата начала отсчета срока действия патента:
06.06.2006
(46) Опубликовано: 20.06.2007
(56) Список документов, цитированных в отчете о поиске:
RU 2260650 C1, 20.09.2005. SU 1090789 A1, 07.05.1984. SU 1470844 A1, 07.04.1989. БОБРИКОВ Б.В. и др., Строительство мостов, Москва, Транспорт, 1978, с.196-197.
Адрес для переписки:
432063, г.Ульяновск, ул. Красноармейская, 18, ЗАО “Гипростроймост-Ульяновск”
|
(72) Автор(ы):
Кочергин Игорь Юрьевич (RU)
(73) Патентообладатель(и):
Кочергин Игорь Юрьевич (RU)
|
(54) СПОСОБ МОНТАЖА ПРОЛЕТНОГО СТРОЕНИЯ МОСТА И ГРУЗОПОДЪЕМНОЕ УСТРОЙСТВО ДЛЯ ЕГО ОСУЩЕСТВЛЕНИЯ
(57) Реферат:
Изобретение относится к мостостроению и, в частности, к способу монтажа пролетного строения моста и устройству для осуществления данного способа. Способ монтажа пролетного строения моста состоит в сборке пролетного строения на стапеле, на берегу, подаче его к месту монтажа на плавучих опорах, подъемке пролетного строения с помощью грузоподъемного устройства с последующей установкой его на постоянные опоры. Сборку пролетного строения осуществляют в виде монтажного блока с главными фермами без монтажа консольных плит проезжей части в крайних панелях, заводят плавучие опоры таким образом, чтобы одна из стоек постоянной опоры оказалась между главными фермами монтажного блока пролетного строения, а центр массы монтажного блока пролетного строения располагался на оси между стойками постоянных опор. Монтируют грузоподъемные устройства на постоянных опорах моста и после подъема монтажного блока пролетного строения до проектной отметки осуществляют поперечное перемещение монтажного блока, подвешенного к грузоподъемному устройству, до совпадения его продольной оси с продольной осью моста. Грузоподъемное устройство включает несущую раму, подъемные гидроцилиндры, средства перехвата, средства подвеса и траверсу, прикрепленную к монтажному блоку пролетного строения. На оголовке постоянной опоры моста жестко закреплены поперечные консольные балки, на которые подвижно опирается несущая рама, причем на поперечных консольных балках имеется приспособление для поперечной передвижки несущей рамы. Консольные балки могут быть снабжены в нижней части шпренгельной системой. Технический результат – исключение применения временных опор для опирания на них грузоподъемного устройства и обеспечение поперечного перемещения пролетного строения моста с помощью грузоподъемного устройства. 2 н. и 1 з.п. ф-лы, 10 ил.
Изобретение относится к мостостроению и может быть использовано в способе монтажа пролетного строения моста и грузоподъемном устройстве для осуществления этого способа.
Известен способ монтажа пролетного строения моста, состоящий в сборке на стапеле на берегу пролетного строения, подаче его к месту монтажа на плавучих опорах, устройстве временных опор вблизи постоянных опор, монтаже на них грузоподъемных устройств, подъеме с помощью грузоподъемных устройств пролетного строения до проектной отметки и опускании его на постоянные опоры /1/.
Недостатком известного способа является необходимость устройства временных опор, что требует больших затрат средств и времени, особенно при большой глубине воды в зоне постоянных опор.
Известно грузоподъемное устройство для монтажа пролетного строения моста, смонтированное на временных опорах и включающее несущую раму, подъемные гидроцилиндры, средства перехвата, выполненные также в виде гидродомкратов, средства подвеса в виде перфорированной ленты с выдвижными пальцами и траверсу /2/.
Недостатком известного грузоподъемного устройства является невозможность его использования после подъема пролетного строения для поперечной передвижки пролетного строения моста.
Задачей настоящего изобретения является исключение применения временных опор для опирания на них грузоподъемных устройств и обеспечение поперечного перемещения пролетного строения моста с помощью грузоподъемного устройства.
Поставленная задача решается за счет того, что в способе монтажа пролетного строения моста, состоящем в сборке пролетного строения на стапеле, на берегу, подаче его к месту монтажа на плавучих опорах, подъемке пролетного строения с помощью грузоподъемного устройства с последующей установкой его на постоянные опоры, сборку пролетного строения осуществляют в виде монтажного блока с главными фермами без монтажа консольных плит проезжей части в крайних панелях, после чего заводят плавучие опоры таким образом, чтобы одна из стоек постоянной опоры оказалась между главными фермами монтажного блока пролетного строения, а центр массы монтажного блока пролетного строения располагался на оси между стойками постоянных опор, затем монтируют грузоподъемные устройства на постоянных опорах моста и после подъема монтажного блока пролетного строения с помощью грузоподъемного устройства до проектной отметки осуществляют поперечное перемещение подвешенного монтажного блока к грузоподъемному устройству до совпадения его продольной оси с продольной осью моста.
Поставленная задача решается также за счет того, что в грузоподъемном устройстве для осуществления способа по п.1, включающем несущую раму, подъемные гидроцилиндры, средства перехвата, средства подвеса и траверсу, прикрепленную к монтажному блоку пролетного строения, оно снабжено консольными балками, жестко закрепленными на оголовке постоянной опоры и на которые подвижно опирается несущая рама, причем на консольных балках имеется приспособление для поперечной передвижки несущей рамы.
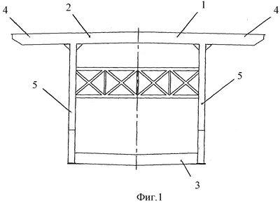
На фиг.1 изображено пролетное строение моста, поперечное сечение.
На фиг.2 изображена постоянная опора моста.
На фиг.3 изображен монтажный блок пролетного строения в момент его заводки между стойками постоянной опоры, вид сверху.
На фиг 4 изображена фиг.3, вид по А-А.
На фиг.5 изображена фиг.3, вид по Б-Б.
На фиг.6 изображена опора моста со смонтированным на ней грузоподъемным устройством, вид вдоль оси моста.
На фиг.7 изображена фиг.6, вид сверху.
На фиг.8 изображено грузоподъемное устройство в процессе подъема монтажного блока, вид поперек оси моста.
На фиг.9 изображено грузоподъемное устройство в момент завершения подъема монтажного блока.
На фиг.10 изображено грузоподъемное устройство после поперечной передвижки монтажного блока в проектное положение.
Пролетное строение моста выполнено в виде монтажного блока 1, состоящего из ортотропных плит проезжей части 2 и 3 с консольными балками 4 проезжей части и главных балок 5. Опора моста включает буровые столбы (не показаны), свайный ростверк 6 и симметрично расположенные относительно продольной оси моста стойки 7. Монтажный блок 1 смонтирован таким образом, что в крайних панелях 17 отсутствуют консольные балки 4 проезжей части.
Грузоподъемное устройство включает поперечные консольные балки 8, жестко прикрепленные к оголовкам 9 стоек 7 опор моста. На поперечных консольных балках 8 смонтирована несущая рама 10, имеющая возможность поперечного перемещения вместе с монтажным блоком 1. Несущая рама 10 снабжена подъемным гидроцилиндром 11, средствами перехвата 12 и средством подвеса 13. Средство подвеса 13 прикреплено к траверсе 14, соединенной в свою очередь с монтажным блоком 1. На поперечных консольных балках 8 установлено приспособление 15 для поперечной передвижки несущей рамы 10. Поперечные консольные балки 8 в нижней части снабжены шпренгельной системой 16, обеспечивающей ее повышенную грузоподъемность.
Способ монтажа пролетного строения моста предусматривает сборку монтажного блока 1 пролетного строения моста на берегу, на стапеле (не показан) с главными фермами 5, ортотропными плитами 2 и 3 и консольными балками 4 проезжей части, причем в крайних панелях 17 консольные балки 4 проезжей части не монтируют. Монтажный блок 1 на плавучих опорах (не показаны) доставляют в пролет к месту монтажа и благодаря отсутствию консольных балок 4 проезжей части в крайних панелях 17 заводят плавучие опоры так, чтобы одна из стоек 7 постоянной опоры моста оказалась между главными фермами 5 монтажного блока 1, а центр массы 18 монтажного блока 1 располагался на оси между стойками 7 постоянных опор моста. Затем монтируют на оголовках 9 постоянных опор моста грузозахватные устройства, прикрепляют траверсы 14 к монтажному блоку 1 и с помощью подъемных гидроцилиндров 11 осуществляют подъем монтажного блока 1. Подъем осуществляют циклично: после максимального выдвижения штоков подъемных гидроцилиндров 11 включают средства перехвата 12, которые удерживают поднимаемый монтажный блок 1 на период возврата штоков подъемных гидроцилиндров 11 в исходное положение, после чего процесс подъема повторяется до достижения монтажным блоком 1 проектного положения. После этого подвешенный к несущей раме 10 монтажный блок 1 с помощью приспособления 15 передвигают в поперечном направлении до совпадения его продольной оси с продольной осью моста.
Источники информации
1. Технология, организация и планирование строительства мостов. Б.В.Бобриков, И.М.Русаков, А.А.Царьков, Москва, «Транспорт», 1967, стр.312-313.
2. Строительство мостов. И.М.Колоколов, И.С.Аксельрод, А.И.Соловьев, Е.Л.Хлебников, Москва, «Транспорт», 1966, стр.523-526.
Формула изобретения
1. Способ монтажа пролетного строения моста, состоящий в сборке пролетного строения на стапеле, на берегу, подаче его к месту монтажа на плавучих опорах, подъеме пролетного строения с помощью грузоподъемного устройства с последующей установкой его на постоянные опоры, отличающийся тем, что сборку пролетного строения осуществляют в виде монтажного блока с главными фермами без монтажа консольных плит проезжей части в крайних панелях, заводят плавучие опоры таким образом, чтобы одна из стоек постоянной опоры оказалась между главными фермами монтажного блока пролетного строения, а центр массы монтажного блока пролетного строения располагался на оси между стойками постоянных опор, затем монтируют грузоподъемные устройства на постоянных опорах моста и после подъема монтажного блока пролетного строения до проектной отметки осуществляют поперечное перемещение подвешенного монтажного блока к грузоподъемному устройству до совпадения его продольной оси с продольной осью моста.
2. Грузоподъемное устройство для осуществления способа по п.1, включающее несущую раму, подъемные гидроцилиндры, средства перехвата, средства подвеса и траверсу, прикрепленную к монтажному блоку пролетного строения, отличающееся тем, что оно снабжено поперечными консольными балками, жестко закрепленными на оголовке постоянной опоры моста и на которые подвижно опирается несущая рама, причем на поперечных консольных балках имеется приспособление для поперечной передвижки несущей рамы.
3. Грузоподъемное устройство по п.2, отличающееся тем, что поперечные консольные балки снабжены в нижней части шпренгельной системой.
РИСУНКИ
QB4A – Регистрация лицензионного договора на использование изобретения
Лицензиар(ы): Индивидуальный предприниматель Кочергин Игорь Юрьевич
Вид лицензии*: НИЛ
Лицензиат(ы): Общество с ограниченной ответственностью фирма “МОСТОТРАНС”
Договор № РД0048813 зарегистрирован 06.04.2009
Извещение опубликовано: 20.05.2009 БИ: 14/2009
* ИЛ – исключительная лицензия НИЛ – неисключительная лицензия
QB4A – Регистрация лицензионного договора на использование изобретения
Лицензиар(ы): Индивидуальный предприниматель Кочергин Игорь Юрьевич
Вид лицензии*: НИЛ
Лицензиат(ы): Общество с ограниченной ответственностью “ТрансПроект”
Договор № РД0048814 зарегистрирован 06.04.2009
Извещение опубликовано: 20.05.2009 БИ: 14/2009
* ИЛ – исключительная лицензия НИЛ – неисключительная лицензия
|
|