|
(21), (22) Заявка: 2005128155/11, 09.09.2005
(24) Дата начала отсчета срока действия патента:
09.09.2005
(46) Опубликовано: 20.06.2007
(56) Список документов, цитированных в отчете о поиске:
SU 1664942 A1, 23.07.1991. US 1622614 А, 29.03.1927. US 3666175 А, 30.05.1972. US 3593919 А, 20.07.1971. “ЖЕЛЕЗНОДОРОЖНЫЙ ПУТЬ” / Под ред. Т.Г.Яковлевой, М., Транспорт, 2001, с.20-26, рис.1.16.
Адрес для переписки:
681024, Хабаровский край, г. Комсомольск-на-Амуре, пр. Первостроителей, 19, кв.169, Б.Я. Мокрицкому
|
(72) Автор(ы):
Фадеев Валерий Сергеевич (RU), Каменев Александр Иванович (RU), Мокрицкий Борис Яковлевич (RU), Аркатов Виктор Степанович (RU), Сазонов Владимир Николаевич (RU), Аркатов Юрий Викторович (RU)
(73) Патентообладатель(и):
Аркатов Юрий Викторович (RU), Аркатов Виктор Степанович (RU), Каменев Александр Иванович (RU), Мокрицкий Борис Яковлевич (RU), Сазонов Владимир Николаевич (RU), Фадеев Валерий Сергеевич (RU)
|
(54) ВКЛАДЫШ ДЛЯ ИЗОЛИРУЮЩЕГО РЕЛЬСОВОГО СТЫКА
(57) Реферат:
Изобретение относится к области железнодорожного транспорта, в частности к верхнему строению пути, и может быть использовано в электрических рельсовых цепях железнодорожного транспорта. Вкладыш для изолирующего рельсового стыка содержит материал с малой магнитной проницаемостью. В поперечном сечении вкладыш имеет форму, аналогичную форме смежных стыкуемых рельсов, выполнен из композиционного материала с электроизоляционным слоем или слоями и с заданным по длине вкладыша градиентом магнитной проницаемости и модуля упругости. Вкладыш выполнен монтируемым между концами смежных стыкуемых рельсов в виде готового блока. Техническим результатом изобретения является повышение надежности изолирующего стыка. 10 з.п. ф-лы, 3 ил.
Изобретение относится к области железнодорожного транспорта, в частности к верхнему строению пути и может быть использовано в электрических рельсовых цепях железнодорожного транспорта.
Из а.с. СССР №1664942, 1991 г. известно, что для создания изолирующего рельсового стыка между торцами смежных стыкуемых типовых рельсов вставляют группу электроизолирующих прокладок и вкладыш между ними, причем высота вкладыша и прокладок различны, а вкладыш выполнен из немагнитного или слабомагнитного материала.
Недостатком такого технического решения является низкая надежность изолирующего стыка из-за слабой защиты от образования электропроводных мостиков, состоящих из образующихся металлических частиц.
Техническим результатом изобретения является повышение надежности изолирующего стыка (далее – изостыка) за счет:
– применения специального композиционного материала, обеспечивающего одновременно необходимые для изостыка свойства, а именно: снижение магнитопроводности изостыка для исключения образования металлических мостиков; обеспечение электроизоляции на требуемом уровне; обеспечение несущей способности требуемого уровня для пропуска подвижных составов;
– исполнения изостыка как сборного, т.е. содержащего типовые смежные стыкуемые рельсы и вкладыш между ними, профиль которого соответствует профилю рельсов, а материал обеспечивает указанные выше свойства, причем вкладыш монтируется в изостык в виде готового блока между концами стыкуемых типовых рельсов либо собирается по месту установки изостыка, например с применением сварки, удерживается в изостыке рельсовыми накладками.
Таким образом, предлагаемый вкладыш, как и вкладыш по прототипу, содержит материал, влияющий на электрические и магнитные свойства изостыка, при этом сам является составной частью изостыка, представляет собой самостоятельный готовый блок, который либо вставляется в изостык, либо собирается по месту сборки изостыка. При этом вкладыш выполнен из композиционного материала, сочетающего в себе требуемые физико-механические, электроизоляционные и магнитные свойства, совокупность которых достигается за счет изменения по длине объекта модуля упругости (как наиболее структурно-чувствительного и хорошо измеряемого параметра).
В том числе заявляемый вкладыш может быть частично или полностью по своему контуру, аналогичному контуру типовых рельсов, снабжен дополнительно электроизоляционным композиционным материалом, выполняющим заодно роль защитного покрытия.
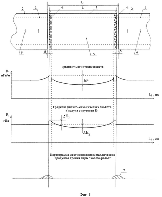
На фиг.1 представлена схема изостыка с вкладышем, монтируемым в стык в виде готового блока, и графики изменения его магнитных и физико-механических свойств. На фиг.2 представлена аналогичная схема изостыка с вкладышем, собираемым на месте монтажа изостыка, на фиг.3 – схема взаимодействия с рельсовыми накладками.
Вкладыш 1 выполнен длиной L и в поперечном сечении аналогичен профилю смежных стыкуемых типовых рельсов 2. Между рельсами 2 он удерживается с помощью типовых электроизоляционных рельсовых накладок 3. Между рельсами 2 и вкладышем 1 допустим некоторый воздушный зазор .
Вкладыш 1 представляет собой готовый для монтажа блок, выполнен из композиционного материала, свойства которого переменны по длине L вкладыша. Например, его крайние части 4 обладают необходимым (до 0,5 кОм) уровнем электроизоляционных свойств с той целью, чтобы обеспечить разрыв электрической рельсовой цепи. Центральная часть 5 вкладыша обладает пониженной (по отношению к рельсам 2) магнитной проницаемостью.
Центральная часть 5 и крайние части 4 вкладыша обеспечивают в заданном ресурсе пропуск подвижных составов без разрушения вкладыша.
Сочетание электрических, магнитных и физико-механических свойств вкладыша обеспечивается свойствами используемых композиционных материалов, например, центральная часть 5 выполнена из маломагнитных сталей типа АК, а крайние части 1 – из металлокерамических сплавов, либо оксидных керамик группы ВОК или группы В. Соединение центральной и крайних частей между собой возможно за счет современных металлургических процессов (припекание, газостатическое прессование и т.д.) или за счет применения клеящих составов.
Управление градиентом свойств по длине вкладыша возможно за счет его изготовления из порошковых материалов методами порошковой металлургии либо методом сборки из отдельно изготовленных частей. Важно выбрать тот параметр, который бы позволял осуществить контроль градиента свойств. Для этого приемлемы разные параметры материала, в данном случае выбран модуль упругости Е, т.к.:
– для его измерения существуют типовые приборы и методики;
– он наиболее структурно чувствителен, т.е. величина модуля упругости Е наиболее чувствительна к изменению структуры материала вкладыша (а именно структурой композиционного материала вкладыша в данном решении достигается совокупность требуемых свойств: электроизоляция, магнитопроницаемость и несущая способность, т.е. прочность материала, косвенно выражаемая через модуль упругости Е) и опосредованно характеризует доменную структуру, т.е. магнитные свойства.
Изготовленный таким образом в заводских условиях вкладыш 1 поставляют на место монтажа изостыка. Рельсовый зазор разгоняют (технологический прием раздвигания рельсов) на величину от L до L1, вкладыш вставляют в рельсовый зазор, с обеих сторон устанавливают электроизолирующие рельсовые накладки 3 и скрепляют ими вкладыш 1 и рельсы 2 посредством установки и затяжки рельсовых болтов 6. Изостык к работе готов. Его работа с вкладышем 1 состоит в следующем.
Колесо подвижного состава прокатывается по вкладышу 1 без нарушения кинематики движения, т.к. профиль вкладыша аналогичен профилю рельсов 2. Удержание вкладыша накладками (а также расположение вкладыша на шпале) обеспечивает восприятие нагрузки от колесной пары. Физико-механические свойства вкладыша не только достаточны для восприятия этих нагрузок, их градиент по длине вкладыша позволяет:
– снизить динамику нагружения пары “рельс-колесо” в силу определенным образом изменяющейся упругости материала вкладыша;
– снизить уровень ударного воздействия (следовательно величину наклепа принимающего торца рельса 2 и, соответственно, доменную структуру материала рельса 2) на принимающий колесо конец рельса 2. Это достигается соотношением величин E1 и Е2 по отношению к модулю упругости материала рельсов 2.
Наличие электроизоляционных участков 4 позволяет осуществить разрыв электрической рельсовой цепи при необходимом уровне электрического сопротивления изостыка.
Градиент магнитных свойств обеспечивает снижение магнитной проницаемости на некоторую величину  , а сам факт разнесения торцев рельсов 2 на некоторую величину L снижает напряженность магнитного поля в изостыке, что препятствует образованию электрических мостиков из металлических продуктов трения пары “рельс-колесо” либо существенно снижает вероятность образования таких мостиков.
Вариант исполнения вкладыша представлен на фиг.2: конструкция вкладыша повышает несущую способность изостыка и снижает потребность в рельсовых накладках. Такой вкладыш также является композиционным, но его электроизоляционная часть 4 помещена в центре вкладыша. В силу этого другая часть вкладыша разделена частью 4 на две крайние части 5.1 и 5.2, которые соединены (например, сварены, склеены и т.д.) с рельсами 2. Части 5.1 и 5.2 (вместе с 4) разделены зазором или соединены без зазора.
Соединение частей 5.1 и 5.2 с рельсами 2 (или их мерными кусками) может быть произведено сваркой в заводских условиях или в полевых условиях (т.е. по месту монтажа изостыка). В последнем случае может быть использована алюмотермитная сварка. В любом из вариантов соединение 8 должно быть высокопрочным и не искажать профиль рельса и вкладыша.
Для такого изготовления и конструкции вкладыша применимы те же материалы, что показаны для вкладыша, представленного на фиг.1, но это позволяет получить иной характер изменения градиента магнитных ( 1,  2) и физико-механических ( E1, Е2) свойств и, следовательно, получить иную закономерность расположения (скопления) металлических продуктов в зоне изостыка.
Достижение технического результата можно обеспечить также за счет повышения электроизоляции вкладыша в целом и в том числе за счет повышения износостойкости его поверхности катания. Для этого на части контура вкладыша или по всему его контуру наносят тонкий (до 10 мкм) слой электроизоляционного высокопрочного материала, например, оксида алюминия. Наличие такого слоя на поверхности катания вкладыша повысит его износостойкость и в том числе несущую способность. Наличие такого слоя на остальных участках вкладыша в том числе повышает его защиту от агрессивного воздействия окружающей среды.
Величины градиента магнитной проницаемости и градиента модуля упругости отражены на графиках, приведенных на фиг.1 и 2, из которых следует:
а) градиент может быть нулевым и постоянным по всей длине, но величина магнитной проницаемости и модуля упругости может быть иная, чем у материала рельса;
б) градиент может быть постоянным или переменным на конкретных участках длины вкладыша;
в) градиент может иметь экстремум;
г) градиент может быть положительным или отрицательным;
д) градиент может изменять величину магнитной проницаемости или модуля упругости плавно либо ступенчато, в том числе и разнонаправлено;
е) градиент модуля упругости может предусматривать по длине вкладыша участок, обладающий высокой эластичностью.
Эластичный участок вкладыша выполняет следующие функции:
а) при прокатывании колеса подвижного состава он упруго деформируется и затем принимает прежнюю форму, чем “стряхивает” металлические частицы и повышает технический результат;
б) при тепловых деформациях рельсов и действии сил угона рельсов, стремящихся выбрать рельсовый зазор, он упруго деформируется и снижает прирост внутренних напряжений во вкладыше и рельсах.
Для компенсации негативных последствий от воздействия температурных деформаций и действия сил угона рельсов, стремящихся уменьшить либо увеличить величину рельсового зазора, вкладыш может быть дополнительно снабжен упорами 8 торцевого либо замкового типа. Упоры 8 – это куски обычной рельсовой накладки (или иная форма), прикрепляемые к рельсу (к шейке рельса) типовым способом, т.е. через отверстия с помощью рельсового болта и гаек. Гайки целесообразно применять самотормозящиеся для того, чтобы исключить их подтягивание из-за действия вибраций. Упоры имеют мерную длину так, чтобы торец упора контактировал с торцем рельсовой накладки 3 по торцевой плоскости 9 либо по замковой плоскости 10. В первом случае будет обеспечена однонаправленная компенсация распорных усилий, во втором – разнонаправленная компенсация.
Формула изобретения
1. Вкладыш для изолирующего рельсового стыка, содержащий материал с малой магнитной проницаемостью, отличающийся тем, что в поперечном сечении имеет форму, аналогичную форме смежных стыкуемых рельсов, выполнен из композиционного материала с электроизоляционным слоем или слоями и с заданным по длине вкладыша градиентом магнитной проницаемости и модуля упругости.
2. Вкладыш по п.1, отличающийся тем, что выполнен монтируемым между концами смежных стыкуемых рельсов в виде готового блока.
3. Вкладыш по п.1, отличающийся тем, что градиент магнитной проницаемости задан из условия экстремального снижения магнитной проницаемости к центру длины вкладыша.
4. Вкладыш по п.3, отличающийся тем, что градиент задан из условия перепада в области электроизоляционного слоя или слоев.
5. Вкладыш по п.1, отличающийся тем, что градиент модуля упругости задан из условия экстремального снижения модуля упругости к центру длины вкладыша.
6. Вкладыш по п.5, отличающийся тем, что градиент задан из условия перепада в области электроизоляционного слоя или слоев.
7. Вкладыш по п.1, отличающийся тем, что дополнительно частично или полностью по контуру профиля покрыт композиционным электроизоляционным материалом.
8. Вкладыш по п.1, отличающийся тем, что в случае его установки в изолирующий стык вместе с изоляционными рельсовыми накладками он для поддержания зазора в рельсовом стыке дополнительно снабжен стопорами (упорами) для взаимодействия с торцами рельсовых накладок и рельсом.
9. Вкладыш по п.8, отличающийся тем, что взаимодействие с рельсом осуществлено посредством крепления к шейке рельса через отверстие в шейке с помощью рельсового болта и самотормозящейся гайки.
10. Вкладыш по п.8, отличающийся тем, что взаимодействие с торцами рельсовых накладок при компенсации однонаправленных распорных усилий, возникающих в результате температурных деформаций и сил угона рельса, выполнено торцевым.
11. Вкладыш по п.8, отличающийся тем, что взаимодействие с торцами рельсовых накладок для компенсации разнонаправленных распорных усилий, возникающих в результате температурных деформаций и сил угона рельса, выполнено замковым.
РИСУНКИ
MM4A – Досрочное прекращение действия патента СССР или патента Российской Федерации на изобретение из-за неуплаты в установленный срок пошлины за поддержание патента в силе
Дата прекращения действия патента: 10.09.2008
Извещение опубликовано: 27.07.2010 БИ: 21/2010
|