|
|
(21), (22) Заявка: 2005115806/02, 19.05.2005
(24) Дата начала отсчета срока действия патента:
19.05.2005
(43) Дата публикации заявки: 27.11.2006
(46) Опубликовано: 20.06.2007
(56) Список документов, цитированных в отчете о поиске:
ТЕРЕХОВ В.П. Вакуумно-дуговая очистка поверхности металлических изделий, Электрометаллургия, 2003, №12, с.22-27. SU 1055009 А, 23.10.1988. US 5141782 А, 25.08.1992. JP 56005982 А, 22.01.1981.
Адрес для переписки:
302035, г.Орел, ул. Октябрьская, 35, ООО “НТБ Искра”
|
(73) Патентообладатель(и):
Общество с ограниченной ответственностью Научно-технологическое бюро “НТБ Искра” (RU)
|
(54) СПОСОБ ОБРАБОТКИ МЕТАЛЛИЧЕСКИХ ИЗДЕЛИЙ
(57) Реферат:
Изобретение относится к области вакуумно-дуговой обработки металлических изделий перед нанесением покрытий и может быть использовано в металлургии, машиностроении и других отраслях. Способ включает вакуумно-дуговую очистку изделия – катода и нанесение покрытий. Перед нанесением покрытий вакуумно-дуговую очистку совмещают с одновременным полным или локальным оксидированием поверхностей, например, до желтого, синего, фиолетового, коричневого, черного цветов и/или оттенков и комбинаций цветов и оттенков. Во время обработки длинномерных изделий локальное оксидирование могут осуществлять в виде продольных и/или поперечных полос и участков. Режим оксидирования осуществляют за счет колебаний дуги или дуг и/или изменения, например увеличения, мощности дуги и/или мощности, выделяемой в изделии от прохождения по нему тока на участке от токоподвода от источника или источников питания дуги или дуг к изделию-катоду до электрической дуги или дуг. Техническим результатом изобретения является расширение технологических возможностей технологии вакуумно-дуговой обработки, повышение качества и расширение сортамента наносимых покрытий. 3 ил.
Изобретение относится к области вакуумно-дуговой обработки (ВДО) металлических изделий перед нанесением покрытий и может применяться в металлургии, машиностроении и других отраслях для обработки изделий различного сортамента: проволоки, ленты, прутов, труб и т.д.
Вакуумно-дуговая очистка изделия – катода позволяет достигать принципиально нового уровня свойств изделий и высокого качества наносимых покрытий (см., например, журнал “Технология металлов”, 2003, №12, с.5-6 “Эффективность вакуумно-дуговой очистки проволоки”).
Известно так же явление оксидирования поверхности изделий при вакуумно-дуговой очистке (журнал “Сварочное производство”, 1987 г., №11, с.23-24).
Недостатком технологии вакуумно-дуговой очистки является отсутствие оксидирования очищенной поверхности перед нанесением покрытий.
Основные закономерности вакуумно-дуговой очистки описаны, например, в статье Терехова В.П. Вакуумно-дуговая очистка поверхности металлических изделий. Электрометаллургия, 2003, №12, с.22-27.
Задачей изобретения является расширение технологических возможностей технологии ВДО, повышение качества и расширение сортамента наносимых покрытий.
Задача достигается за счет совмещения очистки и оксидирования перед нанесением покрытий (покрытия).
При этом способ обработки металлических изделий, являющихся катодом, включающий их вакуумно-дуговую очистку и нанесение покрытий (покрытия), отличается тем, что перед нанесением покрытий вакуумно-дуговую очистку совмещают с одновременным полным или локальным оксидированием поверхностей, например, до желтого, синего, фиолетового, коричневого, черного цветов и(или) оттенков и комбинаций цветов и оттенков, при этом, например, при обработке длинномерных изделий локальное оксидирование осуществляют, например, в виде продольных и(или) поперечных полос и участков, а режим оксидирования осуществляют, например, за счет колебаний дуги(дуг) и(или) изменения, например, увеличения мощности дуги и(или) мощности, выделяемой в изделии от прохождения по нему тока на участке от токоподвода от источника(источников) питания дуги(дуг) к изделию-катоду до электрической дуги(дуг).
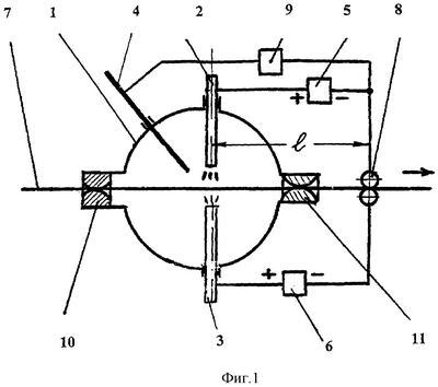
Сущность изобретения поясняется чертежами, где на фиг.1 изображена схема процесса очистки и оксидирования, на фиг.2 изображено схематическое изображение оксидированных изделий при локальной продольной обработке, на фиг.3 показаны схемы поперечного оксидирования продольный изделий.
Устройство по фиг.1 состоит из вакуумной камеры 1, снабженной электродами 2 и 3, для очистки и оксидирования, 4 – электрод для возбуждения дуги, 5, 6 – источники питания дуг, 7 – изделие, 8 – токоподвод к изделию, 9 – дополнительный источник питания электрода 4. Вакуумная камера 1 снабжена шлюзовыми узлами 10 и 11 для ввода и вывода изделия из камеры.
При работе устройства между электродами 2 и 3 возбуждаются электрические дуги, которые очищают изделие и одновременно нагревают. Кроме того, нагрев изделия проходящими по нему токами происходит на участке l от токоподвода до электрических дуг.
Если токоподвод 8 удалять или приближать от электрода, то будет сильней или слабей нагрев изделия от тока.
При привышении мощности дуг и(или) мощности, выделяемой в изделии от тока можно менять температуру изделия и, следовательно, подвергать при необходимости оксидированию (окислению).
Кроме того, можно придавать дуге(дугам) колебательный режим, при этом будет изменяться мощность, выделяемая в изделии и, собственно, будет меняться температура и режим оксидирования.
Колебательный режим дуги по заданной программе можно, например, осуществлять магнитным полем.
Кроме того, в экспериментах получали продольное локальное оксидирование коричневатого (бурого) цвета при обработке дугой уже очищенной проволоки.
При этом сторона проволоки, которая оппозитная той, на которой горела дуга, становится бурого цвета.
Формула изобретения
Способ обработки металлических изделий, включающий вакуумно-дуговую очистку изделия – катода и нанесение покрытий или покрытия, отличающийся тем, что перед нанесением покрытий вакуумно-дуговую очистку совмещают с одновременным полным или локальным оксидированием поверхностей, например, до желтого, синего, фиолетового, коричневого, черного цветов и/или оттенков и комбинаций цветов и оттенков, при этом при обработке длинномерных изделий локальное оксидирование осуществляют, например, в виде продольных и/или поперечных полос и участков, а режим оксидирования осуществляют, например, за счет колебаний дуги или дуг и/или изменения, например увеличения, мощности дуги и/или мощности, выделяемой в изделии от прохождения по нему тока на участке от токоподвода от источника или источников питания дуги или дуг к изделию – катоду до электрической дуги или дуг.
РИСУНКИ
MM4A – Досрочное прекращение действия патента СССР или патента Российской Федерации на изобретение из-за неуплаты в установленный срок пошлины за поддержание патента в силе
Дата прекращения действия патента: 20.05.2007
Извещение опубликовано: 27.07.2008 БИ: 21/2008
NF4A – Восстановление действия патента СССР или патента Российской Федерации на изобретение
Дата, с которой действие патента восстановлено: 20.08.2008
Извещение опубликовано: 20.08.2008 БИ: 23/2008
MM4A – Досрочное прекращение действия патента СССР или патента Российской Федерации на изобретение из-за неуплаты в установленный срок пошлины за поддержание патента в силе
Дата прекращения действия патента: 20.05.2009
Извещение опубликовано: 10.05.2010 БИ: 13/2010
NF4A – Восстановление действия патента СССР или патента Российской Федерации на изобретение
Дата, с которой действие патента восстановлено: 10.05.2010
Извещение опубликовано: 10.05.2010 БИ: 13/2010
|
|