|
|
(21), (22) Заявка: 2005131453/02, 10.10.2005
(24) Дата начала отсчета срока действия патента:
10.10.2005
(30) Конвенционный приоритет:
28.02.2005 UA A 200501793
(46) Опубликовано: 20.06.2007
(56) Список документов, цитированных в отчете о поиске:
SU 1014897 А, 30.04.1983. RU 5589 U1, 16.12.1997. SU 603663 A1, 25.04.1978. SU 1425206 A1, 23.09.1988. DE 10035830 A, 07.02.2002. JP 57068565 A, 26.04.1982.
Адрес для переписки:
61166, Ураина, г. Харьков-166 , пр-т Ленина, 9, УкрГНТЦ “Энергосталь”, ген.директору Д.В.Сталинскому
|
(72) Автор(ы):
Сталинский Дмитрий Витальевич (UA), Китченко Владимир Константинович (UA), Ботштейн Владимир Абрамович (UA), Чепига Владимир Максимович (UA), Головатюк Геннадий Михайлович (UA)
(73) Патентообладатель(и):
Украинский государственный научно-технический центр по технологии и оборудованию, обработке металлов, защите окружающей среды и использованию вторичных ресурсов для металлургии и машиностроения “Энергосталь” (УкрГНТЦ “Энергосталь”) (UA)
|
(54) СИСТЕМА ВОДЯНОГО ОХЛАЖДЕНИЯ ДОМЕННОЙ ПЕЧИ
(57) Реферат:
Изобретение относится к области металлургии, в частности к охлаждению доменных печей. Система содержит по меньшей мере две вертикальные секции охлаждения, каждая из которых оборудована сборным коллектором нижней зоны охлаждения и сборным коллектором верхней зоны охлаждения. Сборный коллектор нижней зоны охлаждения соединен напорным трубопроводом с подводящим коллектором верхней зоны охлаждения, а сборный коллектор верхней зоны охлаждения соединен отводящим магистральным трубопроводом и циркуляционными насосами с подводящим магистральным трубопроводом. Система также оборудована расширительным баком, теплообменником, устройством для ввода воды, устройством для создания повышенного давления газа в расширительном баке. Использование изобретения обеспечивает повышение эффективности охлаждения печи и упрощение конструкции. 2 з.п. ф-лы, 1 ил.
Изобретение относится к металлургии железа и может быть использовано для охлаждения доменных печей.
Известно устройство водяного охлаждения доменной печи, содержащее нижнюю и верхнюю зоны охлаждения с охлаждаемыми элементами, распределительные коллекторы, трубопроводы подвода и отвода воды, насосы, сборный резервуар и охладители, соединенные между собой трубопроводами. Сборный резервуар оборудован трубопроводом, который соединен с ним обоими концами и содержит встроенные в него фильтр и насос, а охладители выполнены в виде поверхностных теплообменников (А.с. СССР №603363, МПК2 С21В 7/10, 1978). Нагретая в охлаждаемых элементах вода сливается в открытые воронки и по трубопроводам поступает в сборный резервуар нагретой воды, из которого насосами подается в поверхностные теплообменники. Охлажденная вода насосами подается снова на доменную печь в нижнюю зону охлаждения. Вода в сборном резервуаре очищается путем пропускания ее через встроенный в трубопровод фильтр, а шлам отводят в канализацию. Расход воды в системе пополняется устройствами пополнения воды.
У заявляемой системы водяного охлаждения доменной печи и аналога совпадают такие существенные признаки. Обе системы содержат нижнюю и верхнюю зоны охлаждения с охлаждаемыми элементами, распределительные коллекторы, трубопроводы подвода и отвода воды и насосы.
Получению ожидаемого технического результата при использовании аналога препятствуют такие причины. Выполнение системы охлаждения охлаждаемых элементов доменной печи в виде единой вертикальной секции, а также использование сливных воронок, сборного резервуара для нагретой воды, поверхностных теплообменников и фильтров для очистки воды усложняет конструкцию системы охлаждения. Кроме того, такая система не обеспечивает в процессе охлаждения доменной печи поддержки оптимального давления охлаждаемой воды в охлаждаемых элементах доменной печи, а также на входе циркуляционных насосов.
Наиболее близким по совокупности признаков к заявляемому изобретению является выбранное как прототип устройство для охлаждения доменной печи (А.с. СССР №1014897, МПК3 С21В 7/10, 1983). Известное устройство содержит нижнюю и верхнюю зоны охлаждения с охлаждаемыми элементами, подводящие трубопроводы, подводящий магистральный трубопровод, подводящие коллекторы нижней и верхней зоны охлаждения, отводящие трубопроводы нижней и верхней зоны охлаждения, отводящий магистральный трубопровод и циркуляционные насосы. Каждая зона охлаждения оборудована сборной воронкой и гидроколонной, соединенными между собой трубопроводами. Гидроколонны соединены с циркуляционными насосами. Насос, соединенный с гидроколонной нижней зоны, установлен в трубопровод подачи воды на вход верхней зоны. Насос, соединенный с гидроколонной верхней зоны, установлен в трубопровод, который присоединен к заводской сети оборотного водоснабжения. Гидроколонны оборудованы поплавками реле, связанными с задвижками насосов. Высота гидроколонн на 0,5÷1,0 м выше высоты отводящих трубопроводов соответствующих зон охлаждения.
У заявляемой системы водяного охлаждения доменной печи и выбранного прототипа совпадают такие существенные признаки. Обе системы содержат нижнюю и верхнюю зоны охлаждения с охлаждаемыми элементами, подводящие трубопроводы, подводящий магистральный трубопровод, подводящие коллекторы нижней и верхней зоны охлаждения, отводящие трубопроводы нижней и верхней зоны охлаждения, отводящий магистральный трубопровод и циркуляционные насосы.
Анализ технических свойств прототипа, которые обусловлены его признаками, показывает, что получению ожидаемого технического результата при его использовании препятствуют следующие причины.
Выполнение системы охлаждения охлаждаемых элементов доменной печи как единой вертикальной секции охлаждения с кольцевыми трубопроводами для нижней и верхней зоны охлаждения, а также использование сливных воронок, высоких гидроколонн нижней и верхней зон охлаждения, дополнительного насоса, соединенного с гидроколонной нижней зоны и установленного в трубопровод подачи воды на вход верхней зоны, и присоединение гидроколонны верхней зоны к заводской сети оборотного водоснабжения технической водой усложняет конструкцию системы охлаждения доменной печи. Отсутствие закрытого замкнутого контура для охлаждающей воды не позволяет использовать для охлаждения доменной печи химически очищенную воду, что снижает эффективность охлаждения из-за образования при охлаждении технической водой низкотеплопроводных отложений на стенках охлаждаемых элементов.
В основу изобретения поставлена техническая задача создать такую систему водяного охлаждения доменной печи, в которой усовершенствования путем введения новых элементов и новых связей между элементами позволили бы при использовании изобретения обеспечить достижение технического результата, заключающегося в повышении эффективности охлаждения доменной печи и упрощении конструкции системы водяного охлаждения.
Заявляемая система водяного охлаждения доменной печи характеризуется такими существенными признаками, достаточными для достижения ожидаемого технического результата. Система содержит нижнюю и верхнюю зоны охлаждения с охлаждаемыми элементами, подводящие трубопроводы, подводящий магистральный трубопровод, подводящие коллекторы нижней и верхней зоны охлаждения, отводящие трубопроводы нижней и верхней зоны охлаждения, отводящий магистральный трубопровод и циркуляционные насосы. Заявляемая система водяного охлаждения доменной печи содержит, по меньшей мере, две вертикальные секции охлаждения. Каждая вертикальная секция охлаждения оборудована сборным коллектором нижней зоны охлаждения и сборным коллектором верхней зоны охлаждения. Сборный коллектор нижней зоны охлаждения соединен напорным трубопроводом с подводящим коллектором верхней зоны охлаждения, а сборный коллектор верхней зоны охлаждения соединен отводящим магистральным трубопроводом и циркуляционными насосами с подводящим магистральным трубопроводом. На отводящем магистральном трубопроводе установлен теплообменник для охлаждения воды, которая возвращается в подводящий магистральный трубопровод. Кроме того, система оборудована расширительным баком, который расположен выше сборных коллекторов верхней зоны охлаждения и соединен с отводящим магистральным трубопроводом. Система также оборудована устройством для ввода воды, содержащим параллельно установленные насос и клапан, которые соединены с источником воды и всасывающими коллекторами циркуляционных насосов и электроавтоматикой соединены с датчиком уровня воды в расширительном баке. Система также оборудована устройством для создания повышенного давления газа в расширительном баке.
В отдельных случаях использования заявляемая система водяного охлаждения доменной печи характеризуется тем, что:
– она содержит четыре вертикальные секции охлаждения;
– устройство для создания повышенного давления газа содержит клапан, который соединен с источником газа и с расширительным баком и электроавтоматикой соединен с датчиком давления газа в расширительном баке.
При использовании изобретения обеспечивается достижение технического результата, который заключается в повышении эффективности охлаждения доменной печи и упрощении конструкции системы водяного охлаждения.
Между существенными признаками заявляемой системы водяного охлаждения доменной печи и достигаемым техническим результатом существует такая причинно-следственная связь. Наличие в системе охлаждения охлаждаемых элементов доменной печи не одной вертикальной секции охлаждения, а, по меньшей мере, двух аналогичных вертикальных секций охлаждения, каждая из которых оборудована сборным коллектором нижней зоны охлаждения и сборным коллектором верхней зоны охлаждения и при этом сборный коллектор нижней зоны охлаждения соединен напорным трубопроводом с подводящим коллектором верхней зоны охлаждения, а сборный коллектор верхней зоны охлаждения соединен отводящим магистральным трубопроводом и циркуляционными насосами с подводящим магистральным трубопроводом, и установка на отводящем магистральном трубопроводе теплообменника для охлаждения воды, которая возвращается в подводящий магистральный трубопровод, позволяет создать, по меньшей мере, два закрытых замкнутых контура для охлаждающей воды, совместно охлаждающих доменную печь по высоте с двух противоположных сторон. Оборудование системы расширительным баком, который расположен выше сборных коллекторов верхней зоны охлаждения и соединен с отводящим магистральным трубопроводом, устройством для создания повышенного давления газа в расширительном баке, устройством для ввода в систему воды, которое содержит параллельно установленные насос и клапан, соединенные с источником воды и всасывающими коллекторами циркуляционных насосов и электроавтоматикой соединены с датчиком уровня воды в расширительном баке, позволяет обеспечить оптимальное давление в каждом замкнутом контуре системы охлаждения доменной печи, а также на входе циркуляционных насосов и поддерживать его на заданном уровне в процессе охлаждения доменной печи. Подача воды под давлением в расширительном баке на вход циркуляционных насосов позволяет им, наращивая свой напор, полностью использовать давление воды. Создание закрытых замкнутых контуров для охлаждающей воды позволяет использовать для охлаждения доменной печи химически очищенную воду, что повышает эффективность охлаждения путем предотвращения образования низкотеплопроводных отложений на стенках охлаждаемых элементов доменной печи. Выполнение системы охлаждения охлаждаемых элементов доменной печи, по меньшей мере, из двух вертикальных секций охлаждения и обеспечение в процессе охлаждения доменной печи оптимального давления в каждом замкнутом контуре охлаждения и на входе циркуляционных насосов без использования системы сливных воронок с гидроколоннами и соединенных с ними насосов упрощает конструкцию системы охлаждения доменной печи.
Оптимальным является выполнение системы охлаждения охлаждаемых элементов доменной печи из четырех аналогичных вертикальных секций охлаждения, так как при упрощении конструкции каждой отдельной секции упрощается конструкция всей системы водяного охлаждения, в которой четыре отдельные вертикальные секции аналогичной конструкции совместно охватывают доменную печь по высоте с четырех противоположных сторон.
Оснащение устройства для создания повышенного давления газа в расширительном баке клапаном, который соединен с источником газа и с расширительным баком и электроавтоматикой соединен с датчиком давления газа в расширительном баке, обеспечивает в процессе охлаждения доменной печи поддержание оптимального давления охлаждающей воды в охлаждаемых элементах доменной печи, а также на входе циркуляционных насосов.
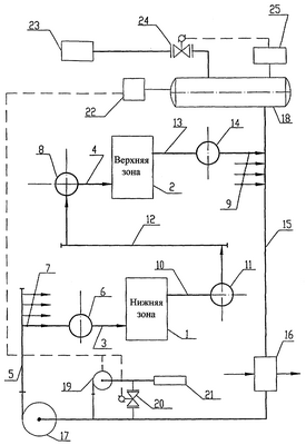
Сущность изобретения поясняется графическим материалом, на котором изображена принципиальная схема системы водяного охлаждения доменной печи с изображением одной из четырех вертикальных секций.
На представленной принципиальной схеме системы водяного охлаждения доменной печи позициями обозначены такие элементы:
1 – нижняя зона охлаждения;
2 – верхняя зона охлаждения;
3 – подводящие трубопроводы;
4 – подводящие трубопроводы;
5 – подводящий магистральный трубопровод;
6 – подводящий коллектор;
7 – стояки;
8 – подводящий коллектор;
9 – стояки;
10 – отводящие трубопроводы;
11 – сборный коллектор;
12 – напорный трубопровод;
13 – отводящие трубопроводы;
14 – сборный коллектор;
15 – отводящий магистральный трубопровод;
16 – теплообменник;
17 – циркуляционный насос;
18 – расширительный бак;
19 – насос;
20 – клапан;
21 – источник воды;
22 – датчик уровня воды;
23 – источник газа;
24 – клапан;
25 – датчик давления газа.
В конкретном примере выполнения заявляемая система водяного охлаждения доменной печи содержит четыре отдельные вертикальные секции охлаждения аналогичной конструкции, которые совместно охватывают доменную печь по высоте с четырех противоположных сторон. Каждая вертикальная секция системы охлаждения содержит нижнюю зону охлаждения 1 и верхнюю зону охлаждения 2 с охлаждаемыми элементами, которые соответственно присоединены к подводящим трубопроводам 3 и 4. Охлаждающая вода подводится в систему по общему для всех четырех секций подводящему магистральному трубопроводу 5. Охлаждаемые элементы нижней зоны охлаждения 1 присоединены подводящими трубопроводами 3 к подводящему коллектору 6. Подводящий магистральный трубопровод 5 соединен с подводящими коллекторами каждой из четырех вертикальных секций стояками 7. Подводящий коллектор 6 данной вертикальной секции охлаждения соединен с подводящим магистральным трубопроводом 5 стояком 7. Охлаждаемые элементы верхней зоны охлаждения 2 присоединены подводящими трубопроводами 4 к подводящему коллектору 8. Для отвода нагретой воды из четырех вертикальных секций охлаждения в отводящий магистральный трубопровод установлены стояки 9. Для отвода нагретой воды от охлаждаемых элементов нижней зоны охлаждения 1 установлены отводящие трубопроводы 10, которые соединены со сборным коллектором 11. Сборный коллектор 11 напорным трубопроводом 12 соединен с подводящим коллектором 8 верхней зоны охлаждения 2. Для отвода нагретой воды от охлаждаемых элементов верхней зоны охлаждения 2 установлены отводящие трубопроводы 13, соединенные со сборным коллектором 14. Сборный коллектор 14 стояком 9 соединен с отводящим магистральным трубопроводом 15, на котором установлен теплообменник 16 для охлаждения воды, которая возвращается в подводящий магистральный трубопровод. Отводящий магистральный трубопровод 15 соединен циркуляционным насосом 17 с подводящим магистральным трубопроводом 5 для образования замкнутого контура охлаждения в каждой вертикальной секции. Система охлаждения оборудована расширительным баком 18, расположенным выше сборных коллекторов 14 верхней зоны охлаждения 2 и соединенным с отводящим магистральным трубопроводом 15. Кроме того, система водяного охлаждения доменной печи оборудована устройством для ввода воды в систему охлаждения, которое содержит параллельно установленные насос 19 и клапан 20, соединенные с источником воды 21, и всасывающими коллекторами циркуляционных насосов 17 и электроавтоматикой связаны с датчиком уровня воды 22 в расширительном баке 18. Система охлаждения также оборудована устройством для создания повышенного давления газа в расширительном баке 18. Для создания повышенного давления газа использован азот. Источник газа 23 соединен с клапаном 24, который электроавтоматикой связан с датчиком давления газа 25 в расширительном баке 18 и соединен с расширительным баком для подключения его к источнику газа 23.
Охлаждение доменной печи с использованием заявляемой системы водяного охлаждения осуществляется следующим образом. Сначала система охлаждения при открытом воздушном клапане на расширительном баке 18 заполняется через клапан 20 устройства для ввода воды химически очищенной водой от источника воды 21. После достижения заданного уровня воды в расширительном баке 18 по сигналу датчика уровня воды 22 клапан 20 закрывается, и в расширительном баке 18, после его продувки азотом, создают необходимое избыточное давление азота, подавая его от источника газа 23 через клапан 24. Далее, после достижения оптимального давления охлаждающей воды в охлаждаемых элементах доменной печи, а также на входе циркуляционных насосов, включают циркуляционные насосы 17. Подача воды под давлением на вход циркуляционных насосов 17 позволяет им, наращивая свой напор, полностью использовать давление воды. Охлаждающая вода от общего для всех четырех вертикальных секций охлаждения подводящего магистрального трубопровода 5 по стоякам 7, подводящим коллекторам 6 и подводящим трубопроводам 3 подается в охлаждаемые элементы нижней зоны охлаждения 1. После прохождения нижней зоны охлаждения 1 нагретая на 3°С вода по отводящим трубопроводам 10 поступает в сборные коллекторы 11. Далее от сборного коллектора 11 соответствующей вертикальной секции охлаждающая вода по напорному трубопроводу 12, подводящему коллектору 8 и подводящим трубопроводам 4 подается в охлаждаемые элементы верхней зоны охлаждения 2. После прохождения верхней зоны охлаждения 2 нагретая на 7°С вода по отводящим трубопроводам 13 поступает в сборные коллекторы 14, из которых по стоякам 9 поступает в отводящий магистральный трубопровод 15, на котором установлен теплообменник 16. Охлажденная в теплообменнике 16 вода через циркуляционные насосы 17 снова поступает в подводящий магистральный трубопровод 5 на новый цикл охлаждения доменной печи. Использование для охлаждения охлаждаемых элементов доменной печи химически очищенной воды повышает эффективность охлаждения путем предотвращения образования низкотеплопроводных отложений на стенках охлаждаемых элементах доменной печи.
Если в процессе охлаждения доменной печи уровень воды в расширительном баке 18 снижается до первого рабочего уровня, то по команде датчика уровня воды 22 открывается клапан 20, и система пополняется водой от источника воды 21. Когда уровень воды в расширительном баке 18 снижается до второго рабочего уровня, то по команде датчика уровня воды 22 включается насос 19, и система пополняется водой от источника воды 21 до восстановления заданного уровня. Подпитка системы водой осуществляется во всасывающий коллектор циркуляционного насоса 17, а не в расширительный бак 18, что также упрощает конструкцию системы и ее эксплуатацию. Необходимое избыточное давление азота в расширительном баке 18 поддерживают, подавая азот от источника газа 23 в расширительный бак через клапан 24 по команде датчика давления газа 25.
Использование заявляемой системы водяного охлаждения доменной печи позволяет при упрощении конструкции системы повысить эффективность охлаждения доменной печи.
Формула изобретения
1. Система водяного охлаждения доменной печи, содержащая нижнюю и верхнюю зоны охлаждения с охлаждаемыми элементами, подводящие трубопроводы, подводящий магистральный трубопровод, подводящие коллекторы нижней и верхней зон охлаждения, отводящие трубопроводы нижней и верхней зон охлаждения, отводящий магистральный трубопровод и циркуляционные насосы, отличающаяся тем, что она содержит по меньшей мере две вертикальные секции охлаждения, каждая из которых оборудована сборным коллектором нижней зоны охлаждения и сборным коллектором верхней зоны охлаждения, при этом сборный коллектор нижней зоны охлаждения соединен напорным трубопроводом с подводящим коллектором верхней зоны охлаждения, а сборный коллектор верхней зоны охлаждения соединен отводящим магистральным трубопроводом и циркуляционными насосами с подводящим магистральным трубопроводом, система также оборудована расширительным баком, который расположен выше сборных коллекторов верхней зоны охлаждения и соединен с отводящим магистральным трубопроводом, теплообменником, который установлен на отводящем магистральном трубопроводе, устройством для ввода воды, содержащим параллельно установленные насос и клапан, которые соединены с источником воды и всасывающими коллекторами циркуляционных насосов и электроавтоматикой соединены с датчиком уровня воды в расширительном баке, устройством для создания повышенного давления газа в расширительном баке.
2. Система по п.1, отличающаяся тем, что она содержит четыре вертикальные секции охлаждения.
3. Система по любому из пп.1 и 2, отличающаяся тем, что устройство для создания повышенного давления газа содержит клапан, который соединен с источником газа и с расширительным баком и электроавтоматикой соединен с датчиком давления газа в расширительном баке.
РИСУНКИ
|
|