|
|
(21), (22) Заявка: 2005120151/02, 20.11.2003
(24) Дата начала отсчета срока действия патента:
20.11.2003
(30) Конвенционный приоритет:
25.11.2002 EP 02026157.4
(43) Дата публикации заявки: 20.02.2006
(46) Опубликовано: 20.06.2007
(56) Список документов, цитированных в отчете о поиске:
DE 4032518 А, 30.01.1992. US 4494971 A, 22.01.1985. RU 2103233 C1, 27.01.1998. SU 1273341 А1, 30.11.1986. SU 1604771 А1,07.11.1990.
(85) Дата перевода заявки PCT на национальную фазу:
27.06.2005
(86) Заявка PCT:
EP 03/50855 (20.11.2003)
(87) Публикация PCT:
WO 2004/048617 (10.06.2004)
Адрес для переписки:
101000, Москва, М.Златоустинский пер., 10, кв.15, “ЕВРОМАРКПАТ”, пат.пов. И.А.Веселицкой, рег. № 11
|
(72) Автор(ы):
ЛЕЙЗЕР Патрик (LU), КОРТИНА Кристиан (LU), КЕРШЕНМЕЙЕР Ги (LU)
(73) Патентообладатель(и):
ПОЛЬ ВУРТ С.А. (LU)
|
(54) СТРУЙНАЯ ГОЛОВКА ДЛЯ ГРАНУЛЯЦИОННОЙ УСТАНОВКИ
(57) Реферат:
Изобретение относится к области металлургии, конкретно к грануляционному устройству для грануляции жидкого расплава. Струйная головка содержит щелевое сопло с цилиндрическим регулирующим элементом, которое выполнено с поперечным сечением в виде овала. Регулирующий элемент расположен примерно посередине между ограничивающими сопловой канал нижней и верхней поверхностями, при этом он снизу и сверху от себя регулирует в сопловом канале ширину сопловых щелей путем поворота вокруг своей центральной оси. Использование изобретения обеспечивает уменьшение износа регулирующего элемента и стабильность регулирования. 9 з.п. ф-лы, 4 ил.
Настоящее изобретение относится к струйной головке для грануляционной установки.
Уровень техники
При грануляции доменного шлака на поток жидкого шлака, когда он стекает по шлаковому желобу в бункер грануляционной установки, с помощью струйной головки (которая в установках грануляции шлака называется также гранулятором) направляют струи охлаждающей воды. При этом жидкий шлак за счет его резкого охлаждения струями воды дробится на гранулы и в таком виде застывает.
Для грануляции одной тонны доменного шлака обычно требуется от 4 до 12 м3 гранулирующей воды. Следовательно, расход гранулирующей воды через струйную головку при грануляции шлака больших доменных печей составляет от 1000 до 4000 м3/ч. Наряду с расходом гранулирующей воды на качество получаемого гранулированного шлака в решающей степени влияют помимо прочего напор и форма водяных струй, ударяющих в поток жидкого шлака. Эти параметры в основном определяются особенностями струйной головки.
При грануляции шлака его расход непостоянен. Поэтому для экономически эффективной грануляции шлака и получения гранулированного шлака постоянно высокого качества расход гранулирующей воды при неизменном ее давлении необходимо согласовывать с расходом шлака.
Для решения этой задачи в DE 4032518 С1 была предложена струйная головка с дырчатой плитой, в которой выполнены сопловые отверстия, и с щелевым соплом с регулируемым проходным сечением. Это щелевое сопло имеет две поворачиваемые во взаимно противоположных направлениях поворотные заслонки, образующие между собой сопловую щель регулируемой ширины. Продольная сторона каждой такой поворотной заслонки выполнена скругленной формы в виде вала и с возможностью поворота вставлена в цилиндрическое опорное углубление, проходящее в ограничивающей прямоугольный сопловой канал нижней, соответственно верхней поверхности, перпендикулярно направлению потока воды. Другая продольная кромка каждой поворотной заслонки образует в этом сопловом канале нижнюю, соответственно верхнюю кромку сопловой щели. Путем поворота обеих эксцентрично установленных поворотных заслонок во взаимно противоположных направлениях можно изменять расстояние между обеими кромками, т.е. уменьшать или увеличивать ширину сопловой щели. Вне соплового канала обе поворотные заслонки соединены с механизмом их поворота во взаимно противоположных направлениях с приводом от электродвигателя.
Однако описанная в DE 4032518 С1 струйная головка обладает некоторыми недостатками. Так, например, необходимо использовать сравнительно мощные механизмы поворота поворотных заслонок во взаимно противоположных направлениях и мощный электродвигатель, поскольку поток воды создает значительные, действующие на обе поворотные заслонки моменты сил. Помимо этого описанное в указанной публикации щелевое сопло не обладает необходимой износостойкостью. Во многих установках грануляции шлака в гранулирующей воде, поскольку она циркулирует в замкнутом контуре, фактически присутствуют большие количества переносимого ею шлакового песка. Специалистам в данной области техники хорошо известны высокие абразивные свойства подобной водно-песчаной смеси. В известном из DE 4032518 С1 щелевом сопле интенсивному абразивному износу под действием этой водно-песчаной смеси подвержены прежде всего обе ограничивающие щелевое сопло кромки, которые поэтому относительно быстро изнашиваются. Подобный износ ограничивающих щелевое сопло кромок приводит к ухудшению точности его регулировочной характеристики. Помимо этого мелкозернистый шлаковый песок может проникать в опорные углубления, в которые вставлены поворотные заслонки, которые в результате при определенных условиях могут заблокироваться.
Задача изобретения
Исходя из вышеизложенного, в основу настоящего изобретения была положена задача разработать простую в управлении, требующую минимального обслуживания и помимо этого обладающую стабильной регулировочной характеристикой струйную головку с регулируемым щелевым соплом для применения в грануляционной установке. Указанная задача решается согласно изобретению с помощью струйной головки, отличительные признаки которой представлены в п.1 формулы изобретения.
Краткое описание изобретения
Предлагаемая в изобретении струйная головка имеет по меньшей мере одно регулируемое щелевое сопло, в котором установлен регулирующий элемент, выполненный в виде цилиндрического элемента с овальным поперечным сечением и центральной осью. Такой регулирующий элемент расположен примерно по середине между ограничивающими сопловой канал нижней и верхней поверхностями с возможностью поворота вокруг своей центральной оси, ограничивая снизу и сверху от себя по сопловой щели с регулируемой путем простого поворота этого регулирующего элемента вокруг его центральной оси шириной. Регулируемое щелевое сопло подобной конструкции требует лишь минимального обслуживания даже при эксплуатации в тяжелых условиях (обусловленных, например, присутствием абразивного песка в гранулирующей воде) и вместе с тем обеспечивает сохранение точной регулировочной характеристики на протяжении исключительно длительного периода его эксплуатации. В этом отношении необходимо особо отметить, что регулирующий элемент, имеющий форму овального цилиндра, не имеет “слабых мест”, в которых мог бы наблюдаться особо интенсивный эрозионный износ регулирующего элемента под действием присутствующего в гранулирующей воде песка. Помимо этого обтекание регулирующего элемента, выполненного в форме овального цилиндра, потоком воды происходит практически без образования в нем локальных завихрений, которые могли бы усилить абразивное воздействие шлакового песка на регулирующий элемент. Поэтому регулирующий элемент в форме овального цилиндра можно исключительно долго эксплуатировать даже при высоком содержании песка в гранулирующей воде без существенного ухудшения регулировочной характеристики щелевого сопла. Помимо этого благодаря расположению регулирующего элемента в сопловом канале по его центру исключается накопление мелкого песка в пазах или щелях и обусловленное этим ухудшение работоспособности щелевого сопла. Следует также отметить, что поток воды создает лишь небольшой момент силы, приложенный к регулирующему элементу, поворачиваемому вокруг его центральной оси. Поэтому для установки регулирующего элемента в определенное угловое положение к нему требуется прикладывать лишь небольшие моменты сил, для чего вполне достаточно использовать маломощные приводы.
С целью обеспечить эффективную регулировочную характеристику и уменьшить износ регулирующего элемента отношение длины малой оси к длине большой оси овала, форму которого в поперечном сечении имеет регулирующий элемент, предпочтительно должно составлять от 0,50 до 0,95.
Высота прямоугольного поперечного сечения соплового канала предпочтительно должна на несколько миллиметров превышать длину большой оси овала, форму которого в поперечном сечении имеет регулирующий элемент. Соблюдение этого условия позволяет, например, исключить блокировку регулирующего элемента в закрытом положении из-за его деформаций и/или деформаций соплового канала.
В одном из предпочтительных вариантов регулирующий элемент на каждом из двух своих концов имеет по опорной цапфе, которая выступает сбоку из соплового канала и которая вне соплового канала установлена в подшипниках с возможностью поворота в них. Использование при этом простого рычажного привода позволяет преобразовывать возвратно-поступательное движение выходного приводного звена этого привода в поворотное движение регулирующего элемента вокруг его центральной оси. Поскольку для поворота регулирующего элемента к нему требуется прикладывать лишь небольшие перестановочные моменты, в качестве привода возвратно-поступательного действия в предпочтительном варианте может использоваться сравнительно маломощный линейный электропривод, позволяющий наиболее простым путем устанавливать регулирующий элемент в требуемое угловое положение.
Согласно еще одному предпочтительному варианту, регулирующий элемент по меньшей мере на одном своем конце имеет уплотнительный фланец, который имеет форму круглого цилиндра и который вставлен в соответствующее круглое отверстие в боковой стенке щелевого сопла и уплотнен кольцом круглого сечения в этом круглом отверстии. Такое круглое отверстие должно при этом иметь достаточно большой диаметр для того, чтобы регулирующий элемент для возможности его сравнительно простой замены можно было его осевым перемещением вставить через это отверстие в сопловой канал и извлечь из него.
Поверхность регулирующего элемента, а также ограничивающие сопловой канал нижнюю и верхнюю поверхности предпочтительно снабжать наносимым на них плазменным напылением покрытием, которое дополнительно повышает их износостойкость. Подобное покрытие благодаря простой, выпуклой форме поверхности регулирующего элемента, на которую оно нанесено, обладает особо высокой долговечностью.
Предлагаемая в изобретении струйная головка может содержать далее водяной бак, с передней стороны которого расположено щелевое сопло, и дырчатую плиту с сопловыми отверстиями, которая также расположена с передней стороны водяного бака над и/или под щелевым соплом.
Струйную головку при подаче в нее гранулирующей воды насосной установкой предпочтительно оснащать регулятором давления гранулирующей воды, в регулирующий контур которого щелевое сопло включено в качестве исполнительного звена. При подаче же гранулирующей воды в струйную головку из водонапорного резервуара ее предпочтительно оснащать регулятором расхода гранулирующей воды, в регулирующий контур которого щелевое сопло включено в качестве исполнительного звена.
Необходимо также отметить, что предлагаемую в изобретении струйную головку наиболее предпочтительно использовать в грануляционных установках с высоким расходом воды, таких, например, как установки грануляции доменного шлака.
Краткое описание чертежей
Ниже изобретение более подробно рассмотрено на примере предпочтительного варианта его осуществления со ссылкой на прилагаемые чертежи, на которых показано:
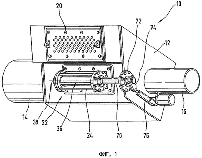
на фиг.1 – вид в аксонометрии предлагаемой в изобретении струйной головки;
на фиг.2 – разрез показанной на фиг.1 струйной головки плоскостью 2-2, изображенной на фиг.3;
на фиг.3 – разрез показанной на фиг.1 струйной головки плоскостью 3-3, изображенной на фиг.2, и
на фиг.4 – диаграмма, иллюстрирующая регулировочную характеристику щелевого сопла в предлагаемой в изобретении струйной головке.
Описание предпочтительного варианта осуществления изобретения.
Показанная на чертежах струйная головка 10 (называемая также гранулятором) используется в грануляционной установке, предназначенной для грануляции доменного шлака. Эта струйная головка служит для подачи струй охлаждающей гранулирующей воды на поток жидкого шлака, когда он стекает, например, по шлаковому желобу в бункер грануляционной установки.
Показанная на чертежах струйная головка 10 имеет водяной бак 12 с боковым присоединением 14 для подвода гранулирующей воды и боковым опорным патрубком 16. Стрелка 18 на фиг.2 направлена к передней стороне водяного бака 12, из которого выходит гранулирующая вода. При этом вода выходит, во-первых, через сопловые отверстия в дырчатой плите 20, расположенной с передней стороны 18 струйной головки в ее верхней части, и, во-вторых, через щелевое сопло 22, расположенное с передней стороны струйной головки в ее нижней части.
Щелевое сопло 22 содержит патрубок 24, который снизу своей нижней поверхностью 28, сверху своей верхней поверхностью 30 и с боков двумя своими боковыми поверхностями 32, 34 ограничивает сопловой канал 26 прямоугольного проходного сечения. Все эти поверхности 28, 30, 32, 34 для их эффективной защиты от абразивного воздействия шлакового песка снабжены нанесенным на них плазменным напылением покрытием. В этом отношении следует также отметить, что патрубок 24 выполнен в виде сменной детали и прифланцован к водяному баку 12.
Щелевое сопло 22 содержит далее цилиндрический регулирующий расход элемент 36, который проходит в сопловом канале 26 поперек него по всей его ширине по середине между нижней поверхностью 28 и верхней поверхностью 30 патрубка. Этот регулирующий расход элемент 36 в поперечном сечении имеет, как это хорошо видно на фиг.2, эллиптическую форму. Такой регулирующий расход элемент 36, имеющий форму эллиптического цилиндра, может поворачиваться вокруг своей центральной оси 38.
На фиг.2 плоскость, в которой лежат центральная ось 38 регулирующего расход элемента и малая ось эллипса, форму которого он имеет в поперечном сечении, перпендикулярна направлению 40 набегающего на него потока воды. В показанном на этом чертеже положении регулирующего расход элемента 36 проходное сечение соплового канала 26 в наименьшей степени сужено этим регулирующим расход элементом 36. При этом между регулирующим расход элементом 36 и нижней поверхностью 28 патрубка остается нижняя сопловая щель 42, а между регулирующим расход элементом 36 и верхней поверхностью 30 патрубка остается верхняя сопловая щель 44. Проходящая через обе эти сопловые щели 42, 44 вода выходит из патрубка 24 двумя плоскими струями.
При повороте регулирующего расход элемента 36 вокруг его центральной оси 38 из показанного на фиг.1 положения будет уменьшаться ширина одновременно нижней и верхней сопловых щелей 42, 44 (см. фиг.2). Иными словами, поворот регулирующего расход элемента 26 будет сопровождаться уменьшением в месте его расположения проходного сечения соплового канала 26. Проходное сечение соплового канала минимально, когда плоскость, в которой лежат центральная ось 38 регулирующего расход элемента и малая ось эллипса, форму которого он имеет в поперечном сечении, перпендикулярна направлению 40 набегающего на регулирующий расход элемент потока воды, т.е. когда регулирующий элемент 36 повернут на 90° вокруг своей центральной оси 38 из показанного на фиг.1 положения. Поскольку большая ось эллипса, форму которого в поперечном сечении имеет регулирующий расход элемент, на несколько миллиметров меньше высоты Н соплового канала 26, в этом положении регулирующего расход элемента 36 обе сопловые щели 42, 44 все еще остаются немного открытыми. За счет этого удается сделать щелевое сопло 22, по существу, не чувствительным к деформациям патрубка 24, которые могут быть обусловлены, например, изменением температуры и/или механическими воздействиями. Необходимо также отметить, что и поверхность регулирующего расход элемента 36 имеет нанесенное плазменным напылением покрытие.
Как показано на фиг.3, регулирующий расход элемент 36 на каждом из двум своих концов имеет по опорной цапфе 50, соответственно 52, каждая из которых выступает сбоку из соплового канала 26 наружу и установлена в этом месте в подшипнике 54, соответственно 56 с возможностью поворота в нем. Оба подшипника 54, 56 предпочтительно расположены в крепежных фланцах 58, 60, привинченных снаружи к боковым стенкам патрубка 24.
На каждом из своих концов регулирующий расход элемент 36 дополнительно имеет по уплотнительному фланцу 62, 64, который имеет форму круглого цилиндра и который вставлен в соответствующее круглое отверстие в боковой стенке патрубка 24 и уплотнен в этом отверстии уплотнительным кольцом круглого сечения. Необходимо отметить, что диаметр обоих этих круглых отверстий в боковых стенках патрубка 24 превышает длину большой оси эллипса, форму которого в поперечном сечении имеет регулирующий расход элемент 36, который благодаря этому после отсоединения обоих крепежных фланцев 58, 60 можно извлечь через эти отверстия из соплового канала 26 и вновь установить на место.
Позицией 70 на фиг.3 обозначен удлинительный вал, который насажен на опорную шейку 52 и жестко соединен с ней без возможности поворота относительно нее. Этот удлинительный вал 70 установлен с возможностью поворота во фланце 72, расположенном с наружной стороны водяного бака 12, и имеет по другую сторону от этого фланца рычаг (коромысло) 74. Этот рычаг соединен с линейным электроприводом 76 таким образом, что поступательное перемещение выходного приводного звена этого привода возвратно-поступательного действия преобразуется через рычаг 74 в поворотное движение регулирующего расход элемента вокруг его центральной оси. При этом максимальный угол такого поворота рычага должен быть не меньше 90° для возможности полного использования регулировочного потенциала регулирующего расход элемента 36, Необходимо отметить, что вполне допустимо использовать сравнительно маломощный привод 76, поскольку с учетом обтекаемой формы регулирующего расход элемента 36 и за счет его установки в подшипниках для преодоления действующей на него гидравлической силы (напора воды) требуется развивать лишь небольшие перестановочные крутящие моменты. Очевидно, что вместо линейного электропривода 76 можно также использовать пневмоцилиндр. Помимо этого для поворота регулирующего расход элемента 36 можно использовать и электропривод вращательного действия. В качестве такого электропривода вращательного действия можно также использовать, например, шаговый электродвигатель, который позволяет устанавливать регулирующий расход элемент в определенное угловое положение с такой же точностью, что и линейный электропривод 76.
Следует далее отметить, что регулирующий расход элемент 36 эллиптического поперечного сечения создает в потоке в воде лишь незначительную турбулентность. Преимущество, связанное с образованием в потоке гранулирующей воды лишь незначительных завихрений, состоит не только в уменьшении общей потери ее напора в струйной головке, но и в существенном уменьшении абразивного воздействия шлакового песка на обтекаемые водой поверхности.
На фиг.4 показан график зависимости расхода воды через щелевое сопло 22 от углового положения регулирующего расход элемента 36. Угловому положению, равному 0°, соответствует расположение плоскости, в которой лежат центральная ось 38 регулирующего расход элемента и большая ось эллипса, форму которого он имеет в поперечном сечении, перпендикулярно направлению 40 набегающего на него потока воды. Угловому положению, равному 90°, соответствует расположение плоскости, в которой лежат центральная ось 38 регулирующего расход элемента и малая ось эллипса, форму которого он имеет в поперечном сечении, перпендикулярно направлению 40 набегающего на него потока воды. Регулирующий расход элемент 36, для которого был построен показанный на чертеже график, имеет в поперечном сечении форму эллипса с отношением длины его малой оси к длине его большой оси, равным примерно 0,76. Подобным соотношением длин осей эллипса определяется регулировочная характеристика щелевого сопла 22. Это соотношение предпочтительно должно составлять от 0,50 до 0,95. Из показанной на фиг.4 диаграммы следует, что между расходом воды через щелевое сопло и углом установки регулирующего расход элемента в интервале значений от 20 до 70° существует примерно линейная зависимость.
Струйную головку 10 в варианте с подачей в нее гранулирующей воды напрямую насосной установкой предпочтительно оснащать регулятором, регулирующим угловое положение регулирующего расход элемента 36 в зависимости от измеренного давления в водяном баке 12. Подобное регулирование позволяет, например, поддерживать давление в водяном баке 12 на постоянном уровне. В этом случае расход воды через струйную головку 10 регулируется за счет более инерционного регулирования производительности насосной установки.
Струйную головку 10 в варианте с подачей в нее гранулирующей воды под постоянным давлением, например из водонапорного резервуара, предпочтительно оснащать регулятором расхода гранулирующей воды, в регулирующий контур которого щелевое сопло в этом случае включено в качестве исполнительного звена.
Формула изобретения
1. Струйная головка для грануляционной установки, содержащая щелевое сопло (22), в котором сопловой канал (26) с продолговатым проходным сечением ограничен нижней поверхностью (28), верхней поверхностью (30) и с каждого из боков соответственно одной из боковых поверхностей (32, 34), между которыми в сопловом канале (26) в осевом направлении расположен продолговатый регулирующий расход элемент (36), ограничивающий по высоте соплового канала сопловую щель и выполненный с возможностью поворота вокруг своей центральной оси для регулирования ширины этой сопловой щели, отличающаяся тем, что регулирующий элемент (36) выполнен в виде цилиндрического элемента с поперечным сечением в виде овала и расположен примерно посередине между ограничивающими сопловой канал нижней (28) и верхней (30) поверхностями с возможностью ограничения ширины сопловых щелей (42, 44) сверху и снизу от себя путем поворота вокруг своей центральной оси.
2. Струйная головка по п.1, отличающаяся тем, что отношение длины малой оси овала к длине большой оси составляет от 0,50 до 0,95.
3. Струйная головка по п.2, отличающаяся тем, что сопловой канал (26) имеет прямоугольное поперечное сечение, высота (Н) которого на несколько миллиметров превышает длину большой оси овала, форму которого в поперечном сечении имеет регулирующий элемент, за счет чего обе сопловые щели (42, 44) всегда остаются открытыми.
4. Струйная головка по п.1, отличающаяся тем, что регулирующий элемент (36) на каждом из двух своих концов имеет по опорной цапфе (50, 52), которая выступает сбоку из соплового канала (26) и вне соплового канала (26) установлена в подшипниках с возможностью поворота в них.
5. Струйная головка по п.4, отличающаяся тем, что она снабжена рычагом (74), который соединен с одной из двух опорных цапф (52) без возможности поворота относительно нее, и приводом (76) возвратно-поступательного движения, который соединен с рычагом (74) с возможностью преобразования возвратно-поступательного движения выходного приводного звена этого привода в поворотное движение регулирующего элемента (36) вокруг его центральной оси (38).
6. Струйная головка по п.4, отличающаяся тем, что регулирующий элемент (36) по меньшей мере на одном своем конце имеет уплотнительный фланец (62, 64), имеющий форму круглого цилиндра и вставленный в соответствующее круглое отверстие в боковой стенке щелевого сопла (22), при этом уплотнительный фланец уплотнен кольцом круглого сечения в этом круглом отверстии, которое выполнено с достаточно большим диаметром для установки регулирующего элемента (36) путем его осевого перемещения через это отверстие в сопловой канал (26) и извлечения из него.
7. Струйная головка по любому из пп.1-6, отличающаяся тем, что на поверхность регулирующего элемента (36), а также на ограничивающие сопловой канал (26) нижнюю (28) и верхнюю (30) поверхности нанесено плазменным напылением покрытие.
8. Струйная головка по любому из пп.1-6, отличающаяся тем, что она снабжена водяным баком, с передней стороны которого расположено щелевое сопло (22), и дырчатой плитой с сопловыми отверстиями, которая расположена с передней стороны водяного бака над и/или под щелевым соплом (22).
9. Струйная головка по любому из пп.1-6, отличающаяся тем, что она снабжена регулятором давления гранулирующей воды в струйной головке, в регулирующий контур которого щелевое сопло (22) включено в качестве исполнительного звена.
10. Струйная головка по любому из пп.1-6, отличающаяся тем, что она снабжена регулятором расхода гранулирующей воды через струйную головку, в регулирующий контур которого щелевое сопло (22) включено в качестве исполнительного звена.
РИСУНКИ
|
|