|
|
(21), (22) Заявка: 2005125649/03, 15.08.2005
(24) Дата начала отсчета срока действия патента:
15.08.2005
(43) Дата публикации заявки: 20.02.2007
(46) Опубликовано: 20.06.2007
(56) Список документов, цитированных в отчете о поиске:
RU 2233808 C1, 10.08.2004. RU 2225850 C1, 20.03.2004. RU 2081858 С2, 20.06.1997. ЕР 029424 А1, 23.11.1988. US 4411847 А, 25.10.1983.
Адрес для переписки:
141551, Московская обл., Солнечногорский р-н, п/о Андреевка, ОАО “НПО Стеклопластик”, патентная лаборатория
|
(72) Автор(ы):
Трофимов Александр Николаевич (RU), Басаргин Тимофей Логинович (RU), Трофимов Николай Николаевич (RU), Андрианов Виктор Иванович (RU), Молоков Иван Васильевич (RU), Доценко Елена Владимировна (RU)
(73) Патентообладатель(и):
Открытое акционерное общество “Научно-производственное объединение “Стеклопластик” (RU)
|
(54) СПОСОБ ИЗГОТОВЛЕНИЯ СТЕКЛЯННЫХ ШАРИКОВ ИЛИ МИКРОСФЕР
(57) Реферат:
Изобретение относится к химической промышленности и может быть использовано при изготовлении стеклянных шариков или микросфер, как цельных, так и пустотелых, например для изготовления теплозащитных химически стойких облегченных материалов и сферопластиков. Техническим результатом изобретения является повышение процента выхода стеклянных шариков или микросфер, увеличение выпуска и повышение производительности и их качества. Способ изготовления стеклянных шариков или микросфер включает измельчение исходного сырья, подачу его в печь, предварительную термическую обработку и классификацию по размерным группам, подачу полученного стеклянного порошка в печь, термическое формование стеклянных шариков или микросфер, их охлаждение и отделение от продуктов сгорания. Классификацию по размерным группам частиц стеклянного порошка осуществляют в два этапа: вначале проводят предварительную термическую обработку в закрученном огневом потоке, где отделяют его крупные частицы, которые собирают в промежуточный бункер, установленный между цилиндрической и конической частями печи. Затем оставшуюся в огневом потоке часть стеклопорошка отделяют от продуктов сгорания в циклонных устройствах с последующей классификацией в них. Термическое формование стеклянных шариков или микросфер осуществляют по каждой размерной группе стеклопорошка раздельно, а предварительную термическую обработку стеклопорошка в закрученном огневом потоке осуществляют при сжигании газовоздушной смеси с коэффициентом избытка воздуха меньше 1 ( <1). 1 ил.
Изобретение относится к химической промышленности и может быть использовано при изготовлении стеклянных шариков, как цельных, так и пустотелых, или микросфер, например для изготовления теплозащитных химически стойких облегченных материалов и сферопластиков, для фильтров различного назначения, светоотражающих устройств, для поверхностной обработки металлов, в строительной индустрии и т.д.
Известен способ получения стеклянных шариков (пат. РФ № 20818558, кл. С03В 19/10, 1993 г. – аналог), включающий измельчение исходного сырья, его двухступенчатую классификацию по размерным группам, подачу полученного стеклопорошка в печь формования, термическое формование стеклянных шариков, их охлаждение и отделение от продуктов сгорания в сепараторе.
Недостатком способа является то, что применение двухступенчатой воздушной классификации в промышленных условиях обеспечивает грубое (размытое) разделение стеклопорошка и получение из него только одной расклассифицированной рабочей группы с большим диапазоном разброса стеклянных частиц, например от 10 мкм до 160 мкм. Поэтому высокого качества стеклянных шариков по известному способу эффективно достичь нельзя, т.к. оптимальный огневой режим их формовки требует в рабочей группе более узкого диапазона разброса стеклянных частиц, чтобы мелкие стеклянные частицы не превращались в спеки стекла, а крупные не имели недоформовки.
Наиболее близким по технической сущности и достигаемому результату является способ получения стеклянных шариков (патент РФ № 2233808, кл. С03В 19/10, 2002 г. – прототип), включающий измельчение исходного сырья, предварительную термическую обработку (оплавление), отделение продуктов сгорания, классификацию по размерным группам, подачу полученных стеклопорошков в печь, термическое формование, стеклянных шариков, их охлаждение и отделение от продуктов сгорания в сепараторе.
Недостатком способа является его сложность и практически невозможность изменять в процессе работы диапазон разброса стеклянных частиц в размерных группах для достижения качественных характеристик стеклянных шариков с достаточно большим процентом их выхода.
Техническим результатом изобретения является повышение процента выхода стеклянных шариков или микросфер, увеличение выпуска и повышение производительности и их качества.
Технический результат достигается тем, что в способе изготовления стеклянных шариков или микросфер, включающем измельчение исходного сырья, подачу его в печь, предварительную термическую обработку и классификацию по размерным группам, подачу полученного стеклянного порошка в печь, термическое формование стеклянных шариков или микросфер, их охлаждение и отделение от продуктов сгорания, классификацию по размерным группам частиц стеклянного порошка осуществляют в два этапа: вначале проводят предварительную термическую обработку в закрученном огневом потоке, где с помощью инерционных сил из общей массы подаваемого в печь стеклопорошка, отделяют его крупные частицы, которые собирают в промежуточный бункер, установленный между цилиндрической и конической частями печи, затем оставшуюся в огневом потоке часть стеклопорошка отделяют от продуктов сгорания в циклонных устройствах с последующей классификацией в них, а термическое формование стеклянных шариков или микросфер осуществляют по каждой размерной группе стеклопорошка раздельно, а предварительную термическую обработку стеклопорошка в закрученном огневом потоке осуществляют при сжигании газовоздушной смеси с коэффициентом избытка воздуха меньше 1 ( <1).
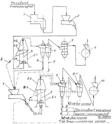
На чертеже изображена принципиальная схема устройства для осуществления предлагаемого способа изготовления стеклянных шариков или микросфер.
В состав основного оборудования для получения стеклянных шариков или микросфер входят:
1 – измельчитель (мельница) стеклогранулята;
2 – питатель стеклопорошка;
3 – вертикальная печь с закрученным огневым потоком для предварительной термической обработки стеклопорошка и его классификации, состоящая из: 3-1 – цилиндрической части; 3-2 – конусной части, между которыми находится промежуточный бункер; 3-3 – для сбора крупной фракции стеклопорошка (получения первой размерной группы А); 3-4 – горелки, расположенной по центру печи на днище 3-5;
4 – установка, состоящая из двух циклонных устройств, соединенных последовательно друг с другом для отделения термически обработанного стеклопорошка от продуктов сгорания и классификации его на размерные группы: вторую – Б и третью – В;
5 – фильтр для улавливания стеклянной пыли (стеклочастиц размером менее 10 мкм) и др. вредных примесей;
6 – вентиляционная установка, обеспечивающая газодинамические режимы печи термической обработки стеклопорошка и циклонные устройства для отделения микропорошка от продуктов сгорания и классификации его на размерные группы;
7 – питатель размерных групп стеклопорошка;
8 – вертикальная печь с закрученным огневым потоком для термического формования стеклошариков, состоящая из цилиндрической 8-1 и конической 8-2 частей и снабженная горелкой 8-3, расположена в центре днища 8-4;
9 – установка, состоящая из двух циклонных устройств, соединенных последовательно друг с другом для отделения стеклянных шариков или микросфер от продуктов сгорания и дополнительной их классификации (при необходимости) на размерные группы;
10 – вентиляционная установка, обеспечивающая газодинамические режимы работы печи термического формования и циклонных устройств для отделения микрошариков или микросфер от продуктов сгорания и классификации их на размерные группы.
Процесс изготовления стеклянных шариков или микросфер по предложенному способу осуществляется следующим образом.
Исходное сырье для изготовления стеклянных шариков подают в бункер измельчителя (мельница) 1, где его измельчают до максимального размера частиц, равного 200 мкм. Полученный стеклопорошок (помол) транспортируют в питатель 2, который дозирует и подает стеклопорошок в печь 3, где осуществляют предварительную термическую обработку (оплавление) стеклянного порошка в закрученном огневом потоке при сгорании газовоздушной смеси с коэффициентом избытка воздуха меньше единицы ( <1). Такой огневой режим необходим для того, чтобы стеклянные частицы кроме оплавления еще приобрели на своей поверхности тонкий (меньше микрона) углеродистый налет для предотвращения слипаний стеклянных частиц и для повышения поверхностной температуры их разогрева при дальнейшем термическом формовании стеклошариков.
Термически обработанный таким образом стеклопорошок при выходе из цилиндрической части 3-1 печи под действием центробежных сил подвергают радиальному расслоению, при котором стеклянные частицы, вылетая за пределы диаметра печи 3, собирают в промежуточном бункере 3-1, формируя в нем первую размерную группу А стеклопорошка с укрупненными частицами.
После этого, оставшаяся уже усредненная часть стеклопорошка в огневом потоке (в его продуктах сгорания) поступает в установку (классификатор) 4, состоящую из двух циклонных устройств, соединенных последовательно друг с другом для отделения термически обработанного стеклопорошка от продуктов сгорания и классификации его на последующие две размерные группы Б и В. В первом циклонном устройстве накапливается вторая размерная группа Б стеклопорошка со средними размерами частиц, а во втором циклонном устройстве – третья размерная группа В стеклопорошка с мелкими размерами частиц.
Отделенные продукты сгорания от стеклопорошка проходят через фильтр 5, где их очищают от стеклянной пыли (стеклочастицы менее 10 мкм) и других вредных примесей и выбрасывают вентиляционной установкой 6 в атмосферу.
При необходимости увеличения классифицированных размерных групп стеклопорошка более трех число последовательно соединенных циклонных установок увеличивают из расчета, что одна циклонная установка формирует одну размерную группу стеклопорошка.
Далее термически обработанный и классифицированный стеклянный порошок по размерным группам загружают в питатель 7, обеспечивающий подачу каждой размерной группы стеклопорошка в газовоздушную смесь горелки 3-3 и в печь 8, где в огневом закрученном потоке при температуре 1000-1400°С происходит превращение (формирование) оплавленных и классифицированных стеклянных частиц в стеклошарики или микросферы.
Затем полученные стеклошарики или микросферы соответствующими размерными группами поступают в циклонное устройство 9 для отделения их от продуктов сгорания, а затем в циклонный пылеулавливатель 9-1.
Классификация стеклопорошка, например, на три размерные группы А, Б, и В обеспечивает выпуск трех основных размерных групп стеклошариков или микросфер, например:
Группа I – 100-200 мкм,
Группа II – 100-50 мкм,
Группа III – 50-10 мкм.
При необходимости дополнительной классификации стеклошариков по какой-либо полученной (основной) размерной группе, например, на три дополнительные размерные группы, устанавливают на печи термического формования стеклошариков промежуточный бункер, аналогичный бункеру 3-3, и для отделения продуктов сгорания от стеклошариков два циклонных устройства 9 и 9-2, последовательно соединенных друг с другом. При этом общее количество возможно полученных размерных групп стеклошариков составит – девять.
Итак, получение в процессе работы первой размерной группы стеклопорошка в печи для предварительной термической обработки с помощью центробежных сил в закрученном огневом потоке дает возможность за счет изменения действия центробежных сил увеличивать или уменьшать диапазон разброса стеклянных частиц по их размерам и массе не только в группе 1, но и влиять таким же образом на все основные и дополнительные размерные группы стеклошариков.
Все это резко повышает процент выхода, увеличивает объем выпуска и улучшает качество стеклошариков или микросфер, т.е. позволяет достичь поставленную в изобретении техническую цель.
Формула изобретения
Способ изготовления стеклянных шариков или микросфер, включающий измельчение исходного сырья, подачу его в печь, предварительную термическую обработку и классификацию по размерным группам, подачу полученного стеклянного порошка в печь, термическое формование стеклянных шариков или микросфер, их охлаждение и отделение от продуктов сгорания, отличающийся тем, что классификацию по размерным группам частиц стеклянного порошка осуществляют в два этапа: вначале проводят предварительную термическую обработку в закрученном огневом потоке, где с помощью инерционных сил из общей массы подаваемого в печь стеклопорошка отделяют его крупные частицы, которые собирают в промежуточный бункер, установленный между цилиндрической и конической частями печи, затем оставшуюся в огневом потоке часть стеклопорошка отделяют от продуктов сгорания в циклонных устройствах с последующей классификацией в них, термическое формование стеклянных шариков или микросфер осуществляют по каждой размерной группе стеклопорошка раздельно, а предварительную термическую обработку стеклопорошка в закрученном огневом потоке осуществляют при сжигании газовоздушной смеси с коэффициентом избытка воздуха меньше 1, который обеспечивает покрытие поверхности стеклопорошка углеродистым слоем толщиной менее 1 мкм.
РИСУНКИ
|
|