|
|
(21), (22) Заявка: 2005136931/15, 28.11.2005
(24) Дата начала отсчета срока действия патента:
28.11.2005
(46) Опубликовано: 20.06.2007
(56) Список документов, цитированных в отчете о поиске:
SU 1114623 А, 23.09.1984. RU 2205800 C2, 10.06.2003. RU 2120410 C1, 20.10.1998. US 6555011 A, 29.04.2003.
Адрес для переписки:
350044, г.Краснодар, Калинина, 13, КГАУ, патентно-информационный отдел
|
(72) Автор(ы):
Богатырев Николай Иванович (RU), Белашов Владимир Александрович (RU), Зотов Андрей Станиславович (RU), Болгарчук Татьяна Ивановна (RU), Потапенко Иосиф Андреевич (RU)
(73) Патентообладатель(и):
Федеральное государственное образовательное учреждение высшего профессионального образования “Кубанский государственный аграрный университет” (RU)
|
(54) СПОСОБ ОБРАБОТКИ ВОДЫ
(57) Реферат:
Изобретение относится к способам обработки воды и может использоваться для уменьшения накипи в теплообменной аппаратуре, а также для подготовки питьевой воды или при производстве жидкой продукции в пищевой промышленности. Способ включает воздействие электрогидравлическим эффектом при одновременной обработке импульсным ультразвуковым полем с частотой не более 21,3 кГц и интенсивностью 37-51 Вт/см2. Технический результат состоит в повышении эффективности обработки при уменьшении затрат. 1 ил.
Изобретение относится к способам обработки воды и может быть использовано в теплообменной аппаратуре для целей снижения (уменьшения) солевых отложений (накипи) на рабочих поверхностях нагрева, а также для подготовки питьевой воды или использования в пищевой промышленности при производстве жидкой продукции.
Известен способ подготовки (обработки) воды с использованием электрического поля и озона см. авт. свид. № 835075, МКИ С02F 1/48, 1979 г. Однако известный способ обработки, как показал опыт его практического применения, имеет существенный недостаток, заключающийся в сложности подбора и оптимальных режимов обработки электрическим полем как по напряженности электрического поля, так и по частоте.
Известен способ предотвращения накипеобразования в теплообменных аппаратах – см. авт. свид. № 731839, МКИ С23F 15/00, в котором воду подвергают воздействию электрогидравлических ударов перед подачей ее в теплообменные аппараты.
Известное изобретение имеет серьезный недостаток, заключающийся в сложности определения оптимальных режимов обработки для воды с различным солесодержанием.
В качестве прототипа нами выбран патент RU 2205800, МПК С02F 9/12, 2000 г., бюл.16. Способ обработки воды, включающий воздействие электрогидравлическим ударом, при этом вода одновременно обрабатывается озоновоздушной смесью с концентрацией озона 55-60 мг/м3.
Известное изобретение, как показал опыт его практического применения (наша разработка), имеет серьезный недостаток, заключающийся в том, что при обработке воды с высоким солесодержанием порядка 8 мг·экв/кг и более требуются большие затраты электроэнергии на производство озоновоздушной смеси. Это часто делает практическое применение известного изобретения во многих случаях неприемлемым по экономическим соображениям. Особо это относится к предприятиям сельского применения и фермерских хозяйств. Кроме того, для определения оптимальных режимов обработки питательной воды, с точки зрения учета общей (а не только карбонатной) жесткости и щелочности воды, также требует значительных затрат.
Техническим решением задачи является повышение эффективности обработки воды за счет применения конструктивных решений, существенное уменьшение энергозатрат и значительное уменьшение финансовых расходов на практическую реализацию способа.
Поставленная задача достигается тем, что в способе обработки воды, включающем воздействие электрогидравлическим ударом, согласно изобретению воду одновременно обрабатывают импульсным ультразвуковым полем с частотой не более 21,3 кГц и интенсивностью порядка 37-51 Вт/см2.
Новизна заявляемого способа заключается в следующем. Во-первых, исключается применение установки для производства озоновоздушной смеси, что уменьшает общее энергопотребление на обработку на 75-80%. Во-вторых, применение импульсного ультразвукового генератора позволяет коагулировать мелкодисперсные частицы кальция и магния (СаСО2, CaSO4, MgCO3, MgSO4, Са2+, и т.п.) в крупнодисперсные, которые оседают на дне емкости для обработки и периодически удаляются через вентиль в днище емкости. При этом энергозатраты и трудозатраты на изготовление такого генератора по крайней мере на порядок (в 10 раз) меньше по сравнению с использованием озона – см. Д.А. Гершгал и В.М. Фридман, Ультразвуковая технологическая аппаратура, М.: Энерго, 1976 г. стр.100.
В качестве генератора ультразвуковых колебаний может применяться и наша разработка, защищенная авт. свид. № 839421.
По данным патентной и научно-технической литературы не обнаружена заявляемая совокупность признаков для решения поставленной задачи, что позволяет судить об изобретательском уровне предложения.
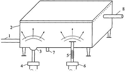
Сущность изобретения поясняется чертежом, где представлено устройство для обработки воды, в котором 1 – трубопровод для подачи воды, 2 – накопительная емкость, 3 – параболическая камера, 4 – источник импульсного тока, 5 – излучатель ультразвуковых колебаний магнитострикционного типа, 6 – ультразвуковой генератор, 7 – вентиль для удаления отходов, 8 – трубопровод для отвода воды.
Вода, подлежащая обработке, по трубопроводу 1 (см. чертеж) поступает в накопительную емкость 2, в днище которой установлена параболическая камера 3, электроды из которой подключены к источнику импульсного тока 4. В днище установлен также излучатель (магнитострикционного типа) ультразвуковых колебаний 5, подключенный к импульсному ультразвуковому генератору 6. Для периодического удаления воды смонтирован вентиль 7, обработанная вода передается в теплообменную аппаратуру или другое производство по трубопроводу 8.
Способ обработки воды осуществляется следующим образом.
При подаче воды по трубопроводу 1 происходит заполнение накопительной емкости 2, одновременно включается источник импульсного тока 4, и импульсный ультразвуковой генератор 6. При работе источника импульсного тока 4 в параболической камере 3 создается электрогидравлический удар (эффект Л.А. Юткина) и мощные ударные волны, воздействуя на кальциевые и магниевые слои, вызывает их дробление на молекулярном уровне – см. справочник Л. Попилов, Справочник по электрическим и ультразвуковым методам обработки материалов, Л.: Машиностроение, 1972, стр.358.
При включении импульсного ультразвукового генератора 6 его магнитострикционный излучатель 5 создает в водной среде накопительной емкости 2 колебания со спектром частот 21,3 кГц и интенсивностью порядка 40 Вт/см2, что способствует образованию режима коагуляции мелкодисперсных частиц и оседанию на дно емкости, откуда они периодически сливаются через вентиль 7. При другой интенсивности не будет образовываться необходимый режим коагуляции. Очищенная вода по трубопроводу 8 поступает в технологическое оборудование.
Разработанный способ обработки воды показал высокую эффективность не только при использовании в тепломассобменной аппаратуре, но и в пищевой промышленности.
Формула изобретения
Способ обработки воды, включающий воздействие электрогидравлическим ударом, отличающийся тем, что воду одновременно обрабатывают импульсным ультразвуковым полем с частотой не более 1,3 кГц и интенсивностью порядка 37-51 Вт/см2.
РИСУНКИ
MM4A – Досрочное прекращение действия патента СССР или патента Российской Федерации на изобретение из-за неуплаты в установленный срок пошлины за поддержание патента в силе
Дата прекращения действия патента: 29.11.2007
Извещение опубликовано: 27.07.2009 БИ: 21/2009
|
|