|
|
(21), (22) Заявка: 2005141001/11, 27.12.2005
(24) Дата начала отсчета срока действия патента:
27.12.2005
(46) Опубликовано: 20.06.2007
(56) Список документов, цитированных в отчете о поиске:
SU 612891, 30.06.1978. RU 2193516 C2, 27.11.2002. US 2005140154 A, 30.06.2005.
Адрес для переписки:
680000, г.Хабаровск, ул. Пушкина, 45, ЦНТИ
|
(72) Автор(ы):
Щербунов Анатолий Иванович (RU), Веснин Геннадий Павлович (RU), Мельников Владимир Андреевич (RU)
(73) Патентообладатель(и):
Общество с ограниченной ответственностью “Специальное конструкторское технологическое бюро” (ООО “СКТБ”) (RU)
|
(54) ГИДРАВЛИЧЕСКИЙ ГРЕЙФЕР
(57) Реферат:
Изобретение относится к подъемно-транспортному оборудованию. Гидравлический грейфер содержит раму, подвеску, челюсти с клыками, установленными на раме, привод челюстей, включающий два гидроцилиндра и механизм поворота грейфера вокруг вертикальной оси, включающий вал-шестерню и гидроцилиндр привода, жестко закрепленный на раме. Грейфер дополнительно снабжен системой синхронизации закрытия-открытия челюстей, состоящей из двух пар шестерен, установленных на осях клыков челюстей и кинематически связанных с клыками кулачковыми полумуфтами, жестко закрепленными на клыках. Вал-шестерня механизма поворота грейфера вокруг вертикальной оси взаимодействует с зубчатым сектором, шарнирно закрепленным на штоке гидроцилиндра привода. Гидроцилиндры привода челюстей размещены между челюстями с шарнирным закреплением их штоков на кронштейнах, размещенных в средней части балок, соединяющих челюсти, причем клыки каждой челюсти смыкаются с перекрытием, образуя эллипсовидный зев. Обеспечивается снижение нагрузки на элементы конструкции, уменьшение габаритов и массы верхней части грейфера, повышение объемного заполнения зева грейфера и надежность обжатия в челюстях различного по диаметру круглого материала. 5 ил.
Изобретение относится к подъемно-транспортному оборудованию, а именно к крановым грузозахватным устройствам, и может быть использовано при перегрузке круглого лесоматериала и т.п. длинномерных материалов.
Известно захватное устройство к грузоподъемным механизмам, включающее раму с шарнирно закрепленными на ней челюстями, управляемыми горизонтально расположенными силовыми цилиндрами, и механизм поворота, снабженный осью с шестерней, установленной с помощью подшипника во втулке рамы, при этом шестерня оси взаимодействует с рейкой, жестко закрепленной на корпусе силового цилиндра механизма поворота (см. а.с. SU №303275, МПК В66С 1/60).
Наиболее близким техническим решением к заявляемому является гидравлический грейфер, содержащий раму, челюсти, шарнирно закрепленные на ней, гидравлический привод челюстей, включающий два гидроцилиндра, расположенные по краям рамы над челюстями, и механизм разворота грейфера вокруг вертикальный оси с приводом от гидроцилиндра, включающий зубчатую рейку, находящуюся в зацеплении с шестерней серьги, установленной на раме, причем все гидроцилиндры включены в общую гидросистему, а каждый из каналов, соединяющий полости гидроцилиндра механизма поворота с распределителем, соединен еще со сливной магистралью через дроссель и редукционный клапан, обеспечивающие автоматическую регулировку нагрузки на механизм поворота от внешней нагрузки (см. а.с. SU №612891, МКИ2 В66С 3/16).
Недостатками известных технических решений являются отсутствие стабильности заполнения зева грейфера круглым лесоматериалом и повышенная нагрузка на раму и челюсти, обусловленные отсутствием синхронности в работе гидроцилиндров привода челюстей при их смыкании (размыкании).
Кроме того, расположение гидроцилиндров привода челюстей по краям над челюстями увеличивает габариты и массу верхней части грейфера, а наличие прямоугольного участка в верхней части зева грейфера препятствует наиболее полному заполнению зева грейфера длинномерным круглым материалом.
Техническим результатом заявленного технического решения является снижение нагрузки на элементы конструкции, уменьшение габаритов и массы верхней части грейфера, повышение объемного заполнения зева грейфера, надежность обжатия в челюстях различного по диаметру круглого материала.
Технический результат достигается тем, что гидравлический грейфер содержит раму, подвеску, челюсти с клыками, установленными на раме, привод челюстей, включающий два гидроцилиндра и механизм поворота грейфера вокруг вертикальной оси, включающий вал-шестерню и гидроцилиндр привода, жестко закрепленный на раме, при этом грейфер дополнительно снабжен системой синхронизации закрытия-открытия челюстей, состоящей из двух пар шестерен, установленных на осях клыков челюстей и кинематически связанных с клыками кулачковыми полумуфтами, жестко закрепленными на клыках, а вал-шестерня механизма поворота грейфера вокруг вертикальной оси взаимодействует с зубчатым сектором, шарнирно закрепленным на штоке гидроцилиндра привода, при этом гидроцилиндры привода челюстей размещены между челюстями с шарнирным закреплением их штоков на кронштейнах, размещенных в средней части балок, соединяющих челюсти, причем клыки каждой челюсти смыкаются с перекрытием, образуя эллипсовидный зев.
Снабжение грейфера системой синхронизации открытия-закрытия челюстей обеспечивает одновременный ввод в работу челюстей грейфера, способствующий равномерному распределению нагрузки на элементы конструкции и, соответственно, снижению нагрузки на них.
Размещение гидроцилиндров привода между челюстями сохраняет длину грейфера равной расстоянию между клыками челюстей, уменьшая габариты грейфера по длине.
Выполнение клыков челюстей смыкающимися с перекрытием с образованием эллипсовидного зева повышает объемное заполнение зева длинномерным круглым в сечении материалом при надежном его обжатии.
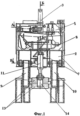
Фиг.1 – Общий вид грейфера.
Фиг.2 – Вид сбоку на фиг.1.
Фиг.3 – Разрез по А-А на фиг.1. Механизм поворота грейфера вокруг вертикальной оси.
Фиг.4 – Разрез по Б-Б на фиг.1. Подвеска грейфера.
Фиг.5 – Разрез по В-В на фиг.1. Установка шестерен и кулачковых полумуфт системы синхронизации открытия-закрытия челюстей.
Гидравлический грейфер содержит раму, состоящую из верхней 1 и нижней 2 балок, соединенных боковыми стенками. Верхняя балка 1 выполнена коробчатого сечения и является опорой для размещения подвески 3 для навешивания грейфера на крюк крана (фиг.2, 4). Грейфер содержит также механизм поворота грейфера вокруг вертикальной оси, состоящий из вала-шестерни 4 (фиг.3, 4), установленного вертикально, соосно оси грейфера, и зубчатого сектора 5, взаимодействующего с валом-шестерней 4, при этом зубчатый сектор 5 шарнирно закреплен на штоке гидроцилиндра 6 привода, жестко установленного на верхней балке 1 рамы. Нижняя балка 2 рамы двутаврового сечения снабжена ребрами 7 и проушинами 8 (фиг.1) для шарнирной установки соответственно челюстей 9, 10 и гидроцилиндров 11 привода челюстей. Челюсти 9, 10 – сварные, причем каждая челюсть состоит из двух клыков, изготовленных сваркой из листовой стали в виде крутоизогнутой коробчатой балки переменного сечения. В основании клыков вварена втулка для шарнирного соединения с рамой. Расстояние между клыками челюстей различное для обеспечения смыкания их с частичным перекрытием с образованием эллипсовидного зева. Челюсти 9, 10 между собой связаны двумя трубчатыми балками 13 (фиг.1). В средней части балок установлены кронштейны 14 для шарнирного закрепления в них штоков гидроцилиндров 11 привода челюстей. Грейфер снабжен системой синхронизации закрытия-открытия челюстей (фиг.5), состоящей из двух пар шестерен 15, установленных на осях 16 клыков челюстей и кинематически связанных кулачковыми полумуфтами с клыками. Каждый кулачок 17 полумуфты жестко закреплен на клыке, например, сваркой и выполнен с пазами, диаметрально расположенными в двух взаимно перпендикулярных направлениях. На каждой шестерне 15 синхронизатора выполнены выступы, взаимодействующие с пазами кулачков 17.
Грейфер работает следующим образом.
Грейфер навешивается на крюк крана с помощью подвески 3 и управляется непосредственно с пульта управления из кабины оператора крана. Оператор крана включает гидросистему и в ней развивается рабочее давление 15 мПа (150 кг/см2). Грейфер перемещают и ориентируют относительно штабеля лесоматериала. Включая гидроцилиндры 11 привода, челюсти раскрывают и опускают на лесоматериал и при закрывании челюстей грейфер заполняют лесоматериалом и перемещают к месту выгрузки (в зону погрузки подвижного состава). Затем при подаче рабочей жидкости в гидроцилиндр 6 механизма поворота грейфера вокруг вертикальной оси зубчатый сектор 5 при взаимодействии с валом-шестерней 4 поворачивает грейфер, ориентируя лесоматериал вдоль погрузочной площадки, полувагона или платформы. Опустив с помощью грузовой тележки крана грейфер с грузом, включают гидроцилиндры 11, при этом челюсти размыкаются и происходит выгрузка лесоматериалов.
Грейфер, обеспечивающий стабильность и полноту заполнения длинномерным круглым материалом при сниженной его массе и габаритах верхней части, найдет промышленное применение.
Формула изобретения
Гидравлический грейфер, содержащий раму, подвеску, челюсти с клыками, установленными на раме, привод челюстей, включающий два гидроцилиндра, и механизм поворота грейфера вокруг вертикальной оси, включающий вал-шестерню и гидроцилиндр привода, жестко закрепленный на раме, отличающийся тем, что грейфер дополнительно снабжен системой синхронизации закрытия-открытия челюстей, состоящей из двух пар шестерен, установленных на осях клыков челюстей и кинематически связанных с клыками кулачковыми полумуфтами, жестко закрепленными на клыках, а вал-шестерня механизма поворота грейфера вокруг вертикальной оси взаимодействует с зубчатым сектором, шарнирно закрепленным на штоке гидроцилиндра привода, при этом гидроцилиндры привода челюстей размещены между челюстями с шарнирным закреплением их штоков на кронштейнах, размещенных в средней части балок, соединяющих челюсти, причем клыки каждой челюсти смыкаются с перекрытием, образуя эллипсовидный зев.
РИСУНКИ
|
|