|
|
(21), (22) Заявка: 2005125447/11, 10.08.2005
(24) Дата начала отсчета срока действия патента:
10.08.2005
(43) Дата публикации заявки: 20.02.2007
(46) Опубликовано: 20.06.2007
(56) Список документов, цитированных в отчете о поиске:
SU 1798248 A1, 28.02.1993. Информативный листок пневмосборник ППО-1. Изготовитель НПО “Судоремонт”. – г.Горький, ГСП 1115, ул.Бекетова, 3Б. SU 1214523 А, 28.02.1986.
Адрес для переписки:
117105, Москва, Новоданиловская наб., 2, корп.1, ФГОУ Московская государственная академия водного транспорта, патентный отдел
|
(72) Автор(ы):
Бибиков Юрий Григорьевич (RU), Бибиков Михаил Юрьевич (RU), Татаренков Анатолий Корнеевич (RU), Татаренков Корней Анатольевич (RU)
(73) Патентообладатель(и):
ФГОУ Московская государственная академия водного транспорта (RU)
|
(54) УСТРОЙСТВО ДЛЯ ВЫГРУЗКИ И ЗАЧИСТКИ СЫПУЧИХ ВЕЩЕСТВ
(57) Реферат:
Изобретение относится к эксплуатации водного и железнодорожного транспорта и может использоваться при выполнении погрузо-разгрузочных работ, а также может быть применено и в других областях деятельности, например, в коммунальном хозяйстве, при уборке улиц, при дезактивации местности и подобных операциях. Устройство для выгрузки и зачистки сыпучих веществ имеет струйный кольцевой эжектор, трубопровод активной жидкости, сопла, всасывающий приемник со скребковым совковым наконечником и напорный трубопровод эжектора с накопительной емкостью. Совковый наконечник имеет крышку, на которой установлены струйный кольцевой эжектор и упомянутые выше сопла, из которых, по крайней мере, одно направлено вниз, в зону всасывания струйного кольцевого эжектора, а несколько, с внешней стороны наконечника, направлены внутрь совкового наконечника. Устройство может иметь сетку на всасывающем отверстии струйного кольцевого эжектора, а напорный трубопровод этого эжектора – запорное устройство. Изобретение позволяет механизировать сбор и транспортировку сыпучих веществ от места сбора в сборную емкость. 1 з.п. ф-лы, 2 ил.
Изобретение относится к эксплуатации грузового флота и железнодорожного подвижного состава, а также может быть использовано и в других областях деятельности, например в области коммунального хозяйства при уборке улиц, дезактивации местности и при подобных операциях.
В частности может быть использовано для выгрузки из судовых грузовых трюмов сыпучих грузов, так же для их зачистки после выгрузки.
Известны аналоги, например, устройство для удаления нетекучих донных отложений из судовых резервуаров нефтеналивных судов по а.с. СССР №1224523 А [1], содержащее в качестве всасывающего механизма кольцевой эжектор, в котором рабочей (активной) жидкостью служит горячая вода, а для возможности взмучивания отложений в зону под приемником направлены сопла, через которые в виде струй направлена часть рабочей (активной) жидкости.
Недостатком устройства является недостаточная эффективность только гидравлического воздействия на донные отложения, кроме того кольцевые эжекторы при оптимальном соотношении площадей сопла и камеры смешения около 1:5 имеют небольшой размер зазора (толщины кольцевого зазора), что увеличивает вероятность его засорения.
Известно устройство – пневмосборник ППО-1 [2] для зачистки машинных отделений судов, содержащее в качестве всасывающего механизма эжектор с центральной подачей активной жидкости, у которого активной жидкостью является воздух. Эжектор на всасывающей стороне снабжен гибким шлангом с наконечником, а на нагнетательной – гибким шлангом и емкостью для сбора отложений на его окончании (приложение 1).
Эжектор удален от наконечника на расстояние всасывающего участка гибкого шланга. Недостатком является удаленность всасывающего отверстия эжектора от места скопления нетекучих донных отложений, что уменьшает всасывающую способность эжектора. Известно переносное устройство для удаления нетекучих отложений по а.с. СССР №1798248 А1 [3], принятое за прототип, содержащее кольцевой эжектор, напорный трубопровод, приемный трубопровод, снабженный скребущим наконечником, при этом кольцевой эжектор размещен в приемном трубопроводе, а напорный трубопровод активной жидкости снабжен запорным клапаном. В качестве основного недостатка следует назвать наличие приемного трубопровода, вызывающего определенные гидравлические потери, а так же следует учитывать, что специальная конструкция кольцевого эжектора, расположенного внутри приемного трубопровода, должна быть предварительно исследована.
Предлагается устройство для выгрузки и зачистки сыпучих веществ, содержащее струйный кольцевой эжектор, трубопровод активной жидкости с запорным клапаном, сопла, всасывающий приемник со скребковым совковым наконечником, напорный трубопровод эжектора с накопительной емкостью, отличающийся тем, что совковый наконечник имеет крышку, на которой установлены струйный кольцевой эжектор и упомянутые выше сопла из которых, по крайней мере, одно направлено вниз, в зону всасывания струйного кольцевого эжектора, а несколько с внешенй стороны наконечника направлены внутрь совкового наконечника, при этом всасывающее отверстие струйного кольцевого эжектора имеет сетку с ячекой, меньшей проходного размера на входе в рабочую зону эжектора, а напорный трубопровод этого эжектора – запорное устройство.
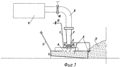
Устройство для выгрузки и зачистки сыпучих веществ поясняется фиг.1 и 2. На фиг.1 помещена принципиальная схема устройства, на фиг.2 помещено сечение по соплам струйного кольцевого эжектора в районе камеры смешания. Устройство содержит трубопровод активной жидкости 1, струйный кольцевой эжектор 2, сопло 3 струйного кольцевого эжектора, дополнительные сопла 4, совковый наконечник 5, сетку 6, рукоятку совкового наконечника 7, напорный трубопровод эжектора 8, емкость 9, запорный клапан 10 напорного трубопровода эжектора, сыпучий груз 11 и запорный клапан 12 на трубопроводе активной жидкости.
Устройство работает следующим образом: после подсоединения трубопровода активной жидкости к источнику активной жидкости и напорного трубопровода эжектора к накопительной емкости совковый наконечник с эжектором подводится к удаляемому продукту, и открываются запорные клапаны на трубопроводе активной жидкости и напорном трубопроводе эжектора. В случае засорения сетки эжектора закрывается запорный клапан на напорном трубопроводе эжектора, тогда напор активной жидкости очистит сетку от засорения. Для подачи активной жидкости к устройству может быть использована внутренняя полость рукоятки совкового наконечника.
В качестве активной жидкости при выгрузке сухих сыпучих веществ может применяется сжатый воздух, который используется на судах для пуска главных двигателей и его запасы постоянно пополняются компрессорами, которые являются штатным судовым оборудованием. Для зачистки емкостей от влажных, слежавшихся донных отложений, а также для сбора других сыпучих веществ в качестве активной жидкости может использоваться вода, холодная или горячая.
Источники информации
1. А.с. СССР №1214523 А.
2. Информативный листок пневмосборник ППО-1. Изготовитель НПО “Судоремонт”. 603600, Горький, ГСП1115, ул.Бекетова, ЗБ.
3. А.с. СССР №1798248.
Формула изобретения
1. Устройство для выгрузки и зачистки сыпучих веществ, содержащее струйный кольцевой эжектор, трубопровод активной жидкости, сопла, всасывающий приемник со скребковым совковым наконечником, напорный трубопровод эжектора с накопительной емкостью, отличающееся тем, что совковый наконечник имеет крышку, на которой установлены струйный кольцевой эжектор и упомянутые выше сопла из которых, по крайней мере, одно направлено вниз, в зону всасывания струйного кольцевого эжектора, а несколько, с внешней стороны наконечника, направлены внутрь совкового наконечника.
2. Устройство по п.1, отличающееся тем, что оно имеет сетку на всасывающем отверстии струйного кольцевого эжектора, а напорный трубопровод этого эжектора – запорное устройство.
РИСУНКИ
MM4A – Досрочное прекращение действия патента СССР или патента Российской Федерации на изобретение из-за неуплаты в установленный срок пошлины за поддержание патента в силе
Дата прекращения действия патента: 11.08.2008
Извещение опубликовано: 10.07.2010 БИ: 19/2010
|
|