|
|
(21), (22) Заявка: 2005131242/11, 11.10.2005
(24) Дата начала отсчета срока действия патента:
11.10.2005
(46) Опубликовано: 20.06.2007
(56) Список документов, цитированных в отчете о поиске:
RU 2132804 C1, 10.07.1999. RU 2158699 C1, 10.11.2000. SU 1492100 A1, 07.07.1989. JP 8334101 A, 17.12.1996. US 3516578 A, 23.06.1970. US 3339803 A, 05.09.1967.
Адрес для переписки:
141070, Московская обл., г. Королев, ул. Ленина, 4а, ОАО “РКК “Энергия” им. С.П. Королева”, отдел интеллектуальной собственности
|
(72) Автор(ы):
Банин Виктор Никитович (RU), Гореликов Владимир Иванович (RU)
(73) Патентообладатель(и):
Открытое акционерное общество “Ракетно-космическая корпорация “Энергия” имени С.П. Королева” (RU)
|
(54) УСТРОЙСТВО ДЛЯ ХРАНЕНИЯ И ПОДАЧИ ЖИДКИХ КОМПОНЕНТОВ (ВАРИАНТЫ)
(57) Реферат:
Изобретение относится к устройствам для хранения и подачи жидкостей и может быть использовано для хранения и подачи компонентов топлива к потребителям на космических кораблях и летательных аппаратах. Предлагаемое устройство содержит раму с установленными на ней системой наддува и топливными баками горючего и окислителя. Каждый из топливных баков содержит корпус и внутреннюю эластичную мембрану. Согласно первому и второму вариантам изобретения внутренняя эластичная мембрана снабжена закрепленным на ее поверхности спиральным элементом жесткости, высота которого на концах плавно сходит на нет. При этом на поверхности внутренней эластичной мембраны параллельно спиральному элементу жесткости выполнена желобообразная канавка. Причем по первому варианту изобретения внутренняя эластичная мембрана непосредственно скреплена с корпусом топливного бака, а по второму – внутренняя эластичная мембрана скреплена с корпусом топливного бака посредством сильфона. Согласно третьему варианту изобретения внутренняя эластичная мембрана выполнена переменной толщины. Причем толщина плавно уменьшается от центра внутренней эластичной мембраны к ее периферии, вплоть до места крепления внутренней эластичной мембраны к корпусу топливного бака. При этом внутренняя эластичная мембрана выполнена из коррозионно-стойкого пластичного материала. Изобретение позволяет исключить дополнительные напряжения во внутренней эластичной мембране при ее многоразовой перекладке и тем самым повысить надежность и живучесть устройства. 3 н.п. ф-лы, 4 ил.
Изобретение относится к космической технике, а точнее к области проектирования и эксплуатации систем хранения и подачи компонентов топлива к потребителям на космических кораблях и летательных аппаратах.
Известны устройства для хранения и подачи жидких компонентов, размещаемые на космических кораблях (см., например, Космонавтика. Энциклопедия под редакцией В.П.Глушко, Москва, Советская энциклопедия, 1985 г., стр.304-305), содержащие топливные баки горючего и окислителя, установленные на раме в отсеке космического корабля. Подачу компонентов топлива к потребителю в данном устройстве производят посредством наддува газом топливных баков и выдавливания эластичной мембраной топлива в магистрали подачи к потребителю к реактивным двигателям двигательной установки космического корабля.
Известно также устройство для хранения и подачи жидких компонентов, установленное в топливном отсеке космического корабля (см., например, патент RU №2132804, МПК: B64G 1/40, 9/00 от 10.07.1999 г.), выбранное в качестве прототипа и содержащее раму с установленными на ней системой наддува и топливными баками горючего и окислителя, включающими корпус и внутреннюю эластичную мембрану. Это устройство устанавливается на космическом корабле и обеспечивает доставку компонентов топлива на орбиту Земли и хранение его в условиях космического пространства, а также обеспечивает подачу компонентов топлива потребителю – реактивным двигателям космического корабля или дозаправку топлива в топливные баки космических орбитальных станций, например типа “Мир”. Подачу топлива осуществляют методом выдавливания, подавая давление газа от системы наддува в газовые полости топливных баков, и посредством внутренней эластичной мембраны передавливают жидкое топливо в магистрали подачи компонентов топлива потребителю.
Общими недостатками аналога и прототипа являются низкая надежность и малая живучесть из-за возникновения дополнительных напряжений во внутренней эластичной мембране при ее многоразовой перекладке.
Задачей настоящего изобретения является создание такого устройства для хранения и подачи жидких компонентов, которое обеспечивало бы повышение надежности и живучести путем исключения дополнительных напряжений во внутренней эластичной мембране при ее многоразовой перекладке.
По первому варианту технический результат достигается тем, что в устройстве для хранения и подачи жидких компонентов, содержащем раму с установленными на ней системой наддува и топливными баками горючего и окислителя, включающими корпус и внутреннюю эластичную мембрану, в отличие от известного, внутренняя эластичная мембрана снабжена закрепленным на ее поверхности спиральным элементом жесткости, высота которого на концах плавно сходит на нет, при этом на поверхности внутренней эластичной мембраны параллельно спиральному элементу жесткости выполнена желобообразная канавка, причем внутренняя эластичная мембрана непосредственно скреплена с корпусом топливного бака.
По второму варианту технический результат достигается тем, что в устройстве для хранения и подачи жидких компонентов, содержащем раму с установленными на ней системой наддува и топливными баками горючего и окислителя, включающими корпус и внутреннюю эластичную мембрану, в отличие от известного, внутренняя эластичная мембрана снабжена закрепленным на ее поверхности спиральным элементом жесткости, высота которого на концах плавно сходит на нет, при этом на поверхности внутренней эластичной мембраны параллельно спиральному элементу жесткости выполнена желобообразная канавка, причем внутренняя эластичная мембрана скреплена с корпусом топливного бака посредством сильфона, дополнительно введенного в состав бака.
По третьему варианту технический результат достигается тем, что в устройстве для хранения и подача жидких компонентов, содержащем раму с установленными на ней системой наддува и топливными баками горючего и окислителя, включающими корпус и внутреннюю эластичную мембрану, в отличие от известного, внутренняя эластичная мембрана выполнена переменной толщины, плавно уменьшающейся от центра внутренней эластичной мембраны к ее периферии вплоть до места крепления внутренней эластичной мембраны к корпусу топливного бака, при этом внутренняя эластичная мембрана выполнена из коррозионно-стойкого пластичного материала.
Технический результат в части конструктивного исполнения внутренней эластичной мембраны, входящей в состав топливных баков устройства для хранения и подачи жидких компонентов, и снабжения внутренней эластичной мембраны закрепленным на ее поверхности спиральным элементом жесткости, высота которого h на концах плавно снижается до нуля, в части выполнения на поверхности внутренней эластичной мембраны параллельно спиральному элементу жесткости желобообразной канавки и крепления внутренней эластичной мембраны непосредственно к корпусу топливного бака или посредством сильфона, дополнительно введенного в состав бака, или в части выполнения внутренней эластичной мембраны переменной толщины, плавно уменьшающейся от центра внутренней эластичной мембраны к ее периферии вплоть до места крепления внутренней эластичной мембраны к корпусу топливного бака, а также взаимная связь всех составных элементов конструкции устройства для хранения и подачи жидких компонентов позволяют обеспечить повышенную надежность и живучесть путем исключения дополнительных напряжений во внутренней эластичной мембране при ее многоразовых перекладках, что подтверждено испытаниями опытных образцов, изготовленных с использованием предлагаемого технического решения.
Использование предлагаемого устройства для хранения и подачи жидких компонентов, например, на космическом орбитальном комплексе типа МКС – “Прогресс” – “Шаттл” позволит дать значительный экономический эффект за счет повышения надежности и живучести, путем исключения дополнительных напряжений во внутренней эластичной мембране при ее многоразовых перекладках, например, в процессе проведения дозаправки баков топливом на орбите при длительном космическом полете.
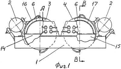
Сущность изобретения поясняется чертежами:
фиг.1 – общий вид устройства для хранения и подачи жидких компонентов;
фиг.2 – вид А, топливный бак с внутренней эластичной мембраной (первый вариант);
фиг.3 – вид А, топливный бак с внутренней эластичной мембраной (второй вариант);
фиг.4 – разрез В-В, топливный бак с внутренней эластичной мембраной (третий вариант).
Устройство для хранения и подачи жидких компонентов состоит из рамы 1 с установленными на ней системой наддува 2 и топливным баком окислителя 4. Топливные баки горючего 3 и окислителя 4 имеют одинаковую конструкцию, и каждый из них включает в себя корпус 5 и внутреннюю эластичную мембрану 6, изготовленную, например, из алюминия или нержавеющей стали.
По первому варианту (см. фиг.2) внутренняя эластичная мембрана 6 снабжена спиральным элементом жесткости 7, закрепленным по одной линии на поверхности внутренней эластичной мембраны 6 со стороны, обращенной к корпусу, и имеющим на концах 8, 9 плавное снижение высоты h до нуля. На поверхности внутренней эластичной мембраны 6 также со стороны, обращенной к корпусу, параллельно спиральному элементу жесткости 7 выполнена желобообразная канавка 10, причем внутренняя эластичная мембрана 6 непосредственно скреплена с корпусом 5 топливного бака 3 (4), например, сваркой.
В качестве спирального элемента жесткости 7 используют, например, проволоку круглого или прямоугольного сечения, прикрепленную к внутренней эластичной мембране посредством пайки.
По второму варианту (см. фиг.3) внутренняя эластичная мембрана 6 снабжена спиральным элементом жесткости 7, закрепленным по одной линии на поверхности внутренней эластичной мембраны 6 со стороны, обращенной к корпусу, и имеющим на концах 8, 9 плавное снижение высоты h до нуля. На поверхности внутренней эластичной мембраны 6 со стороны, обращенной к корпусу, параллельно спиральному элементу жесткости 7 выполнена желобообразная канавка 10 также со стороны, обращенной к корпусу. В состав топливного бака 3 (4) дополнительно введен сильфон 11 Внутренняя эластичная мембрана соединена с сильфоном, который в свою очередь скреплен, например, сваркой с корпусом 5 топливного бака 3 (4).
По третьему варианту (см. фиг.4) внутренняя эластичная мембрана 6 имеет переменную толщину, причем толщина плавно уменьшается, например, от 1,5 мм до 0,8 мм соответственно от центра 12 внутренней эластичной мембраны 6 к ее периферии вплоть до места крепления 13 внутренней эластичной мембраны 6 к корпусу 5 топливного бака 3 (4), при этом внутренняя эластичная мембрана 6 выполнена из коррозионно-стойкого пластичного материала, например термообработанного алюминия или фторопласта-10.
Каждый топливный бак 3 (4) разделен посредством внутренней эластичной мембраны 6 на две полости: жидкостную полость 14 (15), снабженную штуцером для подключения к магистралям подачи топлива потребителям, и газовую полость 16 (17), снабженную штуцером для подключения к газовым магистралям от шар-баллонов высокого давления системы наддува 2.
Внутренняя эластичная мембрана 6, выполненная из фторопласта, крепится к корпусу бака посредством фланцевого соединения: отбортовка внутренней эластичной мембраны зажимается между фланцами, приваренными к полусферам бака, болтовыми соединениями, а во фланцах содержатся замковые кольцевые канавки для обеспечения герметизации внутренней эластичной мембраны 6 между фланцами.
Устройство для хранения и подачи жидких компонентов устанавливается на космических кораблях типа “Прогресс”, “Союз” и на космических орбитальных станциях типа “Мир” или “МКС”, где оно обеспечивает хранение и подачу жидких компонентов (топлива-горючего и окислителя) в двигательную установку корабля (станции), а при необходимости и дозаправку топливом внешних потребителей. Устройство имеет вытеснительную систему подачи топлива, а это значит, что топливо из баков 3, 4 выталкивается в магистраль подачи сжатым газом, например азотом, под высоким давлением. Во избежание перемешивания жидкости и газа каждый топливный бак 3, 4 разделен на жидкостную полость 14 (15) и газовую полость 16 (17) коррозионно-устойчивой внутренней эластичной мембраной 6 (сильфоном 11). При заправке топливных баков 3, 4 на Земле эта внутренняя эластичная мембрана 6 отжимается давлением топлива из исходного положения к противоположной стенке корпуса 5 бака 3 (4) и жидкий компонент, таким образом, заполняет весь бак 3 (4). В его газовой полости имеется штуцер, к которому по газовым магистралям от шар-баллонов высокого давления (около 200 атмосфер) системы наддува 2 через редуктор поступает с давлением порядка 20 атмосфер сжатый азот. Воздействуя на внутреннюю эластичную мембрану 6, азот как раз и является источником энергии, обеспечивающим поступление компонентов в камеру сгорания реактивного двигателя или при проведении дозаправки внешних потребителей (дозаправки топливных баков космической станции из топливных баков пристыкованного к ней космического корабля или наоборот). Таким образом, в газовых полостях топливных баков 3, 4 после их опорожнения всегда имеется давление (порядка 20 атмосфер), которое не позволяет сразу приступить к перекачке в них компонентов, например, из топливных баков космического корабля типа “Прогресс” в соответствующие топливные баки потребителя, например космической орбитальной станции типа “Мир” или “МКС”. Для устранения такого противодействия азот из топливных баков потребителя перед дозаправкой откачивают, например, компрессором и возвращают обратно в шар-баллоны системы наддува 2, при этом внутренняя эластичная мембрана 6 остается в полностью освобожденном от компонента топливном баке 3 (4) в исходном положении (в таком же, в каком она находилась перед заправкой на Земле). В процессе дозаправки баков 3, 4 топливом внутренняя эластичная мембрана 6 опять отжимается (так же, как и на Земле) давлением дозаправляемого топлива к противоположной стенке корпуса 5 бака 3 (4). И так каждый раз при заправке (дозаправке) бака 3, 4 топливом внутренняя эластичная мембрана 6 перекладывается от одной стенки к другой, при этом она принимает форму соответствующей стенки, что естественно приводит к ее износу и потере живучести.
Снабжение внутренней эластичной мембраны 6 (по первому варианту, см. фиг.2) спиральным элементом жесткости 7 в сочетании с выполненной параллельно ему на поверхности внутренней эластичной мембраны 6 желобообразной канавкой 10 обеспечивает мягкую (без хлопков) перекладку внутренней эластичной мембраны и исключает образование складок и неравномерность перехода внутренней эластичной мембраны из одного (исходного) положения в противоположное, а также упрощает (облегчает) процесс формирования (перегиба) внутренней эластичной мембраны из одной выпуклости в противоположную, что исключает дополнительные напряжения внутренней эластичной мембраны 6 и повышает надежность и живучесть устройства при многоразовых заправках (дозаправках) баков 3 (4) топливом как на Земле, так и в условиях космического полета.
Крепление внутренней эластичной мембраны 6 (по второму варианту, см. фиг.3) к корпусу 5 топливного бака 3 (4) посредством сильфона 11, дополнительно введенного в состав бака 3 (4), позволяет значительно смягчить краевые эффекты (напряжения) как в местах крепления внутренней эластичной мембраны 6 к корпусу 5, так в самой внутренней эластичной мембране 6 при ее перекладках в процессе многоразовых заправок (дозаправок) топливных баков 3, 4 жидкими компонентами, что исключает дополнительные напряжения в внутренней эластичной мембране 6 и повышает надежность и живучесть устройства. Кроме того, использование внутренней эластичной мембраны 6 совместно с сильфоном 11 за счет перекладки мембраны уменьшает невыработанный остаток топлива в баке, что повышает его КПД.
Выполнение внутренней эластичной мембраны 6 (по третьему варианту, см. фиг.4) переменной толщины, плавно уменьшающейся от центра 12 внутренней эластичной мембраны 6 к ее периферии вплоть до места крепления 13 внутренней эластичной мембраны 6 к корпусу 5 топливного бака 3 (4), значительно облегчает процесс формирования внутренней эластичной мембраны 6 при ее перекладках, а за счет ее наиболее тонкой периферийной части мембрана приобретает более гибкую конструкцию в местах начала перегиба и переформирования внутренней эластичной мембраны из одного положения в противоположное, что исключает дополнительные напряжения как в местах ее крепления 13 к корпусу 5 топливного бака 3 (4), так и в самой внутренней эластичной мембране 6 в целом, а это повышает надежность и живучесть устройства.
Таким образом, все три варианта устройства для хранения и подачи жидких компонентов к потребителям имеют оригинальные исполнения как конструкций внутренних эластичных мембран 6, так и работы топливных баков 3 (4), работающих в составе предлагаемого устройства для хранения и подачи жидких компонентов топлива потребителям, при этом обеспечивается повышенная надежность и живучесть путем исключения дополнительных напряжений во внутренней эластичной мембране 6 при ее многоразовых перекладках при эксплуатации устройства, что выполняет поставленную задачу.
Формула изобретения
1. Устройство для хранения и подачи жидких компонентов, содержащее раму с установленными на ней системой наддува и топливными баками горючего и окислителя, включающими корпус и внутреннюю эластичную мембрану, отличающееся тем, что внутренняя эластичная мембрана снабжена закрепленным на ее поверхности спиральным элементом жесткости, высота которого на концах плавно сходит на нет, при этом на поверхности внутренней эластичной мембраны параллельно спиральному элементу жесткости выполнена желобообразная канавка, причем внутренняя эластичная мембрана непосредственно скреплена с корпусом топливного бака.
2. Устройство для хранения и подачи жидких компонентов, содержащее раму с установленными на ней системой наддува и топливными баками горючего и окислителя, включающими корпус и внутреннюю эластичную мембрану, отличающееся тем, что внутренняя эластичная мембрана снабжена закрепленным на ее поверхности спиральным элементом жесткости, высота которого на концах плавно сходит на нет, при этом на поверхности внутренней эластичной мембраны параллельно спиральному элементу жесткости выполнена желобообразная канавка, причем внутренняя эластичная мембрана скреплена с корпусом топливного бака посредством сильфона.
3. Устройство для хранения и подачи жидких компонентов, содержащее раму с установленными на ней системой наддува и топливными баками горючего и окислителя, включающими корпус и внутреннюю эластичную мембрану, отличающееся тем, что внутренняя эластичная мембрана выполнена переменной толщины, плавно уменьшающейся от центра внутренней эластичной мембраны к ее периферии, вплоть до места крепления внутренней эластичной мембраны к корпусу топливного бака, при этом внутренняя эластичная мембрана выполнена из коррозионно-стойкого пластичного материала.
РИСУНКИ
|
|