|
|
(21), (22) Заявка: 2005110175/11, 07.04.2005
(24) Дата начала отсчета срока действия патента:
07.04.2005
(43) Дата публикации заявки: 20.10.2006
(46) Опубликовано: 20.06.2007
(56) Список документов, цитированных в отчете о поиске:
RU 2084378 C1, 20.07.1997. GB 2166542 A, 08.05.1986. GB 1083574 A, 13.09.1967. JP 10278891 A, 20.10.1998.
Адрес для переписки:
03062, г. Киев, а/я 132, В.С. Красникову
|
(72) Автор(ы):
Цюрук Константин Константинович (UA)
(73) Патентообладатель(и):
Государственное предприятие Авиационный научно-технический комплекс им. О.К. Антонова (UA)
|
(54) СИСТЕМА ПОДГОТОВКИ ВОЗДУХА ДЛЯ ЛЕТАТЕЛЬНОГО АППАРАТА С ТУРБОРЕАКТИВНЫМ ДВУХКОНТУРНЫМ ДВИГАТЕЛЕМ
(57) Реферат:
Изобретение относится к авиационной технике, в частности к системам кондиционирования воздуха на летательных аппаратах с турбореактивными двухконтурными двигателями. Система подготовки воздуха содержит воздухо-воздушный теплообменник, горячая линия которого соединена магистралью отбора воздуха с компрессором двигателя и сообщена с кабиной летательного аппарата, а продувочная линия соединена воздуховодом с вентиляторным контуром двигателя и сообщена с атмосферой. Заслонка с входным (11) и выходным (12) крыльями установлена с помощью шарнира (10) в воздуховоде и связана с регулятором расхода и температуры. Устройство стабилизации воздушного потока выполнено в виде канального разделителя (13), установленного между воздухо-воздушным теплообменником и заслонкой регулятора расхода и температуры в сегменте сечения воздуховода за выходным (12) крылом заслонки, при этом его передняя поверхность (15) выполнена эквидистантной профилю кромки выходного (12) крыла заслонки во всех ее положениях. Технический результат заключается в повышении ресурса работы элементов системы подготовки воздуха. 4 ил.
Изобретение относится к авиационной технике, в частности к системам кондиционирования воздуха на летательных аппаратах с турбореактивными двухконтурными двигателями (ТРДД).
Известна система подготовки воздуха для герметичных кабин летательного аппарата, в которой источником сжатого воздуха является компрессор ТРДД. Он соединен магистралью отбора с горячей линией воздухо-воздушного теплообменника, которая сообщена с гермокабиной. Продувочная линия теплообменника соединена воздуховодом с вентиляторным контуром ТРДД и сообщена с атмосферой. В системе имеется регулятор расхода и температуры продувочного воздуха. Заслонка регулятора установлена в воздуховоде перед продувочной линией теплообменника. При работе этой системы регулятор расхода и температуры постоянно отслеживает состояние температуры подаваемого в герметичную кабину воздуха и с помощью заслонки, установленной в воздуховоде, преобразует ее, изменяя расход продувочного воздуха (СССР, авторское свидетельство №307011, кл. В64D 13/06, 1971 г.).
Регулируемая заслонка, перекрывая воздуховод, турбулизирует поток, создавая пульсации давления воздуха. Распространяясь по воздуховоду, пульсации давления вызывают вибрации элементов конструкции в соответствии с их динамическими свойствами. Это приводит к разрушению узлов крепления заслонки и других элементов, связанных с воздуховодом, в особенности расположенных напротив входа в воздуховод частей вентиляторного контура ТРДД (обшивки, створки реверса и др.).
Ближайшим аналогом, принятым за прототип, является система подготовки воздуха для летательного аппарата с ТРДД, содержащая воздухо-воздушный теплообменник, горячая линия которого соединена магистралью отбора воздуха с компрессором двигателя и сообщена с герметичной кабиной летательного аппарата, а продувочная линия соединена воздуховодом с вентиляторным контуром двигателя и сообщена с атмосферой, а также заслонку, шарнирно установленную в воздуховоде и управляемую регулятором расхода и температуры продувочного воздуха. Шарнир разделяет заслонку на входное крыло, поворачивающееся при закрытии воздуховода по потоку, и выходное крыло, поворачивающееся против воздушного потока. Для снижения уровня пульсаций потока в воздуховоде перед заслонкой регулятора расхода и температуры установлен стабилизатор потока в виде ламинаризатора пограничного слоя. Он выполнен в виде ряда отверстий по контуру воздуховода (Россия, патент №2084378, МПК6 В64D 13/06, 1992 г.).
В такой системе не устранена турбулентность потока на заслонке, постоянно находящейся в колеблющемся режиме управления. На выходном крыле заслонки при резком закрытии и открытии происходит срыв потока. При этом образуются вихри, от которых динамические вибрационные нагрузки, войдя в резонанс с колебаниями заслонки, разрушают шарниры крепления заслонки, а, входя в резонанс с собственной частотой крыльев заслонки, разрушают ее. Ламинаризатор устраняет пульсации потока лишь в воздуховоде и не влияет на вихреобразование на крыльях заслонки, при этом повышается уровень шума.
Технической задачей изобретения является создание системы подготовки воздуха с повышенным ресурсом ее элементов путем устранения вибрационных перегрузок при обтекании воздушным потоком заслонки регулятора расхода и температуры в широком диапазоне режимов работы системы подготовки воздуха.
Указанная задача в системе подготовки воздуха для летательного аппарата с турбореактивным двухконтурным двигателем, содержащей воздухо-воздушный теплообменник, горячая линия которого соединена магистралью отбора воздуха с компрессором двигателя и сообщена с кабиной летательного аппарата, а продувочная линия соединена воздуховодом с вентиляторным контуром двигателя и сообщена с атмосферой, заслонку с входным и выходным крыльями, шарнирно установленную в воздуховоде и связанную с регулятором расхода и температуры, и устройство стабилизации воздушного потока, решается тем, что в нем устройство стабилизации воздушного потока выполнено в виде канального разделителя, установленного между воздухо-воздушным теплообменником и заслонкой регулятора расхода и температуры в сегменте сечения воздуховода за выходным крылом заслонки, при этом его передняя поверхность выполнена эквидистантной профилю кромки выходного крыла заслонки во всех ее положениях.
Выполнение устройства стабилизации воздушного потока выполнено в виде канального разделителя, позволяет разрушить вихри, стекающие с кромки выходного крыла заслонки при ее быстром закрытии, на отдельные потоки, а установка его между воздухо-воздушным теплообменником и заслонкой регулятора расхода и температуры в сегменте сечения воздуховода за выходным крылом заслонки, позволяет эффективно отобрать и изолировать воздушный поток, что не дает ему возможности войти в динамический резонанс с заслонкой. К тому же на задней поверхности заслонки при этом увеличивается стабильность потока. Выполнение передней поверхности канального разделителя эквидистантной профилю кромки выходного крыла заслонки во всех ее положениях расширяет диапазон его эффективной работы.
Изобретение поясняется чертежами.
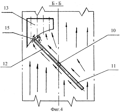
На фиг.1 изображена общая схема системы, на фиг.2 изображен вид на канальный разделитель в плоскости заслонки, открытой вдоль воздуховода, на фиг.3 изображен вид А (заслонка полностью открыта), на фиг.4 изображено сечение Б-Б (перпендикулярно оси шарнира заслонки), обтекание заслонки воздухом при ее закрытии.
Система подготовки воздуха для летательного аппарата с турбореактивными двухконтурными двигателями содержит воздухо-воздушный теплообменник 1, горячая линия 2 которого соединена магистралью 3 отбора воздуха с компрессором 4 двигателя и сообщена с кабиной 5 летательного аппарата. Продувочная линия 6 теплообменника 1 соединена воздуховодом 7 с вентиляторным контуром 8 двигателя и сообщена с атмосферой. Заслонка 9 соединена с управляющим механизмом регулятора расхода и температуры и шарнирно установлена в воздуховоде 7 перед продувочной линией 6 теплообменника 1. В простом варианте выполнения воздуховод имеет круглое сечение. Заслонка 9 выполнена в виде круглого диска с шарниром 10 в плоскости симметрии диска. Шарнир разделяет заслонку на входное крыло 11, поворачивающееся при закрытии воздуховода по потоку, и выходное крыло 12, поворачивающееся против воздушного потока. В воздуховоде 7 между заслонкой 9 и теплообменником 1 установлено устройство стабилизации воздушного потока. Оно выполнено в виде разделителя 13 потока на отдельные каналы 14 небольшой длины. Каналы в разделителе 13 сориентированы по потоку, а сам канальный разделитель установлен в сегменте сечения воздуховода за выходным крылом 12 заслонки. Передняя поверхность 15 разделителя 13 выполнена эквидистантной профилю кромки выходного крыла заслонки во всех ее положениях и отстоит от нее на расстоянии 2 мм. При круглой заслонке передняя поверхность разделителя сферическая.
Система подготовки воздуха для летательного аппарата работает следующим образом.
Воздух из компрессора 4 ТРДД проходит по магистрали 3 в горячую линию 2 воздухо-воздушного теплообменника 1, в которой охлаждается и подается потребителям, например в герметическую кабину 5 летательного аппарата. Охлаждение воздуха в теплообменнике 1 производится посредством его контакта и теплообмена с продувочной линией 6, в которую продувочный воздух подается от вентиляторного контура 8 ТРДД по воздуховоду 7.
При изменении регулятором расхода и температуры количества продувочного воздуха, например повороте заслонки 9 на закрытие для уменьшения количества продуваемого воздуха, на ней в момент движения создается на передней поверхности выходного крыла 12 уплотнение воздуха, а на задней поверхности – разрежение. Это вызывает срыв потока с кромки заслонки при перетекании потока в разреженную зону, образуются вихри. На другом – входном крыле 11 заслонки картина давления противоположная: мгновенное повышение давления создается на задней его поверхности. Если не устранить воздействие вихрей на выходное крыло заслонки, то они вызовут динамические нагрузки на нее. Они могут при известных соотношениях находиться в условиях акустического резонанса и таким образом служить причиной интенсивной вибрации как заслонки, так и ее крыльев. Поскольку передняя поверхность канального разделителя выполнена эквидистантной профилю кромки выходного крыла заслонки во всех ее положениях и расположена на небольшом (2 миллиметра) расстоянии от нее, воздушный поток с вихрями в начальной стадии, истекая с кромки выходного крыла 12, разделяется по каналам и изменяет свои характеристики. На задней поверхности заслонки 9 воздух из зоны повышенного давления за входным крылом 11, перетекая в зону пониженного давления за выходным крылом 12, сдувает вихри в каналы разделителя. Таким образом, стабилизатор потока, выполненный в виде канального разделителя, устраняет воздействие мгновенных завихрений воздушного потока на заслонку.
При движении заслонки на открытие воздуховода 7 воздушный поток усиливается и, интенсивно обтекая переднюю и заднюю поверхности заслонки, проходит как через канальный разделитель, так и по воздуховоду в продувочную линию теплообменника 1, где интенсивнее охлаждает воздух, протекающий по горячей линии.
Поскольку по маршруту полета самолета изменяются и режим работы двигателя, и температура атмосферного воздуха, попадающего в воздухо-воздушный теплообменник, то дроссельная заслонка 9 регулятора расхода и температуры постоянно находится в колебательном движении, вызывая возмущения потока. Канальный разделитель, поглощая воздушные вихри на срывных режимах, предотвращает возникновение динамических вибрационных перегрузок заслонки, что повышает ее ресурс.
Формула изобретения
Система подготовки воздуха для летательного аппарата с турбореактивным двухконтурным двигателем, содержащая воздухо-воздушный теплообменник, горячая линия которого соединена магистралью отбора воздуха с компрессором двигателя и сообщена с кабиной летательного аппарата, а продувочная линия соединена воздуховодом с вентиляторным контуром двигателя и сообщена с атмосферой, заслонку с входным и выходным крыльями, шарнирно установленную в воздуховоде и связанную с регулятором расхода и температуры, и устройство стабилизации воздушного потока, отличающаяся тем, что в ней устройство стабилизации воздушного потока выполнено в виде канального разделителя, установленного между воздухо-воздушным теплообменником и заслонкой регулятора расхода и температуры в сегменте сечения воздуховода за выходным крылом заслонки, при этом его передняя поверхность выполнена эквидистантной профилю кромки выходного крыла заслонки во всех ее положениях.
РИСУНКИ
MM4A – Досрочное прекращение действия патента СССР или патента Российской Федерации на изобретение из-за неуплаты в установленный срок пошлины за поддержание патента в силе
Дата прекращения действия патента: 08.04.2009
Извещение опубликовано: 20.03.2010 БИ: 08/2010
|
|