|
(21), (22) Заявка: 2004125809/11, 24.08.2004
(24) Дата начала отсчета срока действия патента:
24.08.2004
(43) Дата публикации заявки: 10.02.2006
(46) Опубликовано: 20.06.2007
(56) Список документов, цитированных в отчете о поиске:
RU 2170187 С2, 10.07.2001. RU 2070123 C1, 10.12.1996. SU 1546323 А2, 28.02.1990. SU 1537595 А1, 23.01.1990.
Адрес для переписки:
664074, г.Иркутск, ул. Чернышевского, 15, ИрГУПС, оф.Д-307
|
(72) Автор(ы):
Колбут Виктор Романович (RU), Попов Евгений Анатольевич (RU)
(73) Патентообладатель(и):
Иркутский Центр охраны труда железнодорожного транспорта (ИЦОТЖТ) (RU)
|
(54) УСТРОЙСТВО БЕЗОПАСНОСТИ СОСТАВИТЕЛЯ ПОЕЗДОВ В ЗОНЕ НЕГАБАРИТНЫХ МЕСТ
(57) Реферат:
Изобретение относится к железнодорожному оборудованию. Устройство содержит блок приборов составителя поезда и блок локомотивных приборов контроля. Кроме того, введен дополнительный стационарный блок приборов постоянного негабаритного места, состоящий из связанных между собой радиопередатчика опасной зоны негабаритного места, радиоприемников контроля опасной зоны негабаритного места и зоны оповещения негабаритного места, звукового сигнализатора зоны оповещения негабаритного места, светофора напольного, реле контроля опасной зоны и зоны приближения. Блок приборов составителя поездов включает связанные между собой радиоприемник опасной зоны с кнопкой бдительности, радиопередатчик связи с маневровым локомотивом с кнопкой блокировки движения, дублирующий радиопередатчик связи с маневровым локомотивом. Мобильный блок локомотивных приборов включает поездную радиостанцию, реле контроля локомотивных приборов, дублирующую поездную радиостанцию, тифон звукового сигнала и локомотивный светофор. Устройство позволяет составителю поездов нажатием кнопки блокировки блокировать движение маневрового локомотива при возникновении непредвиденных обстоятельств, способных привести к несчастному случаю и/или случаям, угрожающим безопасности движения. Благодаря этому обеспечивается повышенная безопасность составителя поездов. 2 з.п. ф-лы, 1 ил.
Изобретение относится к железнодорожному транспорту, в частности к устройствам для обеспечения безопасности составителя поездов в зоне негабаритных мест.
Известна система для оповещения о приближении подвижного состава (1).
Система содержит генератор несущей частоты, передатчик, имеющий блок сигнализации и приемник. Причем передатчик установлен на подвижном составе и содержит модулятор, выполненный из двух последовательно соединенных мультивибраторов и ключевого каскада. Выход модулятора соединен с выходом генератора несущей частоты и подключенный к входу резонансного усилителя в режиме класса В. Усилитель подключен к первому входу развязывающего устройства и выходу передатчика локомотивной радиосвязи. Приемник содержит два последовательно включенных резонансных усилителя, а кроме того, смеситель, усилитель промежуточной частоты, амплитудный детектор, неинвертирующий и инвертирующий усилители низкой частоты, две батареи питания, блок контроля уровня напряжения.
При этом выход второго резонансного усилителя подключен к одному входу смесителя, другой вход которого соединен с выходом гетеродина, а выход к одному из входов усилителя промежуточной частоты, выход последнего соединен с входом амплитудного детектора. Выход амплитудного детектора соединен с другим входом усилителя промежуточной частоты и входом неинвертирующего усилителя низкой частоты, выход последнего соединен с выходом инвертирующего усилителя низкой частоты. Причем блок сигнализации выполнен в виде звукового сигнализатора и имеет пьезоэлектрический преобразователь. К выводам питания резонансных усилителей высокой частоты смесителя и гетеродина подключена первая батарея питания. А к выводам питания инвертирующего и неинвертирующего усилителей низкой частоты подключен источник питания, образованный двумя батареями питания, включенными последовательно и связанными с блоком контроля уровня напряжения.
Предложенная система для оповещения о приближении подвижного состава обеспечивает оповещение работающих на путях, однако не решает проблему обеспечения безопасности составителей поездов.
Известно также изобретение (2). Устройство содержит датчики определения местонахождения поезда, связанные с рельсовыми цепями и соединенные через линию связи. К линии связи подключены источники питания, блоки управления оповещением, блок формирования команды управления, блок аварийного извещения, блок контроля включения оповещения. А также подключен блок формирования команды извещения, соединенный с блоком включения сигнала оповещения на светофоре и блоком передачи извещения на электровоз.
Устройство содержит также блок контроля исправности элементов устройства, соединенный с блоком сигнализации, и блок управления источниками энергии средств механизации путевых работ. Первый и второй выходы блока управления источниками энергии предназначены для подключения к источникам энергии средств механизации, а третий выход соединен с первым входом блока приемников, который содержит отдельные радиоприемники. Ко второму входу блока приемников подключен выход блока передатчиков. Выход блока передатчиков соединен с выходом блока сигнализации, а выход блока приемников подключен ко второму входу блока аварийного извещения.
Бригада рабочих включает прибор оповещения, блок передатчиков разворачивается вдоль фронта работ и подключается к специальному прибору.
Каждый работающий надевает спецодежду, к которой прикрепляется индивидуальный радиопередатчик, осуществляющий контроль за работой, и специальный блок.
Приближение поезда вызывает срабатывание блока контроля включения оповещения.
Блок формирования команды извещения формирует управляющий сигнал на электровоз и включение специального сигнала светофора.
В результате в дополнение к их основным показателям зажигается сигнал, оповещающий о проведении путевых работ.
При вступлении на участок приближения на локомотивном светофоре зажигается сигнал «Работы на путях». Одновременно отключаются источники энергии работающих на путях механизмов и подается звуковое и световое оповещение о необходимости вывести людей за пределы опасной зоны. Сигналы подаются до тех пор, пока поезд находится на участке, где производятся путевые работы. После прохождения поездом этого участка сигналы оповещения выключаются, включаются источники энергии и механизмы снова приводятся в рабочее состояние.
Данное устройство обеспечивает надежную систему оповещения ремонтных рабочих, но также не обеспечивает их безопасность в случае их задержки на путях.
Наиболее близким аналогом является устройство для оповещения о приближении поезда (3).
Данное устройство развивает предыдущее изобретение и отличается тем, что оно снабжено датчиками мониторной системы, каждый из которых включает биогальванический элемент, предназначенный для формирования сигнала, с учетом ритмических и других процессов организма работника, участвующего в работах на пути. Снабжен индивидуальными передатчиками указанного сигнала в виде биорадиоизлучения, которые связаны с индивидуальными пультами, включающими в себя кнопки контроля адекватной и своевременной реакции работника, расположенные в безопасной зоне, а также блок приемников, содержащий радиоприемники, каждый из которых включает в себя соответствующую кнопку фактического выхода работника из опасной зоны, при этом блок приемника связан с прибором аварийного извещения машиниста.
Это устройство также оповещает каждого рабочего о приближении поезда и, кроме того, отслеживает индивидуальный уровень стресса рабочего, фактический выход его из опасной зоны, но не способно обеспечить безопасность составителя поездов в силу специфики его работы и невозможности отойти на безопасное расстояние в зоне негабаритного места.
Целью данного изобретения является обеспечение безопасности составителя поездов в зоне негабаритных мест.
Цель достигается тем, что предлагаемое устройство содержит стационарный блок приборов постоянного негабаритного места, в штатный блок приборов составителя поездов включены дополнительные радиопередатчики связи с маневровым локомотивом, пультом управления и кнопкой блокировки движения, а в мобильный блок локомотивных приборов включена система, воспринимающая сигналы этих радиопередатчиков и специальный сигнал, блокирующие движение локомотива.
Устройство безопасности составителя поездов, содержащее блок приборов составителя поезда и блок локомотивных приборов контроля, отличающееся тем, что включен дополнительный стационарный блок приборов постоянного негабаритного места, состоящий из связанных между собой радиопередатчика опасной зоны негабаритного места, радиоприемников контроля опасной зоны негабаритного места и оповещения негабаритного места, звукового сигнализатора зоны оповещения негабаритного места, светофор напольный, реле контроля опасной зоны и зоны приближения, блок приборов составителя поездов, связанных между собой, включает радиоприемник опасной зоны с кнопкой бдительности, радиопередатчик связи с маневровым локомотивом, с кнопкой блокировки движения, дублирующий радиопередатчик связи с маневровым локомотивом, а мобильный блок локомотивных приборов включает поездную радиостанцию реле контроля локомотивных приборов, дублирующую поездную радиостанцию, тифон звукового сигнала и локомотивный светофор.
Радиопередатчик опасной зоны негабаритного места, радиоприемник контроля опасной зоны негабаритного места и радиоприемник зоны оповещения негабаритного места установлены непосредственно в зоне негабаритного места.
Длина участка оповещения определяется исходя из максимальной разрешенной скорости движения локомотива данного маневрового района станции и времени оповещения.
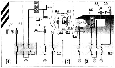
На чертеже представлена схема устройства обеспечения безопасности составителя поездов.
Устройство содержит три взаимосвязанных блока приборов:
– стационарный блок приборов постоянного негабаритного места 1;
– носимый блок приборов составителя поездов 2;
– мобильный блок локомотивных приборов контроля и блокировки движения 3.
Стационарный блок приборов постоянного негабаритного места 1 содержит:
– радиопередатчик опасной зоны негабаритного места 1.1;
– радиоприемник контроля опасной зоны негабаритного места 1.2;
– радиоприемник зоны оповещения негабаритного места 1.3;
– звуковой сигнализатор зоны оповещения негабаритного места 1.4;
– светофор напольный 1.5;
– реле контроля опасной зоны (с одним нормально замкнутым и одним нормально разомкнутым контактами) 1.6;
– реле контроля зоны приближения (с одним нормально замкнутым контактом) 1.7.
Приборы блока 1 устанавливаются следующим образом.
Радиопередатчик 1.1, радиоприемник 1.2 и радиоприемник 1.3 устанавливаются непосредственно в зоне негабаритного места.
Носимый блок приборов составителя поездов 2 содержит:
2.1. – радиоприемник опасной зоны с «Зеленой» кнопкой бдительности 2.3;
2.2. – радиопередатчик связи с маневровым локомотивом, с «Красной» кнопкой блокировки движения 2.4;
2.5. – дублирующий радиопередатчик связи с маневровым локомотивом с «Желтой» кнопкой 2.6, переключающей режимы работы устройства (см. ниже режим Р3).
Блок 2 конструктивно дополняет штатную носимую радиостанцию составителя поездов.
Мобильный блок локомотивных приборов контроля и блокировки движения 3 содержит:
поездную радиостанцию 3.1;
реле контроля локомотивных приборов (с одним нормально разомкнутым и двумя нормально замкнутыми контактами) 3.2;
дублирующую поездную радиостанцию 3.5.
Также к локомотивному блоку приборов условно отнесены штатные приборы локомотива, которые используются устройством для обеспечения безопасности при работе в зоне негабаритных мест, а именно:
3.3. – локомотивный светофор;
3.4. – тифон, выдающий звуковой сигнал;
3.6. – система торможения локомотива (на схеме не показана).
Приборы 3.1, 3.2 и 3.5 дополняют штатные приборы локомотива и могут размещаться в любом удобном месте кабины маневрового локомотива так, чтобы не создавать помех и обеспечивать свободный доступ при использовании штатных приборов и оборудования.
Настройка устройства.
Зона приема радиоприемником 1.3 сигнала радиопередатчика 2.3 настраивается исходя из расчета длины участка оповещения I0 (расстояния до составителя поездов от негабаритного места, приблизившись на которое составитель должен получить сигнал оповещения);
I0=V*t0, здесь V* – максимальная разрешенная скорость движения локомотива для данного маневрового района станции, a t0 – время оповещения (рассчитывается так же, как и время оповещения о приближении подвижной единицы к месту производства работ на железнодорожных путях, и, в первом приближении, может быть принято равным 50 секундам).
Зона приема радиоприемником 2.2 сигнала радиопередатчика 1.1 настраивается исходя из расчета максимально возможной длины участка торможения I* маневрового состава до негабаритного места.
Зона приема радиоприемником 1.2 сигнала радиопередатчика 1.1 не регулируется. В данном случае достаточно установить сам факт работы этого радиоканала.
Зона приема поездной радиостанцией 3.1 сигнала радиопередатчика 2.3 не регулируется, а задается как максимально возможная технически.
Зона приема радиоприемником 2.2 сигнала радиопередатчика 2.1 не регулируется. В данном случае также достаточно установить сам факт работы этого радиоканала.
Работа устройства может осуществляться в четырех режимах:
– активной бдительности Р1;
– автоматического оповещения составителя и ограждения места работ Р2;
– автоматического предупреждения наезда Р3;
– ручной блокировки движения маневрового локомотива составителем поездов Р4.
Режим активной бдительности Р1.
В режиме активной бдительности могут одновременно находиться или все, или только некоторые блоки устройства, т.е. блоки 1, 2 и 3, а соответственно, можно рассмотреть и частные случаи этого режима: Р1.1, Р1.2 и Р1.3.
Р1.1. Этот режим устанавливается автоматически, когда составитель поездов находится на расстоянии I от постоянного негабаритного места большем, чем линейный размер зоны оповещения I0 (т.е. I>I0), а маневровый электровоз удален еще больше и не может создать опасности наезда.
При этом блок приборов негабаритного места 1 работает следующим образом.
Радиопередатчик 1.1 передает, а радиоприемник контроля опасной зоны 1.2 воспринимает его сигнал. Этот принимаемый сигнал управляет работой транзистора (на схеме радиоприемника 1.2 не показан), т.е. принимая этот сигнал, транзистор «открывается» и через него подается питание («плюс» источника) на обмотку возбуждения реле контроля опасной зоны 1.6. «Минус» питания обмотки возбуждения реле 1.6 подается через нормально замкнутый контакт реле контроля зоны приближения 1.7. При этом через нормально разомкнутый контакт реле 1.6 подается питание светового (белый или зеленый) сигнала светофора 1.5, разрешающего движение маневрового локомотива. В режиме осуществляется постоянный контроль за работоспособностью блока 1. Так, при любом нарушении работы радиопередатчика 1.1 радиоприемник 1.2, не получая радиосигнала, обесточит реле 1.6, что вызовет переключение светофора 1.5 на запрещающий (красный или синий, в зависимости от используемого светофора) сигнал и подачу звукового сигнала 1.4.
Р1.2. Блок 2 в состоянии активной бдительности предусматривает проверку его работоспособности до начала работы. С этой целью, по согласованию с машинистом маневрового локомотива, составитель поездов включает радиопередатчик 2.1 и, убедившись в работоспособности блока, т.е. в возможности блокировки движения локомотива (подробнее см. в описании режима Р3), включает этот радиопередатчик. Блок 2 и маневровый электровоз переходят в штатные режимы, устройство готово к работе в режиме активной бдительности и осуществляет питание радиопередатчика 2.3, который выдает постоянный радиосигнал и обеспечивает режим Р1.3.
Р1.3. Сигнал радиопередатчика 2.3 воспринимается поездной радиостанцией 3.1, и, пока поездная радиостанция 3.1 воспринимает этот сигнал, «открыт» транзистор (на схеме не показан), через который осуществляется питание («плюс» источника) обмотки возбуждения реле 3.2, а соответственно, и подается питание на приборы локомотива, разрешающие его движение, в том числе подается питание и на световой сигнал (зеленый) локомотивного светофора 3.3.
В состоянии активной бдительности устройство безопасности осуществляет непрерывный контроль исправности всех элементов, а в случае их неисправности и (или) появления составителя поездов в контролируемой зоне переходит в режим Р2 автоматического оповещения составителя поездов и ограждения негабаритного места или режим Р3 блокировки движения маневрового локомотива.
Режим автоматического оповещения составителя поездов и ограждения места работ Р2.
Этот режим устанавливается автоматически при входе составителя в зону приближения к постоянному негабаритному месту (I0), с этого момента радиоприемник 1.3 воспринимает сигнал радиопередатчика 2.3. С получением радиосигнала 1.3 открывается транзистор (на схеме не показан), через который подается питание («плюс» источника) на обмотку возбуждения реле 1.7. Нормально замкнутый контакт реле 1.7 разомкнется и произойдет потеря питания обмотки возбуждения реле 1.6, а соответственно, и переключение сигнала светофора 1.5 на запрещающий («красный» или «синий», в зависимости от типа установленного светофора), а также подачу ревуном 1.4 звукового сигнала тревоги. Ревун 1.4 оповещает о необходимости особой бдительности при проследовании составителем поездов негабаритного места, а других железнодорожников – о необходимости принять меры безопасности для исключения наезда.
Итак в режиме Р2 составитель поездов оповещается о приближении к опасной зоне негабаритного места, а показания напольного светофора запрещают машинисту маневрового локомотива дальнейшее движение к негабаритному месту, т.е. осуществляется автоматическое ограждение негабаритного места.
Режим автоматического предупреждения наезда Р3.
Этот режим устанавливается автоматически при дальнейшем приближении в составителя поездов к негабаритному месту (I*), когда дальнейшее приближение маневрового локомотива может привести к наезду.
Составитель поездов может производить работы в двух режимах:
В первом режиме маневровый локомотив находится в «хвосте» железнодорожного состава (состав движется вагонами вперед) и предусматривается прохождение негабаритного места составителем пешком впереди железнодорожного состава. Этому режиму работы составителя поездов соответствует режим Р3.1 работы данного устройства. Если составитель поездов нажал и удерживает «Зеленую кнопку контроля бдительности» 2.4, то устройство будет продолжать работу в режиме Р2.
Если же, нарушая требования безопасности, составитель поездов не подтвердил нажатием кнопки 2.3 адекватное восприятие оповещения, то при дальнейшем опасном приближении к негабаритному месту радиоприемник 2.1, получив радиосигнал от передатчика 1.1, «открывает» транзистор (на схеме не показан) через который подается питание на реле (на схеме также не показано), которое, в свою очередь, обесточивает радиопередатчик 2.2. Отсутствие питания, а соответственно, и отсутствие радиосигнала передатчика 2.3, соответственно, приведет к тому, что радиоприемник 3.1 не обеспечивает подачу питания обмотки возбуждения реле 3.2. Нормально замкнутые контакты реле 3.2 замкнутся и вызовут срабатывание локомотивной системы экстренного торможения, включение тифона 3.4 и переключение показания локомотивного светофора 3.3 на запрещающий (красный) сигнал.
Если же в соответствии с требованиями правил составитель поездов, восприняв сигналы оповещения, нажал и удерживает в нажатом положении кнопку 2.3, т.е. подтверждает свою повышенную бдительность в зоне негабаритного места, то автоматической блокировки движения локомотива не происходит. Нажатие кнопки 2.3 приводит к потере питания радиоприемником 2.1 и невозможности автоматически прервать подачу радиосигнала передатчика 2.2.
Во втором режиме работы составителя поездов маневровый локомотив находится впереди состава, составителю поездов разрешен проезд на этом составе. Этому режиму работы составителя соответствует режим 3.2 работы устройства обеспечения безопасности. Восприняв сигналы, подаваемые в режиме 2, составитель поездов должен нажать фиксируемую в нажатом состоянии «Синюю» кнопку 2.6. Нажатие этой кнопки приводит к включению питания радиопередатчика 2.5 и отключению радиопередатчика 2.2. Отключение радиопередатчика 2.2 приводит к переходу устройства в режим Р1.3. При этом разрешающий сигнал напольного светофора разрешает маневровому локомотиву продолжить движение, а прием локомотивным радиоприемником 3.5 включившегося сигнала радиопередатчика 2.5 позволяет это движение технически, т.к. и в этом случае удерживается под напряжением обмотка возбуждения реле 3.2. Однако и в этом случае составитель поездов должен подтвердить свою повышенную бдительность нажатием и удержанием в нажатом состоянии «Зеленой» кнопки 2.1 (см. режим Р3.1) до момента проезда негабаритного места. В противном случае также произойдет автоматическая блокировка движения маневрового локомотива, т.е. автоматическое предупреждение наезда.
Режим ручной блокировки движения маневрового локомотива составителем поездов Р4.
Дополнительно устройство может обеспечивать безопасность (например, в межвагонном пространстве) самого составителя поездов или других людей, оказавшихся в опасном состоянии и (или) обеспечить безопасность техники, сооружений и т.д. при опасности наезда на них. Для этой цели составителю поездов достаточно нажать «Красную» кнопку 2.4. При этом питание радиопередатчиков 2.2 и 2.5 будет прервано, а отсутствие радиосигналов на поездных радиостанциях 3.1 и 3.5 приведет к блокировке движения маневрового локомотива (см. описание этого процесса в режиме Р3).
Устройство по блокам отдельно и при его совместной работе прошло проверку в лабораторных условиях на кафедре БЖД ИрГУПСа.
В настоящее время отдельный образец данного устройства изготовлен и устанавливается в районе негабаритного места главного материального склада ВСЖД.
ЛИТЕРАТУРА
1. Патент РФ №2070124, МПК В61L 23/06, «Система для оповещения о приближении подвижного состава». Заявитель: Грачев В.Ю. и др. Дата подачи заявки 08.06.1993 г.
2. Авторское свидетельство на изобретение СССР №1263568, МПК В61L 23/06, «Устройство для оповещения о приближении поезда». Заявитель: Иркутский институт инженеров ж.д. транспорта. Дата подачи изобретения 14.04.1985 г.
3. Патент РФ №2170187, МПК В61L 23/06, «Устройство для оповещения о приближении поезда». Заявитель: Московский государственный университет путей сообщения. Дата действия изобретения 24.06.1999 г.
Формула изобретения
1. Устройство безопасности составителя поездов, содержащее блок приборов составителя поезда и мобильный блок локомотивных приборов контроля, отличающееся тем, что включен дополнительный стационарный блок приборов постоянного негабаритного места, состоящий из связанных между собой радиопередатчика опасной зоны негабаритного места, радиоприемников контроля опасной зоны негабаритного места и зоны оповещения негабаритного места, звукового сигнализатора зоны оповещения негабаритного места, светофора напольного, реле контроля опасной зоны и зоны приближения, при этом блок приборов составителя поездов включает связанные между собой радиоприемник опасной зоны с кнопкой бдительности, радиопередатчик связи с маневровым локомотивом с кнопкой блокировки движения, дублирующий радиопередатчик связи с маневровым локомотивом, а мобильный блок локомотивных приборов включает поездную радиостанцию, реле контроля локомотивных приборов, дублирующую поездную радиостанцию, тифон звукового сигнала и локомотивный светофор.
2. Устройство по п.1, отличающееся тем, что радиопередатчик опасной зоны негабаритного места, радиоприемник контроля опасной зоны негабаритного места и радиоприемник зоны оповещения негабаритного места установлены непосредственно в зоне негабаритного места.
3. Устройство по п.1, отличающееся тем, что длина участка оповещения определяется исходя из максимальной разрешенной скорости движения локомотива данного маневрового района станции и времени оповещения.
РИСУНКИ
MM4A – Досрочное прекращение действия патента СССР или патента Российской Федерации на изобретение из-за неуплаты в установленный срок пошлины за поддержание патента в силе
Извещение опубликовано: 27.04.2009 БИ: 12/2009
|