|
|
(21), (22) Заявка: 2005121276/11, 08.07.2005
(24) Дата начала отсчета срока действия патента:
08.07.2005
(43) Дата публикации заявки: 20.01.2007
(46) Опубликовано: 20.06.2007
(56) Список документов, цитированных в отчете о поиске:
DE 19507021 A1, 05.09.1996. US 2004099177 A1, 27.05.2004. ЕР 0409123 А2, 23.01.1993. Механическая часть подвижного состава./Под ред. И.В.БИРЮКОВА. – М.: Машиностроение, 1992, с.22-23.
Адрес для переписки:
127994, Москва, ул. Образцова, 15, МИИТ
|
(72) Автор(ы):
Круглов Валерий Михайлович (RU), Савоськин Анатолий Николаевич (RU), Поляков Александр Иванович (RU)
(73) Патентообладатель(и):
Государственное образовательное учреждение высшего профессионального образования Московский государственный университет путей сообщения (МИИТ) (RU)
|
(54) ДВУХОСНАЯ ТЕЛЕЖКА РЕЛЬСОВОГО ТРАНСПОРТНОГО СРЕДСТВА
(57) Реферат:
Двухосная тележка содержит колесные пары 1 с буксами 2, соединенные посредством первой ступени рессорного подвешивания с рамами одноосных тележек незамкнутой [-образной формы, связанными с кузовом продольными поводками, и вторую ступень рессорного подвешивания для связи кузова транспортного средства с корпусом букс. Противоположные внутренние концы рам одноосных тележек соединены диагональными тягами. Первая ступень рессорного подвешивания состоит из двух композитных рессор 8, 9, первые концы которых прикреплены к буксам и разъединены между собой, а вторые концы соединены между собой и с рамами одноосных тележек. Рамы одноосных тележек снабжены дополнительными балками, закрепленными в ее центре, с установленными на них тормозным оборудованием и кронштейнами для крепления продольных поводков 7, выполненных из композитного материала и другими своими концами присоединенных к кронштейнам 11 кузова 12 транспортного средства штифтами прямоугольного сечения. Снижается масса тележек, повышаются их динамические качества, уменьшается износ колес и рельс. 1 з.п. ф-лы, 3 ил.
Изобретение относится к двухосным тележкам рельсовых транспортных средств, в частности, к тележкам грузовых и пассажирских вагонов, а также прицепным вагонам электропоездов.
Известны одноосные тележки типа KERF [1] и FEBA [2] (см. «Железные дороги мира» №12, 1996 г., стр.24-27 и №8, 2002 г., стр.56-59), а также одноосная тележка рельсового транспортного средства (см. патент РФ: RU 2209741 С2 7 В61F 5/38, 3/04, 2001 г.) [3]. Недостатком этих конструкций является то, что у них не предусмотрена возможность объединения в двухосные тележки.
Наиболее близкой к предлагаемому изобретению является двухосная безрамная тележка фирмы «Фиат» [4], в которой предусмотрено непосредственное опирание кузова на буксы колесных пар. Недостатками этой тележки являются наличие возвращающего устройства со сферическим шарниром в шкворневом узле, а также широкое применение резинометаллических шарниров в связях колесной пары с рамами и рам с возвращающим устройством. Кроме того, в этой тележке имеется большое количество мелких деталей, приближающих ее к ходовым устройствам легковых автомобилей. Все это в совокупности не дает возможности использовать ее конструкцию на магистральном подвижном составе железных дорог с высокими нагрузками, передаваемыми от колес на рельсы.
Предложенное изобретение позволяет снизить массу тележки, трудоемкость изготовления тележки, повысить запасы прочности ее элементов при сохранении высокой нагрузки на ось – до 25 т. Кроме того, улучшатся динамические свойства подвижного состава, особенно в горизонтальной плоскости.
Техническим результатом при осуществлении изобретения является снижение горизонтальных сил взаимодействия колес с рельсами и уменьшение их износа, а также уменьшение сопротивления движению, что обеспечивает снижение расхода энергии на тягу поездов.
Указанный технический результат достигается тем, что две одноосные тележки рельсового транспортного средства, содержащие колесные пары с буксами, соединенными посредством первой ступени рессорного подвешивания с рамой тележек, связанной с кузовом продольными поводками, и вторую ступень рессорного подвешивания для связи кузова транспортного средства с корпусом букс, снабжена диагональными тягами синхронизатора радиальной установки, соединяющими противоположные внутренние концы рам двух одноосных тележек, при этом первая ступень подвешивания состоит из двух композитных рессор для передачи вертикальных, продольных и поперечных сил, первые концы которых прикреплены к буксам и разъединены между собой, а вторые концы соединены между собой и с рамой тележки.
Кроме того, продольный поводок выполнен из композитного материала и одним концом соединен круглым валиком с кронштейном рамы тележки, обеспечивающим свободу для колебаний виляния и упругое сопротивление при колебаниях подпрыгивания, галопирования и подергивания тележки. Второй конец тягового поводка соединен с кронштейном кузова штифтом прямоугольного сечения, обеспечивающим упругое сопротивление вертикальным и поперечным перемещениям тележек относительно кузова. Вторая ступень подвешивания оборудована двухрядными пружинами с гидравлическим гасителем колебаний, включенным последовательно с отдельной пружиной для того, чтобы не пропускать высокочастотные колебания с корпуса буксы на кузов. Демпфирование колебаний в первой ступени рессорного подвешивания и в связи внутренних концов рам с кузовом выполняется силами внутреннего трения композитных элементов. Верхняя обойма пружин второй ступени выполнена по типу, предложенному в [5], перекатывающейся с ножевым элементом для обеспечения поперечных перемещений колесной пары относительно кузова при движении в кривой. Демпфирование колебаний относа и виляния тележек и кузова выполнено отдельными гасителями.
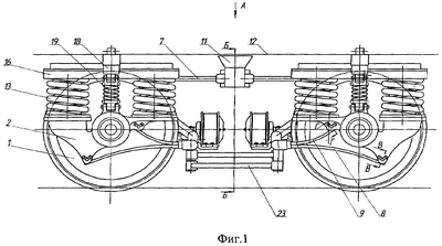
На фиг.1 изображена двухосная тележка рельсового транспортного средства, общий вид; на фиг.2 – вид по стрелке А на фиг.1, на фиг.3 – сечение по Б-Б на фиг.1.
Двухосная тележка рельсового транспортного средства содержит колесные пары 1 с буксами 2, соединенными с рамами 3 тележки посредством первой ступени рессорного подвешивания.
Рамы 3 тележки расположены в горизонтальной плоскости ниже оси колесных пар 1 и выполнены незамкнутыми, например [-образной формы, состоящих каждая из средней части и двух боковых частей. К средней части присоединена дополнительная балка 4, на которой размещены детали тормозных устройств 5 и кронштейн 6 крепления продольного поводка 7.
Первая ступень рессорного подвешивания состоит из двух однолистовых композитных рессор 8 и 9 для передачи вертикальных, продольных и поперечных сил, причем первые концы рессор 8 и 9 шарнирно прикреплены к корпусам букс 2 в разных точках, а вторые концы соединены между собой и с рамами 3 тележки. К кронштейну 6 присоединен с помощью цилиндрического валика 10 продольный поводок 7, выполненный из композитного материала. Другой конец поводка 7 присоединен к кронштейну 11 кузова 12 штифтом прямоугольного сечения. Такой способ крепления продольного поводка 7 обеспечивает упругое сопротивление и демпфирование при колебаниях подпрыгивания, галопирования, подергивания, относа и боковой качки кузова 12 и тележки, в то время как для колебаний виляния тележки сопротивление не создает.
Вторая ступень рессорного подвешивания связывает кузов 12 с буксами 2 и состоит из четырех комплектов двухрядных пружин 13. Каждая двухрядная пружина 13 состоит из наружной пружины 14 и внутренней пружины 15. Верхняя обойма 16 пружин 13 выполнена перекатывающегося типа с ножевым элементом. Кузов 12 передает нагрузки через опору 17, поверхность сочленения которой с обоймой 16 выполнена с радиусом. Для демпфирования вертикальных колебаний кузова 12 предусмотрен гидравлический гаситель 18 колебаний с последовательно включенной пружиной 19, что обеспечивает снижение высокочастотных возмущений, передаваемых от букс 2 колесных пар 1. Демпфирование горизонтальных колебаний выполнено гасителями 20.
Для ограничения поперечных перемещений рам 3 тележки относительно кузова 12 транспортного средства при движении в кривой предусмотрены ограничитель поперечных перемещений 21, расположенный на тележке, и упругие поперечные упоры 22 кузова 12.
Для обеспечения радиальной установки в кривых участках пути предусмотрен механизм синхронизации, состоящий из двух диагональных тяг 23, соединяющих противоположные внутренние концы рам 3 тележки. Тяги 23 выполнены из композитного материала, а их крепление к кронштейнам 24 рам 3 выполнено валиками круглого сечения. При этом любое поперечное относительное перемещение тележки создает упругие поперечные и продольные реакции, что стабилизирует извилистое движение и увеличивает критическую скорость, превышение которой вызывает потерю устойчивости извилистого движения. Предварительными расчетами установлено, что, изменяя упругости диагональных тяг 23, можно повысить критическую скорость свыше 800 км/ч, что полностью обеспечивает требования к подвижному составу железных дорог, в том числе и к высокоскоростному.
Тормозные устройства 5 выполнены в виде дисковых тормозов 25 с тормозными цилиндрами 26.
Двухосная тележка рельсового транспортного средства работает следующим образом.
Вертикальные статические и динамические силы от кузова 12 передаются непосредственно на буксы 2 колесных пар 1 и вся гибкость пружин 13 обеспечивает защиту кузова 12 от колебаний, что улучшает динамические свойства транспортного средства. При этом конструктивное выполнение пружин 13 обеспечивает, чтобы при порожнем кузове 12 статический прогиб создавался только наружной пружиной 14, а внутренняя пружина 15, имеющая меньшую высоту, оставалась бы не загруженной. При полной загрузке кузова 12 прогибаются обе пружины 14 и 15 так, чтобы их статический прогиб стал равен статическому прогибу наружной пружины 14 при порожнем кузове. Это решение обеспечивает стабильность динамических свойств транспортного средства независимо от загрузки кузова 12. Вертикальные статические и динамические силы от одного конца тележки передаются однолистовыми рессорами 8 и 9 на корпуса букс 2, а от другого конца – через продольный поводок 7 на кузов 12. Демпфирование вертикальных колебаний выполнено подпружиненными гидравлическими гасителями 18 и силами внутреннего трения композитных рессор 8 и 9 и продольных поводков 7.
Поворот тележки относительно кузова 12 в горизонтальной плоскости (виляние) происходит за счет поперечной деформации пружин 13 и диагональных тяг 21, а при относе тележки упругое сопротивление создается еще и продольными поводками 7. Ножевая опора на верхней обойме пружин 13 обеспечивает возможность поперечного перемещения колесных пар 1 относительно кузова 12. При выборе поперечного зазора в упругих упорах 22 увеличивается «возвращающая» сила, создающая необходимые условия движения кузова 12 в кривой. Кроме того, совместное действие пружин 13 и упругих упоров 22 обеспечивает и поперечную устойчивость кузова 12 от опрокидывания. Демпфирование горизонтальных колебаний кузова 12 выполняется гасителями 25 и силами внутреннего трения в продольных поводках 7.
Источники информации
1. Одноосная самоустанавливающаяся тележка KERF. «Железные дороги мира» №12, 1996 г., стр.24-27.
2. Новая концепция ходовой части регионального поезда ВМ 72. «Железные дороги мира» №8, 2002 г., стр.56-59.
3. Одноосная тележка рельсового транспортного средства. Патент РФ: RU 2209741 С2 7 В61F 5/38, 3/04, 2001 г.
4. Проспект тележки «Фиат».
5. Соединение кузова локомотива с тележкой. Авторское свидетельство СССР №440296 от 25.08.74 г.
Формула изобретения
1. Двухосная тележка рельсового транспортного средства, содержащая колесные пары с буксами, соединенные посредством первой ступени рессорного подвешивания с рамами одноосных тележек незамкнутой [-образной формы, связанными с кузовом продольными поводками, и вторую ступень рессорного подвешивания для связи кузова транспортного средства с корпусом букс, и снабженная диагональными тягами синхронизатора радиальной установки, соединяющими противоположные внутренние концы рам одноосных тележек, отличающаяся тем, что первая ступень рессорного подвешивания состоит из двух композитных рессор, первые концы которых прикреплены к буксам и разъединены между собой, а вторые концы соединены между собой и с рамами одноосных тележек, а рамы одноосных тележек снабжены дополнительными балками, закрепленными в ее центре, с установленными на них тормозным оборудованием и кронштейнами для крепления продольных поводков, выполненных из композитного материала и другими своими концами присоединенных к кронштейнам кузова транспортного средства штифтами прямоугольного сечения.
2. Двухосная тележка по п.1, отличающаяся тем, что во второй ступени рессорного подвешивания применены двухрядные пружины, причем при порожнем кузове статический прогиб создается только наружной пружиной, а при полной загрузке кузова прогибаются обе пружины так, чтобы их статический прогиб стал равен статическому прогибу наружной пружины при порожнем кузове.
РИСУНКИ
|
|