|
|
(21), (22) Заявка: 2005125672/11, 12.08.2005
(24) Дата начала отсчета срока действия патента:
12.08.2005
(43) Дата публикации заявки: 10.01.2006
(46) Опубликовано: 20.06.2007
(56) Список документов, цитированных в отчете о поиске:
JP 4126642 А, 27.04.1992. WO 9744220, 27.11.1997. JP 2005059749, 10.03.2005. GB 2267263, 01.12.1993. RU 93036978 А, 27.04.1996.
Адрес для переписки:
443010, г.Самара, ул. Красноармейская, 17, Самарская областная организация ВОИР
|
(72) Автор(ы):
Утин Сергей Вячеславович (RU)
(73) Патентообладатель(и):
Утин Сергей Вячеславович (RU)
|
(54) КОЛЕСНЫЙ ФИКСАТОР
(57) Реферат:
Изобретение относится к области транспорта и может быть использовано для стопорения транспортного средства. Колесный фиксатор выполнен сборным и состоит из двух частей, сопрягающихся между собой, имеющих в основании прямоугольник, а боковые стороны представляют собой треугольник. В одной части выполнен паз, а в другой выступ, а также на вершине каждой части установлены вращающиеся элементы. Упрощается конструкция, технология изготовления и применение. 1 з.п. ф-лы, 2 ил.
Изобретение относится к области транспорта и может быть использовано для стопорения транспортного средства, например, во время ремонта.
Известен «Автоупор Леухина Н.Н.», содержащий упор, поворачивающийся относительно оси. Упор может быть выполнен сборным и состоять из упорной и опорной частей, поворачивающихся относительно общей оси, соединенных в единое целое посредством пружины.
Автоупор Леухина Н.Н. неудобен в применении, требует определенных навыков и сложен в изготовлении.
Целью заявляемого устройства является упрощение конструкции и технологии изготовления и применения.
Поставленная цель решается тем, что колесный фиксатор выполнен сборным и состоит из двух частей, которые сопрягаются между собой, в одной части выполнен паз, содержащий рифления, а в другой – выполнен выступ, и обе части фиксатора обеспечены вращающимися элементами.
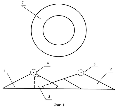
Колесный фиксатор представлен на Фиг.1 (вид спереди) и Фиг.2 (вид сверху).
Колесный фиксатор состоит из двух частей 1 и 2 (Фиг.1), части 1 и 2 имеют в основании прямоугольник, а боковые стороны представляют собой треугольник, в части 1 (Фиг.1, 2) выполнен паз 3, а в части 2 выполнен выступ 4, в позе 3 (Фиг.2) выполнены рифления 5, в обеих частях (Фиг.1) при вершинах установлены вращающиеся элементы 6, например ролики, подшипники и т.д.
Колесный фиксатор применяется при ремонте автотранспортного средства для фиксации автомобиля и придания ему неподвижности, например, при откреплении колеса.
При откреплении колеса колесный фиксатор в разъемном состоянии подставляют под открепляемое колесо, автомобиль приподнимают от плоскости опоры, на которой он установлен (настил, асфальт и др.), на 7 – 14 см и продвигают обе части (Фиг.1 и 2) колесного фиксатора навстречу друг другу, при этом выступ 4 (Фиг.2) части 2 должен войти в паз части 1, и продолжают продвигать обе части фиксатора до установки колеса 7 автомобиля на вращающиеся элементы 6 (Фиг.1). Рифления 5 в пазе 3 (Фиг.2) выполнены для устранения нежелательного скольжения частей относительно друг друга. Колесо установлено на колесном фиксаторе, его открепляют и проводят с ним необходимые операции.
Использование колесного фиксатора позволяет снизить трудоемкость открепления колеса за счет разъемного изготовления колесного фиксатора, удобство использования обеспечивается наличием вращающихся элементов, они, при необходимости, позволяют проворачивать колесо. Надежная опора колеса на заявляемый колесный фиксатор обеспечивает соблюдение техники безопасности при снятии колеса.
Заявляемый колесный фиксатор прост в изготовлении и применении, может быть использован как в больших пунктах технического обслуживания автомобилей, так и необходим в индивидуальном использовании.
Формула изобретения
1. Колесный фиксатор, выполненный сборным, отличающийся тем, что состоит из двух частей, сопрягающихся между собой, имеющих в основании прямоугольник, а боковые стороны представляют собой треугольник, при этом в одной части выполнен паз, а в другой выступ, а также на вершине каждой части установлены вращающиеся элементы.
2. Колесный фиксатор по п.1, отличающийся тем, что в пазе выполнены рифления.
РИСУНКИ
MM4A – Досрочное прекращение действия патента СССР или патента Российской Федерации на изобретение из-за неуплаты в установленный срок пошлины за поддержание патента в силе
Дата прекращения действия патента: 13.08.2007
Извещение опубликовано: 10.03.2009 БИ: 07/2009
|
|