|
(21), (22) Заявка: 2004119430/12, 22.10.2002
(24) Дата начала отсчета срока действия патента:
22.10.2002
(30) Конвенционный приоритет:
27.11.2001 DE 10158093.2
(43) Дата публикации заявки: 10.11.2005
(46) Опубликовано: 20.06.2007
(15) Информация о коррекции:
Версия коррекции № 1 (
Настоящее изобретение относится к машине для глубокой печати, описанной в ограничительной части п. 1 формулы изобретения.
Такая машина известна, например, из патента ЕР 0873866 В1. Такая известная печатная машина имеет четыре формных цилиндра глубокой печати, на которые в каждом случае подается краска из соответствующего накатного устройства. Краска на поверхность формного цилиндра глубокой печати ложится только в местные углубления. Эта краска переносится на собирающий цилиндр, который вращается в контакте со всеми четырьмя формными цилиндрами. Таким образом на собирающем цилиндре образуется слой краски, составленный из красок от разных формных цилиндров, и состав и цвет которого может различаться от точки к точке. Формные пластины формного цилиндра, который вращается в контакте с орловским цилиндром, окрашиваются этим слоем краски переменного состава, и изображение с пластин наносится на носитель с распределением цветов, определяемым составом слоя краски, при этом носитель пропускается между формным цилиндром и прижимным цилиндром. Таким образом, за один проход носителя через станок распечатывается многоцветное изображение, по определению не имеющее ошибок совмещения, поскольку имеется лишь одна формная пластина. Этот способ поэтому применяется предпочтительно для печати ценных бумаг, таких как, например, банкнот.
Поскольку рисунок углублений на формных цилиндрах глубокой печати специфичен для каждого отдельного нанесения краски, в старых печатных машинах такого типа было важно, чтобы формные цилиндры для глубокой печати были легкосъемными. Разработка формных пластин для глубокой печати позволила отказаться от демонтажа формных цилиндров. Однако с отказом от возможности демонтажа в машинах для глубокой печати обычного типа, известного из патента ЕР 0873866 В1, доступ к орловскому цилиндру стал крайне ограничен, что существенно затруднило его очистку.
В патенте DE 69008941 Т1 раскрыта машина для глубокой печати для производства ценных бумаг. В этом документе пластина и прижимные цилиндры установлены в стационарной основной стойке, собирающий краску цилиндр и валок выбора краски расположены в первой подвижной стойке, а красочный аппарат расположен во второй подвижной стойке.
Целью настоящего изобретения является создание машины для глубокой печати.
Согласно настоящему изобретению эта цель достигается за счет признаков, содержащихся в п. 1 формулы изобретения.
Преимущества, которые достигаются настоящим изобретением, в частности заключаются в том, что орловский цилиндр является легкодоступным для обслуживания без необходимости демонтажа формных цилиндров. Вместо этого в машине можно предусмотреть промежуточное пространство, обеспечивающее доступ к орловскому цилиндру за счет отвода орловского цилиндра от формного цилиндра.
Поскольку первая подвижная часть стойки, на которой установлен орловский цилиндр, и, для удобства, также формные цилиндры глубокой печати, подвешена на направляющих, отсутствует необходимость в фиксации или в прокладке соответствующих направляющих сложной формы на полу цеха или помещения, в котором установлена печатная машина.
Вторая подвижная часть стойки может использоваться для размещения красочного аппарата формного цилиндра глубокой печати. Отводя эту вторую подвижную часть от первой подвижной части, можно создать пространство между красочным аппаратом и формным цилиндром глубокой печати, через которое обслуживающий персонал может легко получить доступ к красочному аппарату и формному цилиндру для их очистки и для замены формных пластин глубокой печати.
Один вариант настоящего изобретения показан на чертежах и более подробно описан ниже.
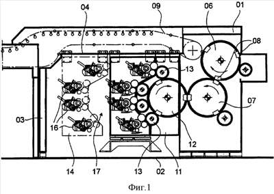
Фиг. 1 – схематическое продольное сечение машины глубокой печати в рабочем положении.
Фиг. 2 – подобное сечение машины глубокой печати в положении для очистки и обслуживания.
Стойка машины, показанная на фиг. 1, состоит из нескольких частей, которые в каждом случае имеют две параллельные жестко соединенные плиты. Первая неподвижная часть 01 зафиксирована на полу 02 цеха или подобного помещения. На две ее плиты и на колонны 03, которые также опираются на пол цеха, установлены две параллельные направляющие 04.
Прижимной цилиндр 06 и формный цилиндр 07 установлены с возможностью вращения в неподвижной части 01. Направление их вращения показано стрелками. Прижимной цилиндр 06 оснащен множеством захватов 08, которые захватывают листы, подающиеся справа на фиг. 1 (более подробно не показаны), пропускают их через зону контакта формного цилиндра 07 и прижимного цилиндра 06, в которой осуществляется печать, и затем переносят их на цепной транспортер 09, с которого они попадают через направляющие 04 на не показанный на фиг. 1 удлинитель.
Первая подвижная часть 11 стойки подвешена на направляющих 04. В первой подвижной части 11 установлен орловский цилиндр 12 или, так сказать, подборочный цилиндр и множество, в данном случае четыре формных цилиндра 13, которые вращаются в контакте с орловским цилиндром 12.
Вторая подвижная часть 14 стойки, которая также подвешена на направляющих 04, несет на себе четыре красочных аппарата 16, каждый из которых в показанном положении подает краску на один из формных цилиндров 13.
При работе машины положение частей 01, 11 и 14 стойки фиксируется относительно друг друга в положении, показанном на фиг. 1.
Для того чтобы поменять пластины для глубокой печати на формных цилиндрах 13 для нового нанесения краски, вторая подвижная часть 14 выполнена с возможностью передвижения из положения, показанного на фиг. 1 сплошной линией, по направляющим 04 в положение обслуживания, в котором вторая подвижная часть 14 на фиг. 1 показана пунктиром. В этом положении вторая подвижная часть 14 находится на небольшом расстоянии (например, менее 50 см) от колонны 03, и обслуживающий персонал может войти в проход 17 (шире, чем 60 см), который был образован между второй движущейся частью 14 и первой движущейся частью 11 для выполнения обслуживающих работ на красочном аппарате и формных цилиндрах 13 глубокой печати.
Для того чтобы чистить орловский цилиндр 12 обычным образом без необходимости демонтажа формных цилиндров 13 глубокой печати, первая подвижная часть 11 может быть также передвинута в направлении колонны 03, как показано на фиг. 2. В то время, как при смещении первой подвижной части 11 открывается новый проход 18 (шире 60 см) между первой подвижной частью 11 и неподвижной частью 01 стойки, проход 17 (менее 40 см, более конкретно менее 30 см) закрывается. Таким образом, потребность в площади для печатной машины не превышает потребность в площади для машины по уже цитировавшемуся патенту ЕР 0873866 В1. Однако доступ к машине для обслуживания значительно улучшается.
Перемещение первой части 11 и второй части 14 происходит в каждом случае посредством по меньшей мере одного специализированного приводного механизма, например электродвигателя или пневмоцилиндра. Первая часть 11 и вторая часть 14 могут перемещаться независимо друг от друга. Так, первая часть 11 может перемещаться, пока вторая часть 14 установлена неподвижно в положении для обслуживания.
Предпочтительно, для каждой части 11, 14 применяются два приводных механизма, синхронизированных друг с другом.
Перечень позиций
01 – неподвижная часть
02 – пол
03 – колонна
04 – направляющие
06 – прижимной цилиндр
07 – формный цилиндр
08 – захват
09 – цепной транспортер
11 – первая подвижная часть
12 – орловский цилиндр
13 – формный цилиндр глубокой печати
14 – вторая подвижная часть
15 –
16 – красочный аппарат
17 – проход
18 – проход
Формула изобретения
1. Машина для глубокой печати, содержащая стойку (01, 11, 14), в которой с возможностью вращения установлен орловский цилиндр (12), формный цилиндр (07) и, по меньшей мере, один формный цилиндр (13) глубокой печати, при этом стойка (01, 11, 14) содержит неподвижную часть (01), на которой установлен формный цилиндр (07) и первую подвижную часть (11), которая выполнена с возможностью перемещения относительно неподвижной части (01) и на которой установлен орловский цилиндр (12), отличающаяся тем, что первая подвижная часть (11) и вторая подвижная часть (14) подвешены на направляющей (04), а красочный аппарат (16), по меньшей мере, одного формного цилиндра (13) глубокой печати установлен во второй подвижной части (14) стойки.
2. Машина по п.1, отличающаяся тем, что, по меньшей мере, один формный цилиндр (13) глубокой печати установлен в первой подвижной части (11).
3. Машина по п.1, отличающаяся тем, что при работе машины части (01, 11, 14) стойки зафиксированы.
4. Машина по п.1, отличающаяся тем, что неподвижная часть (01) и колонна (03) поддерживают направляющие (04) и тем, что в положении для обслуживания вторая подвижная часть (14) перемещена так, что находится на небольшом расстоянии от колонны (03).
5. Машина по п.1, отличающаяся тем, что каждая из подвижных частей (11, 14) имеет специализированное приводное устройство.
6. Машина по п.1, отличающаяся тем, что первая подвижная часть 11 и вторая подвижная часть 14 перемещаются независимо друг от друга, при этом первая часть 11 может перемещаться, пока вторая часть 14 установлена неподвижно в положении для обслуживания.
7. Машина по п.1, в которой вторая подвижная часть 14 может быть перемещена от первой подвижной части 11, и первая подвижная часть может быть перемещена на расстояние от неподвижной части 01, так чтобы оператор мог получить доступ к пространству 17 между первой и второй подвижными частями 11, 14 или в пространство 18 между первой подвижной частью 11 и неподвижной частью 01 для выполнения работ по обслуживанию машины.
8. Машина по п.5, в которой специализированное приводное устройство представляет собой электромотор.
9. Машина по п.5, в которой специализированное приводное устройство представляет собой пневмоцилиндр.
10. Машина по п.5, в которой два приводных механизма синхронизированы друг с другом.
РИСУНКИ
TH4A – Переиздание описания изобретения к патенту Российской Федерации
Причина переиздания: Коррекция текста описания изобретения
Извещение опубликовано: 27.11.2007 БИ: 33/2007
|