|
|
(21), (22) Заявка: 2004124530/02, 20.02.2003
(24) Дата начала отсчета срока действия патента:
20.02.2003
(30) Конвенционный приоритет:
27.02.2002 DE 10208491.2
(43) Дата публикации заявки: 10.06.2005
(46) Опубликовано: 20.06.2007
(56) Список документов, цитированных в отчете о поиске:
DE 2601269 A1, 21.07.1977. SU 1295997 A3, 07.03.1987. DE 19960267 A1, 13.07.2000. DE 2733706 A1, 01.02.1979. DE 3902964 C1, 19.07.1990.
(85) Дата перевода заявки PCT на национальную фазу:
27.09.2004
(86) Заявка PCT:
EP 03/01755 (20.02.2003)
(87) Публикация PCT:
WO 03/072322 (04.09.2003)
Адрес для переписки:
191186, Санкт-Петербург, а/я 230, “АРС-ПАТЕНТ”, пат.пов. В.М.Рыбакову, рег. № 90
|
(72) Автор(ы):
КОВАЧИЧ Петер (SI), СЕДОВСЕК Александер (SI)
(73) Патентообладатель(и):
БСХ БОШ УНД СИМЕНС ХАУСГЕРЕТЕ ГМБХ (DE)
|
(54) УНИВЕРСАЛЬНАЯ ЛОМТЕРЕЗКА С БЕЗОПАСНЫМ ВЫКЛЮЧАТЕЛЕМ
(57) Реферат:
Изобретение относится к универсальной ломтерезке. Универсальная ломтерезка содержит корпус, в котором выполнены первая кнопка с плоскостью нажатия для воздействия на электрический выключатель и вторая кнопка для воздействия на механически включаемую и выключаемую блокировку. Вторая кнопка при включенном положении блокировки блокирует первую кнопку и делает невозможным управление электрическим выключателем. Посредством упомянутого выключателя включается и выключается электрический двигатель привода дискового ножа. Первая кнопка выполнена с упорной плоскостью для блокировки, у которой блокировка в своем включенном положении располагается, по меньшей мере, близко к оси, проходящей через центр тяжести плоскости нажатия и направленной в сторону нажатия, и на которую блокировка воздействует в своем включенном положении. В результате обеспечивается создание универсальной ломтерезки с электрическим выключателем с активируемой и деактивируемой блокировкой, которая обеспечивает надежное функционирование блокировки и выключателя, создание легко монтируемого узла выключателя с блокировкой, а также снижение затрат на ее изготовление. 16 з.п. ф-лы, 4 ил.
Область техники
Изобретение относится к универсальной резке/ломтерезке согласно ограничительной части пункта 1 формулы изобретения.
Уровень техники
Из патента DE 2601269 А1 известна кухонная резка/ломтерезка с дисковым ножом, приводимым во вращение электрическим двигателем, в электрической цепи которого предусмотрен выключатель, имеющая механически включаемую и выключаемую блокировку выключателя, которая во включенном положении препятствует замыканию контактов выключателя. Может быть предусмотрено, чтобы блокировка после каждого выключения ломтерезки автоматически занимала включенное положение. Автоматический возврат блокировки во включенное положение реализуется обычным способом с помощью спиральной пружины из пружинной стали, установленной между блокировкой и корпусом кухонной ломтерезки. Недостаток известной конструкции состоит в том, что дополнительные спиральные пружины при сборке приходится устанавливать с упругим предварительным натяжением. Поскольку при сборке нужно блокировку и выключатель связать между собой и одновременно вставить предварительно напряженную спиральную пружину между блокировкой и корпусом, монтаж сложен и очень трудоемок.
Раскрытие изобретения
Задача изобретения состоит в том, чтобы создать универсальную резку/ломтерезку с электрическим выключателем и включаемой и выключаемой, т.е. активируемой и деактивируемой блокировкой, которая обеспечивает надежное функционирование блокировки и выключателя. Другая задача состоит в том, чтобы создать легко монтируемый узел выключателя с блокировкой. И еще одна задача заключается в том, чтобы создать ломтерезку, изготовление которой не требует больших затрат.
Эти задачи реализуются в универсальной ломтерезке с признаками пункта 1 формулы изобретения. Благодаря тому, что блокировка подвергается воздействию у самого центра под плоскостью нажатия кнопки электрического выключателя, обеспечивается надежное прилегание блокировки. Возможный перекос выключателя при нажатии на него не посредине не передается на блокировку. Поэтому блокировка не так легко зацепляется за выключатель и может надежно функционировать.
В предпочтительном варианте упругий пружинный элемент, создающий предварительное усилие, воздействующее на кнопку в направлении, противоположном направлению ее срабатывания, может быть приформован (т.е. отлит совместно или присоединен) к кнопке, что упрощает сборку универсальной ломтерезки. Кроме того, приформовывание упругого пружинного элемента к кнопке уменьшает количество деталей, и это удешевляет изготовление универсальной ломтерезки.
В предпочтительном исполнении первая кнопка, предназначенная для включения электрического выключателя, содержит направляющий элемент, с помощью которого первая кнопка перемещается в направляющем гнезде в корпусе между положением включения и положением отключения, и первый конец первого упругого пружинного элемента закреплен на направляющем элементе, а второй конец упругого пружинного элемента закреплен на корпусе. Такая конструкция позволяет создать предварительное натяжение первой кнопки навстречу направлению ее действия в корпусе без необходимости в дополнительных деталях для создания предварительного натяжения. Образованную таким образом пружинящую первую кнопку можно легко закрепить на корпусе. Необходимость введения отдельного упругого пружинного элемента отпадает, и дополнительные крепежные детали становятся ненужными.
Предпочтительно первый конец первого упругого пружинного элемента приформован (т.е. отлит совместно или неразрывно присоединен) к направляющему элементу, а второй конец первого упругого пружинного элемента снабжен ниппелем, закрепленным в сопряженной детали на корпусе. Ниппель и сопряженная деталь образуют крепежный узел, фиксирующий первый упругий пружинный элемент на корпусе.
В предпочтительном исполнении корпус содержит первое приемное гнездо, в которое первая кнопка вводится снаружи через первое отверстие в корпусе, причем первая кнопка содержит фиксатор, который входит в первое отверстие и прилегает к внутренней стороне корпуса. При сборке первая кнопка, с которой объединен первый упругий пружинный элемент, сначала вводится снаружи в отверстие в корпусе, пока фиксатор первой кнопки не пройдет первое отверстие и разожмется на внутренней стороне корпуса. Таким образом, для закрепления первой кнопки в корпусе ее нужно просто вставить.
Особенно выгодно, если в первом приемном гнезде имеется опорная плоскость с направляющим гнездом и сопряженной деталью. При такой конструкции сборка производится путем вставления направляющего элемента первой кнопки в направляющее гнездо на корпусе. Первая кнопка вдвигается в направляющее гнездо, пока фиксатор первой кнопки не войдет в отверстие и не зафиксируется на внутренней стороне корпуса. Одновременно ниппель второго конца упругого пружинного элемента захватывается сопряженной деталью на опорной плоскости первого приемного гнезда. Захват ниппеля сопряженной деталью закрепляет упругий пружинный элемент на корпусе. Преимущество такой конструкции состоит в том, что при выполнении сборочной операции закрепления в корпусе первой кнопки одновременно в корпусе закрепляется упругий пружинный элемент. Предварительное натяжение упругого пружинного элемента происходит, когда первая кнопка вдвигается в направляющее гнездо на опорной плоскости первого приемного гнезда.
Сопряженная деталь может быть выполнена в виде выреза в опорной плоскости, размеры которого выбраны так, чтобы первый упругий пружинный элемент проходил снаружи сквозь вырез и чтобы его сечение было меньше сечения ниппеля. При надлежащем выборе размеров сопряженной детали неразъемная деталь, состоящая из первой кнопки и первого упругого пружинного элемента, очень легко вводится снаружи через отверстие в корпусе и закрепляется в первом приемном гнезде.
Направляющее гнездо и сопряженная деталь могут быть приформованы непосредственно к опорной плоскости. Это особенно выгодно в том случае, если корпус выполнен из пластмассы и изготовлен методом литья под давлением. Опорная плоскость, направляющее гнездо и сопряженная деталь могут быть при этом изготовлены за одну операцию, а именно, при формовании корпуса литьем под давлением. Благодаря этому сокращается количество деталей в универсальной ломтерезке. Это позволяет снизить стоимость изготовления универсальной ломтерезки.
В предпочтительном варианте конструкции не только к первой кнопке, но и ко второй кнопке приформован (т.е. отлит совместно или неразрывно присоединен) второй упругий пружинный элемент, который осуществляет предварительное натяжение, устанавливая кнопку во включенное положение. Вторая кнопка, которая управляет механическим включением и выключением блокировки, может аналогично первой кнопке содержать приформованный к ней второй упругий пружинный элемент, который предварительным натяжением переводит кнопку во введенное положение. Конструктивные решения, предлагаемые изобретением для первой кнопки, которая управляет электрическим выключателем приводного двигателя универсальной ломтерезки, могут быть по аналогии распространены на вторую кнопку, управляющую механическим введением и выведением блокировки. Для этого первый конец второго упругого пружинного элемента может быть приформован ко второй кнопке, а второй конец опираться на корпус.
В другом предпочтительном варианте конструкции первый конец второго упругого пружинного элемента приформован ко второй кнопке, а второй конец опирается не на корпус, а на направляющий элемент первой кнопки. Поэтому контропора для второго конца второго упругого пружинного элемента расположена не непосредственно на корпусе, а находится на первой кнопке, которая опирается на корпус через направляющее гнездо. Преимущество такого решения состоит в том, что не нужно предусматривать на корпусе дополнительной контропоры для второго упругого пружинного элемента. То, что контропора второго упругого пружинного элемента предусмотрена на первой кнопке, позволяет упростить конструкцию корпуса.
В предпочтительном исполнении блокировка выполнена в виде засова, который неразрывно соединен со второй кнопкой и посредством направляющего элемента первой кнопки заблокирован в нажатом положении второй кнопки. Засов образует при этом включаемую и выключаемую блокировку, которая неразрывно соединена со второй кнопкой. Таким образом, вторая кнопка и механически включаемая и выключаемая блокировка выполнены как отдельная деталь. Это дает преимущество дальнейшего уменьшения количества деталей и, в особенности, упрощает сборку универсальной ломтерезки.
В другом варианте вторая кнопка может поворачиваться в корпусе, а блокировка выполнена в виде рычага, который приформован ко второй кнопке и во включенном положении блокировки входит в паз на направляющем элементе. Такая конструкция позволяет включать и выключать блокировку поворотом. Благодаря конструкции поворотного рычага, который во включенном положении входит в паз на направляющем элементе первой кнопки, разблокировка первой кнопки не требует большого усилия.
В предпочтительном варианте конструкции в корпусе имеется второе приемное гнездо, в которое изнутри через второе отверстие в корпусе вводится вторая кнопка, и во втором отверстии и, соответственно, во второй кнопке имеется выступ, на который опирается второй упругий пружинный элемент, приводя вторую кнопку во включенное положение.
В одном особенно полезном варианте конструкции первая кнопка и вторая кнопка изготовляются методом литья под давлением, как одна монолитная пластмассовая деталь. Первая кнопка и вторая кнопка изготовляются в этом случае из одного и того же пластика. Изготовление первой и второй кнопки в виде единой детали уменьшает стоимость изготовления, так как для изготовления кнопок требуются уже не две пресс-формы, а только одна. После того, как первая и вторая кнопки будут изготовлены, их можно отделить друг от друга и устанавливать в корпусе универсальной ломтерезки по отдельности, или же устанавливать в корпусе универсальной ломтерезки первую и вторую кнопки совместно, как одну литую пластмассовую деталь.
Если поперечное сечение первого отверстия в корпусе больше нажимной плоскости второй кнопки, то литую пластмассовую деталь, объединяющую первую и вторую кнопку, можно при монтаже вводить через первое отверстие в корпусе второй кнопкой вперед, пока первая кнопка не встанет на место в корпусе. После того, как первая кнопка будет установлена в корпусе, вторую кнопку можно отделить или отломить от первой кнопки и изнутри через второе отверстие в корпусе ввести во второе приемное гнездо, пока вторая кнопка не встанет на место в корпусе. Преимущество такого решения состоит в том, что первая и вторая кнопки монтируются в корпусе совместно, за одну операцию.
В другом полезном варианте конструкции конец направляющего элемента, противоположный нажимной плоскости первой кнопки, выполнен в виде втулки, а второй конец второго пружинного элемента – в виде опорной шейки или цапфы. В этом случае при изготовлении первой и второй кнопки в виде единой литой пластмассовой детали между втулкой и опорной шейкой образуются ломкие перемычки, соединяющие первую и вторую кнопки. При вводе такой комбинированной детали второй кнопкой вперед в первое отверстие корпуса сначала может быть зафиксирована в корпусе первая кнопка. На следующем шаге сборки вторая кнопка поворачивается вокруг опорной шейки до тех пор, пока перемычки между втулкой и опорной шейкой не сломаются, и вторая кнопка отделится от первой. Вторую кнопку можно повернуть, изнутри ввести во второе отверстие в корпусе и закрепить ее в корпусе. Несмотря на сломанные перемычки, вторая кнопка через опорную шейку, которая остается во втулке, связана с первой кнопкой. Предлагаемая в изобретении конструкция первой кнопки и второй кнопки значительно упрощает сборку и существенно снижает стоимость изготовления благодаря уменьшению количества деталей.
Краткий перечень фигур чертежей
Предпочтительные конструктивные исполнения изобретения показаны на нижеследующих чертежах, которые изображают:
фиг.1 – включающая кнопка и кнопочная блокировка предлагаемой в изобретении ломтерезки в разобранном виде,
фиг.2 – включающая кнопка и кнопочная блокировка из фиг.1 во введенном положении,
фиг.3 – литая пластмассовая деталь, состоящая из первой кнопки и второй кнопки перед монтажом,
фиг.4 – разъединенные пластмассовые литые детали первой кнопки и второй кнопки по фиг.3 после монтажа.
Осуществление изобретения
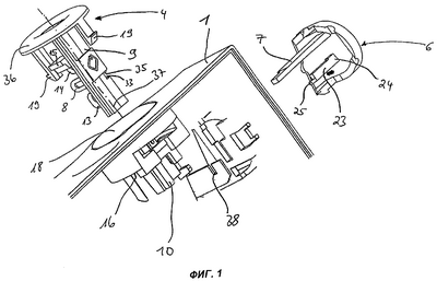
На фиг.1 изображена первая кнопка 4 с плоскостью 36 нажатия. На нижней стороне плоскости 36 нажатия отформован направляющий элемент 9, направленный вертикально вниз вдоль оси 37. В средней части направляющего элемента 9 имеется упорная плоскость 35, которая находится на плоскости покрытия выреза в направляющем элементе 9. К упорной плоскости 35 во введенном положении прилегает блокировка 7. Направляющий элемент 9 может перемещаться в направляющем гнезде 10 в корпусе 1. Плоскость 36 нажатия снабжена двумя фиксаторами 19, которые входят в отверстие 18 корпуса 1. Первый конец 13 упругого пружинного элемента 8 соединен с направляющим элементом 9. На втором конце 14 упругого пружинного элемента 8 имеется ниппель 15, который удерживается в присоединенной к корпусу 1 сопряженной детали 16.
Ко второй кнопке 6 приформована блокировка 7. Кнопка 6 имеет второй упругий пружинный элемент 23. Первый конец 24 второго упругого пружинного элемента 23 соединен с нижней стороной второй кнопки 6.
На фиг.2 первая кнопка 4 и вторая кнопка 6 изображены в положении, которое они занимают, будучи встроены в корпус 1. Второй конец 25 второго упругого пружинного элемента 23 опирается на выступ 38, присоединенный к корпусу 1. Блокировка 7 выполнена в виде качающегося рычага, который взаимодействует с упорной плоскостью 35 в пазу 33 на направляющем элементе 9.
На фиг.3 изображена первая кнопка 4 вместе со второй кнопкой 6, выполненные, как цельная, изготовленная литьем под давлением пластмассовая деталь так, как она выглядит после изготовления и перед монтажом. Первая кнопка 4 имеет нажимную плоскость в виде диска, к нижней стороне которого приформован направляющий элемент 9. На некотором расстоянии от нажимной плоскости первой кнопки 4 к направляющему элементу 9 приформован нижний конец 13 упругого пружинного элемента 8. Упругий пружинный элемент состоит из отрезка, имеющего форму меандра и приформованного к нижнему концу 13 направляющего элемента 9. Первая кнопка 4 вместе с направляющим элементом 9 и упругим пружинным элементом 8 выполнена из пластмассы как единая деталь. Подходящая пластмасса для изготовления первой кнопки 4 должна быть выбрана, исходя, в первую очередь, из упругих свойств пружинного элемента 8. Свободный верхний конец 14 упругого пружинного элемента 8 выполнен в виде ниппеля 15. Ниппель 15 образован приблизительно цилиндрическим отрезком на втором конце 14 упругого пружинного элемента 8. С нижней стороны круглой плоскости нажатия первой кнопки 4 имеются два лежащих друг против друга фиксатора 19, которые приформованы непосредственно к первой кнопке 4. Фиксаторы 19 представляют собой U-образные упругие язычки, наружные плоскости которых ориентированы клиновидно. К нижнему концу первой кнопки 4 во встречном направлении приформована вторая кнопка 6. Вторая кнопка 6 имеет нажимную плоскость в виде диска, диаметр которого меньше диаметра нажимной плоскости первой кнопки 4. К нажимной плоскости второй кнопки 6 непосредственно приформован первый конец 24 второго упругого пружинного элемента 23. Верхний свободный конец второго упругого пружинного элемента 23 образует второй концевой участок 25. Ко второму концевом участку 25 непосредственно приформована цилиндрическая опорная шейка (цапфа) 30. Опорная шейка 30 концентрически располагается во втулке 29 первой кнопки 4. Опорная шейка 30 второй кнопки 6 соединена с втулкой 29 первой кнопки 4 ломкими перемычками 31. Посредством ломких перемычек 31 первая кнопка 4 и вторая кнопка 6 объединены в единую литую пластмассовую деталь. Ломкие перемычки 31 рассчитаны так, чтобы первая кнопка 4 и вторая кнопка 6 могли быть изготовлены в пресс-форме за одну технологическую операцию. С другой стороны толщина ломких перемычек 31 выбрана достаточно малой, чтобы они могли разрываться при повороте второй кнопки 6 относительно первой кнопки 4 вокруг оси, проходящей через опорную шейку 30 во второй кнопке 6, и тем самым вторая кнопка 6 могла быть отделена от первой кнопки 4.
На фиг.4 изображен узел, состоящий из первой кнопки 4 и второй кнопки 6, после того, как ломкие перемычки 31 разорваны. Вторая кнопка 6 повернута на 90° вокруг оси опорной шейки 30. При повороте второй кнопки 6 относительно первой кнопки 4 ломкие перемычки 31 ломаются, и вторая кнопка 6 отделяется от первой кнопки 4. Опорная шейка 30 входит во втулку 29 в первой кнопке 4 таким образом, что расположенный с противоположной стороны от нажимной плоскости конец второй кнопки 6 удерживается первой кнопкой 4. В то же время на свободном конце направляющего элемента 9 первой кнопки 4, на котором находится втулка 29, имеется паз 33. Благодаря наличию паза 33 первая кнопка 4 может перемещаться вертикально вниз ко второй кнопке 6. Ко второй кнопке 6 приформована блокировка 7, выполненная в виде засова, имеющего вырез 34. При выведенной блокировке 7 свободный конец направляющего элемента 9 первой кнопки 4 может перемещаться вертикально вниз и приводить в действие не изображенный электрический выключатель. При введенной блокировке 7 вырез 34 блокировки 7 смещен относительно свободного конца направляющего элемента 9 первой кнопки 4 таким образом, что свободный конец направляющего элемента 9 упирается в засов блокировки 7, и вертикальное перемещение первой кнопки вниз становится невозможным. При этом первая кнопка 4 не может привести в действие электрический выключатель 5.
Формула изобретения
1. Универсальная ломтерезка, содержащая корпус (1) в котором выполнены первая кнопка (4) с плоскостью (36) нажатия для воздействия на электрический выключатель (5) и вторая кнопка (6) для воздействия на механически включаемую и выключаемую блокировку (7), которая при включенном положении блокировки (7) блокирует первую кнопку (4) и делает невозможным управление электрическим выключателем (5), посредством которого включается и выключается электрический двигатель (3), привода дискового ножа (2), отличающаяся тем, что первая кнопка (4) имеет упорную плоскость (35) для блокировки (7), с расположением блокировки (7) в своем включенном положении, по меньшей мере, близко к оси (37), проходящей через центр тяжести плоскости (36) нажатия и направленной в сторону нажатия, и на которую блокировка (7) воздействует в своем включенном положении.
2. Ломтерезка по п.1, отличающаяся тем, что упорная плоскость (35) первой кнопки (4) расположена на направляющем элементе (9), расположенном под плоскостью (36) нажатия вдоль оси (37).
3. Ломтерезка по п.2, отличающаяся тем, что одна сторона направляющего элемента (9) имеет вырез, расположенный в основном перпендикулярно к оси (37).
4. Ломтерезка по п.2 или 3, отличающаяся тем, что направляющий элемент (9) перемещается в направляющем гнезде (10) в корпусе (1) между положением включения (11) и положением отключения (12).
5. Ломтерезка по п.2 или 3, отличающаяся тем, что на направляющем элементе (9) закреплен первый конец (13) первого упругого пружинного элемента (8), а второй конец (14) первого упругого пружинного элемента (8) упирается в корпус, и первая кнопка (4) подпружинена первым упругим пружинным элементом (8) в направлении, обратном направлению ее действия.
6. Ломтерезка по п.5, отличающаяся тем, что первый конец (13) первого упругого пружинного элемента (8) приформован к направляющему элементу (9), а на втором конце (14) имеется ниппель (15), который удерживается в сопряженной детали (16) на корпусе (1).
7. Универсальная ломтерезка по п.1, отличающаяся тем, что корпус (1) имеет первое приемное гнездо, в которую первая кнопка (4) вводится снаружи через первое отверстие (18) в корпусе (1), и первая кнопка (4) имеет фиксатор (19) для захвата первого отверстия (18) изнутри и прилегает к внутренней стороне (20) корпуса (1).
8. Ломтерезка по п.7, отличающаяся тем, что в первом приемном гнезде имеется опорная поверхность с направляющим гнездом (10) и сопряженной деталью (16).
9. Ломтерезка по п.8, отличающаяся тем, что сопряженной деталью (16) является вырез в опорной поверхности, размеры которого выбраны так, что первый упругий пружинный элемент (8) проходит снаружи через вырез, а его поперечное сечение меньше поперечного сечения ниппеля (15).
10. Ломтерезка по п.7, отличающаяся тем, что сопряженная деталь (16) и направляющее гнездо (10) приформованы к опорной поверхности.
11. Ломтерезка по п.1, отличающаяся тем, что на второй кнопке (6) имеется предварительно напряженный второй упругий пружинный элемент (23), который устанавливает вторую кнопку (6) в ее включенном положении.
12. Ломтерезка по п.11, отличающаяся тем, что второй упругий пружинный элемент (23) имеет первый конец (24), приформованный ко второй кнопке (6).
13. Ломтерезка по п.12, отличающаяся тем, что второй упругий пружинный элемент (23) имеет второй конец (25), опирающийся на корпус (1) или на направляющий элемент (9).
14. Ломтерезка по любому из пп.11-13, отличающаяся тем, что вторая кнопка (6) выполнена с возможностью поворота в корпусе (1), и блокировка (7) выполнена в виде рычага (32), который приформован ко второй кнопке (6) и в ее включенном положении входит в паз (33) на направляющем элементе (9).
15. Ломтерезка по п.2, отличающаяся тем, что в корпусе (1) имеется второе приемное гнездо, в которое изнутри через второе отверстие в корпусе (1) вводится вторая кнопка (6), и во втором отверстии или во второй кнопке (6) имеется уступ, к которому предварительно напряженный второй упругий пружинный элемент (23) прижимает вторую кнопку (6) в ее включенное положение.
16. Ломтерезка по п.14, отличающаяся тем, что противоположный плоскости (36) нажатия первой кнопки (4) конец направляющего элемента (9) выполнен в виде втулки (29), а второй конец (25) второго пружинного элемента (23) выполнен в виде опорной шейки (30).
17. Ломтерезка по п.15, отличающаяся тем, что первая кнопка (4) и вторая кнопка (6) изготавливаются как единый пластмассовый литой элемент, и между втулкой (29) и опорной шейкой (30) приформованы ломкие перемычки (31).
РИСУНКИ
|
|