|
|
(21), (22) Заявка: 2005139857/02, 21.12.2005
(24) Дата начала отсчета срока действия патента:
21.12.2005
(46) Опубликовано: 20.06.2007
(56) Список документов, цитированных в отчете о поиске:
RU 2205080 C1, 27.05.2003. RU 2164183 C2, 20.03.2001. RU 2087221 C1, 20.08.1997. GB 2124121 A, 15.02.1984.
Адрес для переписки:
162612, Вологодская обл., г. Череповец, ул. Первомайская, 33, кв.9, Л.Г.Делюсто
|
(72) Автор(ы):
Делюсто Лев Георгиевич (RU)
(73) Патентообладатель(и):
Делюсто Лев Георгиевич (RU)
|
(54) УСТРОЙСТВО ДЛЯ ТОНКОЙ ОЧИСТКИ КАТАНКИ ОТ ОКАЛИНЫ
(57) Реферат:
Устройство предназначено для улучшения поверхности катанки за счет удаления окалины перед волочением. Устройство содержит окалиноломатель, элеватор для перемещения абразивного порошка, рабочую камеру, шнек, вибраторы, электромагниты, приводы и устройство для нанесения подсмазочного слоя. Установка шнека со стороны выхода катанки из рабочей камеры дает возможность нагнетания абразивного порошка под давлением в направлении, противоположном направлению перемещения катанки. Верхняя часть рабочей камеры, на которой установлены вибраторы, имеет вертикальный и горизонтальный разъемы и может поворачиваться вокруг осей, открывая доступ к внутренней полости рабочей камеры, а при закрытии рабочей камеры принудительно прижиматься к ней, герметизируя стыки. Расположение вибратора вдоль камеры с возможностью радиальных и горизонтальных перемещений относительно рабочей камеры обеспечивает возможность передачи колебаний непосредственно на катанку или на слой порошка, прилегающего к поверхности катанки. Концентраторы вибраторов со стороны катанки снабжены сферическими головками, элеватор состоит из секций, одна из которых предназначена для транспортировки абразивной смеси из рабочей камеры, а другая – для транспортировки окалины от окалиноломателя. Улучшение качества очистки достигается за счет исключения возможности потери давления порошка на поверхности катанки и заклинивания катанки в проходных каналах. 2 ил.
Изобретение относится к области волочильного производства и может быть использовано при удалении окалины с поверхности катанки перед волочением вместо традиционного травления (автономно или путем совмещения с волочильными станами, оборудованными механическими окалиноломателями).
Известно устройство для очистки проволоки от окалины ферромагнитным абразивным порошком [1], содержащее рабочую камеру, установленную с возможностью вращения, шнек для нагнетания порошка, соленоид для повышения плотности порошка за счет его намагничивания, поршень, оборудованный вибратором и размагничивающую катушку.
К недостатку известного устройства следует отнести его сложность, а также трудность истечения отработанного порошка из рабочей камеры, так как порошок при продвижении к выходу по ходу катанки встречает сопротивление канала, выполненного в поршне и вибраторе, установленных на одной оси с катанкой.
Известна линия очистки от окалины и волочения, содержащая между камерой с абразивным порошком и волокой средство возбуждения поперечных колебаний проволоки относительно оси волоки для улучшения захвата смазки [2].
К недостатку известного средства относится невозможность передачи вибрации на проволоку, непосредственно проходящую через камеру с абразивным порошком, так как согласно известному изобретению указанное средство (поз.9) согласно фиг.1 расположено вдоль линии волочения между натяжным барабаном (поз.6), который находится ближе к указанному средству, чем камера с абразивным порошком, и волокой (поз.12) и передача вибрации на участок катанки, проходящей через камеру с абразивным порошком невозможна.
Известна линия очистки и волочения проволоки, содержащая устройство для механического удаления окалины (поз.4) при помощи ферромагнитного абразивного порошка и расположенный за ним по ходу волочения вибрационный ударный механизм (поз.6), выполненный в виде ролика [3].
К недостатку известного устройства, содержащегося в известной линии, относится (также как и в [2]) невозможность вибрации катанки в зоне очистки, то есть непосредственно в устройстве для механического удаления окалины.
Кроме отмеченных недостатков, в известных устройствах [2] и [3] механизмы для получения колебаний проволоки не надежны и не долговечны в работе и подвержены интенсивному износу.
Известно устройство для очистки катанки от окалины при помощи ферромагнитных абразивных порошков, принятое за прототип, содержащее полую камеру, размещенную между полюсами электромагнита, поршень, установленный с возможностью возвратно-поступательного и вращательного движения, причем торец поршня выполнен в виде шнека, а камера снабжена подвижным наконечником с внутренним конусом, соединенным с вибратором продольных колебаний.
К недостаткам известного устройства относится следующее.
1. Сложность изготовления (наличие электромагнитов и пневмоцилиндров).
2. Вибрации подвергается не слой порошка, непосредственно контактирующий с поверхностью катанки, а весь его объем, находящийся в конусе, причем эффективность вибрации изменяется по мере перемещения катанки в конусе.
3. Вибрационный механизм установлен вдоль оси катанки, что способствует ее заклиниванию в канале концентратора вибратора при попадании в него частиц абразивного порошка.
4. Механизм для подачи абразивного порошка (как и во всех приведенных выше известных устройств) установлен со стороны входа в камеру с порошком, то есть подача порошка осуществляется в одном направлении с катанкой, что способствует выносу порошка из камеры и потере давления порошка на поверхности катанки, что способствует ее заклиниванию в проходных каналах и снижает качество очистки.
Целью изобретения является упрощение устройства и повышение эффективности очистки за счет создания наиболее благоприятных условий для подачи и удаления абразивного порошка из рабочей камеры и наиболее оптимального размещения вибраторов относительно поверхности катанки, а также за счет обеспечения вибрации только слоя (или нескольких слоев) порошка, непосредственно контактирующих с поверхностью катанки.
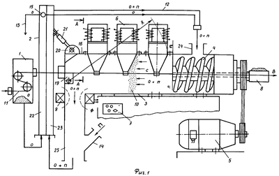
На фиг.1 показан вид спереди устройства для очистки катанки при помощи абразивной смеси, содержащей, например, 80% окалины, поступающей от окалиноломателя и 20% абразивного порошка, например, продукта помола использованных шлифовальных кругов. Устройство может быть совмещено с волочильным станом.
На фиг.2 показано сечение А-А рабочей камеры.
Устройство содержит окалиноломатель 1, двухсекционный элеватор 2, рабочую камеру 3, шнек 4, привод шнека 5, блок, например, магнитострикционных вибраторов 6, пульт управления 7, емкость 8 для нанесения подсмазочного слоя, например смеси древесных опилок с канифолью, электромагнитный запорный клапан 9. Абразивная смесь 10 прокачивается через рабочую камеру 3 в сторону (С), противоположную движению катанки 11 (В). Необходимый подпор смеси 10 создается электромагнитным клапаном 9.
Из окалиноломателя 1 окалина (О) поступает в секцию (О) элеватора 2. Из рабочей камеры 3 смесь абразивного порошка и окалины (П.+О) поступает в секцию (П.+О) элеватора 2 и по рукаву 12 возвращается в рабочую камеру 3. Излишки окалины, а также изношенная смесь порошка и окалины периодически сбрасываются через рукав 13 в специальную емкость (условно не показана). Свежий абразивный порошок (П.) загружается в элеватор через приемное окно 14. Для регулирования потоков окалины и смеси 10 предусмотрен регулятор 15.
Шнек 4 установлен со стороны выхода катанки 11 из рабочей камеры 3, что позволяет прокачивать абразивный порошок в сторону, противоположную движению катанки 11. Вибраторы 6 установлены на верхней стенке 16 рабочей камеры 3 с возможностью радиальных и горизонтальных перемещений относительно рабочей камеры и передачи колебаний непосредственно на слой абразивного порошка, прилегающего к поверхности катанки перпендикулярно ее продольной оси (фиг.2). Концентраторы 17 вибраторов 6 со стороны катанки 11 снабжены сферическими головками 18, например, из твердого сплава. Верхняя стенка 16 представляет собой часть (то есть крышку) рабочей камеры 3 с разъемами по плоскостям n-n и m-m, которая может поворачиваться, вскрывая камеру, по радиусу R на шарнирах 19 и 20 при помощи, например, пневмоцилиндра 21. При этом плоскость n-n совпадает с торцом шнека 4. Такая конструкция рабочей камеры 3 позволяет беспрепятственно получать доступ в камеру 3 при заправке катанки 11 в устройство. Элеватор 2 состоит из двух параллельных секций 22 (О) и 23 (О+П). Камера 3 имеет загрузочный патрубок 24 и разгрузочный патрубок 25 для подачи и выгрузки абразивной смеси 10 из рабочей камеры 3.
Устройство работает следующим образом.
Открывается верхняя стенка 16 рабочей камеры 3. Катанка 11 заправляется в окалиноломатель 1, протягивается через рабочую камеру 3, емкость 8 для нанесения подсмазочного слоя, мыльницу и закрепляется на первом блоке волочильного стана (условно не показаны). Верхняя стенка 16 опускается и при помощи пневмоцилидра 21 герметизирует рабочую камеру 3. Головки 18 концентраторов 17 при этом опускаются на поверхность катанки 11. Перед началом работы в приемное окно 14 загружается некоторое количество абразивной смеси 10. Включается привод 5 шнека 4, элеватор 2 (привод элеватора условно не показан), вибраторы 6 и волочильный стан. Во время очистки катанка 11 под воздействием вибраторов 6 вибрирует с частотой, которая определяется опытным путем в зависимости от марки стали и толщины окалины, и корректируется с пульта управления 7 волочильщиком. Так как между устройством и мыльницей первого блока волочильного стана (условно не показаны) нет промежуточных механизмов, то катанка продолжает вибрировать и в мыльнице, улучшая условия смазки перед входом в волоку.
Как показали многочисленные исследования и испытания, проводившиеся в СПЦ-1 и СПЦ-2 с 1978 по 1998 г.г. на экспериментальных и опытно-промышленных установках, при очистке катанки с помощью абразивных порошков в установках тонкой очистки, применение вибрации катанки в зоне очистки позволяет получать требуемое качество поверхности.
Источники информации
1. Патент РФ №2205078.
2. А.с. РФ №1640871, 1996, Бюл. №16.
3. Патент РФ №2205080.
Формула изобретения
Устройство для тонкой очистки катанки от окалины, содержащее окалиноломатель, элеватор для перемещения абразивного порошка, рабочую камеру, шнек, вибраторы, электромагниты и приводы и устройство для нанесения подсмазочного слоя, отличающееся тем, что шнек установлен со стороны выхода катанки из рабочей камеры с возможностью нагнетания абразивного порошка под давлением в направлении, противоположном направлению перемещения катанки, верхняя часть рабочей камеры с установленными на ней вибраторами имеет вертикальный и горизонтальный разъемы и выполнена с возможностью поворота вокруг осей и открытия доступа к внутренней полости рабочей камеры, а при закрытии рабочей камеры – с возможностью принудительного прижатия к ней при помощи пневмоцилиндра и герметизации стыков, вибраторы расположены вдоль камеры с возможностью радиальных и горизонтальных перемещений относительно рабочей камеры и передачи колебаний непосредственно на катанку или на слой абразивного порошка, прилегающего к поверхности катанки перпендикулярно ее продольной оси, концентраторы вибраторов со стороны катанки снабжены сферическими головками из твердого сплава, элеватор выполнен состоящим из двух независимых секций, одна из которых предназначена для транспортировки абразивной смеси из рабочей камеры, а другая – для транспортировки окалины от окалиноломателя, при этом элеватор снабжен патрубками для приема и транспортирования порошка и окалины и имеет установленный на нем регулятор потоков окалины и абразивной смеси, а на выходе из рабочей камеры установлен электромагнит для создания в ней заданного давления абразивного порошка.
РИСУНКИ
MM4A – Досрочное прекращение действия патента СССР или патента Российской Федерации на изобретение из-за неуплаты в установленный срок пошлины за поддержание патента в силе
Дата прекращения действия патента: 22.12.2008
Извещение опубликовано: 10.04.2010 БИ: 10/2010
NF4A – Восстановление действия патента СССР или патента Российской Федерации на изобретение
Дата, с которой действие патента восстановлено: 27.06.2010
Извещение опубликовано: 27.06.2010 БИ: 18/2010
|
|