|
(21), (22) Заявка: 2004125175/02, 05.12.2002
(24) Дата начала отсчета срока действия патента:
05.12.2002
(30) Конвенционный приоритет:
18.01.2002 DE 10202217.8
(43) Дата публикации заявки: 10.06.2005
(46) Опубликовано: 20.06.2007
(56) Список документов, цитированных в отчете о поиске:
DE 3504415 A 14.08.1986. DE 3145134 A 26.05.1983. US 4369646 A 25.01.1983. SU 1784304 A1 30.12.1992. SU 1792756 A1 07.02.1993. RU 2086320 C1 10.08.1997.
(85) Дата перевода заявки PCT на национальную фазу:
18.08.2004
(86) Заявка PCT:
EP 02/13765 (05.12.2002)
(87) Публикация PCT:
WO 03/059545 (24.07.2003)
Адрес для переписки:
129010, Москва, ул. Б. Спасская, 25, стр.3, ООО “Юридическая фирма Городисский и Партнеры”, пат.пов. Ю.Д.Кузнецову, рег.№ 595
|
(72) Автор(ы):
ШУНН Конрад Вальтер (DE), КЛУГЕ Вернер (DE)
(73) Патентообладатель(и):
СМС ДЕМАГ АКЦИЕНГЕЗЕЛЛЬШАФТ (DE)
|
(54) МНОГОВАЛКОВАЯ ПРОКАТНАЯ КЛЕТЬ, В ЧАСТНОСТИ ШЕСТИВАЛКОВАЯ КЛЕТЬ, С УСТРОЙСТВОМ ДЛЯ ОСЕВОГО СДВИГА И БЛОКИРОВКИ ДЛЯ ПОДВИЖНО УСТАНОВЛЕННЫХ ПРОМЕЖУТОЧНЫХ И/ИЛИ РАБОЧИХ ВАЛКОВ
(57) Реферат:
Изобретение относится к многовалковой прокатной клети, в частности к шестивалковой прокатной клети. Многовалковая прокатная клеть имеет устройство для сдвига по оси и блокировки подвижных промежуточных и/или рабочих валков, а подушки в станине прокатной клети выполнены скользящими, валки с помощью блоков поршневых цилиндров могут смещаться по оси в противоположных направлениях, а шатуны шарнирно соединены с главной балкой, подвижные балки, расположенные с обеих сторон от подушки валков, выполнены с возможностью соединения со станиной прокатной клети через соединительную балку и соединительные балки присоединяются к главной балке по центру на шарнирах, причем шатуны блоков поршневых цилиндров присоединяются на шарнирах к краям главной балки и каждый узел поршневых цилиндров выполнен с возможностью регулирования с помощью датчика перемещений в зависимости от условий движения. Изобретение обеспечивает предотвращение повреждения главной балки из-за неравномерной нагрузки блоков поршневых цилиндров при смещении. 6 з.п. ф-лы, 4 ил.
Изобретение относится к многовалковой прокатной клети, в частности к шестивалковой клети, с устройством для осевого сдвига и блокировки подвижно установленных промежуточных и/или рабочих валков, в которой подушки в стойках прокатной клети могут скользить в направлении усилия прокатки и в которой промежуточные и/или рабочие валки вместе со своими подушками с помощью действующих в направлении оси валков блоков гидравлических цилиндров могут смещаться по оси в противоположных направлениях, а оба соответствующих шатуна шарнирно соединены посредством главной балки.
С каждой стороны соединительной балки действует блок гидравлических цилиндров для смещения промежуточного или рабочего валка, соединенный с прокатной клетью шарнирно или жестко болтами. При этом каждый блок поршневых цилиндров регулируется с помощью собственной цепи серворегулирования. Перемещения блока поршневых цилиндров регистрируются датчиком перемещений. Неисправность датчика перемещений, гидравлического вентиля или неплотный контакт с кабелем, по которому осуществляется дистанционное управление, могут вызвать неконтролируемое движение поршня сдвигающего цилиндра на разные высоты или в противоположных направлениях. Из-за этого соединительная балка может быть повреждена и стать непригодной.
Указанная выше многовалковая прокатная клеть с устройством для осевого сдвига и блокировки для промежуточных валков выполняется, например, в виде двух аксиально выдающихся наружу рычагов в виде захвата (DE 2440495 C3). К каждому из этих рычагов с помощью соединительного звена присоединен выдвижной шатун блока поршневых цилиндров, причем оба блока поршневых цилиндров в станинах прокатной клети установлены сбоку рядом с соответствующими подушками. Подобные конструкции обходятся без главной балки. Однако они не застрахованы от отказа при неисправностях в гидравлике или электрике.
Схожая конструкция (DE 3504415 A1) используется в подвижной внутри подушки опоре валка и подвижной каретке, которая принимает соединительное устройство для цапф. Здесь также работают блоки поршневых цилиндров, идущие параллельно оси валка, при отказе которых подвижная каретка может замыкаться.
Другая конструкция (EP 0026903) переносит усилие осевого сдвига расположенных снаружи параллельных блоков поршневых цилиндров на главную балку через действующие параллельно с обеих сторон зажимные плиты и блок поршневых цилиндров для высвобождения зажимных плит, когда конструкция валка должна быть демонтирована. Здесь третий блок поршневых цилиндров имеет только функцию замены. Несмотря на это, здесь также не предусмотрены никакие меры при сбоях гидравлики или электричества для защиты балки.
Наконец, известно устройство для сдвига по оси и блокировки установленных подвижно промежуточных валков многовалковой прокатной клети (DE 3145134 C2), которое создает высокие осевые усилия и для замены валков может быть быстро отсоединено от цапф промежуточных валков. Для этого к каждой каретке с помощью параллельных приводных рычагов подведен блок осевых подшипников. Сцепляющее устройство выполнено как зажимной патрон для сцепления с цапфами промежуточных валков. При этой конструкции также необходима поперечная балка для блока поршневых цилиндров, возникает также и опасность зажима каретки.
В основе изобретения лежит задача – так закрепить промежуточные и/или рабочие валки в поперечных балках и так сдвинуть точку приложения сдвигового усилия, чтобы из-за сбоев в гидравлике или электрике поперечные балки не могли повреждаться.
Согласно изобретению поставленная задача решена тем, что подвижные балки, расположенные по обеим сторонам от подушки валков, соединяются со станиной прокатной клети через соответствующую соединительную балку, при этом соединительные балки шарнирно соединены по центру с главной балкой, причем шатуны блока поршневых цилиндров на концах главной балки присоединены шарнирно и каждый блок поршневых цилиндров регулируется с помощью датчика перемещений в зависимости от условий движения. Основное преимущество получается из-за разделения на главную балку и соединительную балку, так что не может произойти перекоса главной балки. Другое преимущество – надежная функция смещения и, кроме того, легкость проведения монтажа и технического обслуживания. Эти преимущества достигаются, кроме того, тем, что система перемещения получает все механические степени свободы, так что не возникает перекос подвесной балки.
При выполнении изобретения предусматривается, что со стороны привода между подвижными балками в подушке валков для блокировки валка установлен фиксирующий блок. Преимущество заключается в соосном расположении, за счет чего не возникают радиальные усилия при выходе из строя или при неравномерной нагрузке одного из приводов блока поршневых цилиндров.
Далее предлагается, чтобы подушка валков могла соединяться с фиксирующим блоком посредством запирающего элемента.
Удерживающие силы при этом могут быть так благоприятно расставлены и перенесены, чтобы соединительная балка была жестко соединена с фиксирующим блоком с помощью действующей по оси запирающей шайбы, установленной по центру.
Удерживающая сила прикладывается более выгодным образом, если запирающая шайба будет приводиться в действие с помощью гидравлического привода запирания.
Этот привод благодаря своему центрированному расположению особенно прост и действенен.
С помощью других отличительных признаков могут быть учтены также самые незначительные сбои. Для этого предусматривается, чтобы мера пути смещения рассчитывалась как средняя величина пути смещения, зарегистрированная двумя соединенными друг с другом датчиками перемещений.
Блоки поршневых цилиндров управляют тем, что рассчитанное среднее значение пути смещения, зарегистрированное двумя датчиками перемещений, поступает в соответствующую независимую цепь регулирования блоков поршневых цилиндров.
На чертежах показан пример выполнения изобретения, который далее поясняется более детально.
Показано:
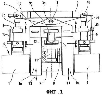
На Фиг.1 – вид сверху половины прокатной клети.
На Фиг.2 – сечение A-A прокатной клети из Фиг.1 на уровне запирающего привода.
На Фиг.3 – сечение B-B на уровне запирающего элемента в разблокированном положении.
На Фиг.4 – то же сечение B-B в положении блокировки.
Согласно Фиг.1 у станины 1 прокатной клети 6 в окне клети с двух сторон предусмотрены подвижные балки 1a для подушки 7, которые через соединительную балку 2 опираются на станину прокатной клети. Соединительные балки 2 шарнирно соединены по центру с главной балкой 4 в шарнирной опоре 3 с помощью соединительного болта 3a. Разделение на главную балку 4 и соединительную балку 2 предотвращает перекос, который мог бы произойти из-за неодинакового управления блоками поршневых цилиндров 5. К концам 4a и 4b главной балки 4 шарнирно присоединены шатуны 5a блока поршневых цилиндров 5. Как только начнет происходить смещение, каждый блок поршневых цилиндров 5 будет управляться с помощью датчика перемещений 10 в зависимости от условий движения.
Со стороны привода между подвижными балками 1a на подушке валков 7 находится фиксирующий блок 8 для блокировки валков 11. Подушка валков 7 соединена с фиксирующим блоком 8 посредством запирающего элемента 9.
Стопорное устройство выполнено так, чтобы соединительная балка 2 была жестко соединена с фиксирующим блоком 8 с помощью запирающей шайбы 12, расположенной по центру внутри соединительной балки 2 и действующей аксиально и/или радиально. Запирающая шайба 12 приводится в действие с помощью гидравлического привода 9a запирания.
Мера пути 13 смещения рассчитывается как среднее значение пути 13 смещения, зарегистрированного двумя соединенными друг с другом датчиками перемещений 10. Рассчитанное среднее значение пути 13 смещения, определенное двумя датчиками перемещений 10, поступает в соответствующую независимую цепь управления блоками поршневых цилиндров 5.
На Фиг.2 показана плоскость запирающего привода 9a. Между находящимися по обе стороны подвижными балками 1a установлен с возможностью вращения поворотный фланец 14 привода 9a запирания, который может поворачиваться в обе стороны. При этом вращательное движение осуществляется, например, с помощью работающего на гидравлическом, электрическом и/или механическом принципе прямоточного приводного механизма 15, так что из линейного движения 16 возникает вращательное движение 17 в соответствующем, показанном стрелкой, направлении. Находящаяся под приводом 9а запирания на одной с ним оси затягивающая шайба 12 (Фиг.3) в показанном положении открыта, причем запирающая шайба 12 направлена продольной формой 12a вверх. Фиксирующий блок 8 поэтому свободен по оси, и валок 11, например промежуточный валок, может быть выдвинут по оси к обслуживаемой стороне с целью замены.
На Фиг.4 запирающая шайба 12 своей продольной стороной 12a с помощью привода запирания 9a установлена поперек и фиксирующий блок 8 больше не может сдвигаться по оси, т.е. подвижная балка 1a, фиксирующий блок 8 и соединительная балка 2 образуют с главной балкой 4 неразъемный узел.
Список использованных обозначений
1 станина прокатной клети
1a подвижные балки
2 соединительная балка
3 шарнирная опора
3a соединительный болт
4 главная балка
4a конец главной балки
4b конец главной балки
5 блок поршневых цилиндров
5a шатун
6 прокатная клеть
7 подушка валков
8 фиксирующий блок
9 запирающий элемент
9a привод запирания
10 датчик перемещений
11 валок
12 запирающая шайба
12a продольная форма
13 путь смещения
14 поворотный фланец
15 приводной механизм
16 линейное движение
17 вращательное движение
Формула изобретения
1. Многовалковая прокатная клеть, в частности шестивалковая клеть, с устройством для сдвига по оси и блокировки установленных подвижно промежуточных валков и/или рабочих валков, содержащая подушки в станине прокатной клети, скользящие в направлении усилия проката, и промежуточные и/или рабочие валки вместе с соответствующими им подушками, выполненные с возможностью смещения в противоположных направлениях с помощью действующих в направлении оси валков блоков гидравлических поршневых цилиндров, а оба соответствующие шатуна шарнирно соединены посредством главной балки (4), отличающаяся тем, что по обе стороны от подушки валков (7) расположены подвижные балки (1а), соединенные со станиной прокатной клети (1) через соединительную балку (2), причем соединительные балки (2) шарнирно соединены по центру с главной балкой (4), а шатуны (5а) блоков поршневых цилиндров (5) присоединены на шарнирах к концам (4а, 4b) главной балки (4), при этом каждый блок поршневых цилиндров (5) регулируется с помощью датчика перемещений (10) в зависимости от пути (13) смещения.
2. Многовалковая прокатная клеть по п.1, отличающаяся тем, что со стороны привода между подвижными балками (1а) в подушке валков (7) установлен фиксирующий блок (8) для блокировки валка (11).
3. Многовалковая прокатная клеть по п.2, отличающаяся тем, что подушка валков (7) выполнена с возможностью соединения с фиксирующим блоком (8) с помощью запирающего элемента (9).
4. Многовалковая прокатная клеть по одному из пп.1-3, отличающаяся тем, что соединительная балка (2) жестко соединена с фиксирующим блоком (8) посредством действующей аксиально запирающей шайбы (12), расположенной по центру внутри соединительной балки (2).
5. Многовалковая прокатная клеть по п.4, отличающаяся тем, что запирающая шайба (12) приводится в действие с помощью гидравлического привода (9а) запирания.
6. Многовалковая прокатная клеть по п.1, отличающаяся тем, что величина пути (13) смещения рассчитывается как среднее значение пути (13) смещения, зарегистрированного двумя соединенными друг с другом датчиками перемещений (10).
7. Многовалковая прокатная клеть по п.1, отличающаяся тем, что рассчитанное среднее значение пути смещения (13), определенное двумя датчиками перемещений (10), передается в соответствующую независимую цепь управления блоков поршневых цилиндров (5).
РИСУНКИ
|