|
(21), (22) Заявка: 2004127593/02, 31.01.2003
(24) Дата начала отсчета срока действия патента:
31.01.2003
(30) Конвенционный приоритет:
15.02.2002 DE 10206244.7
(43) Дата публикации заявки: 10.05.2005
(46) Опубликовано: 20.06.2007
(56) Список документов, цитированных в отчете о поиске:
ЕР 0765696 А, 02.04.1997. US 6134811 А, 24.10.2000. DE 19519544 А, 28.11.1996. SU 1031543 А, 30.07.1983.
(85) Дата перевода заявки PCT на национальную фазу:
15.09.2004
(86) Заявка PCT:
EP 03/00958 (31.01.2003)
(87) Публикация PCT:
WO 03/068426 (21.08.2003)
Адрес для переписки:
129010, Москва, ул. Б. Спасская, 25, стр.3, ООО “Юридическая фирма Городисский и Партнеры”, пат.пов. Ю.Д.Кузнецову, рег.№ 595
|
(72) Автор(ы):
РИХТЕР Ханс-Петер (DE), КЛАПДОР Армин (DE)
(73) Патентообладатель(и):
СМС ДЕМАГ АКЦИЕНГЕЗЕЛЛЬШАФТ (DE)
|
(54) УСТРОЙСТВО ДЛЯ ПОДДЕРЖАНИЯ В СУХОМ СОСТОЯНИИ ХОЛОДНОКАТАНОЙ ПОЛОСЫ НА ВЫХОДЕ ИЗ ПОЛОСОВЫХ ПРОКАТНЫХ СТАНОВ
(57) Реферат:
Устройство предназначено для осушения поверхности холоднокатаной полосы на выходе из прокатных валков. В выходной зоне прокатных клетей, над полосой расположен верхний отклонитель полосы. В отклонитель встроено питаемое от вентилятора приспособление для обдува посредством сопла низкого давления. Щелевое сопло для верхней герметизации зазора бочки валка формирует воздушную струю, оттесняющую жидкую среду, примыкающую к поверхности валка. Под полосой расположено отсасывающее устройство со встроенным нижним отклонителем полосы. Отсасывающее устройство отклоняет воздушную струю от вертикали, за счет чего возможно центробежное отделение капель эмульсии, их сбор и выведение из осушаемой зоны. Степень и качество осушения поверхности полосы повышаются за счет использования принудительно формируемых воздушных потоков. Исключаются механизмы, создающие помехи в процессе смены валков и регулирования параметров очага деформации. 6 з.п. ф-лы, 3 ил.
Изобретение относится к устройству для поддержания в сухом состоянии холоднокатаной полосы на выходе из прокатных станов, содержащему средства для отклонения жидких прокатных сред в зоне выхода полосы и/или для защиты поверхностей полосы от брызг жидкости, причем эти взаимодействующие между собой, в том числе в виде функционального блока средства состоят из установленных над и под катаной полосой неподвижных и подвижных загородок, устройств для обдува бочки валка, для герметизации зазора бочки валка и для отсоса тумана.
К повышенным требованиям качества, предъявляемым изготовителями к продукту «холоднокатаная полоса», относится помимо хорошей плоскостности и оптимального допуска на толщину также сухость полосы на выходе из станов холодной прокатки и полосовых станов, с тем чтобы для дальнейшей обработки полосы избежать поверхностных дефектов, например пятен.
Из уровня техники известны различные устройства и меры, имеющие своей целью получение полосы, свободной от влаги и прокатных эмульсий. Для этого в отдельных случаях используют обдувы, загородки, отсосы, а также комбинации этих устройств и мер.
Так, из DE 4422422 А1 известно устройство для бесконтактной герметизации зазора между загородкой и рабочим валком на выходе прокатной клети, причем элемент загородки с щелевым соплом расположен приблизительно по касательной к поверхности рабочего валка на относительно небольшом расстоянии от нее и от прокатываемой полосы. Элемент загородки имеет на своей передней стороне расположенную приблизительно по касательной и на небольшом расстоянии от поверхности валка сужающуюся в виде лезвия концевую часть, которая расположена и выполнена с возможностью образования между нею и поверхностью валка постоянно увеличивающегося в сечении проточного канала в виде инжектора.
Известные устройства и меры для получения сухой полосы очень энергоемки, сложны, мешают как при смене валков, так и при регулировании области деформации и создают мешающий шум.
В некоторых случаях достичь достаточного удаления нежелательной влаги с поверхности полосы и тем самым отвечающей требованиям сухой полосы не удавалось потому, что не уделялось достаточного внимания причинам осаждения и/или захвата влаги на поверхности полосы. Речь идет при этом о следующих причинах:
– прокатная эмульсия захватывается валками и отбрасывается на выходящую полосу;
– прокатная эмульсия разбрызгивается рядом с кромкой полосы через область деформации и таким образом снова попадает на полосу;
– туман в зоне выхода установки конденсируется и в виде капель оседает на полосу.
Для того чтобы получить действительно свободную от мешающей жидкости холоднокатаную полосу, в ЕР 0765696 В1 предложено свести различные средства для отклонения и удаления прокатных эмульсий в один функциональный блок. При этом посредством неподвижно установленной загородки, одна часть которой выше движения полосы доходит до площадки клети, а другая часть ниже движения полосы доходит до основания, отгораживают валковую зону, содержащую жидкость и туман, от окончательно прокатанной полосы. Дополнительная, состоящая из подвижных частей подвижная загородка обеспечивает дальнейшее отгораживание валковой зоны, содержащей жидкость и туман, от окончательно прокатанной полосы, однако вследствие подвижности частей обеспечивает доступность валков, например при их смене. К тому же эти подвижные части выполняют функцию отклонителя полосы и/или средства для передачи полосы. Выполненные в виде упоров подвижные части могут быть при этом на выбор настраиваемыми механически неподвижно или в зависимости от износа бочки валков.
Другими установленными компонентами являются:
– приспособление для обдува бочки валка для предотвращения переноса вдавленной прокатной среды на окончательно прокатанную полосу;
– приспособление для герметизации зазора бочки валка, которая герметизирует пространство над полосой, содержащее жидкость и туман, от окончательно прокатанной полосы;
– приспособление для обдува кромок полосы, посредством которого захваченное прокатное масло сбоку от кромки полосы отводится в сторону от полосы;
– приспособление для отсоса тумана в канале для полосы параллельными воздушными потоками, направленными над и под полосой против направления движения полосы.
Задачей изобретения является дальнейшее усовершенствование известного из ЕР 0765696 В1 устройства, так называемой «DS-(Dry-Strip)системы», для поддержания в сухом состоянии холоднокатаной полосы, которое гарантировало бы, чтобы полоса покидала эту «DS-систему» свободной от капель и чтобы на полосе находилось лишь такое остаточное количество масла, которое обусловлено составом эмульсии и процессом прокатки.
Поставленная задача решается за счет расположенного между стойками станины прокатной клети выше и ниже движения полосы устройства описанного выше рода для поддержания в сухом состоянии холоднокатаной полосы с отличительными признаками п. 1 формулы, включающего:
– расположенный над полосой верхний отклонитель полосы со встроенным, питаемым от вентилятора приспособлением для обдува посредством сопла низкого давления и с верхней герметизацией зазора бочки валка в виде щелевого сопла;
– расположенное под полосой отдельное отсасывающее устройство со встроенным нижним отклонителем полосы.
Предпочтительные выполнения изобретения приведены в зависимых пунктах.
С приведенными в п. 1 частями установки устройство, в частности в зоне выхода полосы, состоит из взаимодействующих между собой частей:
– неподвижно установленной загородки над и под полосой;
– приспособления для верхнего обдува полосы с питаемым от вентилятора соплом низкого давления;
– приспособления для верхнего обдува бочки валка;
– приспособления для верхней герметизации бочки валка;
– верхнего отклонителя полосы с регулировочным механизмом для размещения расположенного над полосой обдувочного сопла и для дополнения верхней загородки;
– канала для полосы с отдельным отсосом под полосой и встроенным нижним отклонителем полосы.
За счет взаимодействия этих отдельных компонентов успешно предотвращено повторное загрязнение полосы после выхода из прокатной щели прокатным маслом или эмульсией. Выходящее сбоку от полосы через прокатную щель прокатное масло или эмульсия определенным образом отводится в сторону и выводится из выходной зоны посредством нижнего приспособления для отсоса. Это гарантирует, что верхняя и нижняя стороны полосы покинут выходную зону свободными от капель, и на полосе будет находиться остаточное количество масла, обусловленное составом эмульсии и процессом прокатки.
Более подробно достигается следующее действие отдельных компонентов:
– неподвижно установленная загородка клети, проходящая над полосой до площадки клети, а под полосой – до основания, отгораживает влажную валковую зону от окончательно прокатанной полосы;
– приспособление для верхнего обдува полосы с питаемым от вентилятора соплом низкого давления отводит в сторону эмульсию, проникающую вместе с полосой через область деформации;
– приспособление для верхнего обдува бочек валков препятствует тому, чтобы вдавленная эмульсия стекала с валка и попадала на готовую полосу. Вдавленная эмульсия отводится в сторону воздушным потоком;
– верхняя герметизация бочки валка в виде щелевого сопла с использованием эффекта флотации, причем выходящая из щели щелевого сопла воздушная струя направляется вокруг криволинейной поверхности валка, бесконтактно герметизирует тем самым в передней части отклонителя полосы зону над отклонителем полосы от валка и, следовательно, от окончательно прокатанной полосы;
– верхний отклонитель полосы выполнен с возможностью перемещения под углом 20-45° и при этом расположен так, что смена валков возможна без проблем;
– образовавшийся канал для полосы с отдельным приспособлением для отсоса ниже движения полосы создает определенное обтекание кромки полосы за прокатной щелью. Отсос может происходить за счет вентилятора из установленной под полосой отсасывающей ванны или с помощью инжекторных сопел, установленных с возможностью позонного подключения ниже движения полосы в направляющем столе. При этом канал для полосы выполнен с возможностью его использования также в качестве приспособления для заправки начала полосы.
Хотя оптимальное использование описанных компонентов достигается только при их функциональном взаимодействии, они могут быть успешно использованы также в качестве отдельных компонентов, в частности в уже находящихся в эксплуатации прокатных станах.
Другие подробности, преимущества и признаки изобретения более подробно поясняются ниже с помощью примеров выполнения, схематично изображенных на чертеже, на котором представлены:
– фиг. 1 – устройство для поддержания в сухом состоянии холоднокатаной полосы в вертикальном разрезе;
– фиг. 1а – в увеличенном виде приспособление для герметизации зазора бочки валка из фиг. 1;
– фиг. 2 – пути потоков отсасывающего воздуха в отсасывающем устройстве в вертикальном разрезе;
– фиг. 3 – пути воздушных потоков за соплом низкого давления при виде сверху.
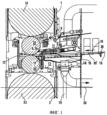
На фиг. 1 без собственно прокатной клети изображены два опорных валка 31, 32 и между ними два рабочих валка 33, 34 с регулируемой областью 12 деформации. Над и под выходящей из прокатной клети катаной полосой 10, на чертеже слева направо, находится образованная валками 31, 32, 33, 34 и полосой 10 валковая зона 11, содержащая жидкость и туман, от которой выходящую полосу 10 следует отгородить.
Для этого сначала эта валковая зона 11 уже частично отгорожена от окончательно прокатанной полосы 10 посредством неподвижно установленных верхней 1 и нижней 2 загородок. Эти неподвижно установленные загородки 1, 2 дополняются подвижными загородками.
Над полосой 10 этим дополнением является верхний, выполненный перемещаемым отклонитель 3 полосы, который содержит встроенное, работающее от вентилятора приспособление 4 для обдува полосы с соплом 7 низкого давления. Это приспособление 4 для обдува полосы удлинено вверх к верхнему рабочему валку 33 щелевым соплом 6 до приспособления 5 для герметизации зазора бочки валка и вплотную подходит к рабочему валку 33. Благодаря специальному выполнению щелевого сопла 6 происходит герметизация оставшегося зазора между рабочим валком 33 и щелевым соплом 6 с использованием эффекта флотации. Этот эффект сказывается таким образом, что выходящая из щелевого сопла 6 воздушная струя повторяет кривизну расположенной непосредственно за щелевым соплом 6 криволинейной поверхности рабочего валка 33 и тем самым оттесняет назад приставшие к поверхности валка жидкие среды. В частности, на фиг. 1а в увеличенном виде хорошо различимо это щелевое сопло 6 приспособления 5 для герметизации зазора бочки валка.
Помимо щелевого сопла 6 (для обдува рабочего валка) и сопла 7 низкого давления (для обдува полосы) дополнительно в верхней части рабочего валка 33 установлено приспособление 9 для обдува бочки валка, посредством которого прилипшие к рабочему валку жидкие среды оттесняются в направлении вращения рабочего валка 33 и тем самым удаляются от полосы 10.
Под полосой 10 для дополнения неподвижно установленной нижней загородки 2 установлено отсасывающее устройство 16, передний конец которого удлинен доходящим до нижнего отклонителя 17 полосы, расположенного у нижнего рабочего валка 34. Отсасывающее устройство 16 выполнено с возможностью образования вместе с верхним отклонителем 3 полосы канала 15, по которому проходит полоса 10 и который может быть использован также в качестве приспособления для заправки начала полосы. Составной частью отсасывающего устройства 16 является отсасывающая ванна 18 с присоединенными трубопроводом 19 для слива эмульсии и трубопроводом 20 для отработанного воздуха.
На фиг. 2 в вертикальном разрезе изображено отсасывающее устройство 16 с возникающими направлениями 21 воздушных потоков. Над полосой 10 имеется избыточное давление воздуха, тогда как за счет отсоса воздуха под полосой 10 устанавливается разрежение. Возникающие из этого пути воздушных потоков 21 ведут вначале над полосой 10 параллельно ей к кромке полосы и вдоль нее вниз в отсасывающую ванну 18. Здесь происходит отклонение воздуха к середине отсасывающей ванны 18. Воздух направляется затем дальше в трубопровод для отработанного воздуха, по которому он удаляется из системы. За счет отклонения воздушного потока из вертикального положения вниз в горизонтальное положение (к середине отсасывающей ванны) происходит центробежное отделение капель эмульсии или прокатного масла, которые затем собирают в осадительной камере 22 и отводят оттуда по трубопроводу 19 для отвода эмульсии. На фиг. 2 особо выделена зона 13 кромки холоднокатаной полосы, важная при ее поддержании в сухом состоянии.
На фиг. 3 изображены направления 14 воздушных потоков питаемого от вентилятора приспособления 4 для обдува полосы. Воздух покидает сопло 7 низкого давления навстречу направлению движения полосы широким веером и распределяется затем за счет пластин 7′ сопла 7 низкого давления симметрично по всей верхней поверхности 30 полосы в направлении ее кромок. За счет этого выходящее с полосой 10 из прокатной щели 12 прокатное масло надежно оттесняется в сторону к кромкам полосы и транспортируется оттуда обтекающим кромки полосы воздухом отсасывающего устройства 16 вниз в отсасывающую ванну 18.
Видно, что комбинация всех изображенных конструктивных элементов устройства для поддержания холоднокатаной полосы в сухом состоянии, а также принцип его действия в новой DS-системе являются существенным признаком изобретения. Устройство может взаимодействовать предпочтительно с зависимой от ширины полосы смазкой области деформации, а именно независимо от аксиально подвижных или неподвижных валков.
Изобретение не ограничено, однако, изображенным примером выполнения. В зависимости от необходимости отдельные компоненты, а также их связь можно варьировать, причем устройство следует выполнить так, чтобы оно надежно предотвращало падение влаги в виде капель или осаждение тумана на полосу 10 и тем самым повышало качество полосы. Решающим при этом является сохранение выполнения согласно изобретению и вынужденные воздушные потоки от приспособления 4 для верхнего обдува полосы и нижнего отсасывающего устройства 16, а также, в целом, взаимодействие названных конструктивных элементов.
Перечень ссылочных позиций
1, 2 – неподвижно установленные загородки
3 – верхний отклонитель полосы
4 – приспособление для обдува полосы
5 – приспособление для верхней герметизации зазора бочки валка
6 – щелевое сопло
7 – сопло низкого давления
7′ – пластины
9 – приспособление для обдува бочки валка
10 – катаная полоса
11 – верхняя и нижняя валковые зоны
12 – область деформации
13 – зона кромки полосы
14 – направления воздушных потоков от сопла 7
15 – канал для полосы
16 – нижнее отсасывающее устройство
17 – нижний отклонитель полосы
18 – отсасывающая ванна
19 – отводящий трубопровод для эмульсии
20 – трубопровод для отработанного воздуха
21 – направления воздушных потоков от устройства 16
22 – осадительная камера (для эмульсии/прокатного масла)
30, 30′ – поверхности полосы
31, 32 – опорные валки
33, 34 – рабочие валки
Формула изобретения
1. Устройство для поддержания в сухом состоянии холоднокатаной полосы на выходе из прокатных станов, содержащее средства для отклонения жидких прокатных сред в зоне выхода полосы и/или для защиты поверхностей полосы от брызг жидкости, причем эти взаимодействующие между собой, в том числе в виде функционального блока, средства состоят из установленных над и под катаной полосой (10) неподвижных (1, 2) и подвижных загородок, приспособления для обдува бочки валка, приспособления для герметизации зазора бочки валка и туманоотсоса, отличающееся тем, что над полосой (10) расположен верхний отклонитель (3) полосы со встроенным, питаемым от вентилятора, приспособлением (4) для обдува посредством сопла (7) низкого давления и приспособлением (5) для верхней герметизации зазора бочки валка, выполненным в виде щелевого сопла (6), при этом под полосой (10) расположено отдельное отсасывающее устройство (16) со встроенным нижним отклонителем (17) полосы.
2. Устройство по п.1, отличающееся тем, что щелевое сопло (6) выполнено с возможностью герметизации верхней валковой зоны (11) от полосы (10) с использованием эффекта флотации, при котором газовая струя обтекает изогнутую поверхность, расположенную за выходной щелью для газа.
3. Устройство по п.1 или 2, отличающееся тем, что верхний отклонитель (3) полосы расположен с возможностью перемещения и под углом 20-45° к полосе (10).
4. Устройство по п.1 или 2, отличающееся тем, что отсасывающее устройство (16) выполнено с возможностью создания за счет отсоса среды определенного обтекания кромки полосы за областью деформации (12).
5. Устройство по п.4, отличающееся тем, что выполнено с возможностью отсоса среды за счет вентилятора, через расположенную под полосой (10) отсасывающую ванну (18).
6. Устройство по п.4, отличающееся тем, что выполнено с возможностью отсоса среды с помощью инжекторных сопел, установленных с возможностью позонного подключения под полосой (10) в направляющем столе.
7. Устройство по п.1 или 2, отличающееся тем, что верхний отклонитель (3) полосы и нижнее отсасывающее устройство (16) образуют канал (15) для направления полосы (10) после ее выхода из области деформации (12), который выполнен с возможностью его использования в качестве приспособления для заправки начала полосы.
РИСУНКИ
|