|
(21), (22) Заявка: 2005133492/12, 31.10.2005
(24) Дата начала отсчета срока действия патента:
31.10.2005
(46) Опубликовано: 20.06.2007
(56) Список документов, цитированных в отчете о поиске:
SU 1471935 A3, 02.03.1983. GB 2124929 А, 29.02.1984. SU 1400664 А1, 07.06.1988. US 6090299 А, 18.07.2000.
Адрес для переписки:
121165, Москва, а/я 15, ООО “ППФ-ЮСТИС”
|
(72) Автор(ы):
Анучин Лев Иванович (RU), Бойченко Алексей Николаевич (RU)
(73) Патентообладатель(и):
Общество с ограниченной ответственностью “Нефтехиммаш Инжиниринг” (RU)
|
(54) ЦЕНТРИФУГА ДЛЯ РАЗДЕЛЕНИЯ ГАЗОЖИДКОСТНОЙ СМЕСИ
(57) Реферат:
Изобретение относится к центробежным устройствам для разделения газожидкостных смесей и может найти применение в системах компримирования, очистки и осушки газа. Центрифуга для разделения газожидкостной смеси содержит ротор с полостью разделения газожидкостной смеси, которая с одной стороны сообщается с входным отверстием для подачи газожидкостной смеси и полостью для сбора осадка, а с другой стороны сообщается с выходным отверстием для отвода газа. Ротор со стороны входного отверстия снабжен лопастями, образующими радиально-осевые каналы, сообщающиеся с направляющим аппаратом, сообщенным с входным отверстием и выполненным с возможностью закрутки потока газожидкостной смеси. Использование изобретения позволяет повысить эффективность разделения и снижение энергозатрат. 6 з.п. ф-лы, 4 ил.
Изобретение относится к центробежным устройствам для разделения газожидкостных смесей и может найти применение в системах компримирования, очистки и осушки газа.
Известна центрифуга (сепаратор) для отделения частиц жидкости из потока газа, содержащая ротор с полостью, установленный на подшипниковых опорах в корпусе с входным и выходным отверстиями, завихритель, размещенный во входном отверстии, и цилиндрическую ловушку, расположенную соосно с ротором (см. А.С №.1400664, публикация 07.06.1988).
У известной центрифуги подшипниковые опоры размещены на периферийной стороне ротора. Это ограничивает возможности масштабирования данного устройства. В случае необходимости увеличить пропускную способность и эффективность центрифуги за счет увеличения диаметра ротора размеры подшипниковых опор также увеличиваются, что в свою очередь ведет к возрастанию потерь на трение и росту энергозатрат на привод. Другим недостатком аналога является то, что газовая фаза выходит из ротора с остаточной закруткой, что существенным образом снижает эффективность привода и увеличивает энергозатраты. Угловая скорость ротора у известной центрифуги меньше угловой скорости потока, что вызывает образование завихрений на периферийной стороне ротора и, следовательно, снижает эффективность разделения.
Наиболее близким аналогом заявленного изобретения является центрифуга для разделения газожидкостной смеси IRIS, содержащая ротор с полостью разделения газожидкостной смеси, которая с одной стороны сообщается с входным отверстием для подачи газожидкостной смеси и полостью для сбора осадка, а с другой стороны сообщается с выходным отверстием для отвода газа (см. описание Multiphase Power & Processing, Technologies LLC, 2002 г. на сайте www.mpptech.com). Вращение ротора в известной центрифуге обеспечивается за счет трения закрученного потока относительно периферийной поверхности ротора. Это обуславливает образование возмущения периферийной зоны потока и ухудшение качества разделения. Поток на выходе ротора имеет положительную закрутку, оказывая препятствие вращению ротора, увеличивая тем самым энергозатраты на привод. Отвод осадка из ротора происходит с периферийной кромки поверхности осаждения, что оказывает дополнительное препятствие вращению ротора.
Технической задачей изобретения является повышение эффективности разделения и снижение энергозатрат.
Поставленная задача решается тем, что в центрифуге для разделения газожидкостной смеси, содержащей ротор с полостью разделения газожидкостной смеси, которая с одной стороны сообщается с входным отверстием для подачи газожидкостной смеси и полостью для сбора осадка, а с другой стороны сообщается с выходным отверстием для отвода газа, особенностью является то, что ротор со стороны входного отверстия снабжен лопастями, образующими радиально-осевые каналы, сообщающиеся с направляющим аппаратом, сообщенным с входным отверстием и выполненным с возможностью закрутки потока газожидкостной смеси, а для обеспечения закрутки потока газожидкостной смеси на торцевой поверхности направляющего аппарата могут быть выполнены лопатки.
Снабжение ротора лопастями, образующими радиально-осевые каналы, позволяет обеспечить равенство угловых скоростей потока и ротора, что создает благоприятные условия для эффективного разделения газожидкостной смеси и осаждения жидкой фазы.
Предпочтительно, если входные части лопастей выполнены с возможностью обеспечения безударного входа газожидкостного потока в ротор, что позволяет преобразовать энергию потока в работу по вращению ротора с наименьшими энергозатратами.
В полости разделения ротора со стороны выходного отверстия расположено колесо с лопатками, образующими тангенциальные каналы, сообщающиеся с выходным отверстием. Выходные части таких лопаток и сечение тангенциальных каналов выполнены таким образом, чтобы обеспечить нормальный выход потока газа из ротора, что позволяет преобразовать энергию потока в работу по вращению ротора с наименьшими энергозатратами.
В торцевой части ротора со стороны входного отверстия выполнены спиральные канавки для отвода через них осадка жидкой фазы с поверхности осаждения из полости разделения ротора в полость для сбора осадка. Предпочтительно, если спиральные канавки выполнены с возможностью обеспечения движения осадка в направлении, противоположном направлению вращения ротора, что способствует снижению энергозатрат на привод ротора.
Ротор заключен в кожух и установлен посредством подшипниковых опор на неподвижной оси, закрепленной со стороны входного отверстия в основании центрифуги.
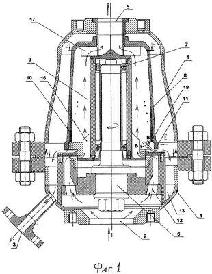
На фиг.1 представлена центрифуга в осевом разрезе; на фиг.2 – представлено сечение А-А на фиг.1; на фиг.3 – сечение Б-Б на фиг.1; на фиг.4 – сечение В-В на фиг.1.
Центрифуга содержит основание 1 с входным отверстием 2 для подачи смеси в центрифугу и патрубком 3 дренажа осадка, кожух 4 с выходным отверстием 5 для отвода очищенного газа, неподвижную ось 6, на которой посредством подшипниковых опор 7 установлен ротор 8 с полостью разделения 9, и поверхность осаждения 10.
Основание 1 снабжено направляющим аппаратом 11, с одной стороны сообщенным с полостью ротора, а с другой – с отверстием 2 посредством каналов 12. В основании 1 выполнена полость сбора осадка 13, сообщенная с патрубком 3.
На торцевой поверхности направляющего аппарата 11 выполнены лопатки 14, служащие для обеспечения закрутки потока в направлении вращения ротора 8.
Ротор 8 со стороны отверстия 2 снабжен лопастями 15, образующими радиально-осевые каналы 16 для ввода потока в полость разделения 9. Входные элементы лопастей 15 выполнены с учетом обеспечения безударного входа потока в ротор 8.
Для отвода газовой фазы из полости разделения ротор 8 имеет колесо с лопатками 17, образующими тангенциальные каналы 18, сообщенными с отверстием 5 для отвода газа. Выходные части лопаток 17 и сечение каналов выполнены с учетом обеспечения нормального выхода потока из ротора 8.
В торцевой части ротора со стороны входного отверстия 2 выполнены спиральные канавки 19, служащие для отвода осадка с поверхности осаждения 10 в полость 13. Спиральные канавки выполнены для обеспечения движения осадка в сторону, противоположную направлению вращения ротора.
Предлагаемая центрифуга работает следующим образом.
Газожидкостная смесь через отверстие 2 и каналы 12 поступает в направляющий аппарат 11, где происходит закрутка потока. Вращающийся поток, взаимодействуя с лопастями 15 на входе в ротор и лопатками 17 на выходе из ротора, создает на последнем крутящий момент. Таким образом, ротор приводится во вращение за счет использования энергии потока. Поток, находясь в полости разделения 9 ротора, движется вдоль оси вращения с угловой скоростью, равной угловой скорости ротора. Жидкая фаза смеси под действием центробежных сил приобретает радиальное движение от центра к периферии, скапливаясь в виде осадка на поверхности осаждения. Осадок из ротора выводится через спиральные канавки 19 в полость 13 и далее через патрубок 3 отводится из центрифуги. Очищенный газ покидает центрифугу через отверстие 5.
Формула изобретения
1. Центрифуга для разделения газожидкостной смеси, содержащая ротор с полостью разделения газожидкостной смеси, которая с одной стороны сообщена с входным отверстием для подачи газожидкостной смеси и полостью для сбора осадка, а с другой стороны – с выходным отверстием для отвода газа, отличающаяся тем, что ротор со стороны входного отверстия снабжен лопастями, образующими радиально-осевые каналы, сообщающиеся с направляющим аппаратом, сообщенным с входным отверстием и выполненным с возможностью закрутки потока газожидкостной смеси, а на торцевой поверхности направляющего аппарата выполнены лопатки, обеспечивающие закрутку потока газожидкостной смеси.
2. Центрифуга по п.1, отличающаяся тем, что входные части лопастей выполнены с возможностью обеспечения безударного входа газожидкостного потока в ротор.
3. Центрифуга по п.1, отличающаяся тем, что в полости разделения ротора со стороны выходного отверстия расположено колесо с лопатками, образующими тангенциальные каналы, сообщающиеся с выходным отверстием.
4. Центрифуга по п.3, отличающаяся тем, что выходные части лопаток и сечение тангенциальных каналов выполнены с возможностью обеспечения нормального выхода потока газа из ротора.
5. Центрифуга по п.1, отличающаяся тем, что в торцевой части ротора со стороны входного отверстия выполнены спиральные канавки для отвода через них осадка из полости разделения ротора в полость для сбора осадка.
6. Центрифуга по п.5, отличающаяся тем, что спиральные канавки выполнены с возможностью обеспечения движения осадка в направлении, противоположном направлению вращения ротора.
7. Центрифуга по п.1, отличающаяся тем, что ротор заключен в кожух и установлен посредством подшипниковых опор на неподвижной оси, закрепленной со стороны входного отверстия в основании центрифуги.
РИСУНКИ
MM4A – Досрочное прекращение действия патента СССР или патента Российской Федерации на изобретение из-за неуплаты в установленный срок пошлины за поддержание патента в силе
Дата прекращения действия патента: 01.11.2007
Извещение опубликовано: 10.07.2009 БИ: 19/2009
NF4A – Восстановление действия патента СССР или патента Российской Федерации на изобретение
Дата, с которой действие патента восстановлено: 10.09.2009
Извещение опубликовано: 10.09.2009 БИ: 25/2009
QB4A – Регистрация лицензионного договора на использование изобретения
Лицензиар(ы): Общество с ограниченной ответственностью “Нефтехиммаш Инжиниринг”
Вид лицензии*: ИЛ
Лицензиат(ы): Общество с ограниченной ответственностью “Монтаж Люкс”
Договор № РД0053973 зарегистрирован 28.08.2009
Извещение опубликовано: 10.10.2009 БИ: 28/2009
* ИЛ – исключительная лицензия НИЛ – неисключительная лицензия
|