|
|
(21), (22) Заявка: 2005116081/03, 26.05.2005
(24) Дата начала отсчета срока действия патента:
26.05.2005
(43) Дата публикации заявки: 20.11.2006
(46) Опубликовано: 20.06.2007
(56) Список документов, цитированных в отчете о поиске:
RU 2019295 C1, 15.09.1994. SU 150067 A, 05.04.1976. SU 1513678 А, 10.06.1999. SU 878339 А, 07.11.1981. RU 2101090 C1, 10.01.1998. US 5601524 А, 11.02.1997. WO 9700728 А, 09.01.1997. US 5728039 А, 17.03.1998.
Адрес для переписки:
677018, г.Якутск, пр. Ленина, 43, ИГДС им. Н.В. Черского СО РАН
|
(72) Автор(ы):
Матвеев Андрей Иннокентьевич (RU), Гаврильев Дмитрий Макарович (RU), Лебедев Иван Феликсович (RU), Сивцев Михаил Михайлович (RU)
(73) Патентообладатель(и):
Институт горного дела Севера им. Н.В. Черского СО РАН (RU)
|
(54) ЦЕНТРОБЕЖНЫЙ КОНЦЕНТРАТОР НЕПРЕРЫВНОГО ДЕЙСТВИЯ
(57) Реферат:
Изобретение относится к области классификации и обогащения полезных ископаемых. Центробежный концентратор непрерывного действия включает корпус, внутреннюю вращающуюся коническую чашу с отверстиями для вывода тяжелой фракции, устройство для подачи воды, вал привода, выполняющий роль загрузочного патрубка, выполненный в виде цилиндрической трубы с отверстиями для выхода материала в нижней части чаши, устройство для разгрузки концентрата и периферийное разгрузочное устройство хвостов. Внутренняя чаша выполнена с Z-образными в поперечном сечении рифлями, передняя часть которых служит экраном для уменьшения давления центробежной силы на отверстия для вывода тяжелой фракции, которые выполнены с тыльной стороны рифлей. Устройство для подачи воды выполнено в виде установленного в корпусе ватержакета с наклонными соплами для нагнетания воды, расположенными напротив отверстий для вывода тяжелой фракции. Цилиндрическая труба загрузочного патрубка выполнена с расширением в нижней части, а устройство для разгрузки концентрата – в виде конусообразного разгрузочного кольцевого кармана для мелкого концентрата и разгрузочного патрубка грубого концентрата. Технический результат – повышение эффективности разделения полезного компонента. 1 ил.
Изобретение относится к области классификации и обогащения полезных ископаемых.
Известны центробежные концентраторы, например концентратор Кнельсона, рабочий орган которых представляет собой чашу конической, полусферической или параболической формы с кольцевым рифлением изнутри [1]. Чаша приводится в быстрое вращение, а в центральную часть подается вода и исходный материал. Под воздействием центробежной силы легкие минералы выносятся за пределы чаши концентратора, а тяжелые минералы западают в углубления рифлей и накапливаются в них.
Более эффективная работа центробежных концентраторов осуществляется в цикличном режиме работы. После определенного промежутка работы концентратор останавливают, и производится разгрузка накопленного концентрата.
Наиболее близким к заявляемому является сепаратор для минералов [2], состоящий из корпуса, внутреннего вращающегося конуса с перфорацией в виде узких кольцевых щелей, внешнего конуса, питающего патрубка для подачи воды, где внешний конус установлен с возможностью осевых возвратно-поступательных движений, а внутренний конус снабжен решеткой, установленной по его внутренней поверхности.
Недостатком устройства является сложность непрерывной разгрузки части концентрата, осевшего в кольцевых нарифлениях.
Обеспечение устойчивой непрерывной работы, а также улучшение качества разделения минеральных зерен по плотности достигается в предлагаемом центробежном концентраторе непрерывного действия, состоящем из корпуса, внутренней вращающуюся чаши с отверстиями для вывода тяжелой фракции, устройством для подачи воды, вала привода, выполняющий роль загрузочного патрубка, выполненный в виде цилиндрической трубы с отверстиями для выхода материала в нижней части чаши, устройство для разгрузки концентрата и периферийного разгрузочного устройства хвостов, отличающийся тем, что внутренняя чаша выполнена с Z-образными в поперечном сечении рифлями, передняя часть которых служит экраном для уменьшения давления центробежной силы на отверстия для вывода тяжелой фракции, которые выполнены с тыльной стороны рифлей, при этом устройство для подачи воды выполнено в виде установленного в корпусе ватержакета с наклонными соплами для нагнетания воды, расположенными напротив отверстий для вывода тяжелой фракции, причем цилиндрическая труба загрузочного патрубка выполнена с расширением в нижней части, а устройство для разгрузки концентрата – в виде конусообразного разгрузочного кольцевого кармана для мелкого концентрата и разгрузочного патрубка грубого концентрата.
Сопоставительный анализ с аналогом показывает, что в предлагаемом варианте выход концентрата производится непрерывно, через щели между рифлями в конусообразный разгрузочный кольцевой карман для мелкого концентрата и разгрузочный патрубок грубого концентрата, тогда, как в аналоге это происходит циклично. Следовательно, предлагаемое изобретение соответствует критерию “новизна”.
В отличие от прототипа [2], где также действует принцип непрерывного разделения, концентрат отделяется от поверхности ротора и, преодолевая гидродинамическое воздействие потока, падают в приемник для концентрата с помощью интенсивных осевых вибраций, в предлагаемом варианте принципиально меняется характер концентрации тяжелых частиц на рабочей поверхности рифлей. Благодаря «Z» образной форме нарифлений и наличию свободных щелей со стороны корпуса тяжелые минералы сначала накапливаются у вертикальной стенки и благодаря центробежной силе и небольшому наклону стенки концентрат постепенно разгружается и выходит на промежуточное пространство между внутренней чаши и корпуса, в последующем подвергаются воздействию противонаправленных струй воды нагнетаемых из сопел, расположенных напротив отверстий, где происходит дополнительный барботаж с перечисткой тяжелых фракций, передняя часть «Z» образной рифли служит экраном для уменьшения давления центробежной силы на свободный проем, частицы на поверхности корпуса постепенно сползают на разгрузочный кольцевой карман для мелкого концентрата.
Таким образом, сравнительный анализ позволяет сделать вывод о соответствии критерию “изобретательный уровень”.
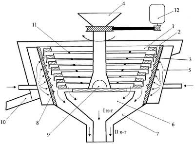
Сущность изобретения поясняется чертежом.
Классификатор состоит из внутренней чаши 1 со специальным рифлением 2, щелей на рифлях 3, вала привода, выполняющего роль загрузочного патрубка 4 выполненной в виде цилиндрической трубы с расширением на нижней части. В нижней части трубы имеются отверстия для выхода материала 9, корпус с ватержакетом 5, разгрузочный патрубок грубого концентрата 6, разгрузочный кольцевого кармана для мелкого концентрата 7, сопла для подачи воды 8, разгрузочного устройства хвостов 10, узла крепления 11, электродвигатель 12.
Внутренняя чаша 1 приводится во вращение. Через патрубок 4 подается смесь исходного продукта с водой. Под воздействием центробежной силы исходный материал интенсивно разбрасывается из загрузочной трубы на рабочую поверхность классификатора и движется вверх по винтовой линии к верхнему краю чаши. Для стабилизации потока из ватержакета через сопла 8 подается под давлением дополнительный регулируемый поток воды. При этом наиболее легкие минералы движутся вверх и, достигнув краев разделительной камеры, попадают в разгрузочное устройство хвостов 10. Тяжелые минералы попадают в углубления рифлей 2 и проваливаются через щели 3 на концентрат приемник 7.
По мере продвижения потока к выходу из рабочей камеры соответственно увеличивается рабочая поверхность внутренней конической чаши 1. Вследствие этого сокращается частота соударений обломков с частичками полезного компонента. Благодаря этому эффект разделения повышается и частички полезного компонента, которые не провалились, вдоль рифли 2 сползают в концентрат приемник 7.
Литература
1. Бочаров В.А., Игнаткина В.А. Технология обогащения золотосодержащего сырья. М.: Издательский дом «Руда и металлы», 2003. – 408 с.
2. Маньков В.М., Малков В.Ф., Крехов А.В. Сепаратор для минералов. RU 2019295 С1, 15.09.1994, В03В 5/32, 5 с.
Формула изобретения
Центробежный концентратор непрерывного действия, включающий корпус, внутреннюю вращающуюся коническую чашу с отверстиями для вывода тяжелой фракции, устройство для подачи воды, вал привода, выполняющий роль загрузочного патрубка, выполненный в виде цилиндрической трубы с отверстиями для выхода материала в нижней части чаши, устройство для разгрузки концентрата и периферийное разгрузочное устройство хвостов, отличающийся тем, что внутренняя чаша выполнена с Z-образными в поперечном сечении рифлями, передняя часть которых служит экраном для уменьшения давления центробежной силы на отверстия для вывода тяжелой фракции, которые выполнены с тыльной стороны рифлей, при этом устройство для подачи воды выполнено в виде установленного в корпусе ватержакета с наклонными соплами для нагнетания воды, расположенными напротив отверстий для вывода тяжелой фракции, причем цилиндрическая труба загрузочного патрубка выполнена с расширением в нижней части, а устройство для разгрузки концентрата – в виде конусообразного разгрузочного кольцевого кармана для мелкого концентрата и разгрузочного патрубка грубого концентрата.
РИСУНКИ
|
|