|
|
(21), (22) Заявка: 2006103167/03, 03.02.2006
(24) Дата начала отсчета срока действия патента:
03.02.2006
(46) Опубликовано: 20.06.2007
(56) Список документов, цитированных в отчете о поиске:
SU 1335318 A1, 07.09.1987. RU 2252076 С2, 20.05.2005. SU 592449 A1, 15.02.1978. SU 946650 A1, 30.07.1982. GB 562639 А, 10.07.1944. GB 1425924 A, 25.02.1976.
Адрес для переписки:
362021, РСО-Алания, г. Владикавказ, ул. Николаева, 44, СКГМИ (ГТУ), патентный отдел, Т.А. Мешковой
|
(72) Автор(ы):
Максимов Николай Павлович (RU), Байматов Казбек Константинович (RU)
(73) Патентообладатель(и):
Северо-Кавказский горно-металлургический институт (государственный технологический университет) (СКГМИ (ГТУ) Государственное образовательное учреждение высшего профессионального образования (RU)
|
(54) РОТОРНО-ВИБРАЦИОННАЯ МЕЛЬНИЦА
(57) Реферат:
Изобретение относится к технике измельчения материалов и может быть использовано в горнорудной, химической, пищевой и других отраслях промышленности. Мельница содержит два вибратора, ротор и вибрирующий диск, установленный на упругих элементах, причем между ротором и вибрирующим диском образована кольцевая разгрузочная щель. Дополнительно мельница снабжена вторым вибрирующим диском, верхней и нижней рамами и коническим перегрузочным кожухом, а ротор выполнен из двух дисков, установленных на одном валу, при этом внутренние поверхности вибрирующих дисков выполнены в виде полых усеченных конусов, образующих две зоны измельчения, и снабжены съемными ребрами прямоугольного сечения, радиально расположенными по образующим полых усеченных конусов и дисков ротора с равным шагом. Вибрирующие диски закреплены на верхней и нижней рамах. Изобретение увеличивает производительность измельчения и снижает энергозатраты. 3 з.п. ф-лы, 1 ил.
Изобретение относится к технике измельчения материалов и может быть использовано в горнорудной, химической, пищевой и других отраслях промышленности.
Известно устройство для измельчения твердых материалов, содержащее два мелющих диска, расположенных соосно один над другим с зазором, равным требуемому размеру частиц размалываемого материала (см. патент РФ №2145521, МПК7 B02C 7/08, опубл. 20.02.2000 г.).
Недостатками устройства является сложность регулирования размера частиц получаемого готового продукта. Применение масла обуславливает усложнение конструкции, увеличение расхода энергии и трудность обслуживания устройства.
Наиболее близким по технической сущности к заявляемому изобретению является устройство для измельчения материалов, содержащее два вибратора, ротор и вибрирующий диск, установленный на упругих элементах, а между ротором и вибрирующим диском образована кольцевая разгрузочная щель (см. а.с. СССР №1335318, МПК7 B02C 7/08, опубл. 07.09. 1987 г.).
Недостатками прототипа являются сложность конструкции, в особенности, изготовление чашеобразного ротора и вибрирующей пяты, низкая производительность из-за трудности разгрузки готового продукта, поскольку ему необходимо двигаться вверх к разгрузочной щели, различная крупность получаемого готового продукта, измельчение происходит только за счет истирания и удара, что приводит к повышенному расходу удельной энергии.
Задачей предлагаемого технического решения является интенсификация процесса измельчения, увеличение производительности и снижение энергозатрат.
Решение данной технической задачи достигается тем, что в известной роторно-вибрационной мельнице, содержащей два вибратора, ротор и вибрирующий диск, установленный на упругих элементах, а между ротором и вибрирующим диском образована кольцевая разгрузочная щель, согласно изобретению она дополнительно снабжена вторым вибрирующим диском, верхней и нижней рамами и коническим перегрузочным кожухом, а ротор выполнен из двух дисков, установленных на одном приводном валу, при этом внутренние поверхности вибрирующих дисков выполнены в виде полых усеченных конусов, образующих две зоны измельчения, и снабжены ребрами прямоугольного сечения, радиально расположенными по образующим полых усеченных конусов и дисков ротора с равным шагом, причем вибрирующие диски закреплены на верхней и нижней рамах. Вибраторы выполнены электромагнитными, при этом статоры закреплены на нижней раме, а якоря жестко связаны с верхней рамой и установлены с возможностью работы их в противофазе. Конический перегрузочный кожух расположен между двумя зонами измельчения. Высота разгрузочной щели нижней зоны измельчения меньше высоты верхней разгрузочной щели и равна требуемому размеру частиц конечного продукта.
Данная роторно-вибрационная мельница позволит интенсифицировать процесс измельчения, увеличить производительность и снизить энергозатраты.
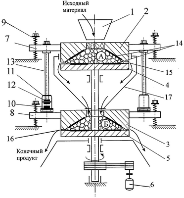
Сущность способа поясняется чертежом, на котором изображена роторно-вибрационная мельница для измельчения твердых материалов.
Мельница состоит из загрузочной воронки 1, вибрирующего диска 2 верхней зоны измельчения А, вибрирующего диска 3 нижней зоны измельчения Б, ротора с дисками 4 и 5, приводящиеся во вращательное движение от электродвигателя 6. Вибрирующие диски 2, 3 выполнены в виде полых усеченных конусов и жестко закреплены соответственно на рамах 7 и 8. На нижней раме 8, установленной на упругих элементах 9, закреплены статоры 10 электромагнитных вибраторов 11. Якоря 12 вибраторов жестко соединены через штанги 13 с верхней рамой 7. Вибрирующие диски 2, 3 и диски 4, 5 ротора снабжены съемными ребрами 14 прямоугольного сечения, выполненные из высокопрочных материалов, установленные радиально внутри зон измельчения А и Б на образующих поверхностях с равным шагом. Мельница также содержит разгрузочные щели 15 и 16 и конический перегрузочный кожух 17.
Роторно-вибрационная мельница работает следующим образом.
Исходный материал через загрузочную воронку 1 поступает в верхнюю зону измельчения А вибрирующего диска 2, где на него действует центробежная сила вращающегося диска 4 и периодическая сила удара вибрирующего диска 2, создаваемая электромагнитными вибраторами 11. Измельченный в зоне А материал через разгрузочную щель 15 поступает через конический перегрузочный кожух 17 в нижнюю зону измельчения Б, где происходит процесс доизмельчения. Размер готового продукта определяется размером разгрузочной щели 16. Размеры разгрузочных щелей 15, 16 регулируют поднятием и опусканием вибрирующих дисков 2, 3 и жесткостью упругих элементов 9. Причем высота разгрузочной щели 15 зоны А больше, чем высота разгрузочной щели 16 зоны Б. Материал, поступающий в зоны измельчения А и Б, разрушается за счет ударного воздействия вибрирующих дисков 2, 3, раскалыванием между съемными ребрами 14, раздавливанием и истиранием в межреберном пространстве.
Использование изобретения позволит по сравнению с прототипом интенсифицировать процесс измельчения, увеличить производительность и снизить энергозатраты.
Формула изобретения
1. Роторно-вибрационная мельница для измельчения материала, содержащая два вибратора, ротор и вибрирующий диск, установленный на упругих элементах, причем между ротором и вибрирующим диском образована кольцевая разгрузочная щель, отличающаяся тем, что она дополнительно снабжена вторым вибрирующим диском, верхней и нижней рамами и коническим перегрузочным кожухом, а ротор выполнен из двух дисков, установленных на одном валу, при этом внутренние поверхности вибрирующих дисков выполнены в виде полых усеченных конусов, образующих две зоны измельчения, и снабжены съемными ребрами прямоугольного сечения, радиально расположенными по образующим полых усеченных конусов и дисков ротора с равным шагом, причем вибрирующие диски закреплены на верхней и нижней рамах.
2. Мельница по п.1, отличающаяся тем, что вибраторы выполнены электромагнитными, причем статоры закреплены на нижней раме, а якоря жестко связаны с верхней рамой и установлены с возможностью работы их в противофазе.
3. Мельница по п.1, отличающаяся тем, что конический перегрузочный кожух расположен между двумя зонами измельчения.
4. Мельница по п.1, отличающаяся тем, что высота разгрузочной щели нижней зоны измельчения меньше высоты верхней разгрузочной щели и равна требуемому размеру частиц конечного продукта.
РИСУНКИ
MM4A – Досрочное прекращение действия патента СССР или патента Российской Федерации на изобретение из-за неуплаты в установленный срок пошлины за поддержание патента в силе
Дата прекращения действия патента: 04.02.2008
Извещение опубликовано: 20.09.2009 БИ: 26/2009
|
|